metalinstryment.com
Довідник по металорізальних верстатів та пресовому обладнанні

7Д37 Верстат поперечно-строгальный з гідравлическим приводом
опис, характеристики, схеми

Фото поперечно-строгального двухстоечного верстата 7Д37







Відомості про виробника поперечно-строгального верстата 7Д37 (7Д36)

Изготовителем поперечно-строгального верстата 7Д37 (7Д36) является Гомельский станкостроительный завод им. С. М. Кирова СтанкоГомель, основанный в 1885 году.

Первые верстати были изготовлены заводом в 1934 году.

В настоящее время завод является крупнейшим производителем гаммы универсальных консольно-фрезерных верстатів моделей FW, FU, FSS. Эти верстати завод производит з 1993 года по лицензии немецкой фирмы HECKERT Chemnitzer Werkzeugmaschinen GmbH.

В ассортименте выпускаемой продукции по-прежнему долбежные верстати, правильно-отрезные автоматы і специальные верстати.





Верстати, выпускаемые предприятием Гомельский станкостроительный завод им. С. М. Кирова, СтанкоГомель


7Д37 Верстат поперечно-строгальный з гідравлическим приводом. Назначение і область применения

Поперечно-строгальный верстат моделі 7Д37 заменил устаревшую модель 7М36, 7М37.

Поперечно-строгальный верстат 7Д37 предназначен для обробки резцом плоских і фасонных поверхностей (горизонтальных, вертикальних, наклонных), а также для прорізання всевозможных пазов і канавок в деталях з длиной обробки до 500 мм. Он применяется в механических цехах машиностроительных заводов для индивидуального і мелкосерийного производства.

Строгальный верстат 7Д37 предназначен для строгания плоских і фасонных поверхностей в условиях единичного і мелкосерийного производства.

Особливості конструкції верстата

Наличие на станке 7Д37 механических подач стола і резцового суппорта, механізма налаштування стола на ширину строгания і механізма автоматичного останова обеспечивает возможность многостаночного обслуживания.

Ползун имеет гідравлическое возвратно-поступательное движение. Направление руху ползуна і длина его ходу изменяются при помощи упоров, расположенных па ползуне. Подача стола в вертикальном і горизонтальном направлениях осуществляется посредством гідромеханического пристроя коробки подач. Ускоренные переміщення стола осуществляются от отдельного електродвигуна, соединенного з коробкой подач при помощи фрикционной муфты, отключающей ланцюг быстрых перемещений стола при перегрузках і крайних его положениях. Предусмотрена возможность переміщення стола вручную.

Верстат 7Д37 имеет автоматическую подачу суппорта і відведення резца от обрабатываемой поверхности при холостом ходе ползуна.

Смазка направляючих ползуна і станины автоматическая. Верстат 7Д37 является базовым для модификаций з универсальным поворотным столом і копировальным пристрійм.

По особому заказу за дополнительную плату верстат може быть укомплектован теплообменником для охлаждения масляной ванны.

Класс точності верстата Н.





Габарит робочого простору. Посадочные і присоединительные базы поперечно-строгального верстата 7Д37

Габарит робочого простору. Посадочные і присоединительные базы поперечно-строгального верстата 7Д37

Габарит робочого простору поперечно-строгального верстата 7Д37

Габарит робочого простору поперечно-строгального верстата 7Д37. Дивитись у збільшеному масштабі



Загальний вигляд поперечно-строгального верстата 7Д37

фото поперечно-строгального верстата 7Д37

Фото поперечно-строгального верстата 7Д37


фото поперечно-строгального верстата 7Д37

Фото поперечно-строгального верстата 7Д37


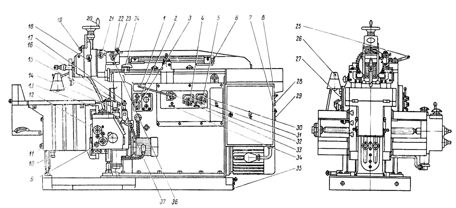
7Д37 Розташування складових частин поперечно-строгального верстата 7Д37

7Д37 Розташування складових частин поперечно-строгального верстата

Розташування основних вузлів поперечно-строгального верстата 7Д37

Розташування складових частин поперечно-строгального верстата 7Д37. Дивитись у збільшеному масштабі



Список складових частин поперечно-строгального верстата 7Д37

  1. Станина Д37-10
  2. Коробка подач Д36-20А
  3. Ползун Д37-30
  4. Гідроцилиндр 14-90x65x1120 (БГ21-26)
  5. Трубопровод Д37-40
  6. Теплообменник (змеевик) Д36-41
  7. Суппорт Д36-50
  8. Электромагнит приподнятия (откидывания) резца на обратном ходе M365101A
  9. Токосъемник 7Д37-55
  10. Траверса Д37-60
  11. Стол Д37-61
  12. Механізм вертикальной подачі суппорта Д36-70
  13. Електроустаткування Д37-80
  14. Электрошкаф Д36-81
  15. Принадлежности Д37-90




Розташування органів керування строгальным верстатом 7Д37 (7Д36)

Розташування органів керування строгальным верстатом 7Д37

Розташування органів керування строгальным верстатом 7Д37

Розташування органів керування строгальным верстатом 7Д37. Дивитись у збільшеному масштабі



Специфікація органів керування поперечно-строгального верстата 7Д37

  1. Рукоятка пуска і останова ползуна
  2. Кнопка "Пуск"
  3. Кнопка "Стоп"
  4. Рукоятка бесступінчастого изменения скорости ползуна в пределах ступени
  5. Рукоятка переключения ступеней скорости ползуна
  6. Упоры переключения ходу ползуна
  7. Выключатель електромагнита откидывания резца
  8. Автоматический выключатель для подключения верстата к електросети
  9. Выход вала под рукоятку ручного вертикального переміщення стола
  10. Винт точного подпора стола
  11. Гайка зажиму стойки стола
  12. Выход вала под рукоятку ручного горизонтального переміщення стола
  13. Гайка налаштування переміщення стола на заданную ширину строгания
  14. Кнопка регулировки величины подачі стола
  15. Гайки зажиму траверсы
  16. Рукоятка увімкнення горизонтальных і вертикальних перемещений стола
  17. Кнопка быстрых перемещений стола
  18. Зажим салазок суппорта
  19. Гайка зажиму поворотной доски
  20. Маховичок переміщення суппорта
  21. Квадрат зажиму поворотной частини суппорта
  22. Кнопка увімкнення механической подачі суппорта
  23. Кнопка установки величины подачі суппорта
  24. Регулируемый упор механізма механической подачі суппорта
  25. Рукоятка ручного переключения ходу ползуна
  26. Выключатель местного освещения




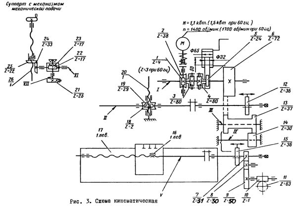
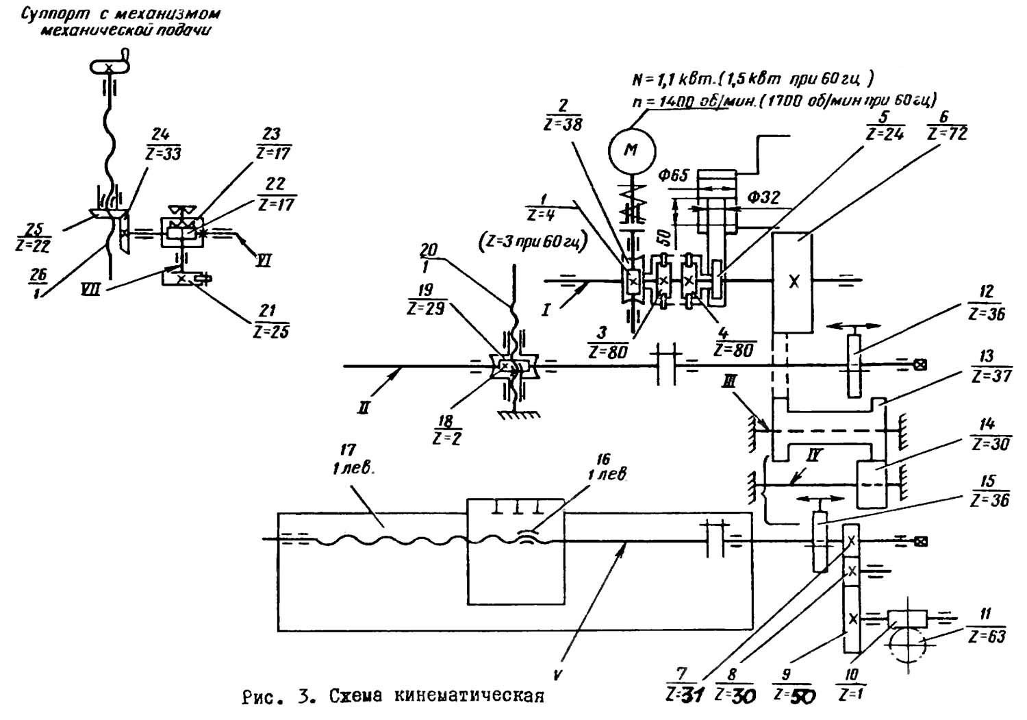
Кінематична схема поперечно-строгального верстата 7Д37

7Д37 Схема кінематична строгального верстата

Кінематична схема поперечно-строгального верстата 7Д37

Схема кінематична строгального верстата 7Д37. Дивитись у збільшеному масштабі



Схема кінематична (рис. 3)

Порядок передачи обертання от електродвигуна быстрых перемещений стола і цилиндра подач до исполнительных органів хорошо виден из кінематичної схеми.

Короткий опис подач стола по кинематический цепям изложено в описании вузла коробки подач (рис. 5). В табл. 4 дан перечень к кінематичної схеме.


Короткий опис конструкції і роботи верстата

Верстат имеет гідравлическое перемещение ползуна і гідравлическую подачу стола на каждый двойной ход ползуна. Быстрое перемещение стола в горизонтальном і вертикальном направлениях осуществляется отдельным електродвигуном малой мощности. Кроме механического переміщення стола в горизонтальном вертикальном направлениях, возможно его перемещать і вручную.

Изменение направления руху ползуна происходит за счет переключения золотника керування упорами, помещенными на ползуне. Этими же упорами регулируется требуемая величина ходу ползуна.

Скорость руху ползуна по всей длине ходу постоянная. Верстат имеет ступенчато-дроссельное регулювання скорости. Рабочая скорость под нагрузкой изменяется в диапазоне от 3 до 48 м/мин при частоте тока в сети 50 Гц і от 4 до 44 м/мин при 60 Гц.

Регулювання скорости осуществляется двумя рукоятками. Одна из них устанавливает четыре ступени скорости, другая производит плавное регулювання скорости в пределах каждой ступени. Величина подачі регулируется маховичком при обратном ходе ползуна (при движении і остановке), а її отсчет производится по лимбу.

Вертикальная подача резца осуществляется переміщенням верхних салазок суппорта.

Керування верстатом осуществляется кнопочной станцией і рукоятками (см. рис. 2). Положение рукояток определяется соответствующими табличками. Керування рухуми стола производится одной рукояткой со встроенной в нее кнопкой быстрых перемещений. Направления переключений рукоятки совпадает з направлениями перемещений стола. Смазка направляючих ползуна і станины осуществляется автоматически от гідросистемы верстата.


Станина (рис. 4)

Станина верстата представляет собой корпус коробчатой формы, укрепленный на фундаментной плите. Нижня часть станины служит резервуаром для масла гідросистемы і разделена ребром на два отсека.

К задньої стенке станины крепится фланец I, в котором помещена муфта 2, соединяющая гідронасос з фланцевым електродвигуном (сдвоенный гідронасос помещается внутри станины і крепится на гвинтах к фланцу).

На верхней частини станины имеются прямоугольные направляющие, по которым перемещается ползун, приводимый в рух гідравлическим цилиндром, расположенным на платиках между направляющими. На передньої стенке станины находятся вертикальные направляющие для переміщення траверсы со столом. К правой боковой стенке крепится через промежуточную плиту 13 гідропанель ШГ31-16.

Промежуточная плита 13 закрывается крышкой 14, на внешней поверхности которой, расположены рукоятки керування гідропанелью ШГ31-16.

На промежуточной плите 13 смонтированы две планки 6 і 7, воздействующие на конечные выключатели 8 і 4.

Верхня планка 6 связана з рукояткой 3 пуска і останова ползуна. Увімкнення головного електродвигуна возможно только в том случае, когда рукоятка 3 находится в положении "Стоп".

Нижня планка 7, соединенная з рычагом 5 приводу золотника керування 15 гідропанелі, во время обратного ходу ползуна включает через конечный выключатель 4 електромагнит подъема резца. Рычаг 5 имеет привід от упоров на ползуне через реечные передачи 16 і 17 (сечение Б-Б) і вал 12.

В левой стенке станины имеется окно для монтажа гідропривода, которое закрывается крышкой 10 з горловиной 9 для заливки масла. На переднем торце горизонтальных направляючих станины установлены маслосборники II, предназначенные для съема масла з направляючих ползуна.


Коробка подач (рис. 5)

Коробка подач предназначена для осуществления поперечных подач стола на каждый двойной ход ползуна і быстрых перемещений стола в горизонтальном і вертикальном направлениях.

При переключении ползуна на рабочий ход масло от насоса через гідропанель і золотник подачі поступает в цилиндр коробки подач і перемещает поршень. Рейка, соединенная со штоком, вращает зубчатое колесо 5 (см. рис. 3), от которого через храповый механізм, зубчасті колеса 6, 13 і 15 рух передається на винт поперечної подачі или, при необходимости, через зубчасті колеса 6, 13 і 12 і червячную пару 18 і 19 на винт вертикального переміщення стола 20.

Быстрое перемещение стола в горизонтальном і вертикальном направлениях осуществляется електродвигуном. От електродвигуна рух через предохранительную фрикционную муфту і червячную пару I і 2 передається на корпус второй храповой муфты і далее по той же ланцюги, что і при поперечної подаче.

Изменение направления подачі происходит переключением зубчатых колес 12 і 15 , расположенных на валах П і У. Переключення осуществляется одной рукояткой 11 (см. рис. 5), направления перемещений которой совпадают з направлениями перемещений стола. В ету же рукоятку встроены выключатель 12 і связанная з ним кнопка 10 для увімкнення быстрых перемещений стола. При перемещении рукоятки 11 в горизонтальной плоскости перемещается зубчатое колесо 15 (см. рис. 3) на валу У (горизонтальное перемещение). При перемещении рукоятки II (см. рис. 5) в вертикальной плоскости перемещается зубчатое колесо 12 (см. рис. 3) на валу П (вертикальное перемещение).

Фиксация положений рукоятки при горизонтальных переміщеннях стола осуществляется шариком 13 (см. рис 5), а при вертикальних переміщеннях стола - шариком 14. Регулювання величины подачі производится за счет изменения величины ходу поршня при помощи маховичка I і пары винт-гайка 4, 5. Причем гайка является упором. Гайка 5 связана з гідравлическим дросселем подач Г77-11 жесткой кінематичної ланцюгю. Таким образом, одновременно при регулировке величины подачі за счет изменения ходу поршня соответственно дросселируется количество масла, выходящее из штоковой полости цилиндра подач (см. рис. 20), что обеспечивает стабильность подач. Отсчет величины установленной подачі осуществляется при помощи лимба 2 (см. рис. 5), закрепленного на одной оси з маховичком I. Положение маховичка фиксирует винт 3.

В верхнюю крышку коробки подач вмонтирован спеціальний механізм налаштування стола на необходимую ширину строгания, который автоматически останавливает верстат в кінці обробки. Механізм состоит из лимба 8, имеющего две шкалы для налаштування горизонтальных перемещений стона в одну і другую стороны, указателя 7, приводу указателя і микровыключателя 9. Указатель связан з винтом горизонтальных перемещений стола жесткой кінематичної ланцюгю. Налаштування на необходимую ширину строгания производится путем установки указателя 7 против соответствующего деления шкалы і закрепления его гайкой 6.

При вращении указатель доходит до отметки "О" і нажимает на микровыключатель, который останавливает електродвигатель головного руху верстата.

Данный механізм обеспечивает остановку стола при крайних положениях его на траверсе независимо от того, включен или отключен механізм налаштування стола на ширину строгания. Это обеспечивается воздействием внутреннего указателя 15 на микровыключатель.

В коробке подач установлена предохранительная фрикционная муфта, отключающая ланцюг быстрых перемещений стола от електродвигуна при перегрузках или упоре стола в крайние положения. Регулювання муфты производится гайкой 16.


Ползун (рис. 6)

Ползун I представляет собой чугунную полую отливку з прямоугольными направляющими. Внутри ползун укреплен ребрами жесткости і имеет поперечную перегородку з отверстием для крепления штока гідроцилиндра. На переднем кінці ползуна имеется отверстие для центрирования суппорта. На правой стороне расположены упоры реверса ползуна 2 И 3 которые могут переустанавливаться в Т-образном пазу в зависимости от требуемой длины строгания.

Расстояние между рисками на упорах определяет длину ходу ползуна і отсчитывается по линейке 4.

К платику на правой стороне ползуна крепится механізм для механической подачі суппорта. К левой стороне ползуна крепится троллея токосъемника.





Гідроцилиндр (рис. 7)

Гідравлический цилиндр состоит из стальной трубы 5 з крышками 3 і 8 на концах. Внутри цилиндра помещается поршень 7 со штоком 6, конец которого закреплен в перегородке ползуна. Гідроцилиндр крепится к станине кронштейнами 10 і II.

Подавая масло в полость гідроцилиндра без штока, получаем рабочий ход ползуна, а подавая масло в полость со штоком і соединяя полость без штока з баком - обратный ход (холостой) ползуна.

Для предотобертання утечек масла между торцами цилиндра і крышками устанавливаются кольцевые прокладки 4. В передньої крышке имеются уплотнения 2, предохраняющие от утечек масла по периферии штока.

Уплотнение зажимается фланцем 1, у которого имеется кольцевая проточка з трубкой 9 для відведення в станину просачивающегося масла.


Трубопровод (рис. 8)

Трубопровод соединяет между собой гідроцилиндр головного руху, цилиндр коробки подач, гідропанель, насосы і вспомогательную аппаратуру.

Трубопровод состоит из стальных труб і кінцівых з'єднань. В одной из труб имеется отвод для присоединения манометра замера давления в системе, который включается специальным золотником.

На рис. 8 показана разводка труб і расположение гідроапаратури внутри станины, на рис. 19 - подсоединение труб к гідропанелі ШГ31-16.

Теплообменник служит для охлаждения масла проточной водой і подключается к водопроводной сети при необходимости


Суппорт (рис. 9)

Суппорт состоит из поворотной частини 7, верхних салазок 3, откидной доски 4 і поворотной доски 9.

Перемещение салазок суппорта производится от руки при помощи маховичка I или механически. (см. рис. 3).

Величина переміщення при работе вручную отсчитывается по лимбу 2 з ценой деления 0,05 Величина механической подачі устанавливается маховичком I механізма механической подачі суппорта (см. рис. 14). Строгание под углом осуществляется поворотом всего суппорта. Отсчет угла поворота производится по делениям, нанесенным на круглой поворотной частини 7 (см. рис.7).

Внутри суппорта встроен електромагнит, предназначенный для подъема резцедержателя при обратном ходе ползуна.

Для возврата откидной доски 4 з резцедержателем 8 в исходное положение предусмотрена пружина сжатия 5, сила сжатия которой регулируется винтом 6. Если необходимо откидывать резцедержатель вручную, винт 6 вывинчивается.


Электромагнит (рис. 10)

Электромагнит служит для відведення откидной доски з резцом во время обратного ходу ползуна.

Узел состоит из корпуса I, якоря 2, катушки 3, сердечника 4 і подвижного штока 5 з величиной ходу 5 мм. Корпус ввернут в салазки суппорта і служит осью для поворотной доски.

При обратном ходе ползуна питание поступает на катушку, якорь со штоком передвигается в крайнее левое положение і своим упором отводит откидную доску з резцедержателем.


Токосъемник (рис. II)

Токосъемник состоит из корпуса I з державкой 2, в которой крепится меднографитовая сетка 3, троллеи 4 і кожуха 5. Под действием пружины 6 щетка і троллеи находятся в полном контакте, что обеспечивает питание електромагнита при движении ползуна. Увімкнення електромагнита происходит только при движении ползуна назад з помощью конечного выключателя 4 (см. рис. 4), управляемого от механізма реверса ползуна.





Траверса (рис. 12)

В узел траверсы входят:

Вертикальное перемещение траверсы со столом може быть ручным і механическим. Закрепление траверсы на вертикальних направляючих станины производится ручным зажимом прижим планок, находящихся в верхней частини направляючих гайками I. Регулювання зазору вертикального переміщення осуществляется клином 12 .

Горизонтальное перемещение плиты со столом по траверсе также може быть ручным і механическим. Захист горизонтальных направляючих производится скребками і войлочными пробками II. Регулювання зазору горизонтального переміщення - клином 7.

С правой стороны к траверсе крепится коробка подач.

Подвод масла к цилиндру коробки подач производится через телескопическое пристрій. Трубы телескопического пристроя уплотняются манжетами 13.


Стол (рис. 13)

Узел состоит из робочого стола I, поддержки 2 і стружкосборника 3.

Рабочий стол имеет коробчатую форму з Т-образными пазами для крепления обрабатываемой детали і тисков. Передня часть стола опирается на поддержку, в которой имеется винт для точного подпора стола. Зажим поддержки производится гайками 7. К столу крепится стружкосборник 3, имеющий откидывающийся щиток 4 і совкообразное дно 5, которое з помощью 8 откидывается і разгружает стружкосборник. При необходимости стружкосборник може быть легко снят со стола.


Механізм механической подачі суппорта (рис. 14)

Механическая подача резцового суппорта осуществляется от упора, расположенного на прижимной пленке правой направляющей станины.

При движений ползуна в обратном направлении в кінці ходу ролик 4 находит на упор I (см. рис. 4) і через храповое колесо 6 (см. рис. 14), винтовую зубчатую пару 22 і 23 (си. рис. 3) і коническую передачу 24 і 25 вращение передається ходовому винту суппорта 26.

Увімкнення і вимкнення механической подачі суппорта осуществляется поворотом кнопки 7 (си. рис. 14), закрепленной на центральной оси механізма. Установка величины подачі производится поворотом кнопки I, установленной на винте 3. Изменение подач достигается счет переміщення ограничительного упора 2, который изменяет угол поворота ролика.

Отсчет подачі производится по шкале.

Механізм обеспечивает механическую подачу суппорта только вниз. Стопорение гвинта 3 от самопроизвольного изменения подач производится рукояткой 5. В случае, когда механізм не используется, рекомендуется отвести упор 18 (см. pиc. 4) на правой планке станины в крайнее положение (нерабочее).





Електроустаткування строгального верстата 7Д37

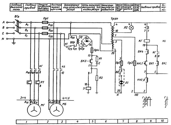
Схема електрична поперечно-строгального верстата 7Д37

Електрична схема поперечно-строгального верстата 7Д37

Електрична схема поперечно-строгального верстата 7Д37. Дивитись у збільшеному масштабі



Електроустаткування строгального верстата 7Д37

Загальні відомості

На станке установлены два трехфазных короткозамкнутых асинхронных електродвигуна. Електроустаткування верстата рассчитано на напряжение питающей сети 380 В частотой тока 50 Гц; ланцюг керування - 110 В; местное освещение - 36 В.

Примечание. Електроустаткування ланцюги керування і местное освещение могут быть выполнены на напряжение і частоту, требующиеся заказчику.

Налаштування теплового реле в зависимости от робочого напряжения приведена в табл. 7.

В специальной нише станины установлены конечные выключатели ВКЗ і ВК4.

Конечный выключатель ВКЗ включает в переднем положении ползуна електромагнит откидки резца Э.

Конечный выключатель ВК4 дает возможность включить електродвигатель приводу гідронасосов МГ только при расположении рукоятки I (см. рис. 2) в положении "Останов ползуна".

Конечный выключатель ВК2, установленный в ручке керування коробки подач, служит для пуска електродвигуна швидкого перемещений стола МБ.

Микропереключатель BKI, расположенный на крышке внутри коробки подач, служит для останова стола в крайних положениях і в кінці обробки при налаштуванні на ширину строгания. Освещение робочого места производится светильником, установленным на траверсе стола.

В нише станины установлена кнопочная станція для пуска "1" і останова "О" головного приводу і сигнальная лампочка, показывающая включенное состояние вводного выключателя ВГл.

Шкаф керування установлен на задньої стенке станины.

Ввод питающих проводов выполнен знизу через отверстие Ø22 мм.

Ввод должен быть осуществлен проводом марки ПГВ сечением 4 мм черного-цвета для линейных проводов і зеленого цвета для заземления.

На боковой стенке електрошафи керування установлены наступні органы керування:

Электрошкаф керування имеет механическую блокировку дверки, осуществляющую немедленное відключення вводного автомата при открывании ее.

Для осмотра і налагодження електроапаратури под напряжением необходимо механическую блокировку зафиксировать в нерабочем положении нажатием рукой на толкатель до упора, преодолев, сопротивление пружины з поворотом на угол 90° в любом направлении.

Внимание! После осмотра или "налагодження електроапаратури блокировку необходимо включить, т.е. вернуть її толкатель в исходное положение, иначе дверка електрошафи не закроется.

Смену змазки підшибників електродвигателей при нормальных условиях роботи следует производить через 4000 часов роботи. При работе електродвигателей в пыльной і влажной среде смазку следует производить чаще, по мере необходимости.

Перед заполнением свежей смазкой підшипники должны быть тщательно промыты бензином. Полости следует заполнитъ смазкой на 2/3 її объема.


Опис роботи електрической схеми поперечно-строгального верстата 7Д37 (рис. 15 і 16)

Схема електрична принципова показана на рис. 15.

В табл. 6 дан перечень к схеме.

Перед началом роботи необходимо убедиться в том, что автомат не включен і Механическая блокировка дверки електрошафи находится в исходном положении.

Перед пуском верстата рукоятка пуска і останова ползуна должна находиться в положения "Стоп", а указатель 7 (см. рис. 5) установки ширины строгания на коробке подач должен быть откат (BKI разомкнут).

Пуск електродвигуна головного приводу МГ осуществляется нажатием кнопки кнопочной станції КН1"1" (5-6), которая замыкает ланцюг катушки магнитного пускателя КГ, переводя его на самопитание.

Останов електродвигуна головного приводе МГ осуществляется нажатием кнопки кнопочной станції КН2 "О" (2-5).

Керування електродвигуном быстрых перемещений стола МБ осуществляется нажатием толчковой кнопки, встроенной в рукоятку коробки подач і воздействующей на конечный выключатель ВК2 (5-9).

Микровыключатель BKI, ограничивая поперечное перемещение стола, выключает електродвигатель МГ.

Конечный выключатель ВК4 дает возможность включить електродвигатель МГ только при положении рукоятки пуска і останова ползуна в положении "Стоп"

Для роботи електромагнита откидки Э включается переключатель ВОр, при етом подается напряжение на трансформатор ТрОр при включенном електродвигателе МГ.

Электромагнит Э питается пониженным напряжением 36 В постоянного тока от вторичной обмотки трансформатора ТрОр через селеновый выпрямитель Вс.

Захист електродвигателей головного приводу в швидкого переміщення, ланцюги живлення форматоров от коротких замыканий осуществляется автоматическим выключателем АК63-ЗМГ і предохранителями Пр1, Пр2, ПрЗ, Пр4.

Значения номинальных токов і токов установки автомата даны на принципиальной схеме з'єднань (рис. 15 і 16).

Захист електродвигуна от длительных перегрузок осуществляется тепловым реле РТ.

Срабатывание теплового реле РТ равносильно нажатию кнопки "Стоп" КН2 "О" (2-5).


Гідравлічна схема поперечно-строгального верстата 7Д37

7Д37 Схема гідравлічна строгального верстата

Гідравлічна схема поперечно-строгального верстата 7Д37

Схема гідравлічна строгального верстата 7Д37. Дивитись у збільшеному масштабі




Настановне креслення поперечно-строгального верстата 7Д37

Настановне креслення поперечно-строгального верстата 7Д37

Настановне креслення поперечно-строгального верстата 7Д37

Настановне креслення поперечно-строгального верстата 7Д37. Дивитись у збільшеному масштабі







7Д37 Верстат поперечно-строгальный з гідравлическим приводом. Відеоролик.



Технічні характеристики поперечно-строгального верстата 7Д37

Наименование параметра 7Д36 7307д 7Д37 7310д
Основні параметри верстата
Класс точності верстата Н Н Н Н
Длина ходу ползуна, мм 150..710 150..710 150..1000 150..1000
Наибольшее сечение резца, мм 25 х 40 25 х 40 25 х 40 25 х 40
Наибольшее расстояние от опорной поверхности резца до станины (вылет), мм 820 825 1120 1120
Высота ползуна над рабочей поверхностью стола, мм 400 450 500 500
Стол
Розміри рабочей поверхности стола - верхней, мм 450 х 710 450 х 710 560 х 1000 560 х 1000
Розміри рабочей поверхности стола - правой, мм 500 х 710 500 х 710 500 х 1000 500 х 1000
Розміри рабочей поверхности стола - левой, мм 500 х 710 500 х 710 500 х 1000 500 х 1000
Наибольшее перемещение стола - горизонтальное, мм 700 710 800 800
Наибольшее перемещение стола - вертикальное, мм 320 345 320 420
Число горизонтальных подач стола
Пределы горизонтальных подач стола, мм/дв.ход 0,2..5,0 0,2..5,0 0,2..5,0 0,2..5,0
Быстрое, горизонтальное перемещение стола, м/мин 2,3 2,3 2,3 2,3
Быстрое вертикальное перемещение стола, м/мин 0,16 0,16 0,16 0,16
Цена деления лимба горизонтального переміщення, мм 0,1 0,1 0,1 0,1
Перемещение стола горизонтальное на один оборот рукоятки, мм 8 8 8 8
Цена деления лимба вертикального переміщення, мм 0,05 0,05 0,05 0,05
Перемещение стола вертикальное на один оборот рукоятки, мм 0,55 0,55 0,55 0,55
Ползун. Суппорт
Наибольшее вертикальное перемещение салазок суппорта (головки резца) от руки, мм 200 200 200 200
Цена деления лимба, мм 0,05 0,05 0,05 0,05
Перемещение салазок суппорта (головки резца) на один оборот рукоятки, мм 5 5 5 5
Розміри окна резцедержателя, мм 32 х 55 32 х 55 32 х 55 32 х 55
Наибольший угол поворота резцовой головки до входа в станину, град ±60° ±60° ±60° ±60°
Наибольший угол поворота доски резцедержателя, град ±15° ±15° ±15° ±15°
Наибольшее допустимое усилие різання, кН (тс) 28 (2,8) 28 (2,8) 28 (2,8) 28 (2,8)
Скорость ползуна под нагрузкой, м/мин 3..48 3..48 3..48 3..48
Скорость ползуна во время обратного ходу, м/мин 16..48 16..48 16..48 16..48
Подачи суппорта, мм/дв.ход 0,15..1,05 0,15..1,05 0,15..1,05 0,15..1,05
Механическая подача резцовой головки вниз есть есть есть есть
Подъем резцовой головки при обратном ходе есть есть есть есть
Електроустаткування. Привод
Количество електродвигателей на станке 2 2 2 2
Електродвигун головного руху, кВт (об/мин) 7,5 (970) 7,5 (970) 10 (970) 10 (970)
Електродвигун быстрых перемещений стола, кВт (об/мин) 1,1 (1400) 1,1 (1400) 1,1 (1400) 1,1 (1400)
Габарити і масса верстата
Габарити верстата (длина ширина высота), мм 2850 х 1680 х 1840 2850 х 1645 х 1890 3700 х 1850 х 1980 3700 х 1835 х 1920
Масса верстата, кг 3400 3400 4500 4400

    Список литературы:

  1. Копылов Р.Б. Работа на строгальных і долбежных верстатах, 1975
  2. Петруха П.Г. Резание конструкционных материалов, режущие инструменты і верстати, 1974
  3. Яковцев А.Д. Работа на строгальных і долбёжных верстатах, 1966