metalinstryment.com
Довідник по металорізальних верстатів та пресовому обладнанні

ГДВ500 Верстат вертикальний фрезерный многоцелевой (вертикальний обрабатывающий центр)
схеми, опис, характеристики

ГДВ500 Верстат фрезерный вертикальний многоцелевой з ЧПУ







Відомості про виробника горизонтального обрабатывающего центра ГДВ500

Изготовителем сверлильно-фрезерно-расточных верстатів - вертикальних обрабатывающих центров з инструментальным магазином ГДВ500 (ГДВ500ПМФ, ГД2В04ПМФ4) Гомельский станкостроительный завод им. С. М. Кирова, СтанкоГомель.

Гомельский станкостроительный завод в 80-е годы завод освоил производство многооперационных верстатів з ЧПУ вертикального і горизонтального исполнения. Основная специализация завода: вертикальные і горизонтальные обрабатывающие центры з базовыми размерами стола 500х500 мм.





Верстати, выпускаемые предприятием Гомельский станкостроительный завод им. С. М. Кирова, СтанкоГомель


ГДВ500 (ГД2В04ПМФ4) верстат многоцелевой горизонтально-фрезерный обрабатывающий центр. Назначение, область применения

Сверлильно-фрезерно-расточной верстат ГДВ500 з числовым программным керуванням (ЧПУ), автоматичною сменой инструмента (АСИ) і сменой обрабатываемых деталей предназначен для высокопроизводительной обробки корпусных деталей массой до 400 кг из конструкционных материалов от легких сплавов до высокопрочных сталей, в условиях мелкосерийного і серийного производства.

Широкий диапазон частоти обертання шпинделя і швидкостей подач позволяет производить сверление, зенкерование, развертывание, растачивание точных отверстий, связанных координатами, фрезерование по контуру з линейной і круговой интерполяцией, нарезание різьби метчиками.

Принцип роботи і особливості конструкції верстата ГДВ500

Верстат оснащен пристрійм ЧПУ типа 3С140, крестовым столом, инструментальным магазином і пристрійм автоматичною смены заготовок челночного типа.

Перемещение подвижных вузлів по всем трем осям осуществляется от высокомоментных електродвигателей, которые через упругие муфты високою жесткости непосредственно соединены з ходовыми гвинтами прецизионных шариковых винтовых пар.

Базовые детали верстата изготовляются из высококачественного чугуна і имеют оребренную конструкцию, что обеспечивает максимальную жесткость і виброустойчивость при высокопроизводительной обработке, а также гарантирует длительное сохранение точності.

Линейные координатные переміщення подвижных вузлів осуществляются по накладным направляющим, изготовленным из высококачественной термообработанной стали з високою поверхностной твердостью і шероховатостью. Применение пары качения «Закаленная сталь — линейные опори качения» гарантирует высокую точность позиционирования, износостойкость, устойчивость верстата при резании на максимальных режимах обробки.

Вращение шпинделя осуществляется от електродвигуна постоянного тока через двухступенчатую коробку швидкостей. В пределах каждой ступени частота обертання шпинделя регулируется бесступенчато. Применение прецизионных підшибників обеспечивает оптимальную точность, жесткость і виброустойчивость шпиндельного пристроя.

Гідромеханическое пристрій зажиму инструмента в шпинделе гарантирует надежность і быстродействие крепления режущего инструмента.

Ориентация угла поворота шпинделя осуществляется електронным датчиком.

Конструкція шпиндельного пристроя передбачає обдув оправки инструмента і конуса шпинделя.

Пристрій автоматичною смены инструмента представляет собой манипуляторную систему, состоящую из вращающегося инструментального магазина барабанного типа з 30 кодированными гнездами для инструмента, манипулятора і автооператора.

Выбор инструмента осуществляется в любой післядовательности в соответствии з технологической программой.

Пристрій автоматичною смены заготовок на две позиции, расположенное перед верстатом, дает возможность работать верстату в автоматическом режиме без участиния оператора.

Работа гідросистемы верстата обеспечивается гідростанцией открытого типа. Наличие в гідросистеме гідроаккумулятора позволило применить гідростанцию з насосной установкой малой мощности. Охлаждение масла в гідросистеме происходит в теплообменнике з воздушным охолодженням.

На пульті верстата имеются пристроя коррекции частоти обертання шпинделя і подач, позволяющие менять режими різання в процессе обробки.

Ввод программ осуществляется з клавиатуры і перфолент, возможен вывод текущей информации, кадров, параметров, корректоров на индикацию. Для кодирования технологической программы используется код ISO.

На станке охлаждаются как лезвие инструмента, так і обрабатываемая деталь, что обеспечивает высокую стойкость режущего инструмента, снижение температурных деформаций деталей, смыв стружки з її поверхности. Удаление стружки шнековым транспортером позволяет полностью очистить от нее рабочую зону верстата.

Ограждение верстата надежно защищает оператора от стружки і СОЖ в процессе роботи. Зона різання хорошо освещена.

Верстат изготовлен по единым техническим условиям ТУ2-024.0222494.213—88.

Класс точності верстата П по ГОСТ 8—82Е.

Категория качества — высшая.

Разработчик — Гомельское СКБ ОЦ СПО им. С. М. Кирова.


Верстати многоцелевые - обрабатывающие центры. Загальні відомості

Синонимы: многоцелевой верстат, многооперационный верстат, обрабатывающий центр, сверлильно-фрезерно-расточной верстат з ЧПУ і АСИ, фрезерный вертикальний обрабатывающий центр, верстат горизонтально-фрезерный з ЧПУ і АСИ, Machining Center, Horizontal boring and milling center for cubical workpieces, Special purpose machining center, High speed machining center (HSC)

Многоцелевой (многооперационный) верстат — ето верстат для комплексной обробки заготовок з числовым программным керуванням і автоматичною сменой инструментов.

Многим специалистам нравится название — обрабатывающий центр (ОЦ). Аналогичные термины используют за рубежом.

Кроме многоцелевых, существуют і другие верстати з ЧПУ з автоматичною сменой режущих инструментов, которые не называют многооперационными. В чем же различие между ними.

Многооперационные верстати отличаются особо високою кінцінтрацией обробки. На них производят черновую, получистовую і чистовую обработку сложных корпусных заготовок, содержащих десятки обрабатываемых поверхностей, выполняют самые разнообразные технологические переходы: фрезерование плоскостей, уступов, канавок, окон, колодцев; сверление, зенкерование, развертывание, растачивание гладких і ступенчатых отверстий; растачивание отверстий инструментами з тонким регулюванням на размер; обработку наружных і внутренних поверхностей і др. Для осуществления етих операций на станке необходимо мати большой запас металлорежущих инструментов. У верстатів з ЧПУ і автоматичною сменой инструментов запас инструментов создается обычно в револьверних головках. Среди них фрезерные і сверлильные верстати, предназначенные для изготовления головним образом таких корпусных і плоскостных деталей, для обробки которых достаточно мати 5—10 различных инструментов. Многооперационные верстати имеют инструментальные магазины з запасом в 15-30, а при необходимости в 50—100 і более инструментов.

Еще одна важная особенность большинства многооперационных верстатів — наличие поворотного стола или делительного приспособления з периодическим или непрерывным (по программе) делением. Это обязательное условие для обробки заготовки з нескольких сторон без переустановки. МС новых конструкций оснащают дополнительными столами і пристроями для автоматичною смены заготовок. Заготовки предварительно закрепляют на столе-спутнике, і вместе з ним они попадают з дополнительного стола на основной. Установку заготовки в спутник і снятие обработанной детали производят во время роботи верстата. Таким образом, вспомогательное время, затрачиваемое на загрузку — разгрузку верстата, сводится к минимуму.

Многооперационные верстати имеют чаще всего контурную или универсальную систему керування, позволяющую обрабатывать разнообразные криволинейные поверхности, фрезеровать отверстия і т.д. МС отличаются широким диапазоном бесступінчастого регулювання частоти обертання шпинделя (заготовки) і подач, высокими (8—12 м/мин) скоростями быстрых (вспомогательных) ходов, особо високою жесткостью і надежностью.

В связи з високою стоимостью многооперационных верстатів их используют для обробки наиболее технологически сложных заготовок. В етих случаях один многоцелевой верстат може заменить три — п'ять верстатів з ЧПУ или п'ять — десять универсальных верстатів.





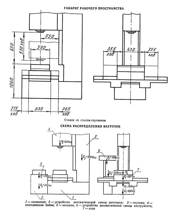
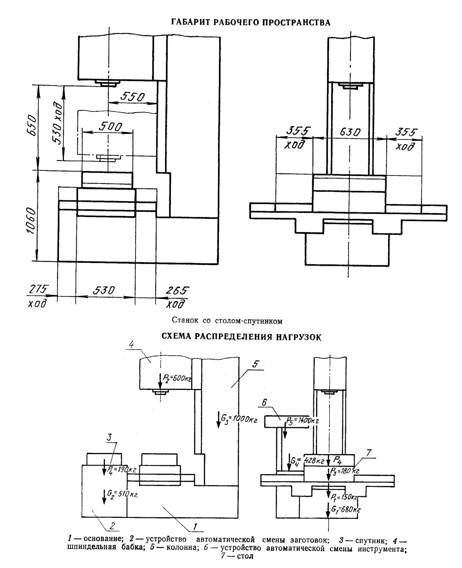
Габарит робочого простору верстата ГДВ500

Габарит робочого простору многоцелевого верстата з ЧПУ і АСИ ГДВ500

Габаритные розміри робочого простору верстата ГДВ500

Габаритные розміри робочого простору верстата ГДВ500. Дивитись у збільшеному масштабі



Посадочные і присоединительные базы верстата ГДВ500. Шпиндель

Габарит робочого простору многоцелевого верстата ГДВ500

ГДВ500 Посадочные і присоединительные базы многоцелевого верстата

ГДВ500 Посадочные і присоединительные базы многоцелевого верстата. Дивитись у збільшеному масштабі



Габарит робочого простору многоцелевого верстата ГДВ500

ГДВ500 Посадочные і присоединительные базы многоцелевого верстата

ГДВ500 Посадочные і присоединительные базы многоцелевого верстата. Дивитись у збільшеному масштабі




Загальний вигляд многоцелевого верстата з ЧПУ ГДВ500

ГДВ500 Загальний вигляд  многоцелевого обрабатывающего центра з ЧПУ і АСИ

Фото многоцелевого верстата ГДВ500



ГДВ500 Загальний вигляд  многоцелевого обрабатывающего центра з ЧПУ і АСИ

Фото многоцелевого верстата ГДВ500



ГДВ500 Загальний вигляд  многоцелевого обрабатывающего центра з ЧПУ і АСИ

Фото многоцелевого верстата ГДВ500



ГДВ500 Загальний вигляд  многоцелевого обрабатывающего центра з ЧПУ і АСИ

Фото многоцелевого верстата ГДВ500



ГДВ500 Загальний вигляд  многоцелевого обрабатывающего центра з ЧПУ і АСИ

Фото многоцелевого верстата ГДВ500







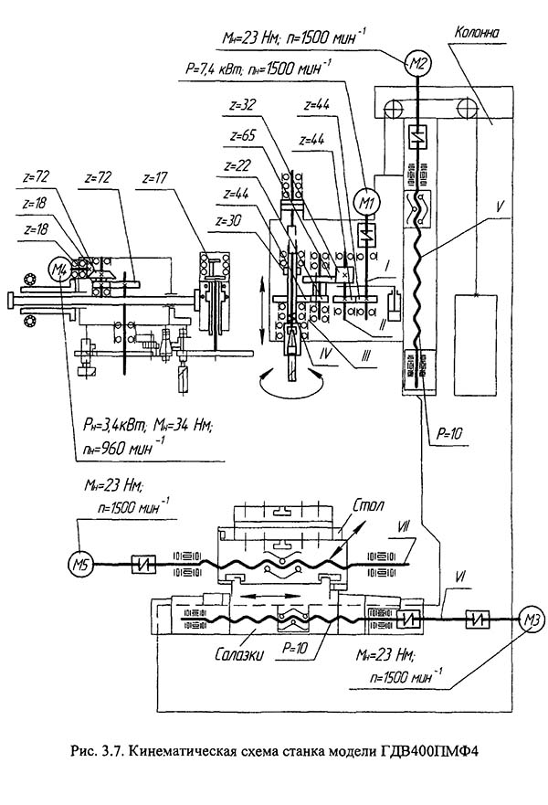
Кінематична схема многоцелевого верстата ГДВ500ПМФ4

ГДВ500ПМФ4 Кінематична схема многоцелевого верстата з ЧПУ і АСИ

Кінематична схема вертикального фрезерного центра ГДВ500

Схема кінематична многоцелевого верстата ГДВ500ПМФ4. Дивитись у збільшеному масштабі




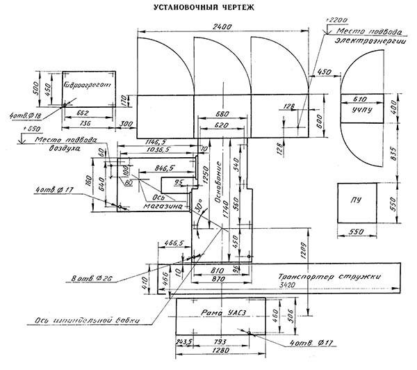
Настановне креслення многоцелевого фрезерного центра ГДВ500

Настановне креслення многоцелевого фрезерного центра ГДВ500

Настановне креслення вертикального фрезерного центра ГДВ500

Настановне креслення многоцелевого фрезерного центра ГДВ500. Дивитись у збільшеному масштабі






ГДВ500 Верстат фрезерный многоцелевой (вертикальний обрабатывающий центр). Відеоролик.




Технічні характеристики верстата ГДВ500

Технічні характеристики верстата ГДВ500

Технічні характеристики верстата ГДВ500

Технічні характеристики верстата ГДВ500. Дивитись у збільшеному масштабі



Наименование параметра ИР-500ПМФ4 ИР-800ПМФ4
Основні параметри верстата
Класс точності по ГОСТ 8-82 П П
Розміри рабочей поверхности стола (длина х ширина), мм 500 х 500 800 х 800
Перемещение поперечное стола (ось X), мм 800 1000
Перемещение вертикальное шпиндельной бабки (ось Y), мм 500 710
Перемещение продольное стойки (ось Z), мм 500 800
Вращение индексируемого поворотного стола (ось B), град 5° 72 поз. 3° 120 поз.
Наибольший диаметр сверления в стали, мм 40 40
Наибольший диаметр растачиваемого отверстия, мм 160 160
Наибольший диаметр торцовой фрезы, мм 160 160
Точность позиционирования по осям X/ Y, мм 0.018/ 0.015
Точность позиционирования по осям Z, мм 0.022
Рабочая подача по осям X, Y, Z, мм/мин 1..2000 1..3200
Скорость быстрых установочных перемещений по осям X, Y, Z, м/мин 8..10 10
Наибольшее допустимое усилие подачі стола і стойки по осям X, Z, Н 8000 10000
Наибольшее допустимое усилие подачі шпиндельной бабки (вертикальное) по оси Y, Н 4000 8000
Расстояние от оси шпинделя до стола, мм 50..550 50..760
Модель пристроя ЧПУ 2С45-65 2С45-65
Количество управляемых координат 3 3
Количество одновременно управляемых координат при линейной/ круговой интерполяции 3/3 3/3
Рабочий стол
Максимальная нагрузка на стол (по центру), кг 700 150
Количество резьбовых отверстий на поверхности стола 25 45
Диаметр резьбовых отверстий на поверхности стола, мм М20 М20
Усилие зажиму поворотного стола, кН 40
Шпиндель
Частота обертання шпинделя, об/мин 21.2..3000 21.2..3000
Количество швидкостей шпинделя 89 89
Наибольший крутящий момент, Нм 700 630
Конус шпинделя для крепления инструмента 7:24 50 50
Магазин инструмента
Количество инструмента в магазине 30 30
Время смены инструмента, с 6 6
Время смены инструмента от стружки к стружке, с 16,2..21,2 16,2..21,2
Максимальный диаметр рядом стоящего инструмента, мм 125 125
Максимальный диаметр свободно стоящего инструмента, мм 160 160
Максимальная длина инструмента от торца шпинделя, мм 300 300
Масса инструментальной оправки з инструментом, кг 20 20
Пристрій смены столов-спутников
Время смены столов-спутников, с 45 50..70
Електроустаткування і привод
Количество електродвигателей на станке 12 12
Електродвигун постоянного тока приводу головного руху, кВт 14 18
Электродвигатели приводу подач (X, Y, Z, B) і магазина, кВт 2,8 2,8
Електродвигун насоса гідростанції, кВт 5,5 5,5
Електродвигун вентилятора гідростанції, кВт 0,12 0,12
Електродвигун вентилятора шпинделя, кВт 0,12 0,12
Електродвигун насоса змазки шпиндельной бабки, кВт 1,1 1,1
Електродвигун насоса змазки направляючих, кВт 0,02 0,02
Электронасос охлаждающей жидкости Мощность, кВт 0,12 0,12
Суммарная мощность всех електродвигателей на станке, кВт 35 43,18
Габарити і масса верстата
Габарити верстата (длина ширина), мм 4450 х 4655 5388 х 4635
Габарити верстата (высота), мм 3100 3455
Масса верстата, кг 11370 10050

    Список литературы:

  1. Аврутин С.В. Основы фрезерного дела, 1962
  2. Аврутин С.В. Фрезерне дело, 1963
  3. Ачеркан Н.С. Металлорежущие верстати, Том 1, 1965
  4. Барбашов Ф.А. Фрезерне дело 1973, с.141
  5. Барбашов Ф.А. Фрезерные роботи (Профтехобразование), 1986
  6. Блюмберг В.А. Справочник фрезеровщика, 1984
  7. Григорьев С.П. Практика координатно-расточных і фрезерных работ, 1980
  8. Копылов Р.Б. Работа на фрезерных верстатах,1971
  9. Косовский В.Л. Справочник молодого фрезеровщика, 1992, с.180
  10. Кувшинский В.В. Фрезерование,1977
  11. Ничков А.Г. Фрезерные верстати (Библиотека станочника), 1977
  12. Пикус М.Ю. Справочник слесаря по ремонту металлорежущих верстатів, 1987
  13. Плотицын В.Г. Расчёты настроек і наладок фрезерных верстатів, 1969
  14. Плотицын В.Г. Наладка фрезерных верстатів,1975
  15. Рябов С.А. Современные фрезерные верстати і их оснастка, 2006
  16. Схиртладзе А.Г., Новиков В.Ю. Технологическое обладнання машиностроительных производств, 1980
  17. Тепинкичиев В.К. Металлорежущие верстати, 1973
  18. Чернов Н.Н. Металлорежущие верстати, 1988
  19. Френкель С.Ш. Справочник молодого фрезеровщика (3-е изд.) (Профтехобразование), 1978