metalinstryment.com
Довідник по металорізальних верстатів та пресовому обладнанні

FU 450MR ApUG верстат консольно-фрезерный широкоуніверсальний
характеристики, схеми, опис

FU 450MR ApUG Загальний вигляд  консольного фрезерного верстата







Відомості про виробника консольно-фрезерного верстата FU 450MR ApUG

В 1993 году Гомельский станкостроительный завод им. С. М. Кирова, СтанкоГомель заключил долговременное лицензионное соглашение з фирмой HECKERT Chemnitzer Werkzeugmaschinen GmbH по производству на заводе гаммы консольно-фрезерных верстатів серии FW, FU, FSS.





Верстати, выпускаемые предприятием Гомельский станкостроительный завод им. С. М. Кирова, СтанкоГомель


FU 450MR ApUG широкоуніверсальний консольно-фрезерный верстат. Назначение і область применения

Широкоуниверсальные консольно-фрезерные верстати FU 450MR ApUG є аналогами вертикальних фрезерных верстатів - 6Т83Ш і ГФ3203 (Горький).

Консольно-фрезерный верстат FU 450MR ApUG може использоваться как для серийного, так і для штучного производства. Благодаря мощной конструкції і широкому числу оборотів на них могут обрабатываться детали из стали, чугуна і лёгких металлов инструментами из быстрорежущей стали і твердосплавными инструментами.


Принцип роботи і особливості конструкції верстата FU 450MR ApUG (FU350RAp)


Комплект поставки:


Дополнительная оснастка (поставляется за отдельную плату):


Фрезерные консольные верстати завода СтанкоГомель і их аналоги




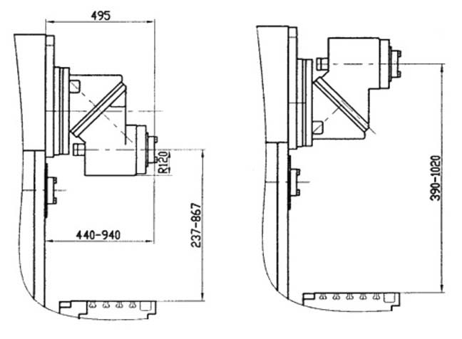
FU 450MR ApUG Габаритные розміри робочого простору вертикального консольно-фрезерного верстата

FU 450MR ApUG Габаритные розміри робочого простору вертикального консольно-фрезерного верстата

Габаритные розміри робочого простору верстата FU 450MR ApUG

FU 450MR ApUG Габаритные розміри робочого простору вертикального консольно-фрезерного верстата. Дивитись у збільшеному масштабі



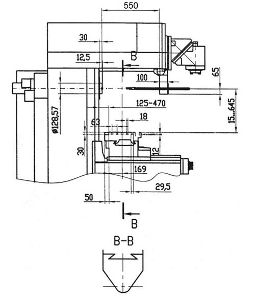
FU 450MR ApUG Габаритные розміри робочого простору вертикального консольно-фрезерного верстата

Габаритные розміри робочого простору верстата FU 450MR ApUG

FU 450MR ApUG Габаритные розміри робочого простору вертикального консольно-фрезерного верстата. Дивитись у збільшеному масштабі



FU 450MR ApUG Габаритные розміри робочого простору вертикального консольно-фрезерного верстата

Габаритные розміри робочого простору верстата FU 450MR ApUG

FU 450MR ApUG Габаритные розміри робочого простору вертикального консольно-фрезерного верстата. Дивитись у збільшеному масштабі



FU 450MR ApUG Габаритные розміри робочого простору вертикального консольно-фрезерного верстата

Габаритные розміри робочого простору верстата FU 450MR ApUG

FU 450MR ApUG Габаритные розміри робочого простору вертикального консольно-фрезерного верстата. Дивитись у збільшеному масштабі






FU 450MR ApUG Загальний вигляд вертикального консольно-фрезерного верстата

Фото вертикального фрезерного верстата FU 450MR ApUG

Фото вертикального фрезерного верстата FU 450MR ApUG


Фото вертикального фрезерного верстата FU 450MR ApUG

Фото вертикального фрезерного верстата FU 450MR ApUG


Фото вертикального фрезерного верстата FU 450MR ApUG

Фото вертикального фрезерного верстата FU 450MR ApUG






FU 450MR ApUG верстат консольно-фрезерный широкоуніверсальний. Відеоролик.



Технічні характеристики консольного фрезерного верстата FU 450MR ApUG

Наименование параметра FU350 MRApUG FU 450MR ApUG 6Т82Ш 6Т83Ш
Основні параметри верстата
Класс точності по ГОСТ 8-82 Н Н П П
Розміри рабочей поверхности стола (длина х ширина), мм 1250 х 315 1600 х 400 1250 х 320 1600 х 400
Наименьшее і наибольшее расстояние от оси горизонтального шпинделя до стола, мм 30..450 30..450
Расстояние от оси горизонтального шпинделя до хобота, мм 155 190
Расстояние от торца шпинделя поворотной головки до стола, мм 125..545 160..580
Расстояние от оси шпинделя поворотной головки до направляючих станины (вылет), мм 260..820 260..900
Предельные розміри устанавливаемой заготовки (длина х ширина х высота), мм 1250 х 315 х 500 1600 х 400 х 630
Предельные розміри обрабатываемой поверхности (длина х ширина х высота), мм 850 х 270 х 500 1120 х 345 х 630
Наибольшая масса устанавливаемой заготовки (по центру стола), кг 1000 1500 400 630
Количество управляемых осей координат 3 3
Количество одновременно управляемых осей координат 1 1
Рабочий стол
Наибольшее перемещение стола продольное/ поперечное/ вертикальное, мм 850/ 270/ 500 1120/ 345/ 630 800/ 320/ 420 1120/ 400/ 420
Число Т-образных пазов Розміри Т-образных пазов 4 5 3 3
Перемещение стола на одно деление лимба (продольное, поперечное, вертикальное), мм 0,05 0,05
Перемещение стола на один оборот лимба продольное і поперечное, мм 6 6
Перемещение стола на один оборот лимба вертикальное, мм 2 2
Быстрый ход стола продольный/ поперечний/ вертикальний, м/мин 3,150/ 3,150/ 1 4/ 4/ 1,3 4/ 4/ 1,3
Число ступеней рабочих подач стола 22 22
Пределы рабочих подач стола. Продольных і поперечных, мм/мин 16..800 16..800 12,5...1600 12,5...1600
Пределы рабочих подач стола. Вертикальных, мм/мин 5..250 5..250 4,1...530 4,1...530
Усилие різання поздовжньої, поперечної, вертикальной подач, Н 15,0/ 12,0/ 5,0 20,0/ 12,0/ 8,0
Угол поворота стола, град ±45° ±45°
Точность позиционирования в продольном направлении по упору, мкм ±25 ±25
Шпиндель
Частота обертання шпинделя поворотной і накладной головок, об/мин 28..1400 28..1400 50..1600 50..1600
Количество швидкостей шпинделя 11 11
Частота обертання горизонтального шпинделя, об/мин 31,5..1600 31,5..1600
Количество швидкостей горизонтального шпинделя 18 18
Перемещение пиноли (гильзы) шпинделя, мм 80 80
Перемещение пиноли шпинделя на одно деление лимба, мм 0,1 0,1
Перемещение пиноли шпинделя на один оборот лимба, мм 6 6
Поворот головки шпинделя к станине/ от станины, град 45 90
Поворот головки шпинделя в поздовжньої плоскости, град 360 360
Поворот накладной головки шпинделя в поздовжньої плоскости, град 360 360
Наибольший крутящий момент на горизонтальном шпинделе, кН.м 0,925 1,850 1,46
Кінець горизонтального шпинделя по ГОСТ 24644-81 (конус по ГОСТ 15945-82) 50АТ5 50АТ5 50 ряд4, исп.6 50 ряд4, исп.6
Ескіз кінця шпинделя поворотной і накладной головки по ГОСТ 24644-81 40 ряд 3, исп.5 40 ряд 3, исп.5
Допустимый диаметр фрез при черновой обработке. Горизонтальный/ вертикальний шпиндель, мм 315 250 250/ 75
Механіка верстата
Выключающие упоры подачі (поздовжньої, поперечної, вертикальной) есть есть
Блокировка ручной і механической подачі (поздовжньої, поперечної, вертикальной) есть есть
Блокировка раздельного увімкнення подачі есть есть
Автоматическая прерывистая подача Продольная есть есть
Автоматическая прерывистая подача Поперечная і вертикальная нет нет
Торможение шпинделя есть есть
Предохранение от перегрузки (муфта) есть есть
Привід і електрообладнання
Количество електродвигателей на станке 5 5
Електродвигун приводу головного руху М1, кВт 5,5 (2580) 11 (1450) 7,5 11
Електродвигун приводу шпинделя поворотной головки М2, кВт 3,0 (1500) 11 (1500) 3,0 3,0
Електродвигун механізма опускания консоли, кВт 0,18 (1500) 0,18 (1500) - -
Електродвигун насоса охлаждающей жидкости М3, кВт 0,12 (2800) <0,12 (2800)/td> 0,125 0,125
Електродвигун приводу подач стола М4, кВт 1,5 (1410) 2,2 (1420) 2,2 3,0
Електродвигун приводу зажиму инструмента, кВт 0,75 (1350) 0,75 (1350) 0,18 0,18
Суммарная мощность всех електродвигателей на станке, кВт 11,05 25,43 13,87 17,3
Габарити і масса верстата
Габарити верстата (длина х ширина х высота), мм 1990 х 2112 х 2580 2340 х 2240 х 2365 2280 х 1965 х 1970 2570 х 2252 х 2040
Масса верстата, кг 3600 4900 3550 4370

    Список литературы:


  1. Аврутин С.В. Основы фрезерного дела, 1962
  2. Аврутин С.В. Фрезерне дело, 1963
  3. Ачеркан Н.С. Металлорежущие верстати, Том 1, 1965
  4. Барбашов Ф.А. Фрезерне дело 1973, с.141
  5. Барбашов Ф.А. Фрезерные роботи (Профтехобразование), 1986
  6. Блюмберг В.А. Справочник фрезеровщика, 1984
  7. Григорьев С.П. Практика координатно-расточных і фрезерных работ, 1980
  8. Копылов Р.Б. Работа на фрезерных верстатах,1971
  9. Косовский В.Л. Справочник молодого фрезеровщика, 1992, с.180
  10. Кувшинский В.В. Фрезерование,1977
  11. Ничков А.Г. Фрезерные верстати (Библиотека станочника), 1977
  12. Пикус М.Ю. Справочник слесаря по ремонту металлорежущих верстатів, 1987
  13. Плотицын В.Г. Расчёты настроек і наладок фрезерных верстатів, 1969
  14. Плотицын В.Г. Наладка фрезерных верстатів,1975
  15. Рябов С.А. Современные фрезерные верстати і их оснастка, 2006
  16. Схиртладзе А.Г., Новиков В.Ю. Технологическое обладнання машиностроительных производств, 1980
  17. Тепинкичиев В.К. Металлорежущие верстати, 1973
  18. Чернов Н.Н. Металлорежущие верстати, 1988
  19. Френкель С.Ш. Справочник молодого фрезеровщика (3-е изд.) (Профтехобразование), 1978








Заказать

Кто владеет информацией - тот владеет миром.

Натан Ротшильд