Виробник радіально-свердлувального верстата ВС-43 - Вітебський верстатобудівний завод імені Комінтерну , заснований у 1877 році.
Понад 40 років із більш ніж вікової історії завод спеціалізувався на випуску зубообробного обладнання для обробки зубів циліндричних зубчастиних коліс.
Радіально-свердлильний шарнірний настільний верстат ВС-43 сконструйований організацією СКБ-3 та запущений у виробництво у 1956 році.
Радіальний свердлильний верстат ВС-43 призначений для обробки отворів у середніх та великих деталях у одиничному, дрібносерійному та серійному виробництві.
На верстаті ВС-43 можна виконувати: свердління, розсвердлювання, зенкерування, розгортання, нарізування різьблення та розточування отворів. Найбільш ефективно верстат може бути використаний при обробці отворів, розташованих під кутами в різних площинах великогабаритних деталей, інструментальних, ремонтних, експериментальних, складальних і виробничих цехах.
Основні особливості свердлильного верстата:

Габаритні розміри радіально-свердлувального верстата ВС-43

Фото радіально-свердлувального верстата ВС-43

Фото радіально-свердлувального верстата ВС-43
Фото радіально-свердлувального верстата ВС-43. Дивитись у збільшеному масштабі

Фото радіально-свердлувального верстата ВС-43
Фото радіально-свердлувального верстата ВС-43. Дивитись у збільшеному масштабі

Фото радіально-свердлувального верстата ВС-43
Фото радіально-свердлувального верстата ВС-43. Дивитись у збільшеному масштабі

Розташування органів керування радіально-свердлильним верстатом ВС-43

Кінематична схема радіально-свердлувального верстата ВС-43
Кінематична схема радіально-свердлувального верстата ВС-43. Дивитись у збільшеному масштабі

Схема мастила свердлильного верстата ВС-43
Схема змащення свердлувального верстата ВС-43. Дивитись у збільшеному масштабі

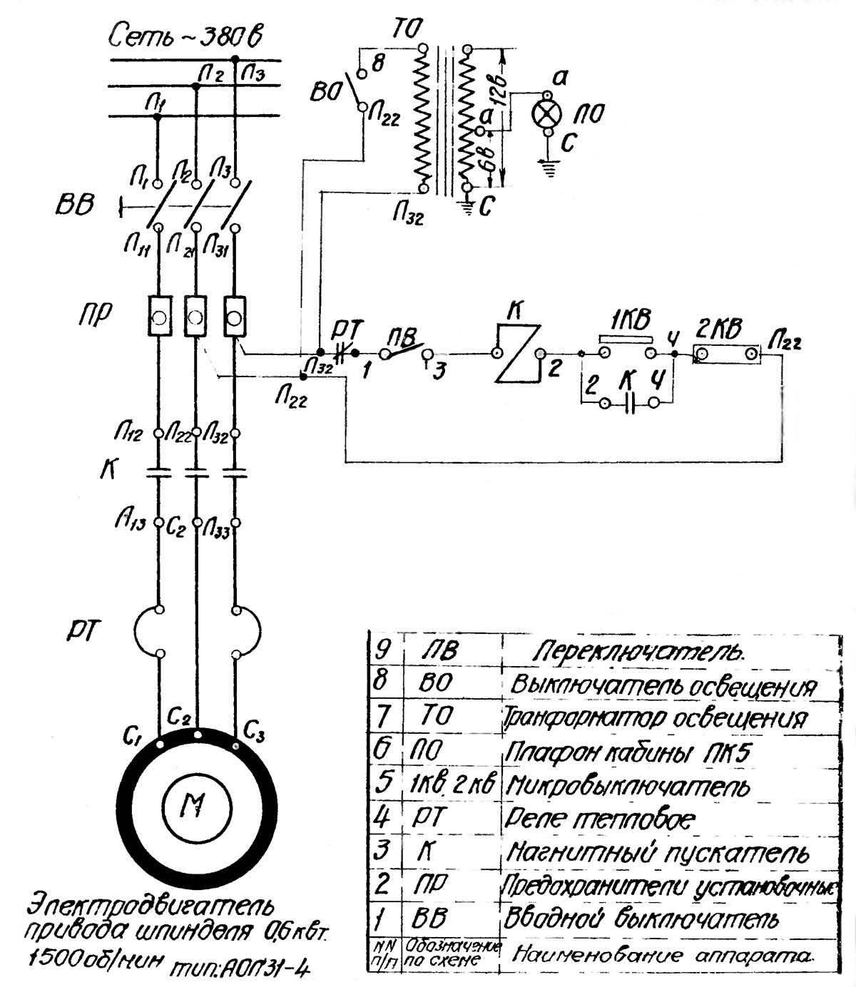
Електрична схема радіально-свердлувального верстата ВС-43
Електрична схема радіально-свердлувального верстата ВС-43. Дивитись у збільшеному масштабі
| Найменування параметру | 2A592 | 2E52 | ВС-43 |
|---|---|---|---|
| Основні параметри верстата | |||
| Клас точності верстата | Н | Н | Н |
| Найбільший умовний діаметр свердління сталі 45, мм | 25 | 25 | 10 |
| Діапазон нарізання різьблення в сталі 45, мм | М16 | ||
| Відстань від осі шпинделя до напрямної колони (виліт шпинделя), мм | 315..815 | 325..800 | 550 |
| Найбільше горизонтальне переміщення свердлильної головки по рукаву, мм | 500 | ||
| Найменша та найбільша відстань від торця шпинделя до плити, мм | 25..870 | 58..900 | |
| Найбільше вертикальне переміщення рукава по колоні (настановне), мм | 840 | 390..1230 | 250 |
| Найбільше осьове переміщення пінолі шпинделя (хід шпинделя), мм | 130 | 132 | 120 |
| Кут повороту рукава навколо колони (вертикальній осі), град | 360° | 360° | 228° |
| Кут повороту рукава навколо горизонтальної осі, град | 360° | 360° | |
| Діаметр колони, мм | 180 | ||
| Рамер поверхні плити (ширина довжина), мм | 450 x 590 | 410 x 730 | |
| Шпиндель | |||
| Частота прямого обертання шпинделя, об/хв | 175, 432, 693, 980 | 56..1400 | 800..2500 |
| Кількість швидкостей шпинделя прямого обертання | 4 | 8 | Б/с |
| Межі робочих подач на один оборот шпинделя, мм/об | ні | 0,1..0,2 | ні |
| Число ступенів робочих подач | - | 3 | - |
| Найбільший допустимий момент, що крутить, Н-м | 8 | ||
| Найбільше зусилля подачі, кН | 4 | 5 | |
| Конус шпинделя | Морзе 2 | Морзе 3 | |
| Затискач обертання колони | Ручний | ||
| Затискач рукава на колоні | Ручний | Ручний | |
| Затискач головки на рукаві | Ручний | Ручний | |
| Електроустаткування. Привід | |||
| Кількість електродвигунів на верстаті | 1 | 1 | 1 |
| Електродвигун приводу головного руху, кВт (об/хв) | 1,7 (1420) | 2,2 | 0,6 (1410) |
| Електродвигун затискача колони М3, кВт | ні | ||
| Електродвигун насоса охолоджувальної рідини М1, кВт | |||
| Сумарна потужність встановлених електродвигунів, кВт | 2,2 | ||
| Габарити та маса верстата | |||
| Габарити верстата (довжина ширина висота), мм | 800 х 680 х 2000 | 1750 х 750 х 1900 | 825 х 470 х 380 |
| Маса верстата, кг | 780 | 1030 | 215 |