Виробник настільно-свердлильного верстата моделі 2СС1М (2СС1) Саратовський завод важких зуборізних верстатів, СЗТЗС , заснований у 1947 році.
Свердлильний настільний верстат 2СС1 виготовлявся за ТУ 2-024-4345-83 з 1983 року.
Свердлильний верстат 2СС1 виготовлявся за ТУ 2-024-5748706-002-88 з 1988 року.
Верстат 2СС1 призначений для свердління отворів та нарізування різьблення в дрібних деталях із чавуну, сталі, кольорових сплавів та неметалічних матеріалів в умовах промислових підприємств, ремонтних та побутових майстерень.
На верстаті 2СС1М можливе також фрезерування неметалічних матеріалів кінцевими фрезами.
Шпиндель верстата 2СС1 отримує 3 швидкості обертання від триступеневих шківів приводу, що забезпечує вільний вибір швидкостей різання в діапазоні від 600 до 1600 об/хв.
Кінець шпинделя – зовнішній укорочений конус морзе КМ2, позначення В16 за ГОСТ 9953 (Конуси інструментальні укорочені) – конус укорочений: D = 15,733 мм.
Укороченому конусу В16 відповідає свердлильний трикулачковий патрон 10-го та 13-го типорозміру за ГОСТ 8522 (Патрони свердлильні трикулачкові) з діапазоном затиску 1..10 мм та 1..13 мм відповідно.
Приклад умовного позначення свердлильного 3-х кулачкового патрона, типорозміру 10, з конусним приєднувальним отвором В16:
Патрон 10-Б16 ГОСТ 8522-79
Патрон 13-Б16 ГОСТ 8522-79
Відлік глибини свердління провадиться по лімбу, встановленому на валі-шестірні. Ціна поділу лімба – 1 мм подачі свердла.
Конструкція натягу ремінної передачі дозволяє швидко змінювати положення ременя на шківах для отримання потрібної швидкості різання.
Використання тумби для встановлення верстата дає можливість свердліти торці довгих деталей, наприклад валів.
Свердлильний верстат 2СС1М дозволяє виконувати такі операції:
Частота обертання шпинделя залежить від діаметра свердла, встановленого в патрон:
Свердління отворів більше 6 мм проводиться з подальшим розсвердлюванням.
Зі збільшенням твердості оброблюваного матеріалу частота обертання має бути знижена.
Виробник - Саратовський завод важких зуборізних верстатів.
Конус інструментальний - Конус Морзе - одне з найбільш застосовуваних кріплень інструменту. Був запропонований Стівеном А. Морзе приблизно 1864 року.
Конус Морзе підрозділяється на вісім розмірів - від КМ0 до КМ7 (англійською: MT0-MT7, німецькою: MK0-MK7).
Стандарти на конус Морзе: ГОСТ 25557 (Конуси інструментальні. Основні розміри), ISO 296, DIN 228. Конуси, виготовлені за дюймовими та метричними стандартами, взаємозамінні у всьому, крім різьблення хвостовика.
Для багатьох застосувань довжина конуса Морзе виявилася надмірною . Тому було введено стандарт на дев'ять типорозмірів укорочених конусів Морзе (B7, B10, B12, B16, B18, B22, B24, B32, B45), ці розміри отримані видаленням більш товстої частинини конуса. Цифра позначення короткого конуса — діаметр товстої частинини конуса в мм.
Російський стандарт на укорочені конуси ГОСТ 9953 Конуси інструментів укорочені .
Російський стандарт на свердлильні патрони ГОСТ 8522 Патрони свердлильні трикулачні .
Де D – діаметр конуса в основній площині.

Фото свердлильного верстата 2СС1М

Фото свердлильного верстата 2СС1М

Фото свердлильного верстата 2СС1М

Фото свердлильного верстата 2СС1М

Фото свердлильного верстата 2СС1М

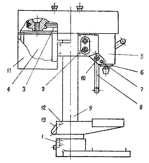
Розташування складових частинин свердлильного верстата 2СС1М
Основу шпиндельної бабки складає чавунний корпус. У корпусі змонтовано шпиндельний вузол, механізм натягу ременя, місцеве освітлення верстата.
Позаду бабці прикріплений електродвигун.

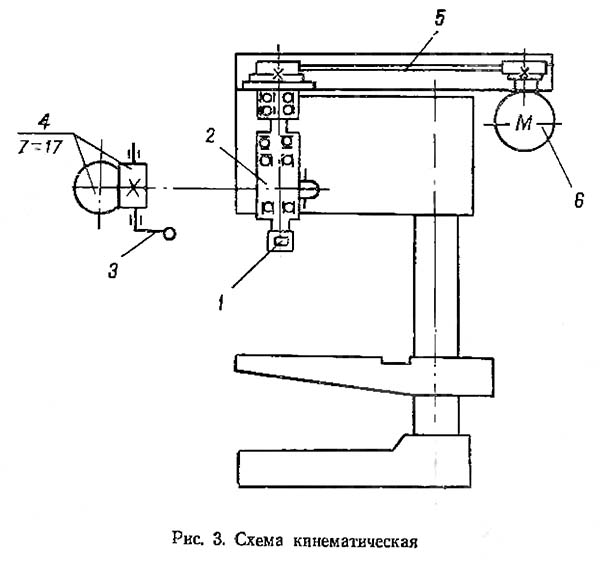
Кінематична схема свердлильного верстата
Крутний момент на шпинделі 1 виникає від електродвигуна 6 і передається через клинопасову передачу 5. Частота обертання шпинделя регулюється за допомогою перестановки приводного ременя на відповідний ступінь ступінчастого шківа.
Переміщення пінолі 2 здійснюється рукояткою через 3 рейкову передачу 4.

Налаштування на свердління верстата 2СС1М

Фрезерування паза в дерев'яному бруску на верстаті 2СС1М

Схема розташування підшипників верстата 2СС1М
Налаштування на свердління здійснюється наступним чином:
Налаштування необходимой частоти обертання инструмента производится перестановкой приводного ремня.
Рекомендуется следующая частота обертання в зависимости от диаметра сверла:
Сверление отверстий диаметром больше 6 мм производить післядующим рассверливанием.
С увеличением твердости обрабатываемого материала частота обертання должна быть снижена.
При сверлении крупногабаритных деталей, установленных непосредственно на полу или подставке 2 (рис. 6), необходимо повернуть траверсу 1 на 90°.
Закрепив в патроне 1 (рис. 2) кінцівую фрезу 2 і на подвижном столе 5 упор 3, можно производить фрезерование паза в деревянном бруске 4, подавая вручную брусок вдоль упора на фрезу. Пиноль должна быть застопорена болтом 9 (рис. 2).
Внимание! Продолжительность непрерывной роботи верстата под нагрузкой не более 30 мин. Возобновление роботи на станке возможно при остывании електродвигуна до температуры +50° С.

Електрична схема сверлильного верстата 2СС1М
Электропитание сверлильного верстата 2СС1М ~220 Вольт.
Пуск верстата осуществляется включением вилки Ш1 в сеть, напряжением 220 В і нажатием пусковой кнопки выключателя В 1.Во время нажатия кнопки выключателя В1, включается толчковый контакт, включающий пусковую обмотку ПО і рабочую обмотку РО електродвигуна.
После виключення кнопки выключателя В1, размыкается толчковый контакт, выключая пусковую обмотку ПО електродвигуна.
Для избегания выхода из строя рабочей обмотки двигуна при произвольной остановке, следует нажать на стоповую кнопку переключателя.
| Наименование параметра | 2м112 | НС12А | 2СС1М |
|---|---|---|---|
| Основні параметри верстата | |||
| Наибольший диаметр сверления, мм | 12 | 12 | 6 |
| Наибольший диаметр рассверливания, мм | 13 | ||
| Наименьшее і наибольшее расстояние от торца шпинделя до стола (основания) | 0...400 | 20..420 | 0..370 |
| Наименьшее і наибольшее расстояние от торца шпинделя до стола | нет | нет | 0..250 |
| Расстояние от оси вертикального шпинделя до направляючих стойки (вылет), мм | 190 | 185 | 150 |
| Рабочий стол | |||
| Ширина рабочей поверхности стола (основания), мм | 250 | 360 х 360 | 200 х 200 |
| Ширина рабочей поверхности стола, мм | нет | нет | 200 х 200 |
| Угол поворота робочого стола, град | нет | нет | 360° |
| Число Т-образных пазов | 3 | 3 | 1 |
| Шпиндель | |||
| Наибольшее перемещение шпиндельной головки, мм | 300 | ||
| Ход гильзы шпинделя, мм | 100 | 100 | 70 |
| Частота обертання шпинделя, об/хв | 450, 800, 1400, 2500, 4500 | 450, 710, 1400, 2500, 4500 | 600, 1000, 1600 |
| Кількість швидкостей шпинделя | 5 | 5 | 3 |
| Конус шпинделя | Морзе В18 | Морзе В18 | Морзе В16 |
| Привід | |||
| Електродвигун приводу головного руху, кВт (об/хв) | 0,55 | 0,65 | 0,18 (1420) |
| Габарит та маса верстата | |||
| Габарити верстата (довжина ширина висота), мм | 795 х 370 х 950 | 770 х 465 х 700 | 600 х 240 х 700 |
| Маса верстата, кг | 120 | 121 | 53 |