metalinstryment.com
Довідник по металорізальних верстатів та пресовому обладнанні

5А870в Верстат зубошлифовальный для шлифования конических колес
схеми, опис, характеристики

5А870в Верстат зубошлифовальный для шлифования конических колес







Відомості про виробника зубошлифовального напівавтомату 5А870в

Производитель зубошлифовального напівавтомату 5А870в Саратовский завод тяжелых зуборезных верстатів, СЗТЗС, основанный в 1947 году.





Верстати, выпускаемые Саратовским заводом тяжелых зуборезных верстатів, СЗТС


5А870в Верстат зубошлифовальный для конических зубчатых колес з круговыми зубьями. Назначение і область применения

Зубошлифовальный напівавтомат 5А870в заменил в производстве устаревшую модель 5870.

Верстат 5А870в является аналогом верстата 58к70в і отличается от него только размерами. Кінематична схема, конструкция основних вузлів, процесс шлифования идентичны.

Зубошлифовальный напівавтомат 5А870в предназначен для шлифования зубьев конических колес з круговой линией зуба.

Принцип роботи і особливості конструкції верстата

Схема шлифования зуборезного верстата 5А870в

Схема шлифования зуборезного верстата 5А870в

На рис. 99 показана схема шлифования. Обработка колеса 1 производится по методу обката чашечно-коническим шлифовальным кругом 3, рабочая поверхность которого воспроизводит зуб плосковершинного производящего колеса 2. При двустороннем способе шлифования круг одновременно шлифует разноименные стороны зуба і дно впадины, при одностороннем — одну сторону зуба і дно впадины. Процесс снятия стружки осуществляется при вращении люльки з инструментом в направлении против ходу часовий стрелки. В кінці каждого робочого ходу люлька останавливается, бабка з изделием отводится от шлифовального круга, происходит процесс деления з вращением люльки в обратную сторону (по ходу часовий стрелки) і в кінці холостого ходу люльки бабка з изделием подводится к шлифовальному кругу.

Программа роботи напівавтомату включает в себя черновую і чистовую правку круга, черновое і чистовое шлифование, а также выхаживание без подачі.


Основні технические данные зубошлифовального напівавтомату 5А870В



5А870в Загальний вигляд зубошлифовального верстата

Фото зубошлифовального верстата 5А870в

Фото зубошлифовального верстата 5А870в



Розташування складових частин зубошлифовального верстата 5А870в

Розташування складових частин зубошлифовального верстата 5А870в

Розташування основних вузлів зубошлифовального верстата 5А870в

Розташування основних вузлів зубошлифовального верстата 5А870в. Дивитись у збільшеному масштабі



Полуавтомат 5А870в (рис. 100) состоит из станины 1, на которой з левой стороны закреплена стойка 2 люльки, механізм подачі 7 і за ним механізм головного привода.

Внутри стойки 2 размещена люлька 11, совершающая рух обката от привода, который находится внутри стойки.

В расточке люльки, ексцентричной относительно її оси, смонтирована гильза з инструментальным шпинделем і шлифовальным кругом 13, над которым размещен механізм правки 12.

На передньої стороне стойки 2 находится пульт керування 9, ниже его маховик 5 переміщення ручного упора стола і кран 4 керування переміщенням стола і зажимом вироби.

Сверху стойки находится квадрат 10 поворота вироби для распределения припуска.

На передньої стенке механізма керування расположено штекерное пристрій 3 керування автоматическим циклом, счетчик циклов 6 і сигнальные лампы 8.

С правой стороны на станине расположен стол 19 з бабкой 18 вироби. Заготовка 15 зажимается в шпинделе гідравлическим пристрійм. Стол поворачивается на круговых направляючих для установки на угол конуса шлифуемого вироби. Рабочая зона верстата закрыта ограждением 16.

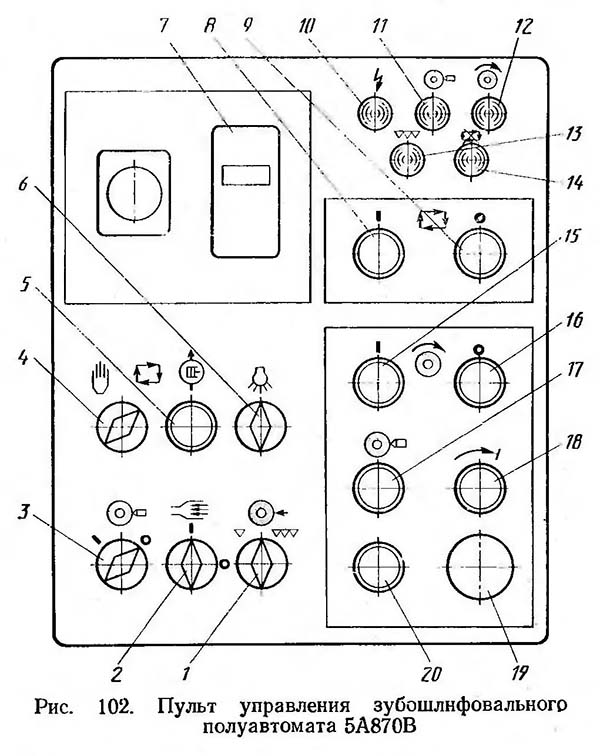
Пульт керування зубошлифовального верстата 5А870в

Пульт керування зубошлифовального верстата 5А870в

Пульт керування зубошлифовального верстата 5А870в. Дивитись у збільшеному масштабі







Схема кінематична зубошлифовального верстата 5А870в

Схема кінематична зубошлифовального верстата 5А870в

Кінематична схема зубошлифовального верстата 5А870в

Кінематична схема зубошлифовального верстата 5А870в. Дивитись у збільшеному масштабі



Кінематична схема (рис. 101) зубошлифовального напівавтомату 5А870в состоит из кинематических ланцюгів приводу шлифовального круга, деления, обката, обертання диска керування, подачі на врезание, подачі на правку і правки шлифовального круга.

Кинематическая ланцюг приводу шлифовального круга связывает вращение регулируемого електродвигуна M1 з вращением инструмента (Ин) через клиноременные передачи 165/125, 135/125 і 125/135. Частота обертання шлифовального круга устанавливается з пульта керування потенциометром в пределах 1980— 4490 об/мин.

Кинематическая ланцюг деления связывает вращение гідромотора ГМ2, находящегося внутри червячного колеса передачи 1/73, з поворотом вироби. Перед срабатыванием гідромотора включается гідроцилиндр Ц, который через реечную передачу выводит из корпуса диференціала фиксатор і включает муфту, соединяющую ротор гідромотора ГМ2 з корпусом диференціала. После етого гідромотор ГМ2, ротор которого може повернуться только на 180°, поворачивает диференціал на 1/2 оборота.

Учитывая передаточное отношение диференціала iдиф = 2 из уравнения кинематического баланса ланцюги деления (рис. 101)

(1/2) · 2 · (26/26) · (34/34) · (26/52) · (a1/bl) · (c1/d1) · (5/75) = 1/z,

Ланцюг обката связывает качательное рух люльки (Л), несущей на себе инструмент (Ин), з вращением заготовки (Заг). Привід ланцюги обката осуществляется от електродвигуна М2 через гідронасос (Н) і гідромотор (ГМ), червячную передачу 4)28, цилиндрическую передачу 48/34 і далее в сторону инструмента через коническую передачу 24/48, гітару обката d/c і b/а і передачу з коническими колесами 5/150 обертання люльки (Л).

В сторону заготовки вращение передається через зубчасті колеса диференціала 26/26 і 26/26, коническую передачу 26/26 і дальше через вал верхнего привода, конические передачи 34/34, 26/52, гітару деления а1/b1, c1/d1 на конические колеса 5/75 гипоидной делительной передачи.

Рівняння кинематического баланса ланцюги обката составляется из условия, что при повороте люльки на угол, соответствующий одному зубу инструментального производящего колеса (1/zc), заготовка должна повернуться на один зуб (1/z часть оборота):

(1/zс) · (150/5) · (a/b) · (c/d) · (48/24) · (26/26) · (26/26) · (26/26) · (34/34) · (26/52) · (a1/b1) · (c1/d1) · (5/75) = 1/z.

Подставляя zc = z/sinδ і (a1/b1) · (c1/d1) = 30/z і преобразуя рівняння, получим формулу налаштування ланцюги обката:

а/b · с/d = z/60 sinδ

где δ — угол делительного конуса шлифуемого колеса.

Кинематическая ланцюг обертання диска керування связывает вращение люльки (Л) з вращением диска керування (ДУ) через коническую передачу 150/5, гітару обката а, b, с, d, коническую передачу 48/24, цилиндрическую передачу 34/48 і коническую передачу 35/35. Рівняння кинематического баланса етой ланцюги составляется з учетом того, что за угол поворота Q Δ ЛЮЛЬКИ необходимый для обкатного руху, диск повернется на угол φупр:

QΔ (150/5) · 2/(60 · sinδ) · (48/24) · (64/48) · (35/35) · (25/60) · (20/42) · (32/32) · (32/74) = φупр.

Решая ето рівняння, получим формулу, по которой находят угол установки диска керування:

φупр = 0,08 · QΔ · z/ sinδ.

Кинематическая ланцюг подачі на врезание связывает вращение електродвигуна МЗ з поворотом кулака (Кул1) через червячные передачи 1/28 і 1/34. С кулаком контактирует упор (Уп) гідроцилиндра Ц2, связанный, в свою очередь, з гідроцилиндром ЦЗ. От дії етих гідроцилиндров бабка вироби перемещается на врезание і отводится от шлифовального круга во время деления. На одном валу з кулаком (Кул1) закреплен вращающийся контакт программного керування (конт. ПУ).

Ланцюг подачі шлифовального круга на правку осуществляет подачу круга к механізму правки на определенную величину. Подача производится от гідромотора ГМЗ, ротор которого може поворачиваться только на 120°, приводя в рух храповой механізм. Далее через зубчатую передачу 13/68 і ходовой винт 3x1 производится перемещение гильзы (Г) со шпинделем шлифовального круга на величину, зависящую от положения перекрышки храпового механізма.

Кинематическая ланцюг аппарата правки приводит в рух три алмаза: наружный (Алм. н), внутренний (Алм. в) і торцовый (Алм. т). Привід алмазов осуществляется от двух гідравлических цилиндров Ц4 і Ц5, поршни которых снабжены рейками. Рычаги боковых алмазов опираются через шарики на копиры, а рычаг торцового алмаза через диск (Д) на кулак (Кул2), воспроизводя на рабочей поверхности шлифовального круга требуемый профиль.

Перемещение рабочих органів вручную осуществляется от обертання квадратов, назначение которых следующее: Кв1 — распределение припуска через вращение диференціала, Кв2 — поворот ексцентрика люльки при радиальной установці оси шпинделя вироби, КвЗ — осевая установка шпинделя вироби, Кв4 — установка бабки вироби на угол делительного конуса шлифуемого колеса, Кв5 — установка скользящей базы, Ке6 — правка шлифовального круга.


Особливості налагодження верстатів для шлифования конических зубчатых колес

Наладка верстатів для шлифования конических колес осуществляется на основании наладочных карт, которые составляются по специальным инструкциям, прилагаемым к верстату, і руководящим материалам по расчету наладочных установок верстатів для обробки конических колес. Основними наладочными операциями є установка шлифовального круга, установка люльки на угол, наладка механізмов обката, деления і правки, а также механізма керування циклом. Рассмотрим наладку верстата на примере шлифования колеса m = 5 мм; z = 32; b = 40; δ = 75°58'.

Движения рабочих органів і механізмов верстата осуществляются кнопками і переключателями, находящимися на пульті керування (рис. 102). Перед тем как начать наладочные роботи, необходимо рубильником подать на верстат електрическое напряжение, при етом на пульті загорается лампочка 10, затем нажатием на кнопку 5 включить в работу насос гідравлики і змазки (відключення производится кнопкой 19), переключатель 4 установить в положение «наладка», переключателем 6 включить освещение верстата, а переключателем 2 — пылесос.

Установка шлифовального круга (рис. 103) производится в случае изменения параметров шлифуемого колеса і в случае изнашивания круга по высоте Н. Допускаемая величина износа составляет 45 мм, при етом у наружного торца кольца, охватывающего гильзу з шлифовальным кругом, появится красная риска, нанесенная на гильзе. Диаметр шлифовального круга должен быть равен диаметру резцовой головки, используемой при нарезании данного колеса. Выбираем шлифовальный круг 250х100х127 24А25СМ18Б. Шлифовальный круг 1 устанавливается на планшайбу 2 і прижимается гайкой 7 через кольцо 3. Между планшайбой, кругом і кольцом обязательно устанавливают прокладки 4 я 6 из алюминиевой фольги или картона. Смонтированный на планшайбе круг балансируют за счет передвижных сухарей 5, вставленных в кольцевой паз планшайби 2. Перед балансировкой шлифовальный круг должен быть пропитан маслом.

После установки планшайби з кругом на шпиндель верстата і закрепления її гайкой 8 необходимо проверить вращение круга. Для етого головкой, находящейся на електрошкафу, устанавливают частоту обертання круга (nкр = 1980 об/мин) в соответствии з требуемой скоростью (v = 26 м/с). Затем кнопкой 15 (см. рис. 102) включают вращение шлифовального круга (вимкнення производится кнопкой 16). После 3..4 мин обертання необходимо произвести черновую правку круга.

Правка шлифовального круга осуществляется механізмом 12 (см. рис. 100), установленным на передньої стороне люльки.

На рис. 104 показана часть механізма правки со штангами, на которых крепятся алмазы, і рычагами. Корпус 1 механізма правки при вращении квадрата 5 устанавливается в такое положение, чтобы его качание вместе з люлькой происходило над осью люльки. Затем з помощью специального калибра необходимо произвести установку по длине боковых і торцового алмазов. Вращением квадрата 13 осуществляется радиальная установка механізма правки в соответствии з диаметром шлифовального круга. Поворотом направляючих планок 4 і 7, к которым прижимаются шарики рычагов 6 і 8 боковых алмазов 2 і 3, производят установку угла заправляемого профиля, контролируя поворот по шкале, нанесенной на наружной стороне планок. Затем необходимо установить кулак 14 торцового алмаза на такой же угол, на какой установлены планки боковых алмазов.

После установки механізмов правки в требуемое положение производят правку круга, для чего необходимо переключатель 1 на пульті керування (рис. 102) установить в положение «Черновая правка», переключатель 3 установить в положение «Рабочая позиция», кнопкой 15 включить вращение шлифовального круга (загорается сигнальная лампочка 12) і кнопкой 17 включить правку круга (загорается сигнальная лампочка 11).

В процессе правки поршни-рейки 9 і 11 (рис. 104) совершают возвратно-поступательное рух і поворачивают рычаги 6 і 8 з боковыми алмазами і через колесо 12 — рычаг з торцовым алмазом.

Правку можно осуществить і вручную, вращая квадрат 10.

Наладка люльки заключается в установці її на центр обката механізмом (рис. 105), находящимся на левом торце верстата, і установці ексцентрика з шлифовальным шпинделем на требуемый угол.

Поворот люльки производится вращением вала ведущего зубчатого колеса гітари обката специальной рукояткой. При етом люлька устанавливается таким образом, чтобы упор 8 центра обката люльки включил кран 6 реверсирования гідромотора обертання ланцюги обката. После етого упоры 1 і 3, воздействующие на конечные выключатели 5 і 9, устанавливают по шкале 2 в соответствии з углами качания люльки согласно карте налагодження верстата.

После етого устанавливают сменные зубчасті колеса гітари обката, рассчитанные по формуле

а/b · с/d = z/(60 sin δ)

Для рассматриваемого примера шлифования:

a/b · c/d = 32/(60 · 0,97015) = 0,549743; a/b · c/d = (23/41) · (98/100).

На упоре 3 помещен рычаг 4, который в кінці каждого робочого ходу люльки нажимает ролик микропереключателя 7, дающего команду на счетчик циклов. Кратковременное увімкнення двигуна обката осуществляется нажатием на кнопку 20 (см. рис. 102).

Вид на люльку з переднего торца показан на рис.106. В люльке 1 находится ексцентрик 3, в котором расположен шлифовальный шпиндель 2. Сверху шпинделя расположен гідромотор 4 подачі шпинделя на правку і квадрат 8 установки перекрышки храпового механізма подачі на правку. Поворот ексцентрика производится вращением валика 7 з контролем угла поворота по шкале линейки 5 і нониусу 6. После поворота ексцентрик закрепляется гайками 9.

Наладка механізмов группы вироби состоит в установці стола і бабки вироби по высоте относительно шлифовального круга, установці сменных зубчатых колес гітари деления і установці оправки з изделием в шпиндель верстата. В рассматриваемом случае гітара деления iдел = 30/z = 30/32 настраивается колесами a1/b1 · c1/d1 = 45/48 · 60/60.

Установка стола 21 на базовое расстояние относительно шлифовального круга производится вращением гвинта 20 (см. рис. 100) з отсчетом переміщення по шкале линейки, находящейся около гвинта. Расстояние между изделием і шлифовальным кругом должно быть больше теоретического на величину, достаточную для дошлифовки вироби в размер при ручной подаче.

Установка расстояния от торца шпинделя вироби до оси поворота бабки вироби (монтажная дистанція) производится поворотом гвинта за квадрат КвЗ (см. рис. 101).

Установка вертикального (гипоидного) смещения шпинделя вироби осуществляется поворотом головки 17 (см. рис. 100).

Механізм керування циклом зубошлифовального верстата 5А870в

Механізм керування циклом зубошлифовального верстата 5А870в

Механізм керування циклом зубошлифовального верстата 5А870в. Дивитись у збільшеному масштабі



Наладка механізма керування циклом, изображенного на рис. 107, заключается в установці штекеров 1 в соответствующие гнезда 2 і 3 программного пристроя. Цифры, нанесенные на панель механізма, обозначают величину радиального врізання на глубину зуба, оставшуюся до кінця обробки. Общая величина врізання на глубину определяется по формуле R = 1,37 ΔS,

где ΔS — разность между фактической толщиной зуба заготовки до шлифования і толщиной зуба по чертежу при ΔS = 0,36 мм, R= 1,37 · 0,36 = 0,50 мм.

Пристрій позволяет установить наступні елементы автоматичного цикла: количество рабочих ходов за цикл обробки, величину подачі на врезание перед каждым рабочим ходом, количество і место правок в цикле, момент перехода от чернового режима правки к чистовому.

Внутренний ряд гнезд 3 служит для установки рабочих ходов і величины подачі, наружный ряд 2 определяет места правки. Стопор 5, установленный в одно из гнезд у центра панелі, определяет, что все штекеры, находящиеся до него от начала обробки, будут давать команду на черновую правку, а після него на чистовую. Стрелка 4 при повороте показывает величину оставшегося радиального врізання. В настоящем случае штекеры устанавливают в гнезда 3 начиная з позиции 0,50 мм, разделяя припуск на 14 рабочих ходов, из которых 3 ходу выхаживания. Штекеры правки устанавливают в позиции 0,10 і 0 (К =14, Кпр= 2, tц= 0,45 с, tnp=60 с).

Поворот диска керування можно осуществить нажатием на толчковую кнопку 18 на пульті керування (см. рис. 102).

Пробное шлифование осуществляется після полной налагодження верстата согласно карте налагодження. При етом заготовка должна находиться в шпинделе бабки вироби, шлифовальный круг подведен к заготовке і введен в її зубья. Переключатель 3 (см. рис. 102) механізма правки должен быть установлен в положение «Включено», переключатель 4 установлен в положение «Автоматический режим», счетчик циклов 7 — на начало отсчета. Время цикла устанавливается нормативное tц=4,5 с/зуб. С нажатия на кнопку 8 «Пуск цикла» начинается автоматический цикл роботи верстата. При етом происходит следующее: включается вращение шлифовального круга, начинает работать пылесос 14 (см. рис. 100), охолодження і центрифуга очистки СОЖ, происходит процесс шлифования по программе, установленной на диске керування. При процессе выхаживания горит сигнальная лампочка 13. После выполнения післяднего робочого ходу останавливается обкат, стол отходит в позицию загрузки, отключается вращение шлифовального круга, а также подача СОЖ і пылесос. Останов цикла можно произвести кнопкой 9, при етом загорится сигнальная лампочка 14.

Основное (технологическое) время шлифования cледующее: To = tц · z · K + tпр · Кпр = 4,5 · 32 · 14 + 60 · 2 = 2136 з = 35,6 мин.

Основні погрешности шлифования конических зубчатых колес і способы их устранения приведены в табл. 24.



Установка шлифовального круга зубошлифовального верстата 5А870в

Установка шлифовального круга зубошлифовального верстата 5А870в

Установка шлифовального круга зубошлифовального верстата 5А870в. Дивитись у збільшеному масштабі



Механізм керування качанием люльки зубошлифовального верстата 5А870в

Механізм керування качанием люльки зубошлифовального верстата 5А870в

Механізм керування качанием люльки зубошлифовального верстата 5А870в. Дивитись у збільшеному масштабі






5А870в Верстат зубошлифовальный напівавтомат. Відеоролик.




    Список литературы для налаштування верстата

  1. Верстат для нарізання спиральнозубых конических колес моделі 528с. Руководство к верстату, ЭНИМС, МЗКРС 1956 год.
  2. Инструкция по расчету наладочных установок зуборезных верстатів моделі 525 і 528 для нарізання конических колес со спиральными зубьями, ЭНИМС, МЗКРС.
  3. Руковдство по расчету геометрических размеров гипоидных зубчатых колес і наладок для их нарізання на верстатах моделей 528с, 528с, 5а27с1, Саратовский завод тяжелых зуборезных верстатів, 1967 год.
  4. Руковдство по расчету наладок верстатів 528с, 525 і 5а27с4п для нарізання конических колес методом обкатки, Саратовский завод тяжелых зуборезных верстатів, 1969 год.
  5. Список литературы по зубообработке

  6. Ачеркан Н.С. Металлорежущие верстати, Том 1, 1965.
  7. Гальперин Е.И. Наладка зуборезных верстатів, 1960.
  8. Козлов Д.Н. Зуборезные роботи, 1971.
  9. Кучер А.М., Киватицкий М.М., Покровский А.А., Металлорежущие верстати (Альбом общих видов, кинематических схем і вузлів), 1972.
  10. Лоскутов В.В., Ничков А.Г. Зубообрабатывающие верстати, 1978.
  11. Малахов Я.А. Зубообрабатывающие і резьбофрезерные верстати і их наладка, 1972.
  12. Мильштейн М.З. Нарезание зубчатых колес, 1972.
  13. Овумян Г.Г., Адам А.И. Справочник зубореза, 1983.
  14. Птицин Г.А., Кокичев В.Н. Зуборезные верстати, 1957.
  15. Шавлюга Н.И. Расчет і примеры наладок зубофрезерных і зубодолбежных верстатів, 1978.
  16. Руководящий материал для конструкторов, проектирующих технологическую оснастку. Основні данные і посадочные места металлорежущих верстатів. НИИМАШ, 1968.








Заказать

Кто владеет информацией - тот владеет миром.

Натан Ротшильд