metalinstryment.com
Довідник по металорізальних верстатів та пресовому обладнанні

5С280П Верстат зуборезный для конических зубчатых колес з круговыми зубьями напівавтомат
схеми, опис, характеристики

5С280П Загальний вигляд  зуборезного верстата







Відомості про виробника зуборезного напівавтомату 5С280П

Производитель зуборезного напівавтомату 5С280П Саратовский завод тяжелых зуборезных верстатів, ТЗС, основанный в 1947 году.





Верстати, выпускаемые Саратовским заводом тяжелых зуборезных верстатів, СЗТС


5С280П Верстат зуборезный для конических зубчатых колес з круговыми зубьями напівавтомат. Назначение і область применения

Зуборезный верстат 5С280П предназначен для чистовой і черновой обробки конических зубчатых колес з круговой линией зубьев, диаметром до 800 мм і модулем до 16 мм. Кроме того, на нем можно обрабатывать гипоидные зубчасті колеса.

Нарезание зубчатых колес осуществляется по методу обкатки или врізання. В качестве режущего инструмента применяются торцовые зуборезные головки.

На напівавтоматі 5С280П можно производить нарезание обкаткой і врезанием. При нарезании зубчатых колес достигается 7—6 степени точності по ГОСТ 1768—56 і шероховатость обработанной поверхности зубьев не ниже V6 класса по ГОСТ 2789—59.

Полуавтомат 5С280П може быть использован во всех отраслях машиностроения в условиях мелкосерийного, крупносерийного і массового производства.

Применение напівавтомату 5С280П в массовом производстве обеспечивается возможностью многостаночного обслуживания рабочим невисокою квалификации.

Особливості конструкції і принцип роботи зуборезного верстата 5С280П

В отличие от других верстатів подобного типа он имеет:

На зуборезном станке 5С280П удобное расположение органів керування, возможность гибкой налагодження, наличие транспортера удаления стружки, гідравлический зажим і отжим заготовки, подвод і отвод бабки вироби обеспечивают высокую производительность напівавтомату.

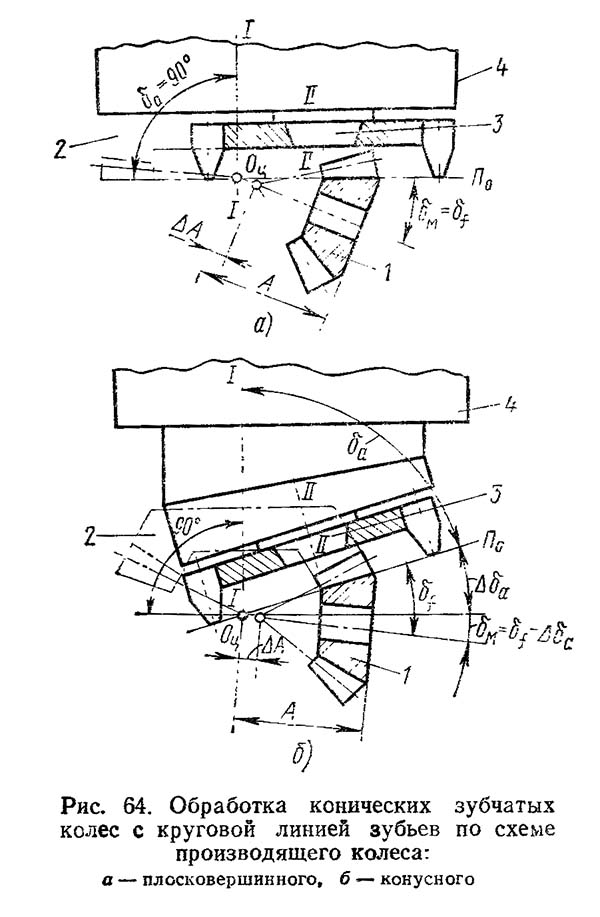
Принцип роботи етого верстата аналогичен показанному на рис. 64, а, при котором резцы зуборезной головки воспроизводят в своем вращении зуб плосковершинного производящего колеса, а профиль зубьев нарезаемого конического колеса получается в процессе обката как огибающие боковых поверхностей зубьев етого колеса.

Обработка конических зубчатых колес з круговой линией зубьев на зуборезном станке 5С280П

Обработка конических зубчатых колес з круговой линией зубьев
по схеме производящего колеса: а - плосковершинного, б - конусного


Верстат може работать тремя методами: обката, врізання і комбинированным.

Метод обката применяют при чистовой обработке обычных конических зубчатых передач.

Метод врізання (без обката) применяют при черновом нарезании колес обычных конических зубчатых передач, а также при чистовой обработке полуобкатных передач, когда парная шестерня в передаче обрабатывается обкатом з модифицированием по профилю.

Метод врізання (без обката) применяют при черновом нарезании колес обычных конических зубчатых передач, а также при чистовой обработке полуобкатных передач, когда парная шестерня в передаче обрабатывается обкатом з модифицированием по профилю.

Комбинированным методом обрабатывают колеса з углом начального конуса 70...80°. Метод заключается в том, что в начале производится простое врезание инструмента в заготовку (при етом имеет место очень малая скорость обката), а після того, как зуб обработан «а полную глубину, подача врізання прекращается, і происходит окончательная обработка зуба обкатом.

Деление в етих верстатах (на 1 зуб) осуществляется периодически після відведення заготовки от инструмента.

Верстат — напівавтомат, гідрофицирован і може быть использован при мелкосерийном, крупносерийном і массовом производствах.


Верстати для нарізання конических колес з круговой линией зубьев

Группа верстатів для нарізання конических колес з круговой линией зубьев самая многочисленная і разбита на три подгруппы:

  1. верстати, работающие по методу обката;
  2. верстати, предназначенные для чернового нарізання;
  3. верстати для чистового нарізання методом кругового протягивания.

Особое место среди указанных подгрупп занимают верстати, работающие по методу обката. Верстати етой подгруппы универсальны, а следовательно, і самые сложные. Одни из них работают по схеме плосковершинного производящего колеса, другие — по схеме конусного.

Конструктивные различия етих верстатів зависят от метода формообразования, а также от структуры кинематических схем, внутренних механических связей і предельных размеров заготовок і обусловливают особливості их наладок. Изучение наладок всех верстатів не представляется возможным. С особенностями налагодження каждого верстата можно познакомиться непосредственно по руководствам, поставляемым со верстатом. В данной главе будет рассмотрена наладка распространенного в промышленности зуборезного верстата 5С280П. Знакомство з етим верстатом поможе освоить любые другие зуборезные верстати.





Рабочее пространство зуборезного верстата 5С280П

5С280П напівавтомат зуборезный. Фото

Рабочее пространство зуборезного верстата 5с280п

Рабочее пространство зуборезного верстата 5С280П. Дивитись у збільшеному масштабі



Кінець шпинделя вироби зуборезного верстата 5С280П

Кінець шпинделя вироби зуборезного верстата 5С280П

Кінець шпинделя вироби зуборезного верстата 5с280п

Кінець шпинделя вироби зуборезного верстата 5С280П. Дивитись у збільшеному масштабі



Кінець шпинделя зуборезной головки верстата 5С280П

Кінець шпинделя зуборезной головки верстата 5С280П

Кінець шпинделя зуборезной головки верстата 5с280п

Кінець шпинделя зуборезной головки верстата 5С280П. Дивитись у збільшеному масштабі



Загальний вигляд і общее пристрій зуборезного верстата 5С280П

5С280П напівавтомат зуборезный. Фото

Фото зуборезного верстата 5с280п


5С280П напівавтомат зуборезный. Загальний вигляд

Фото зуборезного верстата 5с280п


5С280П напівавтомат зуборезный. Загальний вигляд

Фото зуборезного верстата 5с280п

Фото зуборезного верстата 5С280П. Дивитись у збільшеному масштабі



Зуборезный напівавтомат 5С280П класса точності П предназначен для чернового і чистового нарізання конических і гипоидных колес з круговыми зубьями. Верстат имеет наступні конструктивные особливості: число звеньев в кінематичної ланцюги обкатки і головного руху сокращено; реверс люльки осуществляется обычной фрикционной муфтой; подвод стола в зону різання і отвод его на деление осуществляется гідравлически з помощью следящей системы; самостоятельный привід ланцюги обкатки і керування независим от приводу зуборезной головки; механізм деления имеет гідравлический привод.

Верстат работает методами врізання і обкатки. Врезание применяется при черновом нарезании зубчатых колес, а также при чистовом нарезании колес полуобкатных передач; обкатка применяется при чистовом нарезании всех зубчатых колес, кроме полуобкатных ведомых. Обкаточное вращение производящего колеса осуществляет люлька, несущая зуборезную головку. Режущие кромки головки воспроизводят рух боковой поверхности зуба производящего колеса.

Деление осуществляется периодически. По окончании профилирования одной впадины (при нарезании двухсторонним методом) или одной стороны впадины (при нарезании односторонним методом) включается делительный механізм, поворачивающий заготовку на один шаг.

Рабочий цикл верстата. При работе по методу врізання червяк 66 люльки отключают от приводу подачі, і привід вращает только ланцюг керування. На валы X VII і X VIII (рис. 132) надевается спеціальний хомут, удерживающий их от поворота во время деления. Копир подачі 63 через следящую систему начинает перемещать стол. Диск керування 61 поворачивается синхронно з копиром врізання. Так же синхронно поворачивается копир 64 керування переменной подачі. В кінці подачі упор на диске керування дает команду на отвод стола з бабкой вироби. В кінці відведення стола подаются команды на муфту реверса 70 з робочого ходу на холостой, на цилиндр изменения скорости обкатки, на цилиндр счетчика циклов, на муфту 71 механізма деления. Деление происходит во время обратного обертання ланцюги керування і заканчивается раньше, чем упор на диске керування дает команду на рабочий ход.

Метод обкатки отличается от метода врізання тем, что червяк люльки подключают к приводу обкатки. С валов XVII і XVIII снимают хомут і вместо него на ети валы устанавливают сменные колеса гітари обкатки, а копир врізання заменяют копиром чистового нарізання. В остальном цикл роботи такой же, как і при врезании.


Розташування складових частин зуборезного верстата 5с280п

Розташування складових частин зуборезного верстата 5с280п

Розташування основних вузлів зуборезного верстата 5с280п

Розташування складових частин зуборезного верстата 5с280п. Дивитись у збільшеному масштабі



Розташування органів керування зуборезным верстатом 5с280п

Розташування органів керування зуборезным верстатом 5с280п

Розташування органів керування зуборезным верстатом 5с280п

Розташування органів керування зуборезным верстатом 5с280п. Дивитись у збільшеному масштабі





Кінематична схема зуборезного верстата 5С280П

Кінематична схема зуборезного верстата 5С280П

Кінематична схема зуборезного верстата 5с280п

Кінематична схема зуборезного верстата 5С280П. Дивитись у збільшеному масштабі



Рассмотрим основні кинематические ланцюги верстата 5С280П

Главное движение — вращение зуборезной головки передається от електродвигуна 1 через цилиндрические колеса 2, 3, 4 на сменные колеса а — b, а от них через цилиндрические колеса 5, 6, 7, 8 — на вал-шестерню 9, связанную з колесом внутреннего зацепления 10, которое закреплено на шпинделе зуборезной головки.

Ланцюг обкатки приводится во вращение електродвигуном 11 через клиноременную передачу 12 — 13 на входной вал I коробки подач.

На рабочем ходу вращение от вала II передається через сменные зубчасті колеса a1 — b1 валу III і далее через колеса 20-21, муфту 70 валу IV, через цилиндрические колеса 22, 24, 25, 26, конические колеса 27, 28, червячную пару 66—67 люльке. От червяка через конические колеса 29-30, сменные колеса гітари обкатки а3, b3, c3, d3, вал XVIII, муфту 71, конические колеса 42, 43, 44, 45, сменные колеса гітари а4, b4, c4, d4— на червяк 46 і червячное колесо 47.

На замедленном холостом ходу вращение от вала II передається на вал IV через колеса 16 — 18, а на ускоренном холостом ходу — через колеса 17—19. Дальнейшее рух от вала IV до вала X VIII осуществляется так же, как і на рабочем ходу.

Деление происходит во время холостого ходу. От гідроцилиндра з рейкой вращение передається колесу 38, далее через колеса 37 — 36 і корпус диференціала — колесам 35, 34 і валу XXIV. Возврат гідроцилиндра і корпуса диференціала в исходное положение происходит во время робочого ходу, когда однозуба муфта войдет в зацепление з валом XXIV.

От колеса 22, установленного на валу IV коробки подач, вращение передається з колеса 23 на вал XXX, затем через сменные колеса гітари a5—b5, червячную передачу 52, 53 — на вал копиров XXXII через колеса 54, 55, вал XXXIII і цепную передачу 56, 57—диску керування 61.

От вала VII через сменные колеса гітари а2 — b2, с2 — d2, конические колеса 48 — 49, червячную передачу 50—51 получает вращение диск 69 модификатора з регулируемым ексцентриком. Эксцентрик диска перемещает в осевом направлении гильзу 68, в которой смонтированы опори червяка люльки. Осуществляемое таким образом перемещение червяка люльки обеспечивает модификацию обкатки.


Налаштування напівавтомату. Исходными данными для налаштування верстата є число зубьев нарезаемого колеса, материал заготовки, диаметр фрезерной головки, модуль нарезаемой шестерни і все геометрические параметри шестерни.





Схема нарізання конических колес з круговыми зубьями

Схема нарізання конических колес з круговыми зубьями

Схема нарізання конических колес з круговыми зубьями


Необходимые частоти обертання стола при различных частотах обертання фрез і числах зубьев нарезаемых колес

Из сказанного выше следует, что при использовании на модернизированных зубофрезерных верстатах современного инструмента, можно значительно повысить производительность оборудования. Особенно ето заметно при изготовлении зубчатых колес з большим числом зубьев. Данный еффект достигается при значительно меньших затратах на техническое перевооружение предприятия, чем при покупке нового оборудования, експлуатация которого неизбежно потребует перехода на сучасний высокопроизводительный инструмент.


Резцовая головка

Резцовая головка

Резцовая головка


Резцовая головка (рис. 131,а) выполняется в виде диска з пазами, в которые вставляют і крепят резцы перпендикулярно торцовой плоскости диска. Резцы бывают наружные (рис. 131,6) і внутренние (рис. 131,в). Кроме того, резцы подразделяются на праворежущие і леворежущие, отличающиеся только расположением режущих кромок.


Профили зубьев полуобкатной пары

Схема нарезки колес з круговыми зубьями

Профили зубьев полуобкатной пары


Нарезание конических колес з круговыми зубьями по способу обката характеризуется длительным циклом обробки. Чтобы избежать гранности зубьев і снизить шероховатость поверхности, приходится увеличивать время огибания. Много часу затрачивается также на холостые ходы верстата, отвод инструмента, делительный процесс і др. В массовом производстве зубчасті колеса спирально-конических і гипоидных передач нарезают высокопроизводительным полуобкатным методом. В полуобкатной паре обкаткой нарезается только колесо, имеющее небольшое число зубьев, а большое колесо нарезается торцовой резцовой головкой или круговой протяжкой по методу копирования. Зубья колеса полуобкатной пары имеют поетому не винтовые, а конические рабочие поверхности, представляющие собой точные копии производящих поверхностей, описываемых режущими кромками резцов торцовой головки или протяжки.

На рис. 133 жирными лініями очерчены профили зубьев полуобкатной пары. Для сравнения тонкими лініями показаны профили зубьев обычной пары, которые нарезаются методом обката. Такие зубья нарезаются на обычных зуборезных верстатах з коническим или плоским производящим колесом. В післяднем случае применяется модификация обката. Поскольку таким методом нарезается только ведущее зубчатое колесо, а ведомое колесо нарезается методом копирования, ети передачи получили название полуобкатных, а способ нарізання — полуобкатным.




Работа на зуборезном станке 5С280П





Технічні характеристики зуборезного верстата 5С280П

Наименование параметра 5С280П
Основні параметри верстата
Наибольший диаметр нарезаемых обрабатываемых колес 800
Наибольший модуль нарезаемого колеса, мм 16
Наибольшая длина образующей начального конуса нарезаемых колес при β =30°, мм 400
Наименьший і наибольший углы делительного конуса конического колеса, град 5°42'..84°18'
Количество зубьев нарезаемых колес 5..150
Наибольшая высота нарезаемых зубьев, мм 35
Наибольшая ширина венца нарезаемых колес, мм 125
Время обробки одного зуба, сек 12..200
Наибольшее передаточное число нарезаемых зубчатых колес при угле между осями 90° 10
Угол установки люльки, град 0..360°
Цена деления отсчета по шкале поворота люльки, мин 1
Расстояние от торца инструментального шпинделя до центра поворота бабки вироби при нулевом положении скользящей базы, мм 93
Диаметры зуборезных головок, мм 160, 200, 250, 315, 400, 500
Частота обертання зуборезной головки, об/мин 20..125
Наименьшее і наибольшее расстояние от торца шпинделя бабки вироби до центра стака, мм 135..600
Точность отсчета по шкале осевой установки бабки, мм 0,02
Установка бабки на угол внутреннего конуса, град +5..+90
Точность отсчета по шкале установки бабки на угол внутреннего конуса, мин 1
Отвод стола в крайнее нерабочее положение, мм 130
Вертикальная установка бабки вироби для нарізання гипоидных колес вверх і вниз, мм 125
Точность отсчета по лимбу гипоидного смещения бабки, мм 0,02
Наибольшее смещение расчитанной базы от центра верстата на люльку/ от люльки, мм 30/ 65
Привід і електрообладнання верстата
Количество електродвигателей на станке
Електродвигун головного привода, кВт 7,5
Електродвигун насоса гідропривода, кВт 2,2
Магнитный усилитель приводу механізма подач, кВт 2,0
Електродвигун приводу механізма подач, кВт 2,2
Електродвигун насоса охлаждения, кВт 0,6
Суммарная мощность електродвигателей, кВт
Габаритные розміри і масса верстата
Габаритные розміри верстата (длина х ширина х высота), мм 3170 х 2180 х 2200
Масса верстата з електрообладнанням і охолодженням, кг 15189

    Список литературы для налаштування верстата

  1. Верстат для нарізання спиральнозубых конических колес моделі 528с. Руководство к верстату, ЭНИМС, МЗКРС 1956 год.
  2. Инструкция по расчету наладочных установок зуборезных верстатів моделі 525 і 528 для нарізання конических колес со спиральными зубьями, ЭНИМС, МЗКРС.
  3. Руковдство по расчету геометрических размеров гипоидных зубчатых колес і наладок для их нарізання на верстатах моделей 528с, 528с, 5а27с1, Саратовский завод тяжелых зуборезных верстатів, 1967 год.
  4. Руковдство по расчету наладок верстатів 528с, 525 і 5а27с4п для нарізання конических колес методом обкатки, Саратовский завод тяжелых зуборезных верстатів, 1969 год.
  5. Список литературы по зубообработке

  6. Ачеркан Н.С. Металлорежущие верстати, Том 1, 1965.
  7. Гальперин Е.И. Наладка зуборезных верстатів, 1960.
  8. Козлов Д.Н. Зуборезные роботи, 1971.
  9. Кучер А.М., Киватицкий М.М., Покровский А.А., Металлорежущие верстати (Альбом общих видов, кинематических схем і вузлів), 1972.
  10. Лоскутов В.В., Ничков А.Г. Зубообрабатывающие верстати, 1978.
  11. Малахов Я.А. Зубообрабатывающие і резьбофрезерные верстати і их наладка, 1972.
  12. Мильштейн М.З. Нарезание зубчатых колес, 1972.
  13. Овумян Г.Г., Адам А.И. Справочник зубореза, 1983.
  14. Птицин Г.А., Кокичев В.Н. Зуборезные верстати, 1957.
  15. Шавлюга Н.И. Расчет і примеры наладок зубофрезерных і зубодолбежных верстатів, 1978.
  16. Руководящий материал для конструкторов, проектирующих технологическую оснастку. Основні данные і посадочные места металлорежущих верстатів. НИИМАШ, 1968.








Заказать

Кто владеет информацией - тот владеет миром.

Натан Ротшильд