metalinstryment.com
Довідник по металорізальних верстатів та пресовому обладнанні

5М841 Верстат зубошлифовальный універсальний напівавтомат
схеми, опис, характеристики

5М841 Загальний вигляд  зубошлифовального верстата







Відомості про виробника зубошлифовального верстата 5М841

Производитель вертикального зубошлифовального верстата 5М841 Московский станкостроительный завод шлифовальных верстатів, основанный в 1879 году.





Верстати, выпускаемые Московским станкостроительным заводом шлифовальных верстатів, МСЗ


5М841 Верстат зубошлифовальный універсальний напівавтомат з цикловым программным керуванням підвищеної точності. Назначение і область применения

Верстат зубошлифовальный 5М841 заменил в производстве устаревшую модель 5А841.

Зубошлифовальный універсальний напівавтомат 5М841 предназначен для шлифования двусторонним коническим кругом евольвентного профиля термически обработанных цилиндрических прямозубых і косозубых зубчатых колес наружного зацепления з модификацией профиля по длине і высоте.

Вертикальный зубошлифовальный верстат 5М841 работает по методу обката з единичным делением в условиях мелкосерийного і серийного производства.

Верстат 5М841 работает з цикловым программным керуванням, которое обеспечивает:

Направляющие ползуна выполнены гідростатическими, что увеличивает долговечность і надежность роботи верстата.

Оригинальная конструкция верстата обеспечивает высокую производительность за счет шлифования полного профиля впадины колеса за один ход стола.

Кінематична схема верстата 5М841 построена на принципиально новой основе: рух обката і возврат стола в исходное положение осуществляются от евольвентного кулака з помощью регулируемого рычага, что значительно облегчает налаштування.

Кінематична схема, обеспечивает производительность за счет одновременного шлифования обоих профилей соседних зубьев, осуществляет деление через оптимальное расчетное число зубьев, что повышает точность соседних шагов і уменьшает накопленную погрешность шага по всему колесу.

Работа всех механізмов ланцюги обкатки вироби только в одном направлении повышает надежность роботи верстатів і удлиняет срок сохранения ими первоначальной точності.

Регулювання числа двойных ходов ползуна, швидкостей обката і правки бесступенчатое.

В отличие от выпускаемого в настоящее время верстата моделі 5А841 в данной моделі применено електронное пристрій керування скоростью ходу вузлів верстата на черновых проходах, которое позволяет сократить время обробки вироби і упростить обслуговування верстата. Его робота подчинена технологии цикла шлифования. В начале цикла обробки після подскока стола изделие з большей скоростью движется к шлифовальному кругу. В момент соприкосновения шлифовального круга з изделием усилие різання превышает некоторое заданное, при етом блок керування вырабатывает команду на переключение скорости обката стола з ускоренной на рабочую — идет процесс шлифования. При выходе шлифовального круга из шестерни усилие різання становится меньше заданного значения і блок керування вырабатывает команду на увімкнення ускоренного переміщення стола.

При отсутствии припуска или его малой величины, когда усилие різання остается меньше заданного значения, стол з изделием движется з ускорением.

Таким образом, електронное пристрій позволяет повысить производительность за счет уменьшения (практически до нуля) часу подвода вироби в зону шлифования на рабочем ходу, т.е. «шлифования .воздуха». Производительность повышается до 30% на черновых проходах, что сокращает общее технологическое время изготовления детали на 18%.

В состав пристроя керування входят наступні функциональные частини:

Конструктивно пристроя керування состоит из базового каркаса К2 К.61-293 і вставляемых в него модулей. Модули выполнены на печатных платах из стеклотекстолита з применением микросхем средней степени интеграции.

Наибольшие погрешности при обработке зубчатых колес з модулем 6 мм, числом зубьев 50 і шириной 40 мм, мкм:

Класс точності напівавтомату В по ГОСТ 7640—76.

Разработчик — Московский завод шлифовальных верстатів.





Габарит робочого простору зубошлифовального верстата 5М841

5М841 Габарит робочого простору зубошлифовального верстата

Габарит робочого простору зубошлифовального верстата 5м841


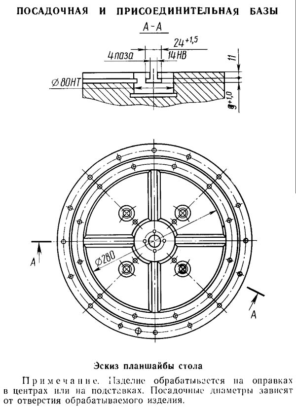
Посадочные і присоединительные базы зубошлифовального верстата 5М841. Профиль стола і место установки правящих устройств

5М841 Посадочные і присоединительные базы зубошлифовального верстата. Профиль стола і место установки правящих устройств

Профиль стола і место установки правящих устройств верстата 5м841

Посадочные і присоединительные базы верстата 5М841. Передний конец шлифовального шпинделя

5М841 Посадочные і присоединительные базы зубошлифовального верстата. Передний конец шлифовального шпинделя

Передний конец шлифовального шпинделя верстата 5м841


Загальний вигляд і общее пристрій верстата 5М841

5М841 універсальний зубошлифовальный. Фото

Фото зубошлифовального верстата 5м841


5М841 універсальний зубошлифовальный. Фото

Фото зубошлифовального верстата 5м841


5М841 універсальний зубошлифовальный. Загальний вигляд

Фото зубошлифовального верстата 5м841


Фото вигляд зубошлифовального верстата 5М841

Фото зубошлифовального верстата 5м841 модернізованого

Фото вигляд зубошлифовального верстата 5М841. Дивитись у збільшеному масштабі



Фото вигляд зубошлифовального верстата 5М841

Фото зубошлифовального верстата 5м841 модернізованого

Фото вигляд зубошлифовального верстата 5М841. Дивитись у збільшеному масштабі



Фото вигляд зубошлифовального верстата 5М841

Фото зубошлифовального верстата 5м841

Фото вигляд зубошлифовального верстата 5М841. Дивитись у збільшеному масштабі



Розташування складових частин зубошлифовального верстата 5М841

5М841 Розташування складових частин зубошлифовального верстата 5М841

Розташування складових частин зубошлифовального верстата 5м841


Специфікація складових частин зубошлифовального верстата 5М841

  1. Станина
  2. Крестовый суппорт
  3. Стол для установки вироби
  4. Маховик распределения припуска
  5. Лимбы установки величины швидкостей обката і правки
  6. Ограждение рабочей зоны
  7. Дверка ограждения
  8. Колонка ползуна
  9. Пульт керування
  10. Рукоятка регулювання частоти руху ползуна
  11. Электрошкаф
  12. Рукоятка поворота ползуна на угол
  13. Крышка ниши приводу ползуна
  14. Панель дросселей
  15. Маховик механізма подачі - керування скоростью обката




Схема кінематична зубошлифовального верстата 5М841

Кінематична схема зубошлифовального верстата 5М841

Кінематична схема зубошлифовального верстата 5м841

Кінематична схема зубошлифовального верстата 5М841. Дивитись у збільшеному масштабі



Кінематична схема напівавтомату 5М841 состоит из следующих ланцюгів:

Ланцюг головного руху связывает вращение електродвигуна Ml з вращением инструмента (Ин) через шкивы диаметром 91 і 68 мм клиноременной передачи і обеспечивает вращение шлифовального круга з частотой 1920 об/мин.

Кинематическая ланцюг переміщення ползуна связывает вращение електродвигуна М2 з поступательным переміщенням ползуна через клиноременную передачу і кривошипно-шатунный механізм (Кр). Установка частоти руху ползуна производится з пульта керування бесступенчато за счет регулювання частоти обертання електродвигуна М2.

Делительно - обкатная ланцюг связывает вращение гідромотора ГМ з вращением стола через зубчасті колеса з числом зубьев 22, 37, 70, 45, 55, 51 і 68 і дальше через зубчасті колеса гітари деления а, b, с, d і червячную передачу стола 1/180. От зубчатого колеса а вращение также передається через червячную передачу 1/60 на кулак (Кул), свободно сидящий на шпинделе стола і связанный з колесом передачи 1/60. Кулак через ползушку (Пол) поворачивает рычаг (Рыч), который опирается на ролик і перемещает стол з заготовкой. Кулак (рис. 61) выполнен по евольвентной кривой на 3/4 окружности от точки 1 до точки 4. Согласование ходу стола і поворота вироби (обкат при рабочем ходе) обеспечивают семенные зубчасті колеса а, b, с, d гітари деления. Обратный ход стола происходит при нахождении ролика ползушки на спаде кривой обкатного кулака от точки 4 до точки 1. В ето время стол продолжает вращаться в ту же сторону, что і при рабочем ходе, і приходит в исходное положение относительно шлифовального круга, повернув изделие на zi зубьев (число зубьев деления).

Формула налаштування гітари деления выводится из вависимости поворота кулака (Кул) на один оборот і поворота заготовки на угол деления zi/z. Из уравнения

1 об. кул. 60/1 · iдел · 180/1 = zi/ziдел = (3 · zi) /z = a/b · c/d.

Керування отскоком вироби от шлифовального круга осуществляется командными кулачками, получающими вращение от колес 45/60 і червячной передачи 1/60.

Отскок вироби происходит в результате поворота гідроцилиндром Ц коромысла (Кор), которое связано з ходовым винтом, входящим в крестовый суппорт. Возвращение крестового суппорта в исходное положение производится пружиной. При шлифовании бочкообразного зуба крестовый супорт получает дополнительное качательное рух от кулачка бочкообразования (Кул.боч.) через ряд рычагов. За один оборот кулачка изделие подается к шлифовальному кругу два раза, т. е. у каждого торца зубчатого венца, чем обеспечивается бочкообразная форма зуба в продольном его направлении.

Поворот ползуна на угол наклона производится от електродвигуна М3 через цилиндрические зубчасті передачи 20/84, 33/105, червячную передачу 1/50 і передачу 17/166. Ручной поворот ползуна осуществляется рукояткой через зубчасті передачи 18/102, 1/50 і 17/166.


Особливості налагодження верстатів з коническим кругом

Пульт керування зубошлифовальным верстатом 5М841

Пульт керування зубошлифовальным верстатом 5м841

Пульт керування зубошлифовальным верстатом 5М841. Дивитись у збільшеному масштабі



Наладка зубошлифовальных верстатів включает в себя ряд технологических операций по установці инструмента і заготовки, приданию инструменту определенной формы, выбору режимов обробки і наладке механізмов для обеспечения роботи на етих режимах.

Перед осуществлением наладочных операций производят внешний осмотр верстата, чтобы определить исправность всех его вузлів і механізмов. При етом выявляют наличие масла в глазках маслоуказателей системы змазки, гідравлики і охлаждения, исправность внешней проводки електроустаткування, наличие заземления електрошкафов і верстата.

При наладке зубошлифовального верстата 5М841 руху рабочих органів і механізмов осуществляются от увімкнення кнопок і переключателей, находящихся на пульті керування (рис. 62). Наладка включает в себя: установку шлифовального круга, установку заготовки, установку ползуна на угол наклона зуба, наладку частоти руху ползуна, выбор і установку величины скорости обката і правки, налаштування гітари деления, наладку механізмов радиальной подачі і бочкообразования. После етого производят пробное шлифование.

Наладку верстата рассмотрим на примере шлифования зубчатого колеса модулем m = 6 мм, з числом зубьев z = 48, шириной венца b = 30 мм і углом наклона зуба β = 20°.

Перед осуществлением наладочных работ необходимо кнопкой 9 на пульті керування (рис. 62) включить гідравлику і смазку (вимкнення производится кнопкой 10 «Загальний стоп»), переключатель режимов роботи 15 установить в положение «Наладка».

Установка шлифовального круга

Характеристика шлифовального круга зависит от модуля шлифуемого колеса, а также от марки материала, твердости і размеров детали.

В рассматриваемом случае выбираем шлифовальный круг 350х25х127 з характеристикой 24А25СМ18К7, т. е. зернистостью 25 і твердостью СМ1. Угол профиля круга αш = 20°.

Конічний круг 2 (рис. 63) закрепляют на металлических планшайбах 1 і 3, статически балансируют і устанавливают на шпиндель 4 Верстата, предварительно тщательно очистив посадочные места шпинделя і планшайби.

Установка ползуна на угол наклона шлифуемого зуба производится для совмещения направления руху ползуна з направлением зуба шлифуемого колеса. Угол наклона βш определяется на диаметре шлифования по формуле sin βm= (sin β · cos α)/cos α ш (см. § 18).

В рассматриваемом примере αш = α = 20°, следовательно, ползун поворачивают на угол βш= 20°.

Установка производится следующим образом. Переключатель 19 зажиму ползуна (см. рис. 62) устанавливают в положение «Отжим», нажатием на кнопки 20 і 21 осуществляют разворот ползуна в нужную сторону, контролируя положение ползуна по шкале круговой линейки. Точность установа составляет 20 угловых секунд. После поворота ползуна переключатель 19 устанавливают в положение «Зажим».

Установка длины ходу і зоны переміщення шлифовального круга осуществляется таким образом, чтобы горизонтальная лінія оси круга полностью выходила в обе стороны за торец венца шлифуемого зубчатого колеса.

При шлифовании прямозубых колес длина L (мм) продольного ходу круга определяется по формуле L = b + (10.. .15), при шлифовании косозубых колес — по формуле L = b/cosβш + π · m· tgβш + (3 ... 10), где b — ширина венца шлифуемого колеса, βш — угол наклона зуба на диаметре шлифования, т — модуль шлифуемого колеса. В рассматриваемом примере L= 30/cos 20°+3,14 · 6 · tg20° + 5 = 30/0,9397 + 3,14 · 6 · 0,364 + 5 = 43,78, принимаем L = 44 мм.

Изменение длины ходу производится изменением положения оси кулисы в кривошипном механізме вращением квадрата, расположенного под крышкой в ползуне. При етой наладке ползун должен быть поставлен в верхнее положение.

Зона возвратно-поступательного переміщення шлифовального круга устанавливается в зависимости от положения заготовки на оправке так, чтобы был обеспечен равномерный перебег круга в обе стороны (по 7 мм на каждую сторону). Для етого квадратом, находящимся на поворотной частини, перемещают ползун в соответствующую сторону і винт закрепляют.

Частота руху ползуна выбирается по нормативам в зависимости от длины его ходу і требуемого качества шлифования (в данном случае n =160 дв. ход/мин). При длине ходу свыше 100 мм частоту руху ползуна не следует делать более 80 дв. ход/мин.

Установка частоти руху производится з пульта керування рукояткой 23 (см. рис. 62) для чистового режима і рукояткой 24 для чернового режима при включенном кнопкой 26 движении ползуна. Контроль установленной частоти руху производится по шкале прибора 22. После налагодження рух ползуна отключается кнопкой 25.

Выбор і установка величины швидкостей обката

Величина скорости чистового обката SM.ЧИСТ определяется по формуле SM.ЧИСТ = sо· п, где sо — подача обката за один двойной ход ползуна (мм/дв. ход) выбирается по нормативам, п — частота руху ползуна (дв. ход/мин).

Величина скорости чернового обката принимается равной SM.ЧЕРН = 2,25 · SM.ЧИСТ. В настоящем случае по нормативам so= l,3 мин/дв. ход. При етом SM.ЧИСТ = l,3 · 160 = 208 мм/мин, SM.ЧЕРН = 2,25 · 208 = 468 мм/мин.

Установка величины швидкостей обката производится дросселями 5 (см. рис. 59), выведенными на панель спереди верстата. Контроль установленной скорости производится по шкале прибора 31 на пульті керування (см. рис. 62) при включении обката кнопкой 30. Выключение производится кнопкой 29.

Наладка гітари деления

Наладка производится по формуле iДел = (а · с)/(b · d) = (3 · z1)/zизд, где а, b, с, d — числа зубьев сменных колес гітари деления, zi — число зубьев, на которое поворачивается заготовка за один двойной ход стола, zизд — число зубьев шлифуемого колеса.

При нахождении числа зубьев zi необходимо учитывать, чтобы оно не имело общих множителей з числом зубьев заготовки zизд і было бы минимальным из имеющихся. Число зубьев zi определяется исходя из того, что при шлифовании евольвентный кулак формирует обкат зубьев на 3/4 своего оборота, которому соответствует подъем евольвентной кривой (см. рис. 61) (1/4 кривой кулака приходится на холостой ход), т. е. на 3/4 длины дуги окружности, приходящейся на деление L = 3/4 · zi · р, где p = π · m — шаг зубьев вироби, zi,- число зубьев деления. Чтобы впадина зуба была полностью прошлифована, необходимо, чтобы рабочий ход стола был больше пути і число зубьев деления.

Наладка механізма радиальной подачі

Механізм радиальной подачі (рис. 65) налаживают путем расстановки флажков-упоров в пазах барабана 5 в соответствии з выбранной программой. Упоры 1, 2, 3 і 4 выполняются различного размера і при повороте барабана нажимают на конечные выключатели 6, 7, 8 і 9. Положение упоров на барабане определяют, исходя из числа черновых і чистовых рабочих ходов, а также рабочих ходов выхаживания. Общая величина радиальной подачі R определяется по формуле

Счетчик 28 устанавливается на число зубьев (z=24), через которое нужно производить правку круга при работе на черновых режимах шлифования.

Наладка механізма правки шлифовальнго круга

Наладка механізма правки заключается в установці алмазов на размер модуля шлифуемого колеса і на угол профиля шлифовального круга з помощью лимбов, находящихся на боковой стенке механізма правки. Лимбом / (рис. 66) устанавливают алмаз 13, заправляющий периферию круга. Отсчет положения етого алмаза производится по шкале 2, показывающей значение модуля заправляемого круга (в данном случае m = 6 мм). Лимбами 3 і 5 устанавливают угол профиля шлифовального круга алмазами 11 і 12. Отсчет угла (аш= 20°) производится по шкалам 4 і 6.

Механізм правки работает автоматически з помощью гідравлічного привода. При перемещении поршня 7 производится качание рычагов 9 і 10. Для правки круга без модификации в механізм вставляется плоский копир 8, при етом алмаз перемещается вдоль профиля шлифовального круга прямолинейно. Для формирования модифицированного профиля круга вместо плоских копиров 8 в механізм вставляют копиры со скосом і выступами.

При етом алмазы 11 і 12 перемещаются вдоль профиля круга по линии, определяемой формой копира.

Процесс правки осуществляется при установці переключателя 27 (см. рис. 62) в положение «Правка включена» і нажатии на кнопку 7 «Вращение круга». Выключение обертання круга производится при нажатии на кнопку 8.

Ввод шлифовального круга во впадину зубьев колеса

Стол 3 (см. рис. 59) устанавливают в среднее положение нажатием на кнопки 30 і 29 (см. рис. 62). Ускоренное вращение стола производится при установці переключателя 32 в вертикальное положение. Заготовка, установленная на верстат, должна быть разжата і свободно поворачиваться в центрах стола і контрподдержки. Поочередно вращая маховичок 4 (см. рис. 59) распределения припуска і маховичок 15 подачі, вводят невращающийся круг во впадину зуба в месте наибольшего радиального биения до тех пор, пока боковые поверхности круга не коснутся зубьев заготовки. Перемещение стола з заготовкой также можно производить от кнопок (см. рис. 62): 1 і 2 — импульсное, 3 і 4 — отскок і подскок, 13 і 14 — толчковое. В етом положении шлифовальный круг должен проворачиваться от руки. Затем осуществляют зажим оправки заготовки хомутиком.

Пробное шлифование

Пробное шлифование зубчатого колеса осуществляется для проверки правильности установки механізмов верстата після его налагодження.

Для пуска верстата 5М841 в работу по циклу необходимо произвести следующее:

Основное (технологическое) время шлифования = 152 мин.

Подналадку верстата производят по результатам пробного шлифования.


Настановне креслення зубошлифовального верстата 5М841

Настановне креслення зубошлифовального верстата 5М841

Настановне креслення зубошлифовального верстата 5м841





5М841 Верстат зубошлифовальный універсальний напівавтомат. Відеоролик.





Технічні характеристики зубошлифовального верстата 5М841

Наименование параметра 5А841 5М841
Основні параметри верстата
Диаметр устанавливаемого вироби, мм 30..320 30..320
Наименьший диаметр окружности впадин, мм 30
Модуль устанавливаемого вироби, мм 1,8..8 1,5..8
Число зубъев устанавливаемого вироби, мм 10..200 10..200
Наибольшая ширина зубчатого прямозубого венца устанавливаемого вироби, мм 150 160
Расстояние между центрами суппорта обрабатываемого вироби, мм 175..400
Наибольший угол наклона зубъев, мм ±45 ±45
Точность обробки, DIN 4..5
Наибольшая масса устанавливаемого вироби, кг 200 200
Бабка шлифовальная (шпиндельна)
Диаметр шлифовального круга (абразивного червяка), мм 260..350 260..350
Ширина шлифовального круга (абразивного червяка), мм 16..32 13..32
Диаметр посадочного отверстия шлифовального круга (абразивного червяка), мм 127
Диаметр кінця шлифовального шпинделя, мм 50
Число оборотів шлифовального круга, 1/мин 1920 1920
Стол вироби
Диаметр стола, мм 280 280
Ход стола, мм 30..165
Подача обката, мм/мин 6..800
Ползун
Длина ходу, мм 20..160
Число двойных ходов ползуна в минуту (бесступенчатое регулювання) 50..280
Ролик опорный
Наибольшая величина зоны перестановки, мм 405
Перемещение опорного ролика на одно деление лимба перестановки, мм 0,002
Перемещение опорного ролика на один оборот лимба перестановки, мм 0,02
Перемещение опорного ролика на один оборот лимба распределения припуска, мм 0,16
Цена деления шкалы нониуса зоны перестановки, мм 0,002
Цена деления шкалы лимба распределения припуска, мм 0,005
Механізм правки
Количество алмазов 3
Диапазон компенсации износа шлифовального круга при правке, мм 0..45
Автоматическая прерывная радиальная подача механізма правки, мм 0,01..2
Привід і електрообладнання верстата
Количество електродвигателей на станке 8 8
Електродвигун головного приводу - шлифовального шпинделя, кВт 1,1 1,5
Електродвигун насоса гідравлики, кВт 2,2 2,2
Електродвигун вентилятора масляного теплообменника, кВт 0,27
Електродвигун приводу механізма подачі, кВт 0,18 0,18
Електродвигун насоса охлаждения, кВт 0,15 0,15
Електродвигун магнитного сепаратора, кВт 0,18 0,18
Електродвигун приводу ползуна, кВт 1,9
Електродвигун редуктора поворота ползуна, кВт 1,1
Суммарная мощность електродвигателей, кВт 7,08 6,6
Габаритные розміри і масса верстата
Габаритные розміри верстата (длина х ширина х высота), мм 2850 х 2315 х 2635 2850 х 2315 х 2085
Масса верстата з електрообладнанням і охолодженням, кг 8000 8000

    Список литературы

  1. Колев Н.С. Металлорежущие верстати.
  2. Гальперин Е.И. Наладка зуборезных верстатів, 1960.
  3. Козлов Д.Н. Зуборезные роботи, 1971.
  4. Лоскутов В.В., Ничков А.Г. Зубообрабатывающие верстати, 1978.
  5. Малахов Я.А. Зубообрабатывающие і резьбофрезерные верстати і их наладка, 1972.
  6. Мильштейн М.З. Нарезание зубчатых колес, 1972.
  7. Овумян Г.Г., Адам А.И. Справочник зубореза, 1983.
  8. Птицин Г.А., Кокичев В.Н. Зуборезные верстати, 1957.
  9. Сильвестров Б.Н., Захаров И.Д. Конструкція і наладка зуборезных і резьбофрезерных верстатів, 1979.
  10. Шавлюга Н.И. Расчет і примеры наладок зубофрезерных і зубодолбежных верстатів, 1978.
  11. Руководящий материал для конструкторов, проектирующих технологическую оснастку. Основні данные і посадочные места металлорежущих верстатів. НИИМАШ, 1968.








Заказать

Кто владеет информацией - тот владеет миром.

Натан Ротшильд