metalinstryment.com
Довідник по металорізальних верстатів та пресовому обладнанні

ФС-250 Верстат фрезерный широкоуніверсальний
схеми, опис, характеристики

Загальний вигляд  фрезерного верстата ФС-250 широкоуніверсального







Відомості про виробника широкоуніверсального фрезерного верстата ФС-250

Верстат фрезерный широкоуніверсальний моделі ФС-250 выпускал Владимирский станкостроительный завод «Техника» (Владимирский завод прецизійного оборудования «Техника»), основанный в 1935 году.

В настоящее время завод производит фрезерные верстати з УЦИ і ЧПУ под наименованием ФС-250, ФС-300, ФС-300-01, ФС-300-02 CNC, ФС-400 і ФСМ-250/676.





Верстати, выпускаемые Владимирским станкостроительным заводом Техника


ФС-250 Верстат фрезерный широкоуніверсальний. Назначение і область применения

Широкоуніверсальний инструментальный консольно-фрезерный верстат ФС-250 является аналогом фрезерного верстата ОФ-55.

Фрезерный верстат моделі ФС250 предназначен для фрезерування деталей цилиндрическими, дисковыми і фасонными фрезами при помощи горизонтального шпинделя, і торцовыми, кінцівыми і шпоночными фрезами при помощи поворотного вертикального шпинделя, который, при необходимости, може быть повернут под углом.

Верстат ФС-250 предназначен, в основном, для высокоточной чистовой обробки фрезерованием поверхностей деталей размером не более 250 х 250 мм.

Особливості конструкції і принцип роботи верстата

Обрабатываемая деталь може быть установлена на основном столе з вертикальной рабочей плоскостью или на угловом столе з горизонтальной рабочей плоскостью. Для обробки наклонных поверхностей деталь може устанавливаться на универсальном столе.

Для обробки деталей, требующих деления, могут быть использованы круглый стол либо делительная головка.

К верстату прилагается удобный для пользования инструментальный шкаф, а также комплект пристосувань і инструмента.

Технологические возможности верстата ФС-250 могут быть значительно расширены применением приладдя і пристосувань, поставляемых за особую плату.

На станке ФС-250 можно выполнять ряд фрезерных і расточных работ з високою точностью, которая може быть достигнута, если верстат установлен в помещении з постоянной температурой 20±2°С і влажностью 65±5%, если вблизи верстата нет источников тепла і вибрации. На станке можно выполнять, также, сверление і рассверливание, долбление, центрование, цекование, зенкерование, развертывание, растачивание.

Наличие двух шпинделей горизонтального і поворотного вертикального, а также большого количества приладдя к верстату, делает его широкоуниверсальным і удобным для роботи в инструментальных цехах машиностроительных заводов при изготовлении пристосувань, инструмента, рельефных штампов і прочих изделий.

Широкий диапазон оборотів шпинделя і подач, наличие механических подач і быстрых перемещений обеспечивают економичную обработку различных деталей в оптимальных режимах.

Верстат ФС250 применяется в единичном і мелкосерийном производстве в инструментальных і механических цехах машиностроительных предприятий.

Преимущества использования широкоуніверсального фрезерного верстата ФС250:


Фрезерный широкоуніверсальний верстат ФС-250 выпускается в семи исполнениях:

Серия верстатів ФС 250 включает в себя:

  1. ФС-250 - 10384.000.00.00.000
  2. ФС-250/300 - 10384.000.00.00.000-05
  3. ФС-250/400 - 10384.000.00.00.000-06
  4. ФС-250-01 (ФС-250.01) - 10384.000.00.00.000-01
  5. ФС-250-02 (ФС-250.02) - 10384.000.00.00.000-02
  6. ФС-250-03 (ФС-250.03) - 10384.000.00.00.000-03
  7. ФС-250-04 (ФС-250.04) - 10384.000.00.00.000-04

ФС-250 Аналоги універсального фрезерного верстата





Габаритные розміри робочого простору фрезерного верстата ФС-250. Вертикальная фрезерна головка

Габаритные розміри робочого простору фрезерного верстата ФС-250. Вертикальная фрезерна  головка

Габаритные розміри робочого простору фрезерного верстата фс-250


Присоединительные базы верстата ФС-250

Присоединительные базы верстата ФС-250 (ФС250). Горизонтальный стол

Стол горизонтальный фрезерного верстата фс-250


Фото широкоуніверсального фрезерного верстата ФС-250

Загальний вигляд  широкоуніверсального фрезерного верстата ФС-250

Фото широкоуніверсального фрезерного верстата фс-250

Фото широкоуніверсального фрезерного верстата ФС-250. Скачать в увеличенном масштабе



Загальний вигляд  широкоуніверсального фрезерного верстата ФС-250

Фото широкоуніверсального фрезерного верстата фс-250

Фото широкоуніверсального фрезерного верстата ФС-250. Скачать в увеличенном масштабе



Загальний вигляд  широкоуніверсального фрезерного верстата ФС-250

Фото широкоуніверсального фрезерного верстата фс-250

Фото широкоуніверсального фрезерного верстата ФС-250. Скачать в увеличенном масштабе



Загальний вигляд  широкоуніверсального фрезерного верстата ФС-250

Фото широкоуніверсального фрезерного верстата фс-250


Загальний вигляд  широкоуніверсального фрезерного верстата ФС-250

Фото широкоуніверсального фрезерного верстата фс-250


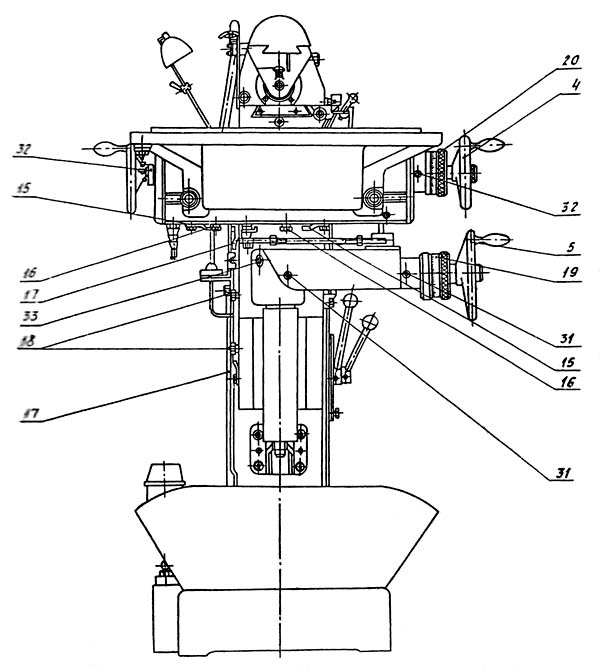
Розташування органів керування фрезерным верстатом ФС-250

Розташування органів керування консольно-фрезерным верстатом ФС-250

Розташування органів керування фрезерным верстатом фс-250

Список основних вузлів фрезерного верстата ФС-250


Розташування органів керування консольно-фрезерным верстатом ФС-250

Розташування органів керування консольно-фрезерным верстатом ФС-250

Розташування органів керування консольно-фрезерным верстатом фс-250

Список органів керування консольно-фрезерным верстатом ФС-250

  1. Рукоятка керування коробкой швидкостей
  2. Рукоятка керування коробкой подач
  3. Рукоятка реверсирования переміщення суппорта
  4. Маховичок ручной подачі стола в горизонтальной плоскости
  5. Маховичок ручной подачі стола в вертикальной плоскости
  6. Маховичок ручной подачі бабки горизонтального шпинделя
  7. Маховичок налаштування увімкнення коробки швидкостей
  8. Квадрат для рукоятки ручной подачі вертикального шпинделя
  9. Рукоятка зажиму бабки
  10. Рукоятка зажиму стола на горизонтальных направляючих суппорта
  11. Рукоятка зажиму суппорта на вертикальних направляючих станины
  12. Кнопка "СТОП", пакетный выключатель
  13. Кнопка "ПУСК" на 1000 r/min
  14. Кнопка "ПУСК" на 1500 r/min
  1. Выключатель насоса охлаждения




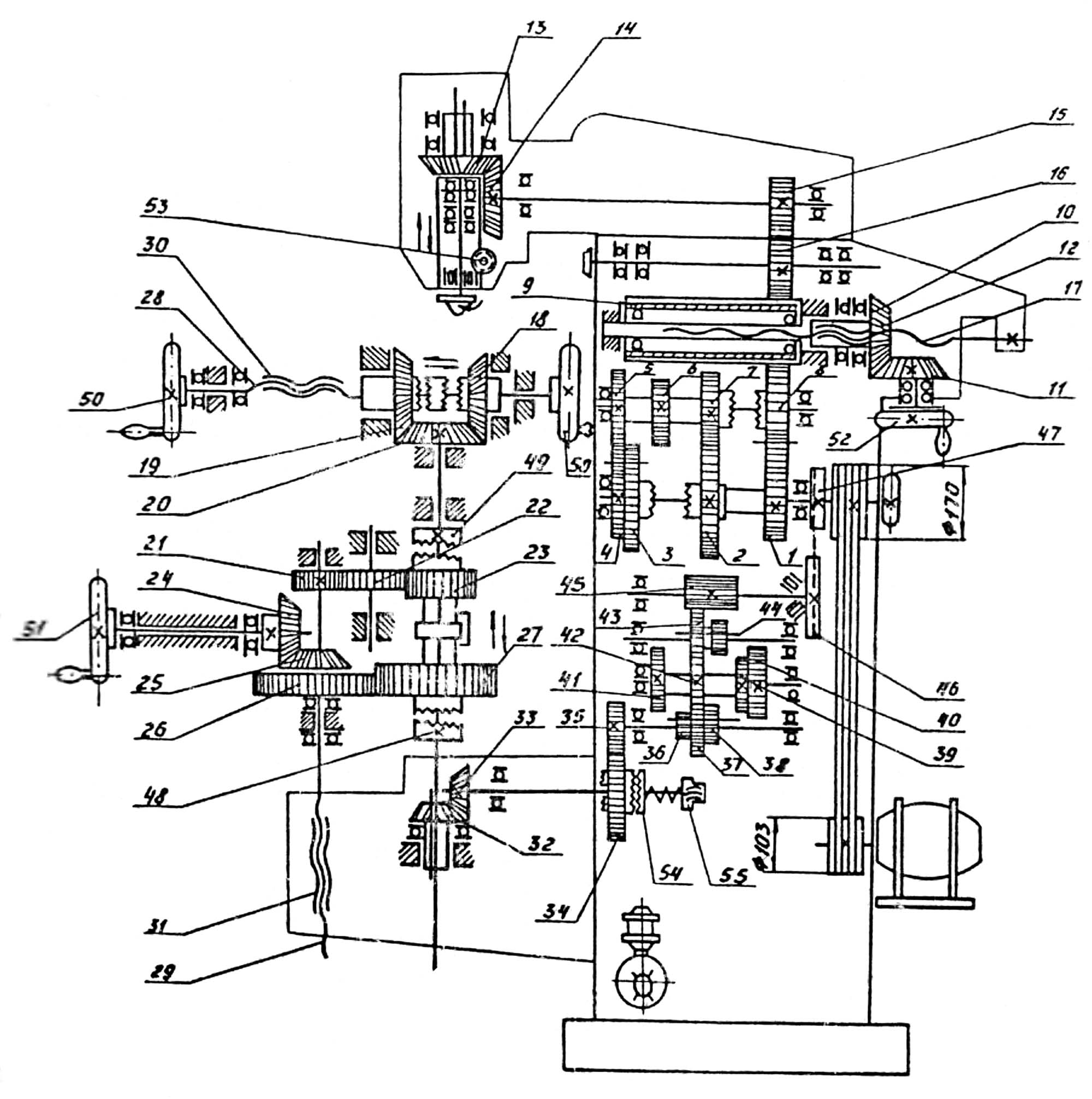
Схема кінематична універсального фрезерного верстата ФС-250

Схема кінематична універсального фрезерного верстата ФС-250

Кінематична схема універсального фрезерного верстата фс-250

ФС-250 кінематична схема універсального фрезерного верстата. Скачать в увеличенном масштабе



Опис кінематичної схеми фрезерного верстата ФС-250

Привід верстата осуществляется от двухскоростного електродвигуна типа 4АМ100 S6/4Y3 мощностью N=1,8/ 2,1 кВт і частотой обертання 1000/1500 об/мин.

Рух от електродвигуна передається клиноременной передачей на приемный вал коробки швидкостей і далее в двух направлениях:

  1. на горизонтальный і вертикальний шпиндель;
  2. на коробку подач і суппорт, несущий вертикальний стол.

Различные 12 значений частот обертання горизонтального і вертикального шпинделей получаются при следующих положениях коробки швидкостей:

  1. 4-5-7-2-1-8-9-16 - 42/72 об/мин
  2. 3-6-7-2-1-8-9-16 - 112/170 об/мин
  3. 1-8-9-16 (муфты шестерен 2-3 сцеплены) - 213/310 об/мин
  4. 4-5-8-9-16 (муфты шестерен 7-8 сцеплены) - 310/4.80 об/мин
  5. 3-6-8-9-16 (муфты шестерен 7-8 сцеплены) - 745/1130 об/мин
  6. 2-7-8-9-16 (муфты шестерен 7-8 і 2-3 сцеплены) - 1410/2150 об/мин

Вертикальный шпиндель получает вращение от шестерен 16 горизонтального шпинделя через шестерни 1 5, 14, 13. Рух на коробку подач осуществляется втулочно-роликовой цепной передачей з ведущей звездочкой 47, сидящей на приемном валу коробки швидкостей, і приемной - 46 входного вала коробки подач.

Различные подачі, "передаваемые на супорт і вертикальний стол, получаются при следующих положениях шестерен коробки дач:

  1. 45-43-44-40-42-37-35-34-33-32-20-19(18) - 10/15 мм/мин
  2. 45-43-44-40-39-38-35-34-33-32-20-19(18) - 27/44 мм/мин
  3. 45-43-42-37-35-34-33-32-20-19(18) - 37/55 мм/мин
  4. 45-43-44-40-41-36-35-34-33-32-20-19(18) - 72/110 мм/мин
  5. 45-43-42-39-38-35-34-33-32-20-19(18) - 100/150 мм/мин
  6. 45-43-42-41-36-35-34-33-32-20-19(18) - 250/380 мм/мин

При включении шестерни 18 направление подачі меняется.

Рух на супорт передається от ходового валика на ходовой винт 29 через шестерни 27-26 (при етом полумуфта шестерни 27 сцеплена з полумуфтой 48).

Для переміщення суппорта в обратную сторону рух от ходового валика передається через шестерни 23-22-21 на ходовой винт 29 (при етом полумуфта шестерни 23 сцеплена з полумуфтой 49).

Ручная подача вертикального стола осуществляется маховичком суппорта - маховичком 51, бабки горизонтального шпинделя -маховичком 52.

Перемещение пиноли вертикального шпинделя в корпусе вертикальной головки производится специальным ключом і квадратом 53 валика - шестерни, находящемся в зацеплении з рейкой пиноли.

Механізм подач защищается от поломок предохранительным пристрійм шарикового типа (полумуфта шестерни 34 і полумуфта 54) регулируемым гайкой 55.

Предохранительная муфта должна обеспечивать перемещение суппорта з установленным горизонтальным столом, нагруженным грузом 800Н, на ускоренной подаче з поочерёдно включенными рабочими подачами 10 і 380 мм/мин.

Обеспечение надежности дії защитных устройств обуславливается тем, что предохранительная муфта должна срабатывать при создании сопротивления перемещению силой 50Н, приложенной к рукоятке маховичка ручной подачі стола в вертикальной плоскости на подаче 10 мм/мин.


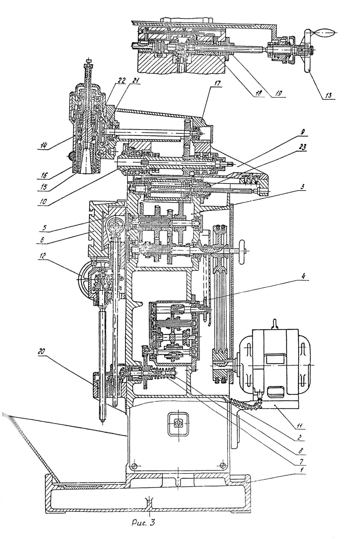
Опис основних вузлів фрезерного верстата ФС-250

Універсальный фрезерный верстат фс-250

Універсальный фрезерный верстат фс-250

Універсальный фрезерный верстат фс-250. Скачать в увеличенном масштабе



Суппорт робочого стола

Суппорт служит для продольного і вертикального переміщення обрабатываемых деталей как вручную, так і механическим путем.

Ручная подача осуществляется непосредственно маховичками 4 і 5. Механическая подача осуществляется от вала 7 (рис. 3), получающего вращение от коробки подач.

Величина механической подачі устанавливается з помощью рукояток 2, а керування суппортом і вертикальным столом производится рукояткой 3.

Для автоматичного отключения поздовжньої механической подачі предусмотрены конечные упоры 15 і передвижные упоры 16, з помощью которых можно регулировать величину ходу вертикального стола.

Для автоматичного отключения вертикальной подачі также предусмотрены конечные упоры 17 і передвижные упоры 18, з помощью которых можно регулировать величину ходу суппорта.

Точное перемещение суппорта і вертикального стола производится соответственно з помощью лимбов 19 і 20. Для особо точных работ используется индикатор ИЧ02 кл.1 ГОСТ 577 і различного типа кінцівые меры.

При появлении осьового люфта в маточной гайке 18 его необходимо компенсировать поворотом специальной гайки 19 (рис. 3).

Горизонтальный шпиндель

В корпусе бабки 9 смонтирован на підшипниках качения горизонтальный шпиндель 10, который имеет 12 частот обертання в зависимости от положения рукояток керування (Табл. 3).

Передней опорой шпинделя служит двухрядный роликовый подшипник 4-3182110К з регулируемым радиальным зазором. Задней опорой шпинделя є 2 радиальных шарикопідшипника 5-207К5.

Осевая нагрузка воспринимается двумя упорными підшипниками 5-8111.

Поперечная подача горизонтальной бабки осуществляется вручную маховичком 6 (рис. 1).

Крепление бабки в направляючих станины производится рукояткой 9 (рис. 1).

Коробка подач

В нижней внутренней частини станины помещена коробка подач, которая позволяет сообщать суппорту 5 і вертикальному столу 6 по 12 различных подач в зависимости от положения рукояток (табл. 4). На валу 7 смонтировано предохранительное пристрій шарикового типа, которое предохраняет ланцюг подач от перегрузки, Регулювання поджатия пружины предохранительного пристроя производится з помощью гайки 8.





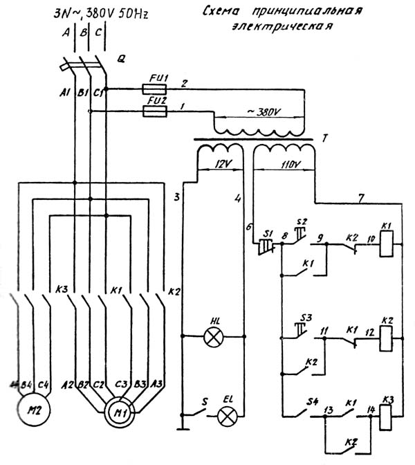
Електроустаткування. Схема електрична фрезерного верстата ФС-250

Схема електрична фрезерного верстата ФС-250

Електрична схема універсального фрезерного верстата фс-250

Список елементів к схеме електрической фрезерного верстата ФС-250

Питание електроустаткування верстата осуществляется от сети 3N~, 380 В, 50 Гц.

На станке установлены:

  1. Електродвигун приводу шпинделя типа 4АМ100 S6/4Y3; 1,8/2,1 кВт, 380 В, 1000/1500 об/мин;
  2. Электронасос для охлаждения инструмента типа П-25М; 0,125 кВт, 380 В, 2800 об/мин;
  3. Пусковая аппаратура керування;
  4. Сигнальная і предохранительная аппаратура.

Электросхемой установлено:

  1. защита електродвигателей от перегрузки і токов короткого замыкания з помощью автоматичного выключателя, номинальный ток которого 8 А, ток отсечки 12 х 8А;
  2. кнопкове керування електродвигуном шпинделя;
  3. увімкнення електродвигуна насоса выключателем типа Т1;
  4. ланцюг керування на напряжение 110 V от понижающего трансформатора;
  5. местное освещение і лампа сигнализации з напряжением 12 В понижающего трансформатора;
  6. защита апаратури керування і понижающего трансформатора от токов короткого замыкания предохранителями.

Панель електроустаткування расположена в специальной нише в жней частини верстата.

Работа електросхеми

Питание верстата от цеховой електросети производится через вводный автоматический выключатель Q, при включении которого загорается сигнальная лампа HL.

Для пуска верстата в работу необходимо нажать кнопку S2 (пуск з частотой обертання електродвигуна 1000 об/мин) или кнопку S3 (пуск з частотой обертання електродвигуна 1500 об/мин), расположенные на пульті керування в верхней частини станины.

Магнитные пускатели К1 і К2 включают електродвигатель шпинделя Ml. После етого, в случае необходимости, при установці тумблера S4 в положение "ВКЛЮЧЕНО" магнитный пускатель КЗ включает електродвигатель насоса М2 для подачі СОЖ.

Работа електронасоса при выключенном електродвигателе шпинделя невозможна, так как его магнитный пускатель включается через замыкающие контакты пускачів К1 і К2 приводу шпинделя. Відключення електродвигателей верстата производится кнопкой "СТОП" (S1).

Лампа местного освещения EL і сигнальная лампа HL питаются от понижающего трансформатора Т.

Трансформатор защищен от токов короткого замыкания предохранителями FU1 - FU2 на 2 А.

При перегрузках двигуна Ml і коротких замыканиях автоматический выключатель Q отключает верстат о сети.




ФС-250 Верстат фрезерный широкоуніверсальний. Відеоролик.




Технічні характеристики фрезерного верстата ФС-250

Наименование параметра ФС-250 СФ-250
Основні параметри верстата
Класс точності по ГОСТ 8-82 Н П
Розміри горизонтального (углового) стола, мм 250 х 620 245 х 630
Розміри вертикального стола, мм 195 х 550 250 х 630
Максимальная масса обрабатываемой детали, кг
Расстояние от оси горизонтального шпинделя до рабочей поверхности горизонтального (углового) стола, мм 70..360 60..360
Расстояние от торца вертикального шпинделя до рабочей поверхности горизонтального стола, мм 0..110 0..330
Наибольший вылет оси вертикального шпинделя, мм
Наибольший продольный ход стола (X), мм 250 250
Наибольший поперечний ход шпиндельной бабки (Y), мм 150 200
Наибольший вертикальний ход суппорта стола (Z), мм 290 300
Наибольший диаметр растачивания, мм 100
Наибольший диаметр сверления, мм 15
Горизонтальный шпиндель
Частота обертання горизонтального шпинделя, об/мин 42..2150 45..2000
Количество швидкостей горизонтального шпинделя 12 12
Конус горизонтального шпинделя 4АТ6 Морзе 4
Наибольший допустимый крутящий момент на горизонтальном шпинделе, Нм
Горизонтальная шпиндельна бабка
Перемещение бабки на одно деление лимба, мм 0,025 0,02
Количество подач горизонтальной шпиндельной бабки нет 9
Пределы подач горизонтальной шпиндельной бабки, мм/мин нет 10..400
Наибольшее усилие подач шпиндельной бабки, Н
Вертикальная шпиндельна головка
Частота обертання вертикального шпинделя, об/мин 55..2450 45..2000
Количество швидкостей вертикального шпинделя 12 12
Наибольшее осевое перемещение вертикального шпинделя, мм нет
Наибольший угол поворота вертикальной головки в вертикальной плоскости, градус ±90 ±90
Конус горизонтального і вертикального шпинделей 4АТ6 Морзе 4
Наибольший допустимый крутящий момент на вертикальном шпинделе, Нм 120
Стол вертикальний. Подачи
Пределы продольных і вертикальних подач стола (X, Z), мм/мин 10..250/ 15..380 10..400
Ускоренный ход стола, мм/мин 800
Перемещение стола продольное на одно деление лимба, мм 0,025 0,02
Перемещение суппорта стола вертикальное на одно деление лимба, мм 0,025 0,02
Количество подач стола 12 9
Наибольшее усилие подач стола, Н
Електроустаткування і привід верстата
Електродвигун головного привода, кВт 1,8/ 2,1 2- скоростной 2,2
Електродвигун приводу насоса охлаждения, кВт 0,12 0,12
Габарит і масса верстата
Габарити верстата (длина х ширина х высота), мм 1150 х 1100 х 1600 1120 х 1280 х 1690
Масса верстата, кг 670 850

    Список литературы:

  1. Аврутин С.В. Основы фрезерного дела, 1962
  2. Аврутин С.В. Фрезерне дело, 1963
  3. Ачеркан Н.С. Металлорежущие верстати, Том 1, 1965
  4. Барбашов Ф.А. Фрезерне дело 1973, с.141
  5. Барбашов Ф.А. Фрезерные роботи (Профтехобразование), 1986
  6. Блюмберг В.А. Справочник фрезеровщика, 1984
  7. Григорьев С.П. Практика координатно-расточных і фрезерных работ, 1980
  8. Копылов Р.Б. Работа на фрезерных верстатах,1971
  9. Косовский В.Л. Справочник молодого фрезеровщика, 1992, с.180
  10. Кувшинский В.В. Фрезерование,1977
  11. Ничков А.Г. Фрезерные верстати (Библиотека станочника), 1977
  12. Пикус М.Ю. Справочник слесаря по ремонту металлорежущих верстатів, 1987
  13. Плотицын В.Г. Расчёты настроек і наладок фрезерных верстатів, 1969
  14. Плотицын В.Г. Наладка фрезерных верстатів,1975
  15. Рябов С.А. Современные фрезерные верстати і их оснастка, 2006
  16. Схиртладзе А.Г., Новиков В.Ю. Технологическое обладнання машиностроительных производств, 1980
  17. Тепинкичиев В.К. Металлорежущие верстати, 1973
  18. Чернов Н.Н. Металлорежущие верстати, 1988
  19. Френкель С.Ш. Справочник молодого фрезеровщика (3-е изд.) (Профтехобразование), 1978









Заказать