metalinstryment.com
Довідник по металорізальних верстатів та пресовому обладнанні

ОФ-55 Верстат фрезерный універсальний
схеми, опис, характеристики

ОФ-55 Верстат фрезерный універсальний







Відомості про виробника універсального фрезерного верстата ОФ-55

Верстат універсальний фрезерный моделі ОФ-55 выпускал Владимирский станкостроительный завод «Техника» ВСЗ (Владимирский завод прецизійного оборудования «Техника»), основанный в 1935 году.

В настоящее время завод производит фрезерные верстати з УЦИ і ЧПУ под наименованием ФС-300, ФС-300-01, ФС-300-02 CNC і ФС-400.





Верстати, выпускаемые Владимирским станкостроительным заводом Техника


ОФ-55 Назначение і область применения універсального фрезерного верстата

ОФ-55 - первый універсальний инструментальный фрезерный верстат підвищеної точності разработан і запущен в производство в 1967 году - аналог немецкого фрезерного верстата FP-1.

Фрезерный верстат моделі ОФ-55 (ОФ55) предназначен для фрезерування деталей цилиндрическими, дисковыми і фасонными фрезами при помощи горизонтального шпинделя, і торцовыми, кінцівыми і шпоночными фрезами при помощи поворотного вертикального шпинделя, который, при необходимости, може быть повернут под углом.

Особливості конструкції і принцип роботи верстата

Верстат ОФ-55 имеет две механические подачі - вертикальную (рух суппорта по направляющим станины) і продольную (рух стола по направляющим суппорта). Поперечная подача (рух шпиндельной бабки) - ручная.

Електродвигун двухскоростной на 1000 об/мин і 1500 об/мин, мощностью 1,6/2,3 кВт 380 В.

Верстат ОФ-55 имеет 12 швидкостей обертання горизонтального і вертикального шпинделей і 12 подач стола в вертикальном і продольном направлениях.

Верстат ОФ-55 имеет 12 швидкостей обертання горизонтального шпинделя: 42/72, 112/170, 213/310, 310/480, 745/1130, 1410/2150 об/мин.

Верстат ОФ-55 имеет 12 подач стола в продольном і вертикальном направлениях: 10/15, 27/44, 37/55, 72/110, 160/150, 250/380 мм/мин.

Обрабатываемая деталь може быть установлена на основном столе з вертикальной рабочей плоскостью или на угловом столе з горизонтальной рабочей плоскостью. Для обробки наклонных поверхностей деталь може устанавливаться на универсальном столе.

Для обробки деталей, требующих деления, могут быть использованы круглый стол либо делительная головка.

К верстату прилагается удобный для пользования инструментальный шкаф, а также комплект пристосувань і инструмента.

Технологические возможности верстата ОФ-55 могут быть значительно расширены применением приладдя і пристосувань, поставляемых за особую плату.

На станке можно выполнять ряд фрезерных і расточных работ з високою точностью, которая може быть достигнута, если верстат установлен в помещении з постоянной температурой 20±2°С і влажностью 65±5%, если вблизи верстата нет источников тепла і вибрации. На станке можно выполнять, также, сверление і рассверливание, долбление, центрование, цекование, зенкерование, развертывание, растачивание.

Наличие двух шпинделей горизонтального і поворотного вертикального, а также большого количества приладдя к верстату, делает его широкоуниверсальным і удобным для роботи в инструментальных цехах машиностроительных заводов при изготовлении пристосувань, инструмента, рельефных штампов і прочих изделий.

Широкий диапазон оборотів шпинделя і подач, наличие механических подач і быстрых перемещений обеспечивают економичную обработку различных деталей в оптимальных режимах.

Верстат применяется в единичном і мелкосерийном производстве в инструментальных і механических цехах машиностроительных предприятий.

Класс точності верстата П.

ОФ-55 Преимущества использования універсального фрезерного верстата:


ФС-250 Аналоги універсального фрезерного верстата



Габаритные розміри робочого простору і расположение органів керування верстата ОФ-55

Габаритные розміри робочого простору і расположение органів керування верстата ОФ-55

Габаритные розміри робочого простору фрезерного верстата оф-55

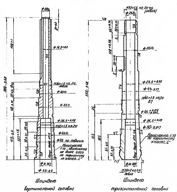
Присоединительные базы верстата ОФ-55. Горизонтальный шпиндель і шпиндель вертикальной головки

Присоединительные базы верстата ОФ-55 (оф55). Горизонтальный шпиндель і шпиндель вертикальной головки ОФ-55

Горизонтальный шпиндель і шпиндель вертикальной головки фрезерного верстата оф-55


Фото універсального фрезерного верстата ОФ-55

Фото універсального фрезерного верстата оф-55

Фото універсального фрезерного верстата оф-55


Вертикальная фрезерна головка універсального фрезерного верстата ОФ-55

Вертикальная фрезерна  головка універсального фрезерного верстата ОФ-55

Вертикальная фрезерна головка універсального фрезерного верстата оф-55


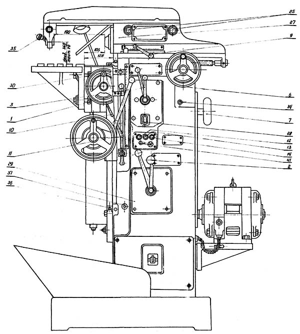
Розташування органів керування консольно-фрезерным верстатом ОФ-55

Схема органів керування фрезерного верстата ОФ-55

Розташування органів керування фрезерным верстатом оф-55


Схема органів керування фрезерного верстата ОФ-55

Розташування органів керування фрезерным верстатом оф-55

Список органів керування фрезерным верстатом ОФ-55

  1. Рукоятка установки числа оборотів шпинделя
  2. Рукоятка для установки подач
  3. Рукоятка увімкнення і переключения направления подачі стола і суппорта
  4. Маховичок ручной подачі стола в горизонтальной плоскости
  5. Маховичок ручной подачі стола в вертикальной плоскости
  6. Маховичок ручной подачі бабки горизонтального шпинделя
  7. Маховичок ручного обертання шестерен коробки швидкостей
  8. Квадрат для рукоятки подачі гильзы вертикального шпинделя
  9. Рукоятка зажиму шпиндельной бабки
  10. Рукоятка зажиму стола на горизонтальных направляючих суппорта
  11. Рукоятка зажиму суппорта на вертикальних направляючих станины
  12. Кнопка "Стоп". Пакетный выключатель
  13. Кнопка "Пуск" на 1000 об/мин
  14. Кнопка "Пуск" на 1500 об/мин
  1. Выключатель насоса охлаждения

Разрез універсального фрезерного верстата ОФ-55

Разрез універсального фрезерного верстата ОФ-55

Разрез універсального фрезерного верстата оф-55

Разрез універсального фрезерного верстата ОФ-55. Увеличенный чертеж






Схема кінематична універсального фрезерного верстата ОФ-55

Схема кінематична універсального фрезерного верстата ОФ-55

Кінематична схема фрезерного верстата оф-55


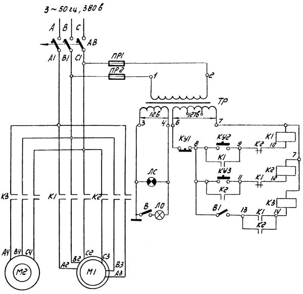
Схема електрична фрезерного верстата ОФ-55

Схема електрична фрезерного верстата ОФ-55

Електрична схема фрезерного верстата оф-55




ОФ-55 Верстат фрезерный універсальний підвищеної точності. Відеоролик.




Технічні характеристики фрезерного верстата ОФ-55

Наименование параметра СФ676 ОФ-55 СФ-67 УФ-300с УФ-9
Основні параметри верстата
Класс точності по ГОСТ 8-82 Н П Н Н Н
Розміри вертикального стола, мм 250 х 630 195 х 550 195 х 550 195 х 550 195 х 550
Розміри горизонтального (углового) стола, мм 250 х 800 260 х 630 200 х 630 215 х 600
Максимальная масса обрабатываемой детали, кг 100
Наибольшее расстояние от рабочей поверхности вертикального (основного) стола до торца шпинделя, мм 105 105 105 105
Наибольшее расстояние от рабочей поверхности вертикального стола до вертикальних направляючих, мм 128 128 130 130
Расстояние от оси горизонтального шпинделя до рабочей поверхности горизонтального (углового) стола, мм 80..460 70..360 70..360 68..358 68..358
Расстояние от торца вертикального шпинделя до рабочей поверхности горизонтального стола, мм 0..380 22..312
Наибольший вылет оси вертикального шпинделя, мм 125..375 100
Наибольший продольный ход стола (X), мм 450 250 250 250 250
Наибольший поперечний ход шпиндельной бабки (Y), мм 300 150 150 150 150
Наибольший вертикальний стола (Z), мм 380 290 290 290 290
Горизонтальный шпиндель верстата
Частота обертання горизонтального шпинделя, об/мин 50..1630 42..2150
95..1650 125..1220 125..1220
Количество швидкостей шпинделей 16 12 6 6 6
Перемещение шпинделя на одно деление лимба, мм 0,025 0,025 0,025 0,025
Наибольший допустимый крутящий момент на горизонтальном шпинделе, Нм 148
Конус горизонтального і вертикального шпинделей 40АТ5 Морзе 4 Морзе 4 Морзе 4 Морзе 4
Вертикальная шпиндельна головка
Частота обертання вертикального шпинделя, об/мин 63..2040 55..2450
- 189..1830 188..1830
Наибольший допустимый крутящий момент на вертикальном шпинделе, Нм 120 -
Наибольшее осевое перемещение вертикального шпинделя, мм 80 60 - 70 70
Наибольший угол поворота вертикальной головки в вертикальной плоскости, градус ±90° ±45° - ±45° ±45°
Конус вертикального шпинделя 40АТ5 Морзе 4 - Морзе 4 Морзе 4
Подачи стола
Пределы продольных і вертикальних подач стола (X, Z), мм/мин 13..395 10..380 17,5..178 19,7..156
(сменн. колеса)
19,7..156
(сменн. колеса)
Ускоренный ход стола, мм/мин 935 935 - -
Перемещение стола продольное на одно деление лимба, мм 0,025 0,025
Перемещение суппорта стола вертикальное на одно деление лимба, мм 0,025 0,025 0,025 0,025
Количество подач стола 16 12 6 1
(сменн. колеса)
1
(сменн. колеса)
Наибольшее усилие подач стола, Н 5000
Електроустаткування і привід верстата
Електродвигун головного привода, кВт (об/мин) 3 1,6/ 2,3 (1000/1500) 2,2 (1430) 1,7 (1420) 1,5 (1440)
Електродвигун приводу насоса охлаждения, кВт 0,12 0,12 (1800) 0,12 (1800) 0,12 (1800) 0,12 (1800)
Суммарная мощность електродвигателей, кВт 3,12 1,12
Габарит і масса верстата
Габарити верстата (длина х ширина х высота), мм 1200 х 1240 х 1780 1150 х 1100 х 1600 1150 х 1100 х 1600 1100 х 1130 х 1400 1100 х 1130 х 1400
Масса верстата, кг 1050 900 550 865 865

    Список литературы:

  1. Специализированный фрезерный верстат ОФ-55. Руководство по експлуатации і обслуговування, 1967

  2. Аврутин С.В. Основы фрезерного дела, 1962
  3. Аврутин С.В. Фрезерне дело, 1963
  4. Ачеркан Н.С. Металлорежущие верстати, Том 1, 1965
  5. Барбашов Ф.А. Фрезерне дело 1973, с.141
  6. Барбашов Ф.А. Фрезерные роботи (Профтехобразование), 1986
  7. Блюмберг В.А. Справочник фрезеровщика, 1984
  8. Григорьев С.П. Практика координатно-расточных і фрезерных работ, 1980
  9. Копылов Р.Б. Работа на фрезерных верстатах,1971
  10. Косовский В.Л. Справочник молодого фрезеровщика, 1992, с.180
  11. Кувшинский В.В. Фрезерование,1977
  12. Ничков А.Г. Фрезерные верстати (Библиотека станочника), 1977
  13. Пикус М.Ю. Справочник слесаря по ремонту металлорежущих верстатів, 1987
  14. Плотицын В.Г. Расчёты настроек і наладок фрезерных верстатів, 1969
  15. Плотицын В.Г. Наладка фрезерных верстатів,1975
  16. Рябов С.А. Современные фрезерные верстати і их оснастка, 2006
  17. Схиртладзе А.Г., Новиков В.Ю. Технологическое обладнання машиностроительных производств, 1980
  18. Тепинкичиев В.К. Металлорежущие верстати, 1973
  19. Чернов Н.Н. Металлорежущие верстати, 1988
  20. Френкель С.Ш. Справочник молодого фрезеровщика (3-е изд.) (Профтехобразование), 1978









Заказать