Верстат свердлильний високооборотний настільний випускав Володимирський верстатобудівний завод «Техніка» (Володимирський завод прецизійного обладнання «Техніка») , заснований в 1935 році.
Свердлильний настільний високооборотний верстат С-30 призначений для свердління отворів діаметром від 0,2 до 2 мм в деталях зі сталі, чавуну та кольорових сплавів.
Обробку отворів з Ø 0,2 до Ø 1 мм проводити свердлами ГОСТ 8034-67.
Робочий стіл верстата С-30 піднімається і опускається на 100 мм рейковою передачею, потім фіксується сухарями через гвинт.
Шпиндель переміщається крізь систему важелів на 25 мм.
Для вибірки осьового зазору у шпинделі встановлена пружина.
Перемикання швидкості шпинделя здійснюється перемиканням обмоток електродвигуна ВУЛ-052 на 250 Вт.

Фото свердлильного настільного верстата С-30

Фото свердлильного настільного верстата С-30

Фото свердлильного настільного верстата С-30

Фото свердлильного настільного верстата С-30

Фото свердлильного настільного верстата С-30

С-30 Розташування основних вузлів сверлильного настільного верстата
С-30 Розташування основних вузлів сверлильного настільного верстата. Дивитись у збільшеному масштабі

Кінематична схема сверлильного настільного верстата С-30
Кінематична схема сверлильного настільного верстата С-30. Дивитись у збільшеному масштабі

Схема розположення підшибників сверлильного настільного верстата С-30

Конструкція сверлильного настільного верстата С-30
Конструкція сверлильного настільного верстата С-30. Дивитись у збільшеному масштабі

Вид сверху настільного верстата С-30
Вид сверху настільного верстата С-30. Дивитись у збільшеному масштабі

Механізм подъема і зажиму робочого стола сверлильного настільного верстата С-30

Шпиндель сверлильного настільного верстата С-30
Шпиндель сверлильного настільного верстата С-30. Дивитись у збільшеному масштабі

Смазка сверлильного настільного верстата С-30
Смазка сверлильного настільного верстата С-30. Дивитись у збільшеному масштабі

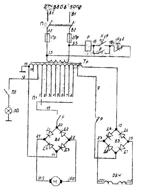
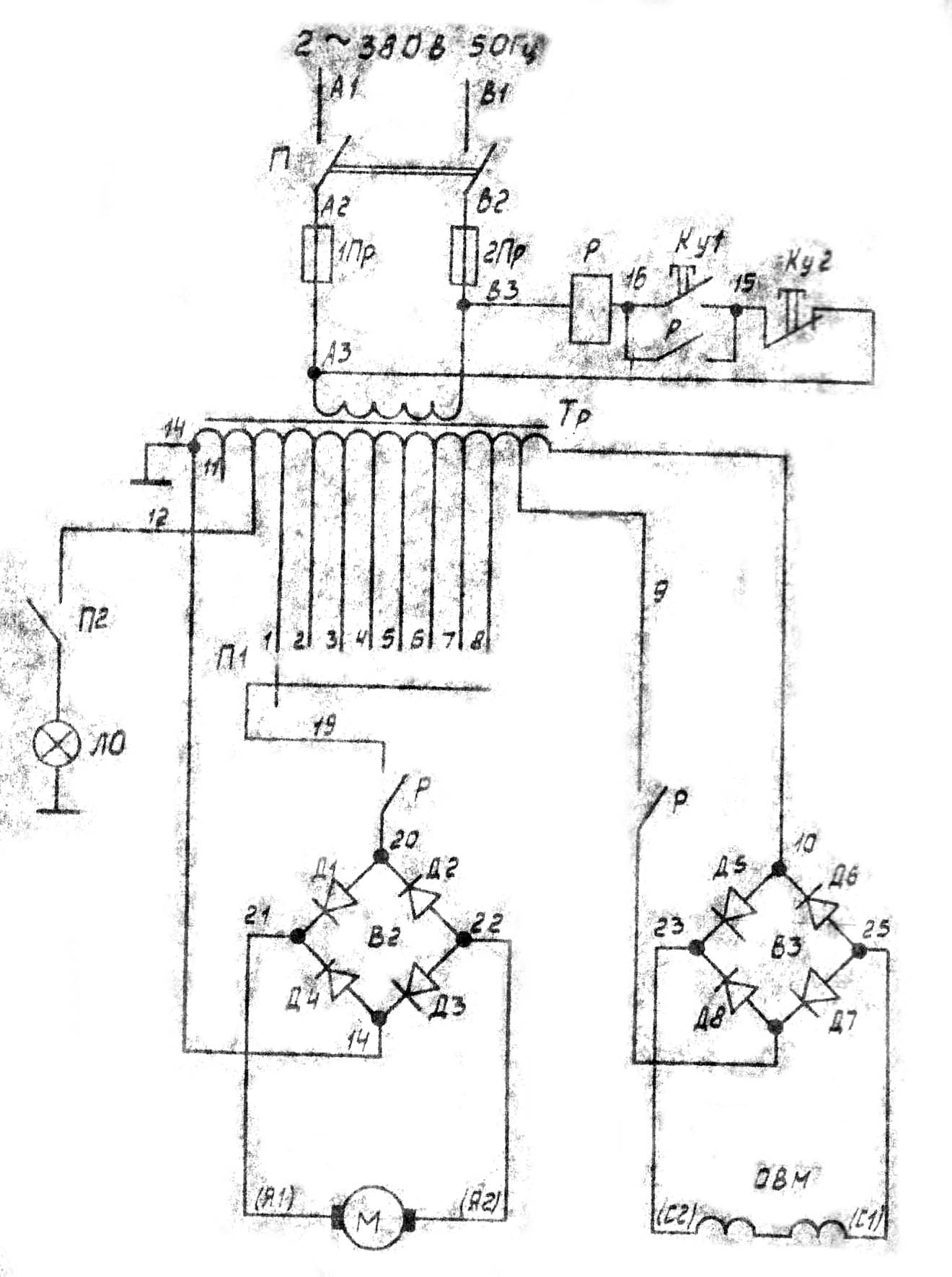
Електрична схема сверлильного настільного верстата С-30
Електрична схема сверлильного настільного верстата С-30. Дивитись у збільшеному масштабі
| Наименование параметра | С-30 | 2г103п | С-106 |
|---|---|---|---|
| Основні параметри верстата | |||
| Наибольший условный диаметр сверления, мм | 0,2..2 | 3 | 3 |
| Наименьшее і наибольшее расстояние от торца шпинделя до стола | 65..190 | 45..160 | 85 |
| Расстояние от оси вертикального шпинделя до направляючих стойки (вылет), мм | 110 | 110 | 140 |
| Рабочий стол | |||
| Розміри рабочей поверхности стола, мм | 150 х 150 | 140 х 140 | 150 х 150 |
| Наибольшее вертикальное перемещение стола, мм | 100 | - | - |
| Число Т-образных пазов Розміри Т-образных пазов | 2 | 1 | 2 |
| Шпиндель | |||
| Наибольшее перемещение шпиндельной головки по колонне, мм | - | ||
| Ход гильзы шпинделя, мм | 25 | 40 | 40 |
| Частота обертання шпинделя, об/мин | 5000..30000 | 2500..16000 | 2800..16800 |
| Количество швидкостей шпинделя | 8 | 5 | 6 |
| Конус шпинделя | 29°30` под цангу | 29° под цангу | В10 |
| Размер цанг, мм | Ø1..Ø2 через 0,2 | ||
| Привод | |||
| Електродвигун привода, Вт (об/мин) | 250 (8000) | 180 (2800) | 180 (2800) |
| Габарит і масса верстата | |||
| Габарити верстата (длина ширина высота), мм | 585 х 325 х 595 | 450 х 225 х 480 | 490 х 230 х 370 |
| Масса верстата, кг | 85 | 50 | 32 |
Загальновідомо, що людина може завжди дивитися на три речі: як горить вогонь, як тече вода і як працює інша людина.