metalinstryment.com
Довідник по металорізальних верстатів та пресовому обладнанні

КФПЭ-250н верстат фрезерный з программным керуванням
схеми, опис, характеристики

КФПЭ-250н верстат фрезерный з программным керуванням







Відомості про виробника універсального фрезерного верстата КФПЭ-250н

Верстат фрезерный з программным керуванням КФПЭ-250н выпускал Владимирский станкостроительный завод, основанный в 1935 году.

В настоящее время завод производит фрезерные верстати з УЦИ і ЧПУ под наименованием ФС-300, ФС-300-01, ФС-300-02 CNC і ФС-400.





Верстати, выпускаемые Владимирским станкостроительным заводом Техника


КФПЭ-250н Назначение і область применения фрезерного верстата з контурным программным керуванням

Контурно-фрезерный верстат КФПЭ-250н - з программным керуванням инструментальный фрезерный верстат підвищеної точності разработан на базе універсального верстата 6Т75 і запущен в производство в 1976 году.

Фрезерный верстат моделі КФПЭ-250н предназначен для фрезерування деталей цилиндрическими, дисковыми і фасонными фрезами при помощи горизонтального шпинделя, і торцовыми, кінцівыми і шпоночными фрезами при помощи поворотного вертикального шпинделя, который, при необходимости, може быть повернут под углом.

Верстат предназначен для фрезирования кінцівыми фрезами сложных криволинейных контуров, а также сверления, зенкования, развертывания, растачивания і нарізання різьб метчиками.

Верстат КФПЭ-250 оснащен системой программного керування класса CNC NCT 90M, позволяющей проводить обработку в режимах линейной і круговой интерполяции в широком диапазоне швидкостей горизонтальным і вертикальным шпинделем.

Особливості конструкції і принцип роботи верстата

Контурно-фрезерный верстат КФПЭ-250 NCT2000 разработан на базе верстата КФПЭ-250н і предназначен для фрезерування сложных криволинейных контуров, а так же сверления, растачивания і нарізання різьби метчиками.

В качестве приводу головного руху используется асинхронный двигатель 5,5 кВт, управляемый преобразователем частоти фирмы «КЕВ».

Максимальная частота обертання горизонтального шпинделя – 2 000 об/мин, вертикального – 4 000 об/мин.

По желанию заказчика на станке возможна установка електрошпинделя.

Скорость быстрых перемещений подвижных органів – 6 м/мин.

Точность позиционирования по линейным координатам составляет 0,02 мм.


Модифікації контурно-фрезерного верстата КФПЭ-250н






Габаритные розміри робочого простору фрезерного верстата КФПЭ-250н

Габаритные розміри робочого простору фрезерного верстата КФПЭ-250н

Габаритные розміри робочого простору фрезерного верстата КФПЭ-250н

Габаритные розміри робочого простору фрезерного верстата КФПЭ-250н



Присоединительные базы фрезерного верстата КФПЭ-250н

Присоединительные базы фрезерного верстата КФПЭ-250н

Присоединительные базы фрезерного верстата КФПЭ-250н

Присоединительные базы фрезерного верстата КФПЭ-250н




Фото універсального фрезерного верстата КФПЭ-250н

Фото універсального фрезерного верстата КФПЭ-250н

Фото універсального фрезерного верстата КФПЭ-250н



Фото універсального фрезерного верстата КФПЭ-250н

Фото універсального фрезерного верстата КФПЭ-250н



Розташування органів керування консольно-фрезерным верстатом КФПЭ-250н

Розташування органів керування консольно-фрезерным верстатом КФПЭ-250н

Розташування органів керування фрезерным верстатом КФПЭ-250н

Присоединительные базы фрезерного верстата КФПЭ-250н



Список органів керування фрезерным верстатом КФПЭ-250н




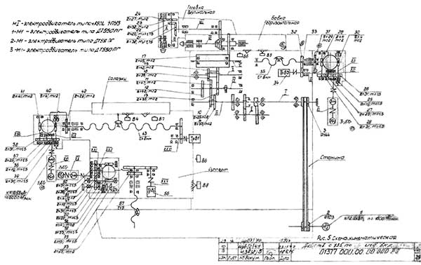
Кінематична схема фрезерного верстата КФПЭ-250н

Кінематична схема фрезерного верстата КФПЭ-250н

Кінематична схема фрезерного верстата КФПЭ-250н

Кінематична схема фрезерного верстата КФПЭ-250н. Увеличенный чертеж



Схема розположення підшибників фрезерного верстата КФПЭ-250н

Схема розположення підшибників фрезерного верстата КФПЭ-250н

Схема розположення підшибників фрезерного верстата КФПЭ-250н. Увеличенный чертеж



Основні вузли фрезерного верстата КФПЭ-250н

Горизонтальный шпиндель фрезерного верстата КФПЭ-250н

Горизонтальный шпиндель фрезерного верстата КФПЭ-250н

Горизонтальный шпиндель фрезерного верстата КФПЭ-250н. Увеличенный чертеж



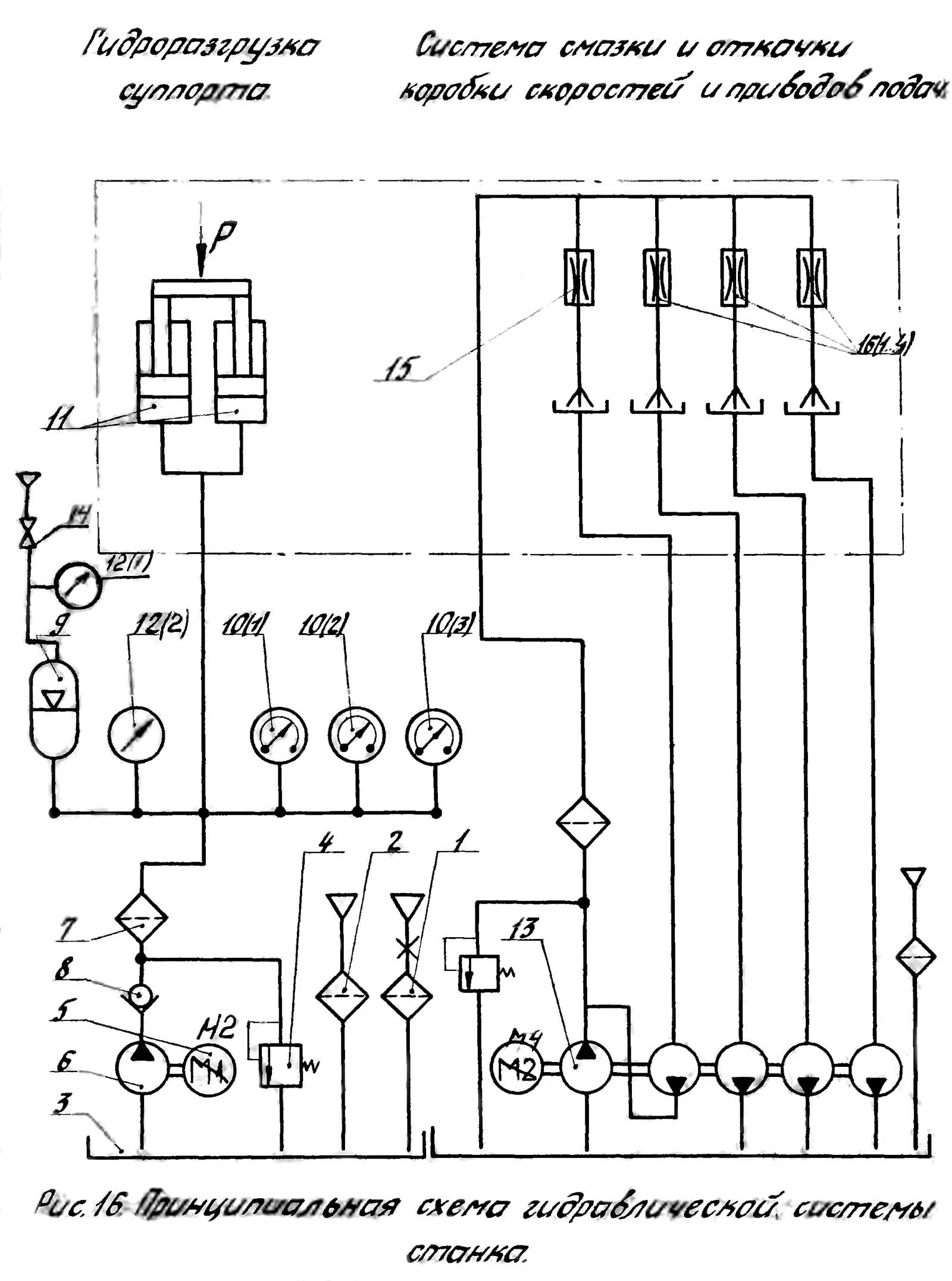
Гідравлічна схема фрезерного верстата КФПЭ-250н

Гідравлічна схема фрезерного верстата КФПЭ-250н

Гідравлічна схема фрезерного верстата КФПЭ-250н

Гідравлічна схема фрезерного верстата КФПЭ-250н. Увеличенный чертеж






КФПЭ-250н Верстат фрезерный з программным керуванням підвищеної точності. Відеоролик.




Технічні характеристики фрезерного верстата КФПЭ-250н

Наименование параметра СФ676 СФ-250 6Т75 КФПЭ-250н МС12-250
Основні параметри верстата
Класс точності по ГОСТ 8-82 Н В В П П
Розміри вертикального стола, мм 250 х 630 245 х 630 200 х 500 200 х 500
Розміри горизонтального (углового) стола, мм 250 х 800 245 х 630 200 х 630 270 х 500 250 х 630
Розміри план-шайбы, мм - - - - Ø 250 (24 поз.)
Максимальная масса обрабатываемой детали, кг 100 35
Расстояние от оси горизонтального шпинделя до рабочей поверхности горизонтального (углового) стола, мм 80..460 60..360 65..320 65..315
Расстояние от торца вертикального шпинделя до рабочей поверхности горизонтального стола, мм 0..380 35..290 -
Наибольший вылет оси вертикального шпинделя, мм 125..375 -
Наибольший продольный ход стола (X), мм 450 250 250 250 250
Наибольший ход шпиндельной бабки (Y), мм 300 200 200 200
Наибольший вертикальний ход суппорта стола (Z), мм 380 300 300 255 250
Наибольший диаметр растачивания, мм 100 100
Наибольший диаметр сверления, мм 15 8 12
Наибольший диаметр різьби, мм М12
Горизонтальная шпиндельна бабка
Частота обертання горизонтального шпинделя, об/мин (ступеней) 50..1630 (16) 45..2000 (12)
45..2000 (12) 45..2000 (12) 45..2000 (12)
Количество швидкостей горизонтального шпинделя 16 12 12 12 12
Конус горизонтального шпинделя 40АТ5 Морзе 4 Морзе 4АТ5 Морзе 4АТ5 Морзе 4АТ5
Наибольший допустимый крутящий момент на горизонтальном шпинделе, Нм 148 312
Перемещение бабки на одно деление лимба, мм 0,02
Перемещение бабки на один оборот лимба, мм 5
Быстрое перемещение бабки, мм/мин 800 2400
Количество подач горизонтальной шпиндельной бабки 16 9 9
Пределы подач горизонтальной шпиндельной бабки, мм/мин (ступеней) 13..395 (16) 10..400 (9) 10..400 (9) 10..1200 (Б/с) 10..1200 (Б/с)
Наибольшее усилие подач шпиндельной бабки, Н 5000
Выключающие подачу упоры есть есть есть есть есть
Вертикальная фрезерна головка
Частота обертання вертикального шпинделя, об/мин (Число ступеней) 63..2040 (16)
90..4000 -
Количество швидкостей вертикального шпинделя 16 12 12 -
Наибольшее осевое перемещение вертикального шпинделя, мм 80 -
Наибольший угол поворота вертикальной головки в вертикальной плоскости, градус ±90° -
Конус вертикального шпинделя 40АТ5 Морзе 4 АТ5 -
Наибольший допустимый крутящий момент на вертикальном шпинделе, Нм 120 -
Вертикальная фрезерно-расточная головка
Расстояние от торца вертикального шпинделя до рабочей поверхности горизонтального стола, мм 330 -
Частота обертання вертикального шпинделя, об/мин (Число ступеней) 45..2000 (12)
-
Наибольшее осевое перемещение вертикального шпинделя, мм нет -
Наибольший угол поворота вертикальной головки в вертикальной плоскости, градус ±90°
Конус горизонтального і вертикального шпинделей Морзе 4 -
Наибольший допустимый крутящий момент на вертикальном шпинделе, Нм 304 -
Вертикальная сверлильно-фрезерна головка -
Расстояние от торца вертикального шпинделя до рабочей поверхности горизонтального стола, мм 320 -
Частота обертання вертикального шпинделя, об/мин (Число ступеней) 90..4000 (12)
-
Наибольшее осевое перемещение вертикального шпинделя от руки, мм 60 -
Механическая подача шпинделя, мм/об 0,05 -
Наибольший угол поворота вертикальной головки в вертикальной плоскости, градус ±90° -
Конус горизонтального і вертикального шпинделей Морзе 2 -
Наибольший допустимый крутящий момент на вертикальном шпинделе, Нм 566 -
Суппорт стола. Стол вертикальний. Подачи
Пределы продольных і вертикальних подач стола (X, Z), мм/мин (Ступеней) 13..395 10..400 (9) 10..1200 (Б/с)
Ускоренный ход стола, мм/мин 935 800
Перемещение стола продольное на одно деление лимба, мм 0,02 - -
Перемещение суппорта стола вертикальное на одно деление лимба, мм 0,02 - -
Количество подач стола 16 9
Наибольшее усилие подач стола, Н 5000 5720
Магазин инструмента
Количество инструмента в магазине - - - 8 20
Електроустаткування і привід верстата
Електродвигун головного привода, кВт (об/мин) 3 2,2 (1430) 2,2 (1430) 2,2 (1500) 2,2
Електродвигун приводу насоса охлаждения, кВт 0,12 0,12 (2800), ПА-22 0,12 (2800), ПА-22 0,12 (2800), ПА-22
Електродвигун гідростанції, кВт - - - 0,25 (1500)
Електродвигун подач по координатам X, Y, Z, кВт - - - 0,55 (6000) 3 шт 0,616
Електродвигун насоса змазки, кВт - - - 0,55 (1500)
Суммарная мощность електродвигателей, кВт 3,12 2,32 4,65
Габарит і масса верстата
Габарити верстата (длина х ширина х высота), мм 1200 х 1240 х 1780 1120 х 1280 х 1690 1120 х 1280 х 1690 1440 х 1290 х 1650 1475 x 1240 x 1900
Масса верстата, кг 1050 850 850 1200 1680

    Список литературы:

  1. Верстат фрезерный з программным керуванням КФПЭ-250н. Руководство по експлуатации, 1976

  2. Аврутин С.В. Основы фрезерного дела, 1962
  3. Аврутин С.В. Фрезерне дело, 1963
  4. Ачеркан Н.С. Металлорежущие верстати, Том 1, 1965
  5. Барбашов Ф.А. Фрезерне дело 1973, с.141
  6. Барбашов Ф.А. Фрезерные роботи (Профтехобразование), 1986
  7. Блюмберг В.А. Справочник фрезеровщика, 1984
  8. Григорьев С.П. Практика координатно-расточных і фрезерных работ, 1980
  9. Копылов Р.Б. Работа на фрезерных верстатах,1971
  10. Косовский В.Л. Справочник молодого фрезеровщика, 1992, с.180
  11. Кувшинский В.В. Фрезерование,1977
  12. Ничков А.Г. Фрезерные верстати (Библиотека станочника), 1977
  13. Пикус М.Ю. Справочник слесаря по ремонту металлорежущих верстатів, 1987
  14. Плотицын В.Г. Расчёты настроек і наладок фрезерных верстатів, 1969
  15. Плотицын В.Г. Наладка фрезерных верстатів,1975
  16. Рябов С.А. Современные фрезерные верстати і их оснастка, 2006
  17. Схиртладзе А.Г., Новиков В.Ю. Технологическое обладнання машиностроительных производств, 1980
  18. Тепинкичиев В.К. Металлорежущие верстати, 1973
  19. Чернов Н.Н. Металлорежущие верстати, 1988
  20. Френкель С.Ш. Справочник молодого фрезеровщика (3-е изд.) (Профтехобразование), 1978









Заказать