Виробник токарно-гвинторізного верстата моделі 161-А - Іжевський машинобудівний завод "Іжмаш" , заснований у 1807 році.
Історія верстатобудування на Іжевському машинобудівному заводі "Іжмаш" починається 28 липня 1930 р. після виходу наказу №181 про створення верстатобудівного відділу.
Найбільш масовими моделями універсальних токарних верстатів, випущеними в різний час, стали "Удмурт", "Удмурт-2" (161-АМ), ІЖ-250, 1І611П, 1ІС611В, 95ТС, 250ІТВМ, 250ІТВМ4 та токар.
Токарно-гвинторізний верстат 161-А - один із перших серійних верстатів, що випускаються Іжевським машинобудівним заводом у повоєнні роки. Випускався верстат до 1964 року, коли на зміну йому прийшов досконаліший токарно-гвинторізний верстат ІЖ-250, ІЖ-250П .
Токарний верстат 161-А випускався з 1938 року і замінив у виробництві перший іжевський верстат: Удмурт . Згодом завод перейшов на випуск верстата моделі 161-м.
Верстати токарно-гвинторізні моделей 161-А призначені для токарної обробки в центрах або патроні, а також для нарізування метричних різьблень та дюймових різьблень.
Виробник – машинобудівний завод Іжмаш. Початок серійного випуску – 1938 рік.

Фото токарного верстата Удмурт-2 зі спрощеною коробкою подач

Фото токарно-гвинторізного верстата 161-ам
Фото токарно-гвинторізного верстата 161-А. Дивитись у збільшеному масштабі

Розташування органів керування токарно-гвинторізним верстатом 161-а
Органи керування токарно-гвинторізним верстатом 161-А. Дивитись у збільшеному масштабі

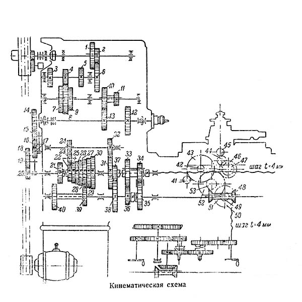
Кінематична схема токарно-гвинторізного верстата 161-а
Схема кінематична токарно-гвинторізного верстата 161-А. Дивитись у збільшеному масштабі
Верстат приводится в действие от електромотора (фиг. 1), установленного на салазках, прикрепленных к задньої стенке левой ножки станины; передвижением електромотора вдоль салазок устанавливается требуемое натяжение приводных ремней. От желобчатого шкива електромотора вращение передається посредством трех клиновидных ремней приводному шкиву передньої бабки.
Станина з зигзагообразными ребрами, обеспечивающими ей достаточную жесткость, установлена на двух ножках коробчатой формы. Она имеет три призматических направляючих: две для продольных салазок суппорта і одну для задньої бабки, Направляющие високою точності, достигаемой шабровкой или шлифовкой их на специальном станке.
Задня бабка (рис. 6) може перемещаться вдоль станины вручную по средним її направляющим і закрепляться на станине посредством планки, прижимаемой двумя болтами.
При пользовании задньої бабкой для конической обточки необходимо переместить корпус бабки по промежуточной плите при помощи двух винтов, помещенных внизу по бокам корпуса бабки. На пиноли задньої бабки имеются деления, позволяющие устанавливать длину переміщення центра.

Коробка швидкостей токарного верстата 161-а в развернутом виде
161-А Передня бабка токарно-гвинторізного верстата. Дивитись у збільшеному масштабі

Передня бабка токарно-гвинторізного верстата 161-а
Передня бабка токарно-гвинторізного верстата 161-А. Дивитись у збільшеному масштабі
Передня бабка (коробка швидкостей), (фиг. 2) имеет при односкоростном електромоторе девять различных чисел оборотів робочого шпинделя. Изменение швидкостей осуществляется перестановкой трех рукояток (фиг. 3), расположенных на передньої стенке коробки швидкостей. Для предупреждения поломки зубьев шестерен в коробке швидкостей при переключении швидкостей шпинделя на ходу в механізме переключения предусмотрен автоматический останов обертання всех шестерен, осуществляемый системой рычагов, расположенных внутри коробки (фиг. 4), связывающих рукоятки переключения з пластинчатым фрикционом і тормозом.
Приводной вал і все промежуточные валики коробки швидкостей работают на шариковых підшипниках.
Шпиндель вращается в бронзовых регулируемых підшипниках з кольцевой смазкой і имеет закаленные шлифованные шейки. Осевое усилие, действующее на шпиндель, воспринимается упорным шарикоподшипником.
Передний конец шпинделя имеет внутри конус Морзе № 5, а снаружи винтовую резьбу М68 х 6 (по ОСТ), на которую навертываются патрон і зажимные приспособления. Конструкція шпинделя допускает возможность установки пневматического патрона, для чего на заднем кінці шпинделя имеется винтовая резьба 3М52х1,5 (по ОСТ), на которую навертывается фланец пневматического цилиндра.
Для обробки пруткового материала в шпинделе имеется сквозное отверстие диаметром 40 мм.

Фрикционная муфта і тормоз коробки швидкостей токарного верстата 161-а
Приводной шкив 6 (фиг. 5) сидит на шпонке на цилиндрической частини стакана 2 фрікциону, служащего для увімкнення коробки швидкостей в действие. Корпус 1 фрікциону жестко соединен з корпусом коробки швидкостей. Стакан 2, расположенный внутри корпуса фрікциону, вращается в трех шариковых підшипниках 3, 4 і 5. В стакане помещены двадцать п'ять закаленных стальных дисков (пластин), из которых двенадцать дисков 7 входят своими выступами в прорезы стакана, а остальные тринадцать дисков 8 сидят на шпонках 9 вала, передающего вращение шестерням коробки швидкостей.
Передвижная муфта 10 связана з двумя скользящими шпонками 11 і 12 і тормозом 13.
При пуске верстата муфта 10 передвигается вправо, шпонки 11 і 12 освобождают пружину 15, которая производит через шайбу 14 давление на диски 7 і 8, вследствие чего і происходит увімкнення верстата в работу.
При остановке верстата подвижная муфта 10 передвигается влево вместе со шпонками 11, 12 і тормозом 13; при етом концы скользящих шпонок 11 і 12 упираются в шайбу 14 і через нее нажимают на пружину 15, освобождая тем самым диски 7 і 8 от сцепления. В то же время конус тормоза входит в соответствующий конус корпуса фрікциону і производит торможение шпинделя. Приводной шкив б начинает при етом вращаться вхолостую.

Коробка подач токарно-гвинторізного верстата 161-а
Коробка подач токарно-гвинторізного верстата 161-А. Дивитись у збільшеному масштабі
Коробка подач (фиг. 10) имеет три валика, на которых располагаются все шестерни коробки подач. Валики вращаются в бронзовых втулках.
Вращение от шпинделя к коробке подач передається через трензель (фиг. 11) і сменные шестерни. Последние ставятся на палец трензеля, палец гітари і конец валика коробки подач. Розташування шестерен, их характеристику і взаимную связь легко проследить по кінематичної схеме і по спецификации шестерен (см. стр. 9 і 10).
Шестерни трензеля — чугунные, угол зацепления 20°, модуль 2, числа зубьев — 27, 36, 30.
Сменные шестерни для метрической винтовой різьби — чугунные, угол зацепления 20°, модуль 2, числа зубьев 56, 60, 28 і 30; сменные шестерни для дюймовой винтовой різьби — стальные, угол зацепления 20°, модуль 1,25. Получение различных подач достигается переключением скользящих по шпонкам шестерен і откидной шестерни.
Суппорт (фиг. 7) состоит из продольных і поперечных салазок, поворотной частини, резцовых салазок і резцедержателя для четырех резцов. Продольные салазки могут перемещаться по призматическим направляющим станины; во избежание приподнимания они удерживаются двумя планками, плотно прилегающими знизу к выступам станины.
Поперечные салазки перемещаются по продольным салазкам, сопрягаясь з ними при помощи клина, регулируемого винтом 1. Для точной установки величины переміщення поперечных салазок имеются шайбы з делениями на оси рукоятки, служащей для переміщення поперечных салазок. Зажим і освобождение резцедержателя производятся рукояткой. Поворот резцедержателя па 90° определяется специальным фиксатором.
По специальному заказу верстат може быть снабжен напівавтоматическим резцедержателем, у которого зажим і поворот осуществляется одной рукояткой.
Винтом можно закрепить супорт на станине, что необходимо при подрезке или отрезке.

Фартук суппорта токарного верстата верстата 161-а
Фартук суппорта (фиг. 8 і 9). На ходовой вал надета втулка, которая при помощи скользящей шпонки вращается вместе з ходовым валом и, кроме того, скользит вдоль вала при движении продольных салазок по станине. Втулка составляет одно целое з двумя коническими шестернями 24 (фиг. 9), из которых каждая в отдельности може сцепляться з конической шестерней 25, сидящей на оси, расположенной в корпусе фартука; для сцепления одной из конических шестерен 24 з шестерней 25 втулка ходового вала може перемещаться при помощи кулачка 26 (фиг. 8, разрез по АБ), действующего при повороте рычажка 27 рукояткой 8 (фиг. 1). Шестерня 25 може получать при етом правое или левое вращение, которое посредством цилиндрической шестерни 28 (фиг. 9), сидящей на одной оси з конической шестерней 25, передається через шестеренные передачи 25-20, 30-31 шестерне 32, сцепляющейся з зубчатой рейкой, прикрепленной к станине, вызывая продольное перемещение суппорта вправо или влево.
Увімкнення поздовжньої подачі от ходового вала производится рукояткой 6 (фиг, 1 і 8) через фрикцион (разрез по ВГ). Увімкнення поперечної подачі производится рукояткой 7 (фиг. 1 і 8, разрез по ДЕ).
Механізми поздовжньої і поперечної подач не имеют взаимной блокировки і потому надо следить, чтобы при включении одной из подач другая была выключена.
Для осуществления продольного самохода суппорта от ходового гвинта при винторезной работе в фартуке суппорта установлена маточная гайка 34 (фиг. 9), сцепляемая з ходовым винтом при помощи рукоятки 9 (фиг. 1).
У фартука суппорта справа имеется резьбоуказатель.
Різьбопокажчик предназначается дли правильного і точного направления резца при выполнении винторезной роботи. Он имеет следующее пристрій: на вертикальном валике укреплена шестерня з двадцатью четырьмя зубьями при шаге 4 мм, сцепляющаяся з нарезкой ходового гвинта; на верхнем торце валика помещается металлический диск з делениями, определяющий положение шестерни в момент увімкнення верстата в работу. Сцепление шестерни резьбоуказателя з ходовым винтом фиксируется стопором. Работа резьбоуказателя заключается в следующем: поднимают вертикальную трубку со шкалой до попадания фиксатора в отверстие трубки і супорт подводят в нужное для роботи положение; при етом диск резьбоуказателя з делениями вращается; когда какое-либо деление резьбоуказателя совпадает со штрихом, включают разрезную гайку гвинта, і різець намечает нитку нарезаемой різьби.
Понаступні проходы производятся аналогично, а именно: из крайнего левого положения з выключенной гайкой переводят супорт в крайнее правое і при совпадении того же деления на шайбе резьбоуказателя, з которого начато нарезание, со штрихом, производят увімкнення разрезной гайки соответствующей рукояткой.
Ход резца должен совпасть з ниткой предыдущего прохода резца; в тех случаях, когда етого не получается, приходится считать, что резьба данного шага не може нарезаться при помощи резьбоуказателя і надо воспользоваться реверсивным ходом верстата, что достигается установкой контрприводу или при индивидуальном електроприводе — реверсивной пусковой аппаратурой мотора верстата. При помощи резьбоуказателя може быть нарезана метрическая резьба з шагом в миллиметрах 0,25—0,5—0,75—1—1,5—2-3—4—6—8—12.
В левой ножке станины имеется резервуар (фиг. 12) для охлаждающей жидкости. Из резервуара жидкость через фильтр всасывается насосом і подается через трубопровод к резцам. Трубопровод состоит из двух частин: нерухомою, идущей сзади станины, і подвижной, прикрепленной к продольным салазкам суппорта. Концы нерухомою і подвижной частин трубопровода соединены гибким резиновым шлангом достаточной длины, соответствующей длине ходу суппорта. На кінці нерухомою частини трубопровода находится тройник, в котором имеется клапан (фиг. 13) для выпуска охлаждающей жидкости в корито в случае, если кран трубопровода будет закрыт, а насос продолжает работать. Отработанная жидкость стекает в корито, расположенное под станиной. Шестеренный насос приводится в действие ременной передачей от приводного шкива верстата.
В стоимость верстата включены ниженаступні принадлежности, доставляемые вместе со верстатом:

Електрична схема токарно-гвинторізного верстата 161-а
Схема електрична токарно-гвинторізного верстата 161-А. Дивитись у збільшеному масштабі
Нормально верстат работает от односкоростного електромотора трехфазного тока открытого типа з короткозамкнутым ротором (фиг. 18).
Для напряжения 220/380 В обмотка статора соединяется соответственно в „треугольник" или „звезду", для чего на клеммный щиток выведены шесть концов обмотки статора.
Электромоторы на 500 В имеют три выведенных кінця з соединением обмотки статора в "звезду". Колебания напряжения в сети не должны превышать + 5%, а средний перегрев обмоток електромотора не должен быть выше 55° С.
Для увімкнення і виключення електромотора служит магнитный пускатель типа ПМ-50, управляемый нажатием кнопок („ход", „назад", „стоп") кнопочной станції КУ-430. При нажатии кнопки „ход" замыкается ланцюг магнитной катушки пускателя, втягивается сердечник і замыкает главные і вспомогательные контакты. Дальнейшее нажатие кнопки излишне, так как питание катушки происходит через ланцюг уже замкнутых вспомогательных контактов (блок-контактов).
Захист мотора от перегрузки осуществляется встроенным в пускателе двухполюсным тепловым реле, каждый полюс которого имеет нагревательный елемент, включенный післядовательно в фазу мотора. При перегрузке електромотора на 50% тепловое реле максимум через 2 минуты автоматически выключает мотор, при етом возврат теплового реле производится специальной кнопкой, имеющейся в крышке пускателя по истечении двух - трех минут, необходимых для охлаждения реле. Захист електромотора от падения напряжения осуществляется магнитной катушкой пускателя, которая отключает електромотор при понижении напряжения в сети до 50—60% от номинального.
Увімкнення електромотора в сеть возможно при напряжении не ниже 85% от номинального. Защиту от короткого замыкания магнитный пускатель не передбачає, поетому необходимо на подводящем фидере установить плавкие предохранители, рассчитанные на 2,5-кратное увеличение номинальной силы тока електромотора.
Магнитный пускатель устанавливается вертикально, так как отклонение от вертикали более 5° влияет на правильность его роботи.
К установленному на станке електрооборудованию должно быть подведено такое напряжение, на которое оно рассчитано. Электромотор і вся електроаппаратура должны регулярно очищаться от грязи і пыли, причем пыль должна выдуваться мехами или пылесосом, а доступные частини вытираться тряпками или кистью.
Шариковые підшипники електромотора должны смазываться чистой мазью „Консталин Л" или „Солидол" Т.
Підшипники следует заполнять мазью не более 2/3 свободного простору, так как полностью заполненные підшипники при работе быстро нагреваются і мазь разлагается. Для змазки підшибників нельзя применять масло или смесь масла з жиром, так как разжижение жира ускоряет его разложение. Не менее двух раз в год необходимо производить полную замену мази і промывку підшибників бензином или бензолом.
Следует периодически проверять состояние присоединением проводов, закрепляя ослабевшие контакты.
| Наименование параметра | 161-а | 161-ам | |
|---|---|---|---|
| Основні параметри | |||
| Класс точності по ГОСТ 8 | Н | Н | |
| Наибольший диаметр заготовки обрабатываемой над станиной, мм | 350 | 350 | |
| Наибольший диаметр заготовки обрабатываемой над нижней частью суппорта, мм | 200 | 200 | |
| Наибольшая длина заготовки (РМЦ), мм | 1000 | 1000 | |
| Высота оси центров над плоскими направляющими станины, мм | 175 | 175 | |
| Высота от опорной поверхности резца до линии центров, мм | 20 | 20 | |
| Наибольшее рассояние от оси центров до кромки резцедержателя, мм | |||
| Шпиндель | |||
| Диаметр сквозного отверстия в шпинделе, мм | Ø 40 | Ø 40 | |
| Количество ступеней прямого обертання шпинделя, об/мин | 9 | 9 | |
| Частота прямого обертання шпинделя, об/мин | 13..475 | 20..750 | |
| Размер внутреннего конуса в шпинделе, М | Морзе 5 | Морзе 5 | |
| Кінець шпинделя | М68 х 6 | М68 х 6 | |
| Стандартный токарний патрон, мм | Ø 240 | Ø 240 | |
| Торможение шпинделя | Есть | Есть | |
| Подачи | |||
| Наибольшая длина ходу каретки суппорта, мм | 1065 | 1065 | |
| Цена деления лимба продольного переміщення суппорта, мм | |||
| Продольное перемещение за один оборот лимба, мм | |||
| Наибольшее поперечное перемещение суппорта, мм | 175 | 175 | |
| Цена деления лимба поперечного переміщення суппорта, мм | |||
| Поперечное перемещение за один оборот лимба, мм | |||
| Пределы рабочих подач продольных, мм/об | 0,062..3,5 56 шагов |
0,062..3,5 56 шагов |
|
| Пределы рабочих подач поперечных, мм/об | 0,052..2,92 56 шагов |
0,052..2,92 56 шагов |
|
| Різьбопокажчик | есть | есть | |
| Скорость быстрых перемещений суппорта, продольных, м/мин | нет | нет | |
| Скорость быстрых перемещений суппорта, поперечных, м/мин | нет | нет | |
| Пределы шагов нарезаемых різьб метрических, мм | 0,25..14 | 0,25..14 | |
| Пределы шагов нарезаемых різьб Витворта, число ниток на дюйм | 2..44 | ||
| Пределы шагов нарезаемых різьб дюймовых, число ниток на дюйм | 2..44 | ||
| Пределы шагов нарезаемых різьб модульных | 0,5..3,5 | ||
| Выключающие продольные упоры | нет | есть | |
| Выключающие поперечные упоры | |||
| Быстрое перемещение суппорта | нет | нет | |
| Резцовые салазки | |||
| Наибольшее перемещение верхних салазок суппорта, мм | |||
| Наибольший угол поворота верхних салазок суппорта, град | 135° | 180° | |
| Цена деления лимба, мм | |||
| Наибольшие розміри державки резца, мм | 16 х 20 | 12 х 20 | |
| Цена деления шкалы поворота, град | 1 | 1 | |
| Задня бабка | |||
| Размер внутреннего конуса пиноли задньої бабки | Морзе 3 | Морзе 3 | |
| Наибольшее перемещение пиноли задньої бабки, мм | |||
| Цена деления линейки перемещение пиноли, мм | 1 | 1 | |
| Цена деления лимба перемещение пиноли, мм | |||
| Поперечное смещение пиноли, мм | ±10 | ±10 | |
| Електроустаткування | |||
| Количество електродвигателей на станке | 2 | 2 | |
| Електродвигун головного привода, кВт (об/мин) | 3,4 (960) | 4,5 (1450) | |
| Електродвигун насоса охлаждения, кВт | |||
| Насос охлаждения (помпа) | |||
| Габаритные розміри і масса верстата | |||
| Габарити верстата (длина ширина высота), мм | 2335 х 1080 х 1250 | 2335 х 1080 х 1250 | |
| Масса верстата, кг | 1080 | 1080 |