Виробник та розробник токарного верстатів 250-ІТП (ІЖ 250-ІТП) - Іжевський верстатобудівний завод Іжмаш , заснований у 1807 році.
Історія верстатобудування на Іжевському машинобудівному заводі "Іжмаш" починається 28 липня 1930 р. після виходу наказу №181 про створення верстатобудівного відділу.
Найбільш масовими моделями універсальних токарних верстатів, випущеними в різний час, стали "Удмурт", "Удмурт-2" (161-АМ), ІЖ-250, 1І611П, 1ІС611В, 95ТС, 250ІТВМ, 250ІТВМ4 та токар.
Верстат токарно-гвинторізний 250-ІТП (ІЖ 250-ІТП) замінив у виробництві застарілу модель 1І611П і був замінений на більш досконалу модель 250ІТВМ , 250ІТВМ.01 , 250ІТВМ.03, 250ІТВМФ
Універсальний токарно-гвинторізний верстат 250-ІТП високої точності інструментальної групи призначений для виконання найрізноманітніших робіт у центрах, цангових або кулачкових патронах по чорних та кольорових металах, включаючи точення конусів, а також для нарізування метричних, модульних, дюймових різьблень.
Верстат 250-ІТП застосовується для чистових та напівчистових робіт у одиничному та дрібносерійному виробництві. Верстати призначені для експлуатації переважно у багатоповерхових будинках, а також у рухомих ремонтних майстернях та судах.
Токарно-гвинторізний верстат 250-ІТП забезпечує:
Верстати універсальні токарні: підвищеної точності моделі 250-ІТП , високої точності моделі 250-ІТВ та 250-ІТВФ1 з системою цифрової індикації призначені для різних токарних робіт, у тому числі для нарізування різьблення: метричної, модульної та дюймової в умовах одиничного та дрібносерійного.
З метою тривалого збереження точності верстатів моделей 250-ІТВ та 250-ІТВФ1 необхідно використовувати їх тільки для чистових та напівчистових операцій.
Оснащення верстата 250-ІТВФ1 пристроєм цифрової індикації (УЦІ) дозволяє підвищити продуктивність праці за рахунок скорочення допоміжного часу на пробні проходи та вимірювання деталей, полегшує роботу токаря за рахунок виключення розрахунків та необхідності запам'ятовування кількості обертів лімбу.
Верстати призначені для використання в умовах УХЛ4 за ГОСТ 15150-69.
У верстатах використані винаходи за авторськими свідоцтвами № 173094, 312739, 249142, 286405, 288496, 583912, 831503.

Габаритні розміри робочого простору верстата 250-ІТП
Габаритні розміри робочого простору верстата 250-ІТП. Дивитись у збільшеному масштабі

Фото токарно-гвинторізного верстата 250-ИТП
Фото токарно-гвинторізного верстата 250-ІТП. Дивитись у збільшеному масштабі

Фото токарно-гвинторізного верстата 250-ИТП
Фото токарно-гвинторізного верстата 250-ІТП. Дивитись у збільшеному масштабі

Фото токарно-гвинторізного верстата 250-ИТП
Фото токарно-гвинторізного верстата 250-ІТП. Дивитись у збільшеному масштабі

Фото токарно-гвинторізного верстата 250-ИТП
Фото токарно-гвинторізного верстата 250-ІТП. Дивитись у збільшеному масштабі

Фото токарно-гвинторізного верстата 250-ИТП
Фото токарно-гвинторізного верстата 250-ІТП. Дивитись у збільшеному масштабі

Фото токарно-гвинторізного верстата 250-ИТП
Фото токарно-гвинторізного верстата 250-ІТП. Дивитись у збільшеному масштабі

Розташування основних вузлів токарного верстата 250-ІТП (ІЖ 250-ІТП)

Розташування органів керування токарно-гвинторізним верстатом 250-ИТП

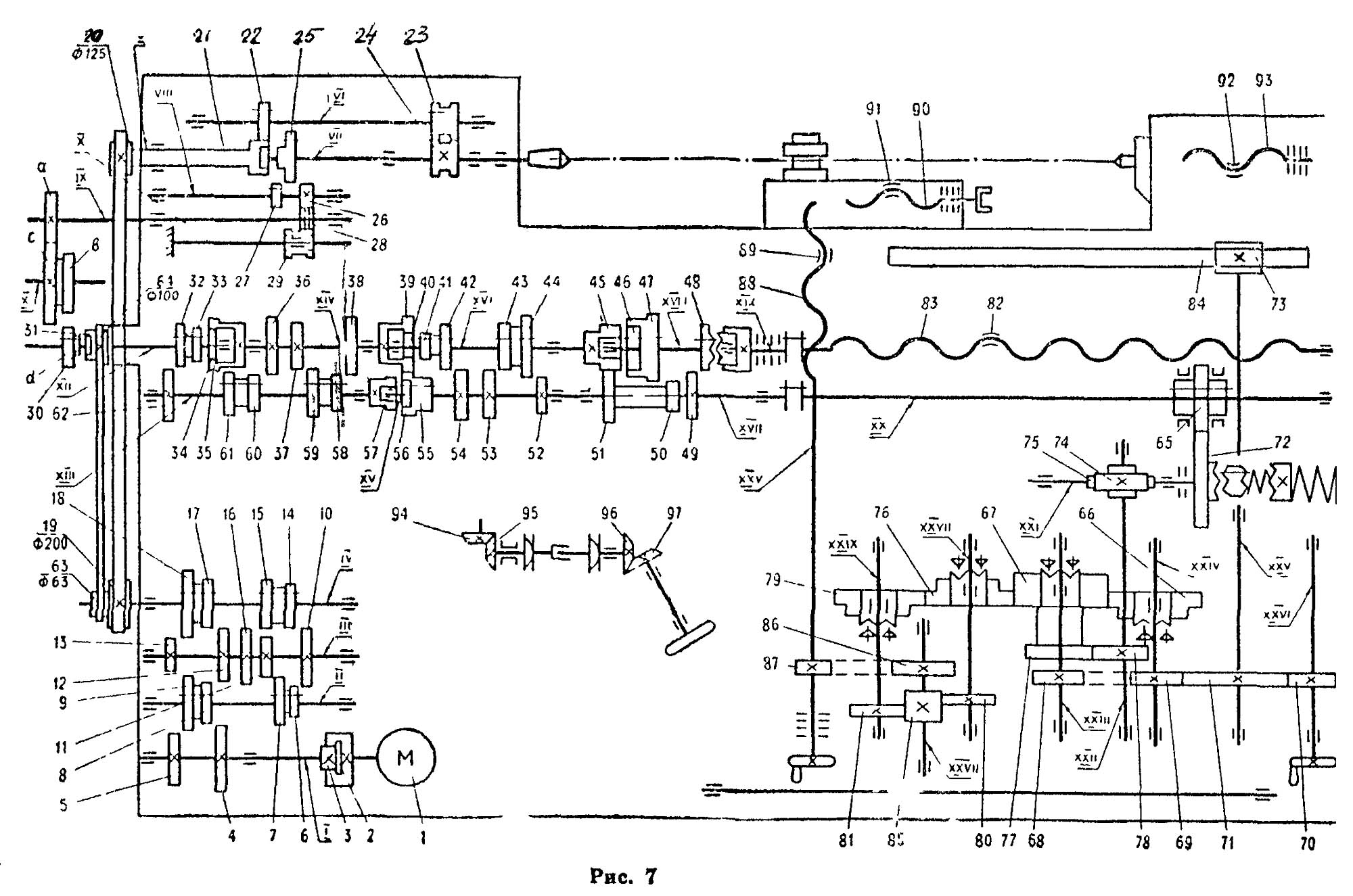
Кінематична схема токарно-гвинторізного верстата 250-ИТП
1. Схема кінематична токарно-гвинторізного верстата 250-ИТП. Дивитись у збільшеному масштабі
Регулювання натяжения ремня приводу головного руху производится смещением корпуса редуктора 5 относительно кронштейна 41, для етого необходимо ослабить болты 40, крепящие редуктор, і вращением болта 38 переместить редуктор.
Натяжение ремня определяется стрелой прогиба, равной 9,5 мм при приложенном усилии 4 кг. Значения крутящих моментов на шпинделе приведены в разделе 2.6.
Изменение частоти обертання шпинделя осуществляется преселективным пристрійм во время роботи верстата. Выбор частоти обертання производится маховиком 45, поворотом которого в двух дисках создается определенная комбинация отверстий под фиксирующие пальцы рычагов, переключающих блоки зубчатых колес.
В нужный момент увімкнення предварительно выбранной маховиком частоти обертання шпинделя осуществляется з помощью рукоятки 106 в два етапа: вначале рукоятку оттягивают на себя до появления заметного зусилля; удерживая рукоятку в етом положении, выжидают, пока не снизится частота обертання шпинделя (не выше 100 об/мин), затем рукоятку оттягивают до отказа, производя таким образом увімкнення установленной частоти обертання.
При работе на низкой частоте обертання шпинделя (ниже 100 об/мин) увімкнення може быть произведено сразу движением рукоятки до отказа.
Если по каким-либо причинам після первой попытки переключение не произошло, необходимо отпустить рукоятку і произвести переключение повторно.
Передня бабка жестко сбазирована на станине. В случае необходимости выверки оси шпинделя в горизонтальной плоскости надо ослабить болты і гайки, крепящие переднюю бабку к станинe. Ослабить регулировочные болты 8, расположенные в кронштейне задньої частини передньої бабки, выверить ось шпинделя параллельно направляющим станины, закрепить контргайкой регулировочные болты і закрепить переднюю бабку на станине.
Регулювання радиального зазору переднего роликопідшипника у разобранного шпиндельного вузла осуществляется следующим образом: на шпиндель устанавливается роликоподшипник, кольца 75, 77 і упорно-радиальный подшипник, гильза 60, шестерня 81, дуплексированный подшипник і разрезная гайка 51.
Винтом разрезной гайки выбирается зазор в резьбе шпинделя до появления заметного зусилля при вращении гайки от руки. Ключом производится затяжка роликопідшипника до обеспечения радиального зазору, измеренного по обоим краям роликопідшипника в пределах 0,001—0,004 мм, гайка стопорится винтом.
После етого измеряется расстояние от торца внутреннего кольца підшипника до бурта шпинделя і подгоняется кольцо 72 до замеренной величины з допуском 0,01 мм при обеспечении непараллельности торцев не более 0,003 мм. Затем все детали со шпинделя снимаются і після установки кольца 72 собираются в той же післядовательности на шпиндель.
Передача руху в коробку подач со шпинделя идет: поликлиновым ремнем на приемный вал коробки подач при точении і через сменные шестерни гітари при нарезании різьби.
Переключення рукояток коробки подач на частотах обертання шпинделя до 63 об/мин допускается производить на ходу верстата, на более высоких частотах — на замедлении при кратковременном отключении верстата рукояткой 29 (рис. 6, часть I).
Если рукоятка 3 (рис. 6) при етом не включается в положение, «точение», необходимо, отключить верстат, рукоятку 6 (рис. 6) установить в положение «нарезание різьби», включить верстат, переключить рукоятку 3 в положение «точение», и, отключить верстат, рукоятку 6 установить в положение «точение».
Натяжение ремня приводу подач определяется стрелой прогиба верхней ветви, которая должна быть примерно 20 мм при приложении зусилля 4 кг.
Прижим задньої бабки к станине осуществляется поворотом рукоятки 34, регулювання зусилля прижима производится гайками 21. Для более надежного прижима задньої бабки предусмотрен дополнительный винт 19
Для выверки осей шпинделя передньої і пиноли задньої бабки относительно направляючих станины необходимо совместить платы на корпусе 26 і поддоне 23.
Фартук обеспечивает получение продольных і поперечных подач суппорта вручную, механически от коробки подач через ходовой вал, а также нарезание різьби при помощи ходового гвинта
Керування фартуком осуществляется одной рукояткой 90. Перемещение рукоятки при включении того или иного руху совпадает з направлением переміщення суппорта при левом вращении ходового вала, независимо от направления обертання шпинделя.
Для автоматичного отключения подач при работе по жестким упорам, а также при перегрузках фартук имеет механізм, который можно регулировать. Для налаштування на максимальное тяговое усилие необходимо винт 71 завернуть до отказа, затем вывернуть на 5 оборотів і зафиксировать гайкой.
При срабатывании механізма рукоятка 90 автоматически в нейтральное положение не возвращается і її переключение необходимо произвести вручную.
Наличие блокировочного пристроя исключает одновременной увімкнення ходового гвинта і ходового вала, а также одновременное увімкнення поздовжньої і поперечної подачі.
Суппорт крестовой конструкції имеет ручное і механическое продольное перемещение по направляющим станины і поперечное по направляющим каретки. Ручное поперечное перемещение осуществляется маховиком 28. Верстат моделі 250ИТВФ1 снабжен дополнительным механізмом — верньером, предназначенным для точного отсчета поперечных перемещений суппорта (рис. 47).
Кроме того, верхняя часть суппорта имеет независимое ручное перемещение по направляющим средней поворотной частини і може поворачиваться на 60° в сторону робочого і на 70° от робочого.
Регулювання «мертвого ходу», возникающего в результате износа гвинта і гайки поперечної подачі суппорта, производить следующим образом: снять крышку 8 і через окно в поперечної каретке ослабить гайку 33, вращая гайку 32, отрегулировать зазор так, чтобы была обеспечена плавность ходу поперечної каретки. После регулировки вновь зафиксировать гайку 33.
Суппорт снабжен двумя резцедержателями: 4-х позиционным і кассетным.
Резцедержатель установлен на верхней каретке суппорта і имеет фиксированные положения через 15°. Для замены его на резцедержатель кассетный необходимо переместить верхнюю каретку суппорта в крайнее левое положение (к шпинделю), отвернуть верхнюю гайку 18, снять з оси 8 резцовую головку 21 со всеми собранными з ней деталями, удалить пружинное кольцо 7 і снять фиксаторный диск 19; вывернуть четыре гвинта 9 і сухарь 15 (рис. 33), крепящие стойку 13 (рис. 35) і ось 8 к верхней каретке суппорта, снять ось і стойку з фиксирующими штифтами 10.
На станке установлены три трехфазных короткозамкнутых асинхронных двигуна (рис. 8): двигатель головного приводу M1 Электронасос охлаждения М3 двигатель станції змазки М2.
Двигатели і аппаратура рассчитаны на наступні величины напряжений:
За передньої бабкой установлен електрошкаф з аппаратурой керування. Ввод питающих проводов осуществляется сверху или знизу через отверстие в угольнике в трубной резьбой G1/2-В.
Применяется провод марки ПВЗ. сечением не менее 1,5 мм².
Над передньої бабкой расположены наступні органы керування.
Около выключатели сети установлена сигнальная лампочка 11 линзой белого цвета, показывающая включенное состояние вводного выключателя Q1.
На станке 250 ИТВФ1 над електрошкафом установлены блоки индикации для визуального отсчета в цифровой форме продольного і поперечного переміщення суппорта, а сзади верстата установлены датчики линейных перемещений (ДЛП):
Освещение робочого места производится светильником з гибкой стойкой, установленным з задньої стороны суппорта. Па редукторе з левой стороны установлен выключатель S3 для отключения обертання шпинделя і притормаживания двигуна головного приводу при переключении частоти обертання. С правой стороны станины установлено два выключателя S4 і S5, действующие от рукоятки керування для увімкнення і отключения обертання шпинделя, а также і его реверсирования.
При уходе за електрообладнанням необходимо периодически проверять состояние пусковой і релейной апаратури. При осмотрах релейной апаратури особое внимание следует обращать на надежное замыкание і размыкание контактных мостиков. Розташування електроаппаратов і их соединение показано на рис. 9, 10 і табл. 9, 10.
Во время експлуатации двигателей следует систематически производить их технические осмотры і профилактические ремонты. Периодичность технических осмотров устанавливается в зависимости от производственных условий, но не реже одного раза в два месяца.

Електрична схема токарно-гвинторізного верстата 250-ИТП
Схема електрична токарно-гвинторізного верстата 250-ИТП. Дивитись у збільшеному масштабі
В табл. 11 указан перечень к схеме. Перед началом роботи не обходимо убедиться, что вводный выключатель находится во включенном состоянии, о чем должна показывать сигнальная лампочка, а рукоятка керування вращением шпинделя в нейтральном (среднем) положении. Затем включается двигатель станції змазки М2.
Пуск двигуна Ml головного приводу осуществляется переводом рукоятки керування в верхнее или нижнее положение. В верхнем положении рукоятки нажимается выключатель S4, который включит пускатель К2, при етом будет прямое вращение двигуна Ml. При переключении рукоятки в нижнее положение нажимается выключатель 55, который включит пускатель КС, двигателю Ml будет обеспечено обратное вращение.
При установці рукоятки керування из верхнего или нижнего положения в нейтральное (среднее) отключится пускатель К2 или КЗ, включится реле часу К4, которое своим замыкающим контактом включит пускатель торможения К5, а другой размыкающийся контакт з выдержкой часу отключит етот пускатель. Величина выдержки настроенная на время 5 з обеспечивает торможение двигуна M1 до полного его останова.
Электродинамическое торможение происходит путем подачі постоянного тока от выпрямителя V в обмотку статора двигуна. Переключення частоти обертання редуктора осуществляется его рукояткой, действующей на выключатель S3, который размыкает ланцюг обертання двигуна і соединяет ланцюг електродинамического торможения. После переключения скорости при опускании рукоятки ланцюг обертання двигуна Ml восстанавливается.
При срабатывании тепловой защиты во время обертання шпинделя відключення двигателей происходит только після окончания обробки. После чего увімкнення обертання шпинделя возможно только після восстановления кнопки возврата теплового реле в исходное положение.
Увімкнення і відключення електронасоса охлаждения М3 производится выключателем Q2 при работающем двигателе змазки М2. Увімкнення і відключення местного освещения производится выключателем S6, установленным на светильнике. Увімкнення і відключення цифровой индикации производится выключателями, установленными непосредственно на блоках БИН-1И.
Захист от токов коротких замыканий обеспечивается плавкими предохранителями F3 .. . F5 і выключателем Q1. Захист двигателей от длительных перегрузок осуществляется тепловыми реле F1 і F2. Нулевая защита електрической схеми обеспечивается пускателем К1.
При установці верстат должен быть надежно заземлен і подключен к общей системе заземления. Болты заземления і ввод електроживлення находятся з левой стороны верстата в нижней частини електрошафи.
Для обеспечения нормальной роботи двигуна головного приводу необходимо учесть, что частота включений не должна превышать четырех г. минуту, но не более ста в час, частота реверсирования — двух в минуту, но не более пятидесяти в час.
При работе верстата з частыми пусками или реверсами необходимо регулятор тока уставки теплового реле F1 поставить в плюс до максимума или зашунтировать нагревательные елементы.
| Наименование параметра | 1И611П | 250-ИТП | 250-ИТВ | 250ИТВМ.01 |
|---|---|---|---|---|
| Основні параметри | ||||
| Класс точності по ГОСТ 8-82 | П | П | В | В |
| Наибольший диаметр заготовки устанавливаемой над станиной, мм | 260 | 300 | 300 | 300 |
| Наибольший диаметр заготовки обрабатываемой над станиной, мм | 250 | 240 | 240 | 240 |
| Наибольший диаметр заготовки над суппортом, мм | 125 | 168 | 168 | 168 |
| Наибольшая длина заготовки (РМЦ), мм | 500 | 500 | 500 | 500 |
| Наибольшая длина обточки, мм | 500 | |||
| Высота центров, мм | 135 | 150 | 150 | 150 |
| Высота резца, мм | 16 х 16 | 16 х 16 | 16 х 16 | 16 х 16 |
| Шпидель | ||||
| Диаметр сквозного отверстия в шпинделе, мм | 25 | 25 | 25 | 25 |
| Наибольший диаметр прутка, мм | 24 | 24 | 24 | 24 |
| Число ступеней частот прямого обертання шпинделя | 21 | 18 | 18 | 21 |
| Частота прямого обертання шпинделя, об/мин (число ступеней) | 20..2000 (21) | 63..3150 (18) | 63..3150 (18) | 25..2500 (21) |
| Размер внутреннего конуса в шпинделе (ГОСТ 13214) | Морзе 4 | Морзе 4 | Морзе 4 | Морзе 4 |
| Кінець шпинделя по ГОСТ 12593-72 | 4 | 4К | 4К | 4 |
| Подачи | ||||
| Наибольшая длина ходу каретки, мм | 500 | 500 | 500 | 500 |
| Наибольшее поперечное перемещение суппорта, мм | 180 | 170 | 170 | 165 |
| Продольное перемещение суппорта за один оборот лимба, мм | 20 | 20 | 20 | |
| Цена деления лимба продольного переміщення суппорта, мм | 0,1 | 0,1 | 0,1 | 0,1 |
| Цена деления лимба поперечного переміщення суппорта, мм | 0,02 | 0,02 | 0,02 | 0,05 |
| Поперечное перемещение суппорта за один оборот лимба, мм | 3 | 2 | 2 | 3 |
| Число ступеней продольных подач | 25 | 24 | 24 | 21 |
| Пределы рабочих подач продольных, мм/об | 0,01..3 (25) | 0,01..1,5 | 0,01..1,5 | 0,01..1,8 |
| Число ступеней поперечных подач | 25 | 24 | 24 | 21 |
| Пределы рабочих подач поперечных, мм/об | 0,005..1,5 | 0,005..0,75 | 0,005..0,75 | 0,005..0,9 |
| Скорость быстрых перемещений суппорта, продольных, м/мин | нет | нет | нет | нет |
| Наибольшее допустимое тяговое усилие, Н (кг) | 5000 (500) | 5000 (500) | ||
| Количество нарезаемых різьб метрических | 33 | 30 | 30 | 33 |
| Пределы шагов нарезаемых різьб метрических, мм | 0,2..48 (33) | 0,2..24 (30) | 0,2..24 (30) | 0,2..48 (33) |
| Количество нарезаемых різьб дюймовых | 26 | 21 | 21 | 26 |
| Пределы шагов нарезаемых різьб дюймовых, ниток на дюйм | 24..0,5 (26) | 24..1 (21) | 24..1 (21) | 24..0,5 (26) |
| Количество нарезаемых різьб модульных | 35 | 21 | 21 | 25 |
| Пределы шагов нарезаемых різьб модульных, модули | 0,2..30 (35) | 0,2..6 (21) | 0,2..6 (21) | 0,2..12 (25) |
| Пределы шагов нарезаемых різьб питчевых | нет | нет | нет | нет |
| Верхние салазки суппорта (Резцовые салазки) | ||||
| Наибольшее перемещение салазок, мм | 120 | 120 | ||
| Цена деления лимба переміщення салазок, мм | 0,05 | 0,02 | 0,02 | |
| Перемещение салазок за один оборот лимба, мм | 3 | |||
| Різьбопокажчик | нет | нет | нет | нет |
| Блокировка | есть | есть | есть | есть |
| Предохранение от перегрузок | есть | есть | есть | есть |
| Выключающие упоры продольные і поперечные | есть | есть | есть | есть |
| Быстрый ход | нет | нет | нет | нет |
| Задня бабка | ||||
| Центр в пиноли задньої бабки | Морзе 3 | Морзе 3 | Морзе 3 | Морзе 3 |
| Наибольшее перемещение пиноли задньої бабки, мм | 85 | 85 | ||
| Цена деления линейки/ лимба переміщення пиноли задньої бабки, мм | 1/ 0,05 | 1/ 0,05 | ||
| Поперечное смещение задньої бабки, мм | ±10 | ±10 | ±10 | ±10 |
| Електроустаткування | ||||
| Количество електродвигателей на станке | 3 | 3 | 3 | 3 |
| Мощность електродвигуна головного привода, кВт (об/мин) | 3 (1420) | 3 (1430) | 3 (1430) | 3 (1410) |
| Тип електродвигуна головного привода | АОЛ2-32-4 | АИР100S4ПУ3 | ||
| Мощность електродвигуна станції змазки, кВт (об/мин) | 0,08 (1390) | 0,09 (2700) | 0,09 (2700) | 0,09 (1350) |
| Тип електродвигуна гідростанції | АОЛ-012-4 | |||
| Тип станції змазки | С48-12М | С48-12М | ||
| Мощность електродвигуна насоса охлаждения, кВт (об/мин) | 0,15 (2800) | 0,12 (2800) | 0,12 (2800) | 0,18 (3000) |
| Насос охлаждения (помпа) | ПА-22 | ПА-25МС | ||
| Габарити і масса верстата | ||||
| Габарити верстата (длина ширина высота), мм | 1770_970_1300 | 1790_810_1400 | ||
| Масса верстата, кг | 1120 | 1180 |