metalinstryment.com
Довідник по металорізальних верстатів та пресовому обладнанні

692М Верстат шпоночно-фрезерный вертикальний
схеми, опис, характеристики

692М Верстат фрезерный шпоночный







Відомості про виробника шпоночно-фрезерного верстата 692М

Производитель специального шпоночно-фрезерного верстата 692М Дмитровский завод фрезерных верстатів, основанный в 1940 году.

Основной продукцией завода, в настоящее время, є универсальные консольно-фрезерные верстати гаммы «6К» і «6ДМ».





Верстати, выпускаемые Дмитровским заводом фрезерных верстатів, ДЗФС


692М Верстат шпоночно-фрезерный вертикальний. Назначение, область применения

Специальный шпоночно-фрезерный верстат 692М консольного типа з вертикально расположенным шпинделем сконструирован на базе моделі 692а запущенной в серию примерно в 1954 году.

Специализированные фрезерные верстати 692М применяют в серийном производстве для обробки деталей, сходных по конфигурации, но различных по размеру.

Шпоночно-фрезерный верстат 692М предназначен для обробки шпоночных пазов на валах мерными шпоночными і кінцівыми фрезами.

На станке 692М могут обрабатываться шпоночные пазы шириной от 4 до 24 мм в напівавтоматическом цикле (маятниковым циклом мерным инструментом).

Особливості конструкції верстата

Продольная подача осуществляется переміщенням фрезерной головки по направляющим головки станины.

Вертикальная подача — пинолью шпинделя.

Привід всех перечисленных движений гідравлический. Кроме того, на станке имеются установочные ручні переміщення:

Маятниковый цикл шпоночно-фрезерного верстата 692М

Маятниковый цикл шпоночно-фрезерного верстата 692М



Модифікації шпоночно-фрезерного верстата 692

692д - 1990 год. Ширина шпоночного паза от 4 до 25 мм в напівавтоматическом цикл, диаметр вала 12..75 мм

692р-1 - 1976 год. Верстат шпоночно-фрезерный

6д92р-1 - верстат шпоночно-фрезерный з горизонтальным шпинделем

692р - 1975 год. Ширина шпоночного паза от 4 до 25 мм, глубина до 26 мм, длина 5..300 мм. Диаметр вала 12..75 мм

6д92 - 1973 год. Ширина шпоночного паза от 6 до 32 мм. Горизонтальный шпиндель. Диаметр вала до 120 мм.

692м - 1965 год. Ширина шпоночного паза от 4 до 24 мм, глубина до 40 мм, длина 5..300 мм

692а - 1954 год. Ширина шпоночного паза от 3 до 20 мм, глубина до 26 мм, длина 5..300 мм


Габаритные розміри робочого простору і посадочные базы шпоночно-фрезерного верстата 692М

Габаритные розміри робочого простору і посадочные базы шпоночно-фрезерного верстата 692М

Посадочные і присоединительные базы шпоночно-фрезерного верстата 692М

Габаритные розміри робочого простору і посадочные базы верстата 692М. Скачать в увеличенном масштабе



Загальний вигляд шпоночно-фрезерного верстата 692М

692М Фото шпоночно-фрезерного верстата

Фото шпоночно-фрезерного верстата 692М



692М Фото шпоночно-фрезерного верстата

Фото шпоночно-фрезерного верстата 692М

Фото шпоночно-фрезерного верстата 692М. Скачать в увеличенном масштабе



Розташування складових частин шпоночно-фрезерного верстата 692М

692М составные частини шпоночно-фрезерного верстата 692М

Розташування основних вузлів фрезерного верстата 692М



Складні частини шпоночно-фрезерного верстата 692М

  1. основание;
  2. колонка;
  3. консоль;
  4. салазки;
  5. стол;
  6. система охлаждения инструмента;
  7. головка;
  8. шпиндельна каретка;
  9. дроссель налаштування скорости горизонтальной подачі;
  10. лимб налаштування вертикальной подачі;
  11. лимб налаштування глубины шпоночного паза;
  12. рукоятка переміщення гильзы шпинделя;
  13. рукоятка керування гідросистемой;
  14. кнопочная станція;
  15. маховик установки длины фрезерування;
  16. винт остановки каретки;
  17. рукоятка переміщення стола;
  18. рукоятка переміщення салазок;
  19. рукоятки переміщення консоли;




Розташування органів керування шпоночно-фрезерным верстатом 692М

Розташування органів керування шпоночно-фрезерным верстатом 692М

Розташування органів керування шпоночно-фрезерным верстатом 692М



Розташування органів керування шпоночно-фрезерным верстатом 692М

Розташування органів керування шпоночно-фрезерным верстатом 692М



Розташування органів керування шпоночно-фрезерным верстатом 692М

Розташування органів керування шпоночно-фрезерным верстатом 692М







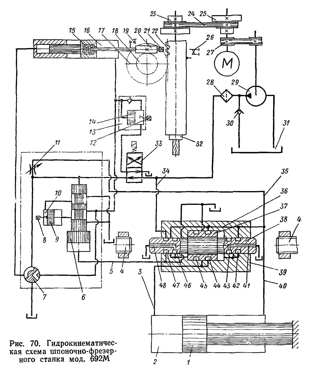
Кінематична схема шпоночно-фрезерного верстата 692М

Кінематична схема шпоночно-фрезерного верстата 692М

Кінематична схема шпоночно-фрезерного верстата 692М

Кінематична схема шпоночно-фрезерного верстата 692М. Скачать в увеличенном масштабе



Рух в станке

Главное движение — вращательное рух шпинделя.

Рух подачі — продольное возвратно-поступательное перемещение каретки і периодическое, на каждый ход каретки, вертикальное перемещение гильзы со шпинделем.

Вспомогательные руху — ручні установочные переміщення консоли по вертикали, салазок в поперечном, стола в продольном і гильзы шпинделя в вертикальном направлениях.

Рассмотрим гідрокинематическую схему верстата (рис. 70). Ланцюг головного руху. Шпиндель верстата приводится от двухскоростного електродвигуна М (N=1,6/ 1,1 кВт, п = 1440/ 950 об/мин) через ступенчато-шкивную клиноременную передачу. Шкивы 25 і 23 на двигателе і шпинделе 32 имеют по три ручья разного диаметра. Шкивы связаны одним клиновым ремнем 24 і можно поменять местами. Шпиндель верстата, таким образом, получит 12 различных частот вращений за счет переключения ступеней скорости електродвигуна, перебрасывания ремня з одной пары ручьев на другую і взаимной перестановки шкивов.

Диапазон изменения частот обертання шпинделя равен 375..3750 об/мин. С вала електродвигуна з помощью еще одной клиноременной передачи 27 передається рух насосу 29 гідравлічного привода.

Ланцюг подач і вспомогательных движений (гідравлическая схема). Для возвратно-поступательного продольного руху каретки і периодической подачі шпинделя используют гідравлический привод. Масло из бака 31 нагнетается лопастным насосом 29 через пластинчатый фильтр 28 і електрозолотник 33 в гідравлическую систему. Давление масла в системе регулируется напорным золотником 30. Рух каретки осуществляется от цилиндра 2 з диференціальным поршнем 1. Скорость етого руху регулируется дросселем 11.

Возвратно-поступательным движением каретки управляет реверсивный золотник 37, расположенный в корпусе 39, который, как і цилиндр 2, закреплен на каретке. При нахождении реверсивного золотника в левой позиции масло по трубопроводам 35, 36, 40 і кольцевую выточку 44 золотника поступает в обе полости диференціального цилиндра, который начинает рух влево. Когда реверсивный золотник смещается вправо, масло продолжает поступать в штоковую полость цилиндра, а из другой полости идет по трубопроводу 3 і выточке 45 на слив — цилиндр движется вправо.

Перемещением реверсивного золотника, в свою очередь, управляет вспомогательный золотник 38. Когда вспомогательный золотник находится в левой позиции, масло по трубопроводу 36, выточке 42 золотника поступает в правую полость корпуса, а излевой полости по выточке 46 і каналу 48 поступает на слив, поетому реверсивный золотник смещается влево. При смещении вспомогательного золотника вправо масло по трубопроводу 36 і выточке 47 поступает в левую полость корпуса, а из правой полости по выточке 43 і каналу 41 — на слив, в результате етого реверсивный золотник перемещается вправо.

Таким образом, в каком направлении смещается вспомогательный золотник, в таком же направлении перемещается реверсивный золотник і в ту же сторону движется каретка верстата.

Вспомогательный золотник в кінці каждого ходу каретки перемещается упорами 4. При подходе каретки к крайнему положению вспомогательный золотник останавливается упором, но так как каретка продолжает движение, то вспомогательный золотник перемещается относительно корпуса 39 в противоположную позицию, что вызывает перемещение реверсивного золотника і изменение направления руху каретки. Это будет происходить до тех пор, пока не будет выключен насос или вывернут какой-либо упор. В післяднем случае каретка остановится в одном из крайних положений, так как вспомогательный золотник не переключится.

В кінці каждого ходу каретки необходимо сообщить шпинделю периодическую вертикальную подачу вниз. Для етого необходимо червяк 20 переместить вдоль его оси вправо на определенную величину, тогда червяк повернет червячное колесо 18 і зубчатое колесо 17, которое через рейку на гильзе 22 сообщит шпинделю перемещение вниз.

Осевое смещение червяку сообщает поршень 15, левый торец которого находится под давлением масла (рукоятка крана 7 установлена в среднем положении), а из правой полости цилиндра 16 периодически, в кінці каждого ходу каретки, выпускается порция масла, объем которой определяет величину осьового смещения червяка. Выпуском масла из цилиндра управляет дозирующий золотник 6, который в верхнем положении пропускает масло в правую полость дозатора 10, а левую его полость соединяет со сливом. В нижнем положении дозирующий золотник направляет масло в левую полость дозатора, а правую соединяет со сливом. Ход поршня 9 дозатора, регулируемый винтом 8, определяет порцию масла, выпускаемую из цилиндра дозатора.

В свою очередь, дозирующий золотник управляется вспомогательным золотником 38. При переключении вспомогательного золотника в правую позицию нижняя полость дозирующего золотника соединяется со сливом через трубопровод 5 і выточку 46, золотник опускается вниз, так как верхняя его полость находится постоянно под давлением жидкости. Когда вспомогательный золотник переключен в левую позицию, масло под давлением по трубопроводу 34 і выточке 17 подводится в нижнюю полость дозирующего золотника і он занимает верхнее положение, так как диаметр его нижнего поршня больше диаметра верхнего поршня.

Таким образом, вспомогательный золотник, переключаясь в кінці каждого ходу каретки, перемещает дозирующий золотник, который пропускает порции масла из цилиндра 16 к дозатору 10. В результате дискретно перемещается поршень 15 з червяком 20 і гильза со шпинделем до тех пор, пока фреза не опустится на полную глубину шпоночного паза.

Быстрый возврат шпинделя в верхнее исходное положение можно осуществить поворотом рукоятки крана 7 влево. В етом случае поворотный кран соединит правую полость цилиндра 16 з нагнетательным трубопроводом, а левую — со сливом. Поворотом рукоятки крана вправо изменяют направление потока масла в цилиндре 16 і получают быстрое перемещение шпинделя вниз.

В гідравлической схеме предусмотрена возможность швидкого подвода фрезы к заготовке на вполне определенную величину при включении верстата. Для етой цели служит дозатор 13 швидкого подвода. При включении верстата срабатывает електрозолотник 33 і соединяет правую полость дозатора 15 со сливом, поетому из правой полости цилиндра 16 масло вытесняется в левую полость дозатора. В результате шпиндель быстро опускается. Величина етого переміщення шпинделя определяется объемом масла, вытесняемого из правой полости цилиндра 16 в дозатор 13, і регулируется винтом 12, который ограничивает перемещение поршня 14.

При выключении електрозолотника масло поступает в штоковую полость цилиндра, а из другой полости идет на слив, поетому шпиндель быстро перемещается вверх. Ручное перемещение шпинделя по вертикали осуществляют вращением червяка 20 за квадратную головку 21.

На станке возможна робота не только в ручном режиме, но і напівавтоматическом. В етом случае руху в станке осуществляют в такой післядовательности. При включении кнопки «Пуск» верстата включается електродвигатель шпинделя, насос і електрозолотник. Шпиндель быстро перемещается вниз на величину,- отрегулированную дозатором 13. Каретка совершает возвратно-поступательные переміщення і на каждый її ход выполняется периодическая вертикальная подача шпинделя до тех пор, пока не замкнутся контакты 19 і не включат електромагнит золотника 33. Тогда масло поступит в правую полость цилиндра і произойдет быстрый подъем шпинделя. В кінці ходу шпинделя вверх разомкнутся контакты 26, выключающие електродвигатель верстата. Цикл закончится. Для его повторения необходимо снова нажать кнопку «Пуск».


Налаштування длины фрезерування шпоночно-фрезерного верстата 692М

Налаштування длины фрезерування шпоночно-фрезерного верстата 692М



Налаштування глубины фрезерування шпоночно-фрезерного верстата 692М

Налаштування глубины фрезерування шпоночно-фрезерного верстата 692М



Гідравлічна схема шпоночно-фрезерного верстата 692М

Гідравлічна схема шпоночно-фрезерного верстата 692М

Гідравлічна схема шпоночно-фрезерного верстата 692М

Гідравлічна схема шпоночно-фрезерного верстата 692М. Скачать в увеличенном масштабе






692М Верстат шпоночно-фрезерный вертикальний. Відеоролик.





Технічні характеристики верстата 692М

Наименование параметра 692Д 692Р 692М
Основні параметри верстата
Класс точності по ГОСТ 8-71 і ГОСТ 8-82 Н Н Н
Наибольший диаметр устанавливаемой заготовки, мм 12..75
Ширина обрабатываемого паза, мм 4..25 4..25 4..24
Наибольшая глубина обрабатываемого паза при соблюдении требований ГОСТ 23360—78 (ГОСТ 7257-58, ГОСТ 8788-68), мм 9 10
Наибольшая полная глубина обрабатываемого паза, мм 26 26 40
Наибольший диаметр фрезы, устанавливаемой на станке, мм 25
Продольное перемещение фрезерной головки, мм 5..400 5..300 5..300
Наибольшее перемещение гильзы шпинделя от руки, мм 100 100 100
Наибольшее перемещение гильзы шпинделя от гідропривода, мм 40 40 40
Ускоренное перемещение перемещение гильзы шпинделя от гідропривода, мм 14 14 -
Розміри рабочей поверхности стола (длина х ширина), мм 1000 х 250 1000 х 250 800 х 200
Число Т-образных пазов Розміри Т-образных пазов 3 3 3
Розміри Т-образного среднего паза, мм 14Н8 14А3
Розміри Т-образных крайних пазов, мм 14Н11 14А4
Установочное продольное/ вертикальное/ поперечное перемещение стола вручную, мм 650/ 350 630/ 300/ 300 440/ 300/ 160
Поперечное перемещение стола от гідроприводу (Величина разбивки обрабатываемого паза при калибровке), мм 0,01..1,0 0,01..1,0 -
Поперечное установочное перемещение оси шпинделя от среднего паза стола в обе стороны, мм ±5 ±5
Внутренний конус шпинделя 7:24, по ГОСТ 24644—81 (ГОСТ 15945-70) 40 40 КМ3
Число ступеней частот обертання шпинделя 11 11 12
Частота обертання шпинделя, об/мин 400..4000 315..3150 375..3750
Рабочие подачі фрезерной головки - продольная, мм/мин 20..1400 250..1200 450..1200
Рабочие подачі фрезерной головки - вертикальная при однопроходном цикле, мм/мин 16..140
Рабочие подачі гильзы шпинделя на врезание - при маятниковом цикле, мм/мин 0,05..0,5 0,05..0,5 0,05..0,5
Скорость швидкого переміщення гильзы шпинделя (подвод, отвод), мм/мин 200 200
Привод
Количество електродвигателей на станке 3 3 2
Електродвигун приводу головного руху, кВт (об/мин) 2,2 (1500) 2,2 1,1/ 1,6 (950/ 1440)
Електродвигун насоса гідравлики, кВт (об/мин) 1,1 (1000) 1,1 -
Електродвигун насоса охлаждающей жидкости, кВт (об/мин) 0,12 (3000) 0,12 0,125 (2800)
Суммарная мощность електродвигателей, кВт 3,42 3,42
Габарит і масса верстата
Габарити верстата (длина ширина высота), мм 1615 х 1600 х 2210 2080 х 1640 х 1860 1520 х 1400 х 1750
Масса верстата, кг 2250 1800 1250











Мужчина считается толковым работником, пока не доказано противное; женщина считается бестолковой, пока не докажет обратное.

Закон Мерфи