metalinstryment.com
Довідник по металорізальних верстатів та пресовому обладнанні

6Н81А Верстат консольно-фрезерный широкоуніверсальний
паспорт, схеми, опис, характеристики

6Н81А Верстат фрезерный консольный







Відомості про виробника консольно-фрезерного верстата 6Н81А

Производитель серии фрезерных верстатів 6Р11, 6Р81, 6Р81Г, 6Н81А Дмитровский завод фрезерных верстатів, основанный в 1940 году.

Основной продукцией завода является широкая гамма универсальных консольно-фрезерных верстатів з размером робочого стола от 250 x 630 мм до 400 x 1600 мм.





Верстати, выпускаемые Дмитровским заводом фрезерных верстатів, ДЗФС


6Н81А Верстат консольный фрезерный широкоуніверсальний. Назначение і область применения

Широкоуніверсальний консольно-фрезерный верстат 6Н81А з поворотной фрезерной головкой предназначен для обробки небольших изделий из стали, чугуна, цветных металлов і пластмасс цилиндрическими, торцовыми, дисковыми, угловыми і специальными фрезами.

Принцип роботи і особливості конструкції верстата

Шпиндель верстата 6Н81А може поворачиваться в вертикальной плоскости на 115° і занимать горизонтальное, вертикальное і наклонное положение.

При наличии делительной головки на станке 6Н81А можно обрабатывать зубчасті колеса з прямым і спиральным зубом, спиральные сверла, і подобные вироби.

Основні розміри верстата соответствуют ГОСТ 165-49, нормы точності соответствуют ГОСТ 154-41, ГОСТ- 155-41.

Верстат 6Н81А состоит из следующих вузлів:

  1. Станина;
  2. Ползун;
  3. Коробка подач;
  4. Редуктор;
  5. Коробка реверса;
  6. Механізм переключения подач;
  7. Консоль;
  8. Стол;
  9. Охлаждение;
  10. Смазка;
  11. Електроустаткування;
  12. Принадлежности.

Наиболее известные серии консольно-фрезерных верстатів, выпускаемых ДЗФС:


Верстати консольно-фрезерные. Загальні відомості

Горизонтальные консольно-фрезерные верстати имеют горизонтально расположенный, не меняющий своего места шпиндель. Стол може перемещаться перпендикулярно к оси шпинделя в горизонтальном і вертикальном направлениях і вдоль оси, параллельной ей.

Універсальные консольно-фрезерные верстати отличаются от горизонтальных тем, что имеют стол, который може поворачиваться на требуемый угол.

Вертикальные консольно-фрезерные верстати имеют вертикально расположенный шпиндель, перемещающийся вертикально і в некоторых моделях поворачивающийся. Стол може перемещаться в горизонтальном направлении перпендикулярно к оси шпинделя і в вертикальном направлении.

Широкоуниверсальные консольно-фрезерные верстати в отличие от универсальных имеют помимо основного горизонтального шпинделя накладную поворотную головку со шпинделем, поворачивающимся вокруг вертикальной і горизонтальной осей.

Бесконсольно-фрезерные верстати имеют шпиндель, расположенный вертикально і перемещающийся в етом направлении. Стол перемещается только в продольном і поперечном направлениях.

Консольно-фрезерные верстати горизонтальные і вертикальные - ето наиболее распространенный тип верстатів, применяемых для фрезерных работ. Название консольно-фрезерные верстати получили от консольного кронштейна (консоли), который перемещается по вертикальным направляющим станины верстата і служит опорой для горизонтальных перемещений стола.

Типорозміри консольно-фрезерных верстатів принято характеризовать по величине рабочей (крепежной) поверхности стола. Консольно-фрезерные верстати могут мати горизонтальное, универсальное (широкоуниверсальные) і вертикальное виконання при одной і той же величине рабочей поверхности стола. Сочетание разных исполнений верстата при одинаковой основной размерной характеристике стола называют размерной гаммой верстатів.

В СССР было освоено производство консольно-фрезерных верстатів пяти типорозмірів:
№ 0; № 1; № 2; № 3 і № 4, причем по каждому размеру выпускалась полная гамма верстатів — горизонтальные, универсальные і вертикальные. Каждый верстат одной размерной гаммы имел в шифре одинаковое обозначение, соответствующее размеру рабочей поверхности стола.

В зависимости от размера рабочей поверхности стола различают наступні розміри консольно-фрезерных верстатів:

Размер Гамма верстатів Размер стола, мм
0 6Р10, 6Р80, 6Р80Г, 6Р80Ш 200 х 800
1 6Н11, 6Н81, 6Н81Г, 6Н81А; 6Р11, 6Р81, 6Р81Г, 6Р81Ш 250 х 1000
2 6М12П, 6М82, 6М82Г; 6Р12, 6Р82, 6Р82Ш; 6Т12, 6Т82, 6Т82Г, 6Т82Ш 320 х 1250
3 6М13П, 6М83, 6М83Г; 6Р13, 6Р83; 6Т13, 6Т83, 6Т83Г 400 х 1600
4 6М14П, 6М84, 6М84Г 500 х 2000

В соответствии з размерами стола меняются габаритные розміри самого верстата і его основних вузлів (станины, стола, салазок, консоли, хобота), мощность електродвигуна і величина наибольшего переміщення (хода) стола в продольном, салазок в поперечном і консоли в вертикальном направлениях.



Габарит робочого простору широкоуніверсального фрезерного верстата 6Н81А

6Н81А Габарит робочого простору фрезерного верстата

Габарит робочого простору фрезерного верстата 6Н81А

Габарит робочого простору фрезерного верстата 6Н81А. Дивитись у збільшеному масштабі



Загальний вигляд вертикального консольно-фрезерного верстата 6Н81А

Загальний вигляд  і точки змазки фрезерного верстата 6Н81А

Загальний вигляд і точки змазки консольно-фрезерного верстата 6Н81А

Загальний вигляд і точки змазки фрезерного верстата 6Н81А. Дивитись у збільшеному масштабі



Фото фрезерного верстата 6Н81А

Фото консольно-фрезерного верстата 6Н81А

Фото фрезерного верстата 6Н81А. Дивитись у збільшеному масштабі



Фото фрезерного верстата 6Н81А

Фото консольно-фрезерного верстата 6Н81А

Фото фрезерного верстата 6Н81А. Дивитись у збільшеному масштабі



Фото фрезерного верстата 6Н81А

Фото консольно-фрезерного верстата 6Н81А

Фото фрезерного верстата 6Н81А. Дивитись у збільшеному масштабі



Фото фрезерного верстата 6Н81А

Фото консольно-фрезерного верстата 6Н81А

Фото фрезерного верстата 6Н81А. Дивитись у збільшеному масштабі



Фото фрезерного верстата 6Н81А

Фото консольно-фрезерного верстата 6Н81А

Фото фрезерного верстата 6Н81А. Дивитись у збільшеному масштабі



Розташування органів керування фрезерным верстатом моделі 6Н81А

6Н81А Розташування органів керування фрезерным верстатом модели

Розташування органів керування фрезерным верстатом моделі 6Н81А

1. Розташування органів керування фрезерным верстатом моделі 6Н81А. Дивитись у збільшеному масштабі

2. Розташування органів керування фрезерным верстатом моделі 6Н81А. Дивитись у збільшеному масштабі

3. Розташування органів керування фрезерным верстатом моделі 6Н81А. Дивитись у збільшеному масштабі







Кінематична схема широкоуніверсального фрезерного верстата 6Н81А

Кінематична схема широкоуніверсального фрезерного верстата 6Н81А

Кінематична схема фрезерного верстата 6Н81А

1. Кінематична схема широкоуніверсального фрезерного верстата 6Н81А. Скачать в увеличенном масштабе

2. Опис кінематичної схеми широкоуніверсального фрезерного верстата 6Н81А. Скачать в увеличенном масштабе

3. Кінематична схема широкоуніверсального фрезерного верстата 6Н81А. Скачать в увеличенном масштабе



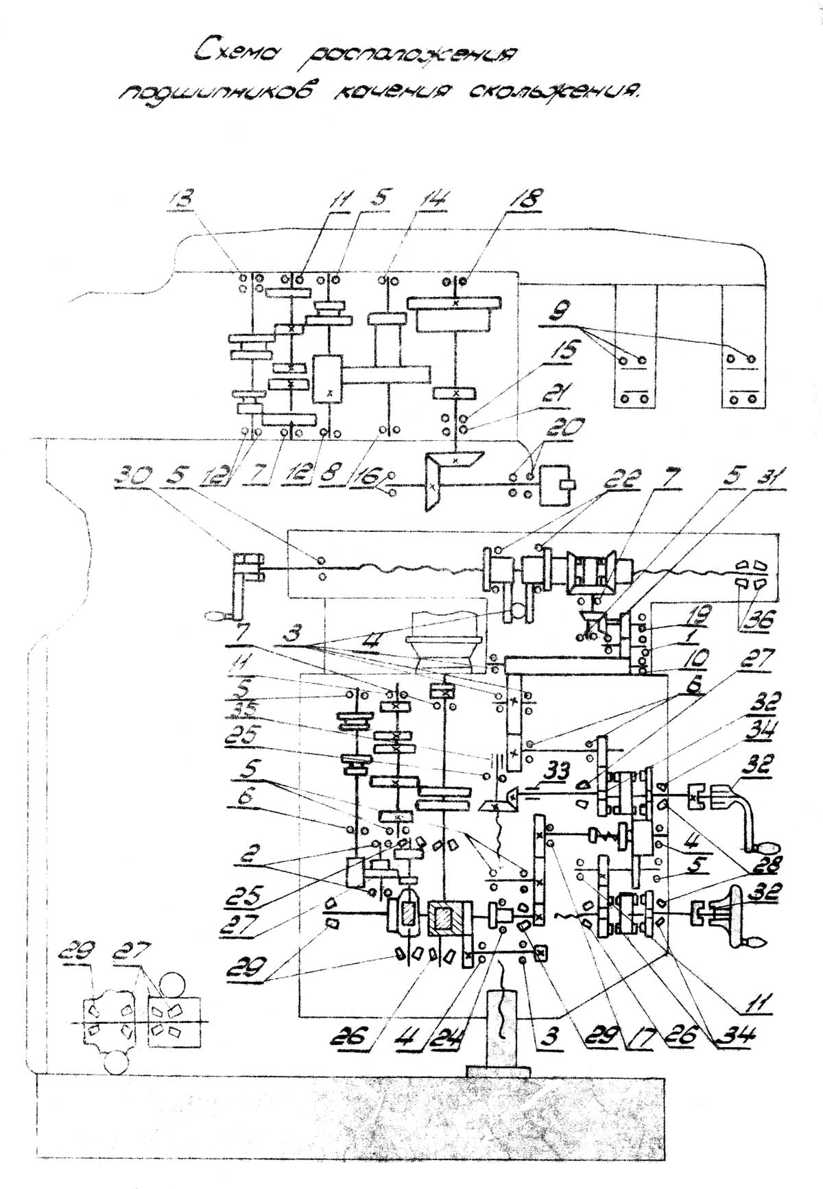
Схема розположення підшибників широкоуніверсального фрезерного верстата 6Н81А

Схема розположення підшибників широкоуніверсального фрезерного верстата 6Н81А

Схема розположення підшибників фрезерного верстата 6Н81А

1. Схема розположення підшибників широкоуніверсального фрезерного верстата 6Н81А. Скачать в увеличенном масштабе

2. Схема розположення підшибників широкоуніверсального фрезерного верстата 6Н81А. Скачать в увеличенном масштабе



Ползун широкоуніверсального фрезерного верстата 6Н81А

Ползун широкоуніверсального фрезерного верстата 6Н81А

Ползун фрезерного верстата 6Н81А

Ползун широкоуніверсального фрезерного верстата 6Н81А. Скачать в увеличенном масштабе



Консоль широкоуніверсального фрезерного верстата 6Н81А

Консоль широкоуніверсального фрезерного верстата 6Н81А

Консоль фрезерного верстата 6Н81А

Консоль широкоуніверсального фрезерного верстата 6Н81А. Скачать в увеличенном масштабе



Налаштування широкоуніверсального фрезерного верстата 6Н81А

Налаштування широкоуніверсального фрезерного верстата 6Н81А

Налаштування фрезерного верстата 6Н81А

Налаштування широкоуніверсального фрезерного верстата 6Н81А. Скачать в увеличенном масштабе



Установка инструмента широкоуніверсального фрезерного верстата 6Н81А

Установка инструмента широкоуніверсального фрезерного верстата 6Н81А

Установка инструмента фрезерного верстата 6Н81А

Установка инструмента широкоуніверсального фрезерного верстата 6Н81А. Скачать в увеличенном масштабе



Схема електрична широкоуніверсального консольно-фрезерного верстата 6Н81А

Схема електрична широкоуніверсального консольно-фрезерного верстата 6Н81А

Електрична схема широкоуніверсального консольно-фрезерного верстата 6Н81А

Схема електрична широкоуніверсального консольно-фрезерного верстата 6Н81А. Дивитись у збільшеному масштабі









6Н81А Верстат консольно-фрезерный широкоуніверсальний. Відеоролик.



Технічні характеристики верстата 6Н81А

Наименование параметра 6Н81Г 6Н81 6Н81А
Основні параметри верстата
Класс точності по ГОСТ 8-71 і ГОСТ 8-82 Н Н Н
Розміри рабочей поверхности стола (длина х ширина), мм 1000 х 250 1000 х 250 1000 х 250
Наименьшее і наибольшее расстояние (в горизонтальном положении) от оси шпинделя до стола 30..380 30..340 30..440
Расстояние от оси шпинделя (в горизонтальном положении) до хобота, мм 150 150 157
Наибольшее расстояние от среднего паза стола до вертикальних направляючих станины, мм 370
Расстояние от края стола до вертикальних направляючих станины, мм 45..245
Расстояние от торца шпинделя (в вертикальном положении) до поверхности стола, мм - - 0..235
Расстояние от оси шпинделя (в вертикальном положении) до вертикальних направляючих станины, мм - - 0..325
Наибольший угол поворота шпиндельной головки от горизонтального положения, град - - 115°
Рабочий стол
Число Т-образных пазов Розміри Т-образных пазов 3 3 3
Наибольшее перемещение стола продольное от руки/ от двигуна (ось X), мм 600/ 560 600/ 560 600/ 560
Наибольшее перемещение стола поперечное от руки/ от двигуна (ось Y), мм 200/ 190 200/ 190 200/ 190
Наибольшее перемещение стола вертикальное от руки/ от двигуна (ось Z), мм 400/ 350 350/ 340 410/ 350
Наибольший угол поворота стола, град нет ±45° +45° -35°
Цена одного деления шкалы поворота стола, град нет 1 1
Перемещение стола на одно деление лимба (продольное, поперечное), мм 0,05 0,05 0,05
Перемещение стола на одно деление лимба (вертикальное), мм 0,025 0,025 0,025
Перемещение стола на один оборот лимба продольное і поперечное, мм 6 6 6
Перемещение стола на один оборот лимба вертикальное, мм 3 3 3
Шпиндельная головка. Шпиндель
Частота обертання шпинделя, об/мин (число ступеней) 65..1800 (16) 65..1800 (16) 65..1800 (16)
Количество швидкостей шпинделя 16 16 16
Ескіз кінця шпинделя ГОСТ 836-47 ГОСТ 836-47 ГОСТ 836-47
Конус шпинделя 45 45
Кінець шпинделя № 2
Наибольшее горизонтальное перемещение шпиндельной головки, мм - - 500
Длина линейки для измерения переміщення шпиндельной головки, мм - - 500
Наибольший допустимый крутящий момент на шпинделе Нм 525 525
Механіка верстата
Число ступеней рабочих подач стола 16 16 16
Пределы рабочих подач. Продольных (ось X), мм/мин (число подач) 35..980 35..980 35..1020
Пределы рабочих подач. Поперечных (ось Y), мм/мин 25..765 25..765 28..790
Пределы рабочих подач. Вертикальных (ось Z), мм/мин 12..380 12..380 14..390
Быстрый ход стола продольный (ось X), м/мин 2,9 2,9 2,9
Быстрый ход стола поперечний (ось Y), м/мин 2,3 2,3 2,3
Быстрый ход стола вертикальний (ось Z), м/мин 1,15 1,15 1,15
Выключающие упоры подачі (поздовжньої, поперечної, вертикальной) есть есть есть
Блокировка ручной і механической подачі (поздовжньої) нет нет нет
Блокировка ручной і механической подачі (поперечної, вертикальной) есть есть есть
Торможение шпинделя (муфта) есть есть есть
Предохранение от перегрузки (муфта) есть есть есть
Привод
Число електродвигателей на станке 3 3 3
Електродвигун приводу головного руху, кВт (об/мин) 4,5 4,5 2,8 (1420)
Електродвигун приводу подач, кВт 1,7 1,7 1,7
Электронасос охлаждающей жидкости Тип ПА-22 ПА-22 ПА-22
Електродвигун насоса охлаждающей жидкости, кВт 0,125 0,125 0,125
Производительность насоса СОЖ, л/мин 22 22 22
Общая мощность всех електродвигателей верстата 6,325 6,325 4,625
Габарит і масса верстата
Габарити верстата (длина ширина высота), мм 2060 х 1940 х 1600 2060 х 1940 х 1600 2100 х 2400 х 1715
Масса верстата, кг 2000 2100 2100


    Список литературы:

  1. Універсальный консольно-фрезерный верстат з поворотной головкой 6Н81А. Паспорт і руковдство, 1967

  2. Аврутин С.В. Основы фрезерного дела, 1962
  3. Аврутин С.В. Фрезерне дело, 1963
  4. Ачеркан Н.С. Металлорежущие верстати, Том 1, 1965
  5. Барбашов Ф.А. Фрезерне дело 1973, с.141
  6. Барбашов Ф.А. Фрезерные роботи (Профтехобразование), 1986
  7. Блюмберг В.А. Справочник фрезеровщика, 1984
  8. Григорьев С.П. Практика координатно-расточных і фрезерных работ, 1980
  9. Копылов Р.Б. Работа на фрезерных верстатах,1971
  10. Косовский В.Л. Справочник молодого фрезеровщика, 1992, с.180
  11. Кувшинский В.В. Фрезерование,1977
  12. Ничков А.Г. Фрезерные верстати (Библиотека станочника), 1977
  13. Пикус М.Ю. Справочник слесаря по ремонту металлорежущих верстатів, 1987
  14. Плотицын В.Г. Расчёты настроек і наладок фрезерных верстатів, 1969
  15. Плотицын В.Г. Наладка фрезерных верстатів,1975
  16. Рябов С.А. Современные фрезерные верстати і их оснастка, 2006
  17. Схиртладзе А.Г., Новиков В.Ю. Технологическое обладнання машиностроительных производств, 1980
  18. Тепинкичиев В.К. Металлорежущие верстати, 1973
  19. Чернов Н.Н. Металлорежущие верстати, 1988
  20. Френкель С.Ш. Справочник молодого фрезеровщика (3-е изд.) (Профтехобразование), 1978







6Н81А - верстат широкоуніверсальний консольно-фрезерный, (pdf) 1,6 Мб, Скачать





Мужчина считается толковым работником, пока не доказано противное; женщина считается бестолковой, пока не докажет обратное.

Закон Мерфи