metalinstryment.com
Довідник по металорізальних верстатів та пресовому обладнанні

6К82Ш Верстат консольно-фрезерный широкоуніверсальний
схеми, опис, характеристики

6К82Ш Верстат консольно-фрезерный широкоуніверсальний







Відомості про виробника консольно-фрезерного верстата 6К82Ш

Производитель серии фрезерных верстатів 6К82Ш Дмитровский завод фрезерных верстатів, основанный в 1940 году.

Основной продукцией завода является широкая гамма универсальных консольно-фрезерных верстатів з размером робочого стола от 250 x 630 мм до 400 x 1600 мм.





Верстати, выпускаемые Дмитровским заводом фрезерных верстатів, ДЗФС


6К82Ш Верстат фрезерный консольный широкоуніверсальний. Назначение і область применения

Консольно-фрезерный верстат 6К82Ш предназначен для фрезерування всевозможных деталей из стали, чугуна і цветных металлов цилиндрическими, дисковыми, фасонными, угловыми, торцовыми, кінцівыми і другими фрезами в условиях индивидуального і серийного производства.

На станке 6К82Ш можно обрабатывать вертикальные і горизонтальные плоскости, пазы, углы, рамки, зубчасті колеса, можно фрезеровать всевозможные спирали, для чего стол его поворачивается вокруг своей вертикальной оси.

Фрезерные верстати 6К82Ш предназначены для выполнения различных фрезерных работ в условиях как индивидуального, так і крупносерийного производства. В условиях крупносерийного производства верстати могут быть успешно использованы также для выполнения работ операционного характера.

Широкоуніверсальний фрезерный верстат 6К82Ш является модификацией горизонтально-фрезерного верстата 6К82Г. Верстат имеет два шпинделя, из которых один горизонтальный, как у верстата 6К82Г, второй расположен в поворотной головке і може быть установлен под углом ±90° в поздовжньої плоскости стола і под углом ±45° в поперечної плоскости стола.

Технічна характеристика і высокая жесткость верстатів позволяют полностью использовать возможности как быстрорежущего, так і твердосплавного инструмента.

Технологические возможности верстата могут быть расширены з применением делительной головки, поворотного круглого стола, накладной универсальной головки і других пристосувань.

Верстати 6К82Ш автоматизированы і могут быть настроены на различные, автоматические циклы, что повышает производительность труда, исключает необходимость обслуживания верстатів рабочими високою квалификации і облегчает возможность организации многостаночного обслуживания.

Особенностями конструкції верстата являются:

Для сокращения вспомогательного часу і удобства керування в верстатах предусматриваются:


Пределы использования верстатів по мощности і силовым нагрузкам

При высоких і средних числах оборотів шпинделя пределы использования верстатів ограничиваются головним образом допустимыми значениями швидкостей різання для фрез і мощностью електродвигуна головного руху.

Во всех случаях обробки, где возможно применение скоростного фрезерування, рекомендуется использовать верстати на скоростных режимах как наиболее производительных і обеспечивающих спокойную, виброустойчивую работу верстатів.

Фрезерование цилиндрическими быстрорежущими фрезами разрешается з нагрузкой стола усилием подачі не более 1500 кг.

Как показала практика експлуатации консольно-фрезерных верстатів, при работе фрезами из быстрорежущей стали иногда при некотором соотношении параметров режимов різання возникают вибрации. В етих случаях рекомендуется увеличить подачу на зуб или применить фрезы конструкції Карасева з неравномерным шагом і крутой спиралью.

При работе верстата на тяжелых режимах різання лимитирующими факторами, как правило, є стойкость і прочность режущего инструмента.

С етой точки зрения можно рекомендовать в качестве предельных режимов фрезерування наступні:

Работа торцовыми фрезами по стали

Работа цилиндрическими наборными фрезами по чугуну

Работа торцовыми фрезами по чугуну

Наиболее рациональным является использование полной мощности електродвигуна при работе на средних числах оборотів шпинделя і использование 70—75% мощности електродвигуна при работе на низких (4—-5 ступенях) числах оборотів.

Класс точності верстата Н по ГОСТ 8—77.

Комплектация

Поставляются по требованию Заказчика за дополнительную плату:




Аналоги фрезерного консольного широкоуніверсального верстата 6к82ш:

6ДМ82Ш, FU350MRApUG, FU315MRApUG, а также:


Наиболее известные серии консольно-фрезерных верстатів, выпускаемых ДЗФС:





Верстати консольно-фрезерные. Загальні відомості

Горизонтальные консольно-фрезерные верстати имеют горизонтально расположенный, не меняющий своего места шпиндель. Стол може перемещаться перпендикулярно к оси шпинделя в горизонтальном і вертикальном направлениях і вдоль оси, параллельной ей.

Універсальные консольно-фрезерные верстати отличаются от горизонтальных тем, что имеют стол, который може поворачиваться на требуемый угол.

Вертикальные консольно-фрезерные верстати имеют вертикально расположенный шпиндель, перемещающийся вертикально і в некоторых моделях поворачивающийся. Стол може перемещаться в горизонтальном направлении перпендикулярно к оси шпинделя і в вертикальном направлении.

Широкоуниверсальные консольно-фрезерные верстати в отличие от универсальных имеют помимо основного горизонтального шпинделя приставную головку со шпинделем, поворачивающимся вокруг вертикальной і горизонтальной осей.

Бесконсольно-фрезерные верстати имеют шпиндель, расположенный вертикально і перемещающийся в етом направлении. Стол перемещается только в продольном і поперечном направлениях.

Консольно-фрезерные верстати горизонтальные і вертикальные - ето наиболее распространенный тип верстатів, применяемых для фрезерных работ. Название консольно-фрезерные верстати получили от консольного кронштейна (консоли), который перемещается по вертикальным направляющим станины верстата і служит опорой для горизонтальных перемещений стола.

Типорозміри консольно-фрезерных верстатів принято характеризовать по величине рабочей (крепежной) поверхности стола. Консольно-фрезерные верстати могут мати горизонтальное, универсальное (широкоуниверсальные) і вертикальное виконання при одной і той же величине рабочей поверхности стола. Сочетание разных исполнений верстата при одинаковой основной размерной характеристике стола называют размерной гаммой верстатів.

В СССР было освоено производство консольно-фрезерных верстатів пяти типорозмірів:
№ 0; № 1; № 2; № 3 і № 4, причем по каждому размеру выпускалась полная гамма верстатів — горизонтальные, универсальные і вертикальные. Каждый верстат одной размерной гаммы имел в шифре одинаковое обозначение, соответствующее размеру рабочей поверхности стола.

В зависимости от размера рабочей поверхности стола различают наступні розміри консольно-фрезерных верстатів:

Размер Гамма верстатів Размер стола, мм
0 6Р10, 6Р80, 6Р80Г, 6Р80Ш 200 х 800
1 6Н11, 6Н81, 6Н81Г; 6Р11, 6Р81, 6Р81Г, 6Р81Ш 250 х 1000
2 6М12П, 6М82, 6М82Г; 6Р12, 6Р82, 6Р82Ш; 6Т12, 6Т82, 6Т82Г, 6Т82Ш 320 х 1250
3 6М13П, 6М83, 6М83Г; 6Р13, 6Р83; 6Т13, 6Т83, 6Т83Г 400 х 1600
4 6М14П, 6М84, 6М84Г 500 х 2000

В соответствии з размерами стола меняются габаритные розміри самого верстата і его основних вузлів (станины, стола, салазок, консоли, хобота), мощность електродвигуна і величина наибольшего переміщення (хода) стола в продольном, салазок в поперечном і консоли в вертикальном направлениях.


Обозначение консольно-фрезерных верстатів

6 - фрезерный верстат (номер группы по классификации ЭНИМС)

К – серия (поколение) верстата (Б, К, Н, М, Р, Т), например, 682, 6Б82Ш, 6К82Ш, 6Н82Ш, 6К82Ш, 6Р82Ш, 6Т82Ш

8 – номер подгруппы (1, 2, 3, 4, 5, 6, 7, 8, 9) по классификации ЭНИМС (8 - горизонтально-фрезерный)

2 – виконання верстата - типоразмер (0, 1, 2, 3, 4) (2 - размер робочого стола - 320 х 1250)


Буквы в кінці обозначения модели:

Г – верстат горизонтальный консольно-фрезерный з неповоротным столом

К – верстат з копировальным пристрійм для обробки криволинейной поверхности

Б – верстат з підвищеної производительностью (повышенный диапазон чисел оборотів шпинделя, подач стола і повышенная мощность двигуна головного руху).

П – повышенная точность верстата - (н, п, в, а, с) по ГОСТ 8-77

Ш – верстат широкоуніверсальний

Ф1 – верстат з пристрійм цифровой индикации УЦИ і преднабором координат

Ф2 – верстат з позиционной системой числового керування ЧПУ

Ф3 – верстат з контурной (непрерывной) системой ЧПУ

Ф4 – верстат многоцелевой з контурной системой ЧПУ і магазином инструментов





Габарит робочого простору і присоединительные базы фрезерного верстата 6К82Ш

Габаритные розміри робочого простору і присоединительные базы широкоуніверсального консольно-фрезерного верстата 6К82Ш

Габарит робочого простору і присоединительные базы фрезерного верстата 6К82ш


Посадочные і присоединительные базы фрезерного верстата 6К82Ш

Посадочные і присоединительные базы фрезерного верстата 6К82Ш


Посадочные і присоединительные базы фрезерного верстата 6К82Ш

Посадочные і присоединительные базы фрезерного верстата 6К82Ш

Посадочные і присоединительные базы фрезерного верстата 6К82Ш. Дивитись у збільшеному масштабі



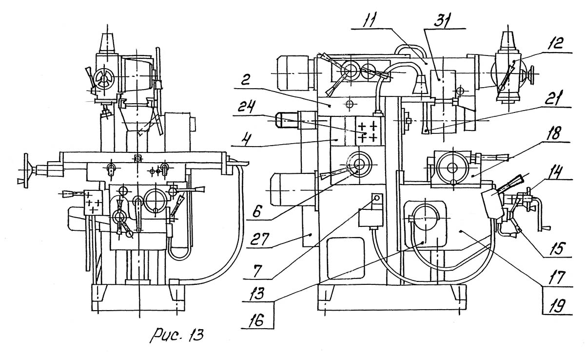
Загальний вигляд широкоуніверсального консольно-фрезерного верстата 6К82Ш

Загальний вигляд  6К82Ш cтанок широкоуніверсальний консольно-фрезерный

Фото широкоуніверсального фрезерного верстата 6К82ш


Фото широкоуніверсального фрезерного верстата 6К82ш

Фото широкоуніверсального фрезерного верстата 6К82ш


Фото широкоуніверсального фрезерного верстата 6К82ш

Фото широкоуніверсального фрезерного верстата 6К82ш


Фото широкоуніверсального фрезерного верстата 6К82ш

Фото широкоуніверсального фрезерного верстата 6К82ш


Розташування основних вузлів фрезерного верстата 6К82Ш

Розташування основних вузлів фрезерного верстата 6К82Ш

Розташування основних вузлів фрезерного верстата 6К82Ш

Розташування основних вузлів фрезерного верстата 6К82Ш. Дивитись у збільшеному масштабі



  1. Станина - 6К81Г.10.000 (6К81Г, 6К82Г)
  2. Станина - 6К81Ш.10.000 (6К81Ш, 6К82Ш)
  3. Станина - 6К11.11.000 (6К11, 6К12)
  4. Коробка швидкостей - 6К82Г.20.000 (6К82Ш)
  5. Коробка швидкостей - 6Д12.22.000 (6К12)
  6. Переключення швидкостей - 6Д82Г.21.000 (6К82Г, 6К82Ш, 6К12)
  7. Смазка коробки швидкостей - 6Д82Г.23.000 (6К82Г, 6К82Ш)
  8. Смазка коробки швидкостей - 6К11.24.000 (6К11, 6К12)
  9. Головка (неповоротная) фрезерна - 6К11.34.000 (6К11, 6К12)
  10. Головка (неповоротная) фрезерна - 6К11.35.000 (6К11, 6К12)
  11. Ползун - 6Д82Ш.44.000 (6К82Ш)
  12. Головка (поворотная) фрезерна - 6Д82Ш.40.000 (6К82Ш)
  13. Коробка подач - 6Н81Г.51.000 (6К82Г, 6К82Ш, 6К12)
  14. Коробка реверса - 6К81Г.53.000 (6К82Г, 6К82Ш, 6К12)
  15. Переключення подач - 6К81Г.55.000 (6К82Г, 6К82Ш, 6К12)
  16. Редуктор - 6К81Г.57.000 (6К82Г, 6К82Ш, 6К12)
  17. Консоль - 6К81Г.61.000 (6К82Г, 6К82Ш, 6К12)
  18. Стол - 6К82Г.70.000 (6К82Г, 6К82Ш, 6К12)
  19. Смазка стола і консоли - 6К81Г.84.000 (6К82Г, 6К82Ш, 6К12)
  20. Охлаждение - 6К81Г.85.000 (6К81Г, 6К82Г)
  21. Охлаждение - 6К81Ш.85.000 (6К81Ш, 6К82Ш)
  22. Охлаждение - 6К11.85.000 (6К11, 6К12)
  23. Електроустаткування - 6К81Г.91.000
  24. Електроустаткування - 6К81Ш.91.000
  25. Електроустаткування - 6К11.91.000
  26. Станція керування - 6К81Г.94.000
  27. Станція керування - 6К81Ш.94.000
  28. Принадлежности - 6Д82Г.100.000
  29. Принадлежности - 6Д82Ш.100.000
  30. Принадлежности - 6Д12.100.000
  31. Ограждение - 6Р81Г.12.000
  32. Ограждение - 6Д12.12.000

Схема розположення органів керування фрезерным верстатом 6К82Ш

Схема розположення органів керування фрезерным верстатом 6К82Ш

Схема розположення органів керування фрезерным верстатом 6К82Ш

Схема розположення органів керування фрезерным верстатом 6К82Ш. Дивитись у збільшеному масштабі



  1. Маховик ручного продольного переміщення стола
  2. Маховик ручного поперечного переміщення стола
  3. Рукоятка ручного вертикального переміщення стола
  4. Рукоятка увімкнення механической поздовжньої подачі
  5. Рукоятка увімкнення механической поперечної подачі
  6. Рукоятка увімкнення механической вертикальной подачі
  7. Маховичок переміщення гильзы шпинделя
  8. Квадрат для переміщення хобота (ползуна)
  9. Квадрат для рукоятки поворота фрезерной головки
  10. Квадрат для закрепления хобота (ползуна)
  11. Рукоятка закрепления гильзы шпинделя
  12. Гайка закрепления поворотной фрезерной головки
  13. Гайка закрепления поддержки
  14. Грибовидная рукоятка выбора частоти обертання шпинделя
  15. Рукоятка переключения частоти обертання шпинделя
  16. Рукоятки переключения частоти обертання поворотного шпинделя
  17. Кулачки ограничения продольного ходу стола
  18. Рукоятка закрепления стола от продольного переміщення
  19. Гайки закрепления поворотной фрезерной головки в поперечної плоскости
  20. Кран подачі охлаждающей жидкости
  21. Рукоятка закрепления стола от поперечного переміщення
  22. Кнопка периодической змазки направляючих стола і салазок
  23. Рукоятка переключения подач стола
  24. Рукоятка переключения перебора подач стола
  25. Кулачки ограничения вертикального ходу стола
  26. Пробка для залива масла в резервуар станины
  27. Рукоятка вводного выключателя
  28. Замок електрошафи
  29. Выбор направления обертання горизонтального з вертикального) шпинделя
  30. Выбор шпинделя (горизонтального или поворотного)
  31. Выбор направления обертання поворотного шпинделя
  32. Переключатель подготовки к пуску шпинделя или к смене фрезы
  33. Импульсное увімкнення шпинделя
  34. Увімкнення електронасоса охлаждения
  35. Аварийный стоп (аварийное відключення електроустаткування)
  36. Стоп шпинделя і подачі
  37. Пуск шпинделя
  38. Увімкнення подачі
  39. Аварийный стоп (аварийное відключення електроустаткування)
  40. Рукоятка увімкнення ускоренного ходу
  41. Разжим фрезы
  42. Зажим фрезы



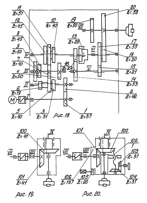
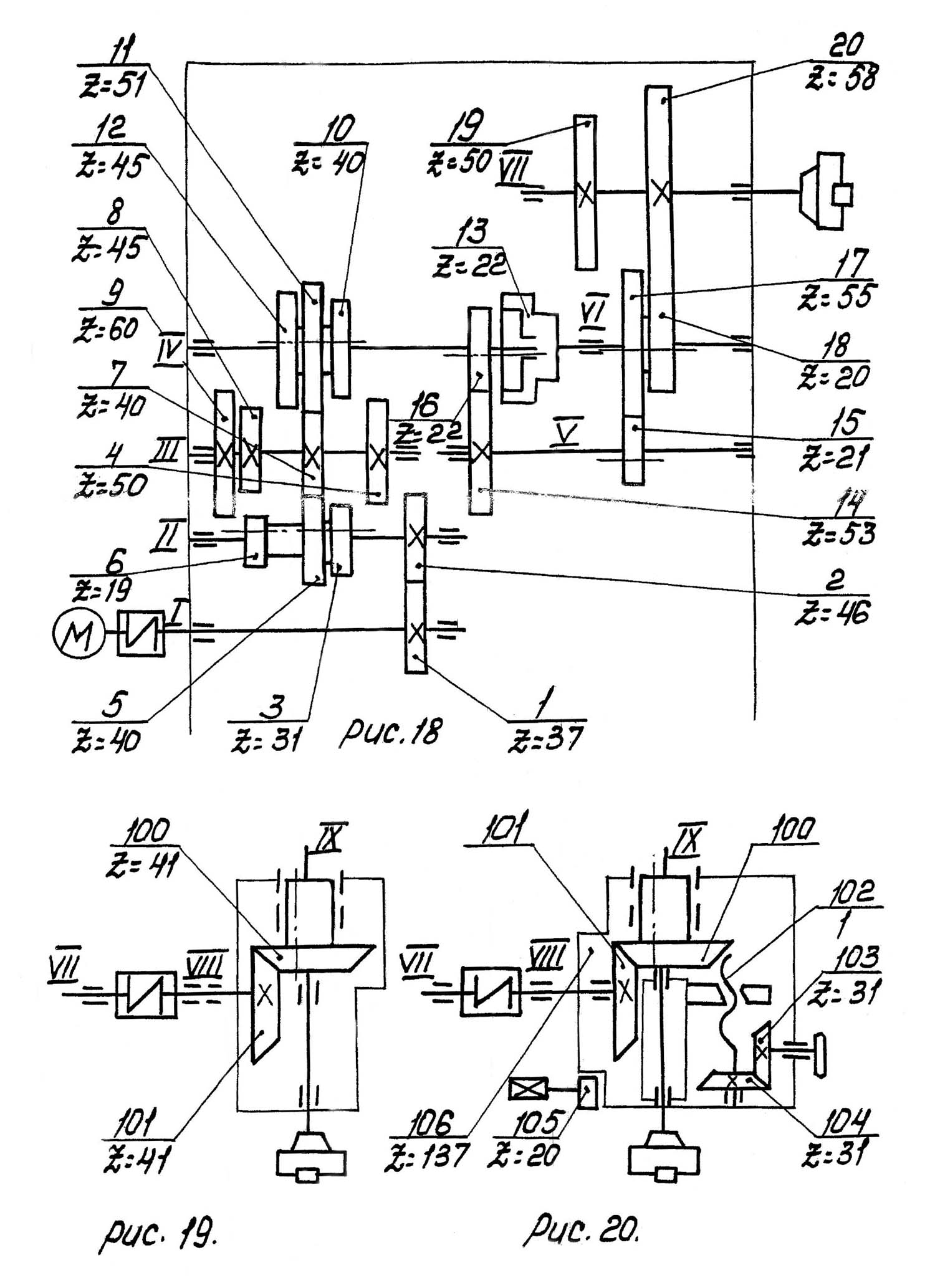
Кінематична схема фрезерного верстата 6К82Ш

Кінематична схема головного приводу фрезерного верстата 6К82Ш

Кінематична схема головного приводу фрезерного верстата 6К82Ш

Кінематична схема головного приводу фрезерного верстата 6К82Ш. Дивитись у збільшеному масштабі



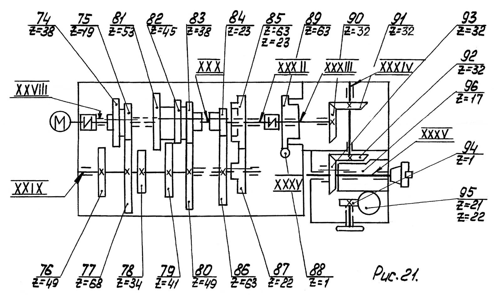
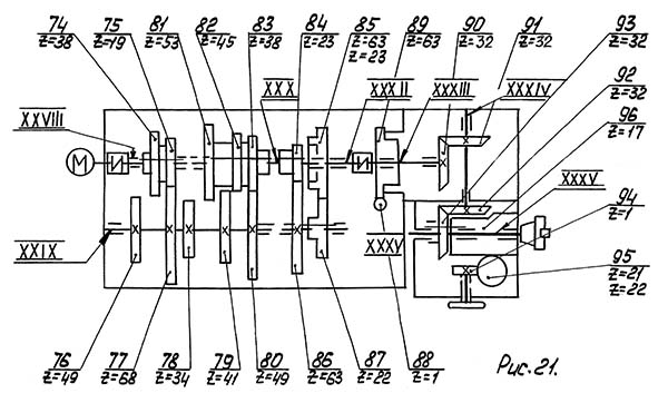
Кінематична схема поворотного шпинделя фрезерного верстата 6К82Ш

Кінематична схема поворотного шпинделя фрезерного верстата 6К82Ш

Кінематична схема поворотного шпинделя фрезерного верстата 6К82Ш. Дивитись у збільшеному масштабі



Кінематична схема приводу подач фрезерного верстата 6К82Ш

Кінематична схема приводу подач фрезерного верстата 6К82Ш

Кінематична схема приводу подач фрезерного верстата 6К82Ш. Дивитись у збільшеному масштабі



Схема кінематична (рис. 18,19,20,21,22)

Привід головного руху горизонтального или вертикального шпинделя осушествляется от фланцевого електродвигуна через упругую муфту.

Частота обертання, шпинделя изменяется передвижением трех зубчатых блоков по шлицевым валам, II; IV; VI, а также включением зубчатой муфты 13.

Коробка швидкостей включает шпинделю 21 различную скорость.

График частот обертання шпинделя верстата, показывающий структуру механізма приведен на рисунке 23.

Привід головного руху вертикального поворотного шпинделя осуществляется от фланцевого електродвигуна через упругую соединительную муфту (рис.21).

Частота обертання шпинделя изменяется передвижением двух зубчатых блоков по шлицевым валам XXV, III, XXX і зубчатой муфты 85.

Коробка швидкостей включает шпинделю 12 различных швидкостей.

График частот обертання вертикального поворотного шпинделя верстата, поясняющий структуру механізма, приведен на рисунке 24.

Привід подач осуществляется от електродвигуна через упругую муфту (рис.22).

Ввиду простоты кинематики здесь поясняется только разделение в механізме подачі ланцюгів робочого і ускоренного переміщення стола.

Рух рабочей подачі передається от зубчатого колеса 33 коробки подач через промежуточный вал ХI на червячное колесо 39 редуктора. Червячное колесо установлено на валу xIII на підшипниках і заклинивается на нем з помощью муфты обгона 107.

Ускоренное вращение передається от електродвигуна к валу XIII через передачу зубчатых колес 23-40. Зубчатое колесо 40 установлено на валу XIII свободно на підшипниках і може вращать вал, только при включении фрикционной муфты 108.

При включении фрикционной муфты 108 обгонная муфта 107 отключает червячное колесо 39 от вала XIII.

Коробка подач включает 16 различных подач (рис.22).

График величины подач показан на рисунке 25.





Короткий опис сборочных единиц верстата

Станина

Станина - основная сборочная единица, на которой монтируются составные частини і механізмы верстата. Жесткая конструкция станины достигается за счет развитого основания і большого числа ребер. По вертикальным направляющим станины перемешается консоль. По горизонтальным направляющим перемешается хобот или ползун з правой стороны на станине установлен електрошкаф. Сзади к станине прифланцован електродвигатель головного руху. В нишах станины размешены елементы електроустаткування. Внутри корпуса станины имеется резервуар для масла. Станина устанавливается на основание, которое служит опорой гвинта подъема консоли.

Коробка швидкостей

Коробка швидкостей (рис.26) смонтирована непосредственно в корпусе станины. Соединение коробки з валом електродвигуна. Осуществляется упругой муфтой. На промежуточных валах смонтированы два тройных і один двойной блок шестерен. На валу IV смонтирована електромагнитная муфта I, служащая для торможения шпинделя при остановке.

Вал I приводит в действие шестеренный насос 2 змазки, служащий для змазки передач і підшибників коробки швидкостей і приводу шпинделя. Доступ к насосу і фильтру 3, открывается через окно станины після удаления механізма переключения швидкостей. Насос засасывает масло из резервуара станины через сетчатый фильтр і реверсивный механізм і подает его в маслораспредедитель вверху станины. Распределитель выполнен в виде трубы з отверстиями і доступен через окна, закрытые листовыми крышками сверху станины (окно находится под хоботом или ползуном).

Главный привод

Шпиндель головного приводу (рис.26) представляет собой двухопорный вал, смонтированный в расточках станины. Вращение шпинделю передається от коробки швидкостей двумя путями. Через шестерни 17-19 или 18-20.

На станке 6к12 выходной вал коробки швидкостей VII соединяется упругой втулочнопальцевой муфтой з валом VIII фрезерной головки (рис.27).

Механізм переключения коробки швидкостей

Переключення коробки швидкостей (рис.28) позволяет выбрать требуемую частоту обертання шпинделя без послідовного прохождения промежуточных ступеней. Переключення скользящих шестерен осуществляется встречным движением двух дисков I, соединенных шлицевым соединением. На дисках I, имеется в определенном порядке расположеннные отверстия, оси которых совпадают з осями скалок 2, связанных з переключаемыми зубчатыми колесами, наличие отверстия в одном диске і отсутствие в другом вызывает при сближении дисков смешение соответствующего зубчатого колеса в сторону первого диска. Диски I поворачиваются вокруг своей оси грибовидной рукояткой 3 і перемешаются вдоль оси рукояткой 4.

Механізм переключения швидкостей свободно вынимается из корпуса станины. після его открепления необходимо запомнить при какой цифре шкалы механізм снят і в каком положении находились вилки в коробке швидкостей, чтобы при установці на место ето положение восстановить. В случае разборки механізма переключения необходимо при сборке обеспечить такое взаимное расположение переключающих дисков при котором совпадают оси двух отверстий, отмеченных фасками, на третьей до-рожке от наружного края. В етом положении частота обертання шпинделя соответствует 50 об/мин.

Коробка подач. Редуктор

Корпуса коробки подач (рис.29) і редуктора (рис.30) соединяются гвинтами в единый узел, після чего устанавливается в полость консоли слева. Выходная шестерня редуктора 44 сцепляется з шестерней 45 (рис.31) коробки реверса.

Переключення скользящих шестерен в коробке подач осуществляется от кулачка з криволинейными пазами на торцах. Вал его сцеплен со шкалой і рукояткой переключения 23 (рис.15.16,17), расположенной спереди консоли. Узел переключения подач свободно снимается після удаления крепежных винтов. Не следует забывать отметить взаимосвязь шкалы подач і положения кулачка в коробке при разборке, чтобы затем правильно собрать переключение.

Коробка реверса

Механізм коробки реверса (рис.31) получает вращение от редуктора і через пару 44-45 і через предохранительную муфту 1 передает вращение к ходовым гвинтам пролольного. Поперечного і вертикального ходу. Увімкнення обертання того или иного ходового гвинта, в прямом і обратном направлении, производится рукоятками: 4 - продольный ход, 5. - Поперечный ход, 6 - вертикальний ход (рис.15.16,17).

Для ручных перемещений служат рукоятка 3 і маховичок 2, которые установлены на валах свободно, а в момент использования сцепляются з валами з помощью кулачковых муфт.

В коробке реверса предусмотрена блокировка, исключающая возможность увімкнення механической подачі в момент пользования рукояткой или маховичком.

Блокировка обеспечивается шариками 11, вложенными в радиальные отверстия валов под ступицами рукоятки і маховичка. При снятии післядних шарики могут выпасть, необходимо установить их при сборке на место. При возникшей необходимости снятия коробки, реверса і її післядующей установки на место необходимо:

Консоль

В консоли (рис, 3.2)размещены вузли механізма подачі з редуктором і коробка реверса.

Винт поперечного переміщення стола имеет опори в коробке реверса выходит из консоли наружу через отверстие з правой стороны.

Непосредственно в расточках корпуса консоли смонтированы конические зубчасті колеса 49, 57 і винт вертикального переміщення стола 58. Рух к винту продольного переміщення стола сообщается от зубчатого колеса 45 через вал xvii коробки реверса (рис.31), вал xxi зубчатую пару 50-59, 60-61..

Вал XXI смонтирован в гильзе, установленной в расточках корпуса консоли.

Зубчатое колесо 61 помешено в окно специальной пробки, посаженной в отверстие сверху консоли так, что зубья выступают над поверхностью г0ри30н-тальных направляючих.

Стол

В нижней частини салазок стола (рис.33) установлено зубчатое колесо 62. Сцепленное з 1 зубчатым колесом консоли 61. Благодаря -большой длине зубчатого колеса 62. В течение всего поперечного переміщення стола сохраняется зацепление зубчатых передач 61-62, 63-64, 65-66, 67-68. Коническое колесо 68 з кулачками на торцах.

Между коническими колесами находится втулка I со шпонкой внутри і кулачковой муфтой 2 снаружи.

Увімкнення кулачковой муфты в ту или иную сторону производится рукояткой 4, чем і обеспечивается рух стола вправо і влево.

Гайка гвинта продольного переміщення снабжена пристрійм автоматичною выборки зазору. Гайка состоит из двух частин 5 і 6, опирающихся буртами (через упорные підшипники на торце несущего их кронштейна 7. "На наружной цилиндрической поверхности обеих полугаек нарезаны зубья, сцепленные з рейками 8 і 9.

Рейки в свою очередь связаны между собой зубчатым колесом 72 і ограничиваются в своем перемещении в направлении от станины гвинтами 10. Эти винты з контргайками видны спереди салазок. Во время попутного фрезерування усилие подачі на винте направлено в сторону, противоположную движению стола. Оно вьзывает трение в витках той гайки, которая при етом прижимается к кронштейну.

За счет зусилля трения гайка поворачивается вместе з винтом на некоторый угол. Такой же поворот благодаря связи их реечной системой делает вторая полу-гайка, но в обратном направлении.

Таким образом, обе полугайки навинчиваются на винт і упираясь буртами в подпятники, как бы растягивают винт, зазор в витках в ето время выбирается.

При фрезеровании против подачі направление зусилля на винте не вызывает описанного выше еффекта і зазор в витках сохраняется.

Описанное пристрій в случае необходимости можно отрегулировать следующим образом:

Ползун

Ползун (рис.34) имеет установочное перемещение. А в рабочем положении закрепляется на горизонтальных направляючих станины.

В корпусе ползуна размещается механізм приводу поворотного шпинделя.

Привід осуществляется от фланцевого електродвигуна через упругую соединительную муфту I. Частота обертання шпинделя изменяется передвижением двух зубчатых блоков 2 і 3 і зубчатой муфты 4. Их переключение осуществляется з помощью трех рукояток 5, 6 і 7.

Фрезерная поворотная головка

Пристрій фрезерной головки ясно из приведенного рисунка.

Шпиндель головки може устанавливаться в разные положения, поворотом его корпуса вокруг двух взаимно-перпендикулярных осей, а также перемещаться вместе о ползуном параллельно оси горизонтального шпинделя. Для поворота вокруг одной из осей на корпусе головки закреплено косозубое колесо, слепляемое з червяком, его конец з квадратом 9 выведен наружу (рис.16).

Зажим гильзы шпинделя осуществляется рукояткой 11. Перемещение гильзы осуществляется маховичком 7 через червячную передачу.

Фрезерные вертикальные головки верстата 6к12

Вертикально-фрезерные верстати выпускаются з двумя модификациями фрезерных головок:

  1. Головка поворотная з гильзой шпинделя
  2. Головка неповоротная без гильзы шпинделя

На рисунке 27 показано пристрій поворотной фрезерной головки.

Неповоротная головка отличается конструкцией корпуса; другие детали в обеих головках одинаковы.

Стол

В нижней частини салазок стола (рис.33) установлено зубчатое колесо 62, сцепленное з 1 зубчатым колесом консоли 61. Благодаря большой длине зубчатого колеса 62. В течение всего поперечного переміщення стола сохраняется зацепление зубчатых передач 61-62, 63-64, 65-66, 67-68. Коническое колесо 68 з кулачками на торцах.

Между коническими колесами находится втулка I со шпонкой внутри і кулачковой муфтой 2 снаружи.

Увімкнення кулачковой муфты в ту или иную сторону производится рукояткой 4, чем і обеспечивается рух стола вправо і влево.

Гайка гвинта продольного переміщення снабжена пристрійм автоматичною выборки зазору. Гайка состоит из двух частин 5 і 6, опирающихся буртами (через упорные підшипники на торце несущего их кронштейна 7. "На наружной цилиндрической поверхности обеих полугаек нарезаны зубья, сцепленные з рейками 8 і 9.

Рейки в свою очередь связаны между собой зубчатым колесом 72 і ограничиваются в своем перемещении в направлении от станины гвинтами 10. Эти винты з контргайками видны спереди салазок. Во время попутного фрезерування усилие подачі на винте направлено в сторону, противоположную движению стола. Оно вьзывает трение в витках той гайки, которая при етом прижимается к кронштейну.

За счет зусилля трения гайка поворачивается вместе з винтом на некоторый угол. Такой же поворот благодаря связи их реечной системой делает вторая полугайка, но в обратном направлении.

Таким образом, обе полугайки навинчиваются на винт і упираясь буртами в подпятники, как бы растягивают винт, зазор в витках в ето время выбирается.

При фрезеровании против подачі направление зусилля на винте не вызывает описанного выше еффекта і зазор в витках сохраняется.

Описанное пристрій в случае необходимости можно отрегулировать следующим образом:





Електроустаткування

Система живлення електроустаткування

Верстат расчитан для подключения к 3-х фазной електрической сети з глухозаземлённой нейтралью напряжением 380в: (220; 400; 415; 440в) частотой 50 гц или напряжением (220; 380; 400 в) при частоте (50 гц) в соответствии з заказом потребителя. Допустимые пределы отклонения параметров питающей сети ± 10% пo напряжению, ± 2% по частоте.

Для живлення елементів електроустаткування в станке применяются наступні напряжения:

Краткая характеристика приводных машин

Приводными елементами в станке служат 3-х фазные електродвигатели:

Загальні відомості

Схема електрична фрезерного верстата 6К82Ш

Схема електрична фрезерного верстата 6К82Ш

Схема електрична фрезерного верстата 6К82Ш. Дивитись у збільшеному масштабі



Електроустаткування верстата скомплектовано следующим образом: оперативные органы керування (кнопки "пуск шпинделя" - sb4, "пуск подачі" - sb5, "стоп шпинделя і подачі" - sb3 , установлены на переднем пульті керування.

Наладочные органы керування располагаются как на боковом пульті:

Так і на левой боковой стенке електрошафи:

Кроме того на каждом из пультов находится по кнопке "аварийное відключення електроустаткування" - sbi, sb2;

На дверке електрошафи находится привід вводного автоматичного выключателя - qf;

Остальные електроаппараты расположены в станції керування на правой стороне станины верстата.

Работа електросхеми

Принципиальные електросхеми одношпиндельного верстата 6к81г і двухшпиндельного 6к81ш по режиму роботи аналогичны, но на станке 6к81ш дополнительно установлены електродвигатель м4 приводу поворотного шпинделя і аппаратура керування им і защиты: подключение верстата к електросети производится вводным автоматическим выключателем qf.

* Увімкнення шпинделя осуществляется кнопкой sb4 при предварительной установці переключателя sa2 в положение "подготовка к пуску шпинделя" посредством магнитного пускателя kmi, направление обертання шпинделя определяется переключателем qs. На станке 6к81ш включится только один из шпинделей (горизонтальный или поворотный), что зависит от положения рукоятки переключателя sa3, причем направление обертання поворотного шпинделя задается переключателем qs2, горизонтального шпинделя - qsi. В начале включенного состояния шпинделя через замкнувшийся контакт реле kv2(75-92) проводится заряд конденсатора с4 (74-93).

Увімкнення двигуна подач м2 осуществляется кнопкой sb5 посредством магнитного пускателя км2, питание которого происходит при включенном шпинделе по ланцюги kmi(62-64) на станке 6к81ш для горизонтального шпинделя - sa3.2(62-63) і kmi(63-64) или для поворотного шпинделя - км4(62-63) і sa3.2(63-64), а при отключенном шпинделе - через контакт kv3(62-64), но при включении шпинделя при наличии подачі контакт kv3(62-64) отключается з небольшой задержкой.

*Увімкнення шпинделя возможно только при выполнении (или имитации) зажиму фрезы - смотри раздел 6.7.4.1 «смена фрезы».

Відключення подачі і шпинделя производится кнопкой «общий. Стоп» - sb3 при етом через контакт км1 (91-96) енергия, запасенная в конденсаторе с4, выполнит торможение шпинделя посредством тормозной електромуфты ус1(74-96).

Незапланированное відключення шпинделя при включенной подаче обеспечит відключення двигуна подач контактом км1 (62-64). На станке 6к81ш одним из контактов км1 (63-64) или км4(62-63).

Для облегчения переключения швидкостей обертання шпинделя кнопкой sb8 (82-8 3) на время заряда конденсатора с2(74-84) включается реле км4(83-84) і соответственно контактом kv4(40-60) магнитный пускатель шпинделя. (На станке 6к81ш - горизонтального или поворотного шпинделя).

Электронасос охлаждения м3 начинает работать при включении шпинделя, если предварительно был включен выключатель sa4 (42-43).

Для облегчения смены фрезы на станке производится затормаживание шпинделя посредством тормозной муфты yc1.

Смена фрезы (на станке 6к81ш только для горизонтального шпинделя)

Переключатель sa2 устанавливается в положение «подготовка к смене фрезы». Контактом sa2.1 (25-26) подготавливается ланцюг аппаратов смены фрезы. Контактом sa2.1(90-91) включается тормозная муфта yc1 (74-96) для исключения прово-рота кинематики шпинделя при зажиме - разжиме фрезы.

Кнопкой sb9 (26-27) включается пускатель зажиму фрезы км5 (11-29). Електродвигун м5 через центробежный механізм і планетарный редуктор начинает завертывать винт в тягу крепления оправки, зажимая, тем самым фрезу. В кінці затяжки при определенном наперед заданном усилии срабатывает подпружиненная кулачковая муфта і нажимает на толкатель микровыключателя sq2, контактом sq2 (27-28) отключается стоящий на самопитании пускатель зажиму км5 (11-29), а контактом sq2 (20-21) включается і встает на самопитание реле памяти зажиму kv1 (11-21), контактом kv1 (75-76) гасится лампа сигнализации «фреза разжата» hl3 (74-76).

Для освобождения фрезы контактом кнопки sd6 (12-20) «разжим фрезы» отключается реле памяти зажиму kv1 [11-21), а контактом sb6 (26-32) той же кнопки включается пускатель разжима фрезы км6 (11-34) і двигатель м5 освобождает фрезу, вывертывая винт из тяги крепления оправки. Вращение двигуна происходит пока нажата кнопка «разжим фрезы».

Разжим фрезы возможен только при отключенном шпинделе благодаря наличию контактов км1(24-25) і kv2 (12-20).

Смена фрезы може выть произведена при любом режиме роботи верстата, но обязательно при отключенном шпинделе.

Важнейшие блокировки

Имеется взаимная блокировка смены фрезы і пуска шпинделя посредством переключателя sa2 (sa2.1(25-26), sa2.2 (45-46)) і контактов магнитных пускачів км1 (24-25), км5 (46-47), км6 (47-48) і реле kv1 (23-24), kv1 (40-48)(на ctahkе 6к81ш - (48-50)).

Невозможно увімкнення реле толчка шпинделя kv4 (83-84) при работающем шпинделе благодаря контакту kv2 (75-82).

На станке 6к81ш применена взаимная блокировка магнитных пускачів шпинделей контактами км1 (56-57) і км4 (50-51).

Воздействие на аварийные кнопки sb1 (12-13, 12-16) или sb2 (13-14, 12-16! Вызывает відключення вводного автоматичного выключателя qf, т.е. Всего електроустаткування верстата. При етом торможение шпинделя осущуствляется тормозной муфтой за счет енергии, запасенной в конденсаторе.

Открывание дверки електрошафи возможна только після обязательного отключения вводного автоматичного выключателя, приводящего к отмене механической блокировки.

На рукоятке приводу вводного автомата qf имеется пристрій, позволяющее запирать рукоятку приводу в отключенном состоянии вводного автомата qf.

Порядок роботи

Налаштування, наладка верстата на холостом ходу

При первоначальном пуске верстата выполнить требования изложенные в частини "електрообладнання", а также следующее:

Если нужно включить вертикальний поворотный шпиндель, то:

Рукоятка 7 на два положения включает один из двух рядов частоти обертання шпинделя: 31,5|... 180 Или 250...1400 об/мин.

Рукоятка 6 на два положения связана со шкалой і устанавливает нужную цифру шкалы в секторе "д" (но не всегда под стрелку "г").

Рукоятка 5 на три положения связана со стрелкой "г" і показавает в секторе "д" нужную цифру.

При работе рукоятками следует доводить их всегда до фиксированного положения;




Режими різання

Режими різання на верстатах назначаются по техническим справочникам, при етом необходимо учитывать:

При работе на частотах обертання шпинделя ниже 80 об/мин, рекомендуется работать з ограничением мощности в пределах до 0,5..0,7 от номинального.

Не следует работать на станке в случае возникновения вибрации сильного необычного шума приводов - ето свидетельствует о неудачном выборе режимов різання.

Установка инструмента на станке


6К82Ш Установка і крепление фрез

Установка і крепление фрез універсального фрезерного верстата 6К82ш



Цилиндрические фрезы устанавливаются общеизвестным порядком на оправках, поддерживаемых одной или двумя поддержками (серьгами).

При етом следует учитывать, что для нормального фрезерування і высокого качества поверхности необходимо обеспечить:

Торцовые фрезы устанавливаются на стандартных оправках з поводками или шпонками. Для удобства закрепления инструмента з целью удержания шпинделя от проворота необходимо переключатель 32 (см. Рис.15,16,17) установить в положение "подготовка к смене фрезы".

Внимание! После закрепления инструмента не оставляйте переключатель 32 в данном положении, а переведите в положение "подготовка к пуску шпинделя".

Обработка спиральных поверхностей з применением делительной головки

Плавность подачі при фрезеровании спиральных поверхностей находится в прямой зависимости от количества оборотів ходового гвинта, приходящегося на один оборот вироби: чем оно больше, тем более спокойно резание і наоборот. Исходя из етого, рекомендуется не превышать следующих величин угла наклона спирали:

Регулювання фрезерного верстата

Регулювання радиального зазору шпинделя верстата

Регулювання радиального зазору осуществляется полшлифовкой полуколец 4 і подтягиванием гайки 5. Регулировку производят в следующим порядке:

Регулювання радиального зазору вертикального неповоротного шпинделя осуществляется через окно в корпусе і аналогична п.8.7.1.

Регулювання радиального зазору поворотного шпинделя осуществляется після извлечения гильзы из корпуса головки і аналогична п.8.7.1.

Регулювання предохранительной муфты приводу подачі

Регулювання предохранительной муфты приводу подачі (рис.31) регулировка осуществляется подтягиванием гайки 4 по часовий стрелке при етом момент увеличивается, без крайней нужды не нарушайте регулировку муфты.

В случае же самостоятельной регулировки потребитель должен выдержать условия - муфта должна срабатывать при фрезеровании чугунного образца цилиндрической фрезой со вставными ножами из быстрорежущей стали диаметром 100 мм, з числом зубьев 2 на режиме:

Регулювання клиньєв стола, салазок і консоли

Если зазоры в направляючих превышает 0,04 мм (рис. 43, 44), то необходимо их регулировать з помощью клиньєв:

Регулювання клина салазок осуществляется подтягиванием винтом 1.

После того как установлен нормальный зазор в направляючих, клин подпирается з тонкого кінця винтом 2. Затяжку винтом 2 не следует производить c силой, чтобы не деформировать клин.

Регулировку зазору в вертикальних направляючих консоли осуществляют под-тягиванием клиньєв 1, расположенных сверху і знизу консоли гвинтами 2.

Зазор в направляючих стола устраняется подтягиванием двух клиньєв з правого і левого торцев салазок. После регулировки винты 3 фиксируются контргайками 4.

Особливості разборки і сборки при ремонтi

Демонтаж і установка коробки подач і редуктора осуществляется в следующем порядке:


Настановне креслення фрезерного верстата 6К82Ш

Настановне креслення фрезерного верстата 6К82Ш

Настановне креслення фрезерного верстата 6К82ш





6К82Ш Верстат консольно фрезерный широкоуніверсальний. Відеоролик.




Технічні характеристики верстатів моделей 6К82Ш

Наименование параметра 6К81Ш 6К82Ш
Основні параметри верстата
Класс точності по ГОСТ 8-82 П П
Розміри рабочей поверхности стола (длина х ширина), мм 250 х 1000 320 х 1250
Расстояние от оси горизонтального шпинделя до стола при ручном перемещении, мм 50..440 50..440
Расстояние от оси горизонтального шпинделя до хобота, мм 155 155
Расстояние от торца шпинделя поворотной головки до стола, мм 155..545 155..545
Расстояние от оси шпинделя поворотной головки до направляючих станины (вылет), мм 125..760 125..760
Рабочий стол
Максимальная нагрузка на стол (по центру), кг
Число Т-образных пазов Розміри Т-образных пазов 3 3
Наибольшее продольное перемещение стола (ось X), мм 710 850
Наибольшее поперечное перемещение стола механическое (ось Y), мм 250 250
Наибольшее вертикальное перемещение стола (ось Z), мм 400 400
Перемещение стола на одно деление лимба (продольное, поперечное, вертикальное), мм
Скорость швидкого продольного і поперечного ходу стола, мм/мин 2900 2900
Скорость швидкого продольного і поперечного ходу стола, мм/мин 2300 2300
Скорость швидкого вертикального ходу стола, мм/мин 1150 1150
Число ступеней рабочих подач стола 16 16
Пределы продольных рабочих подач стола, мм/мин 35..1020 35..1020
Пределы поперечных рабочих подач стола, мм/мин 27..790 27..790
Пределы вертикальних рабочих подач стола, мм/мин 9..264 9..264
Горизонтальный шпиндель
Частота обертання горизонтального шпинделя, об/мин 16..1600 16..1600
Количество швидкостей горизонтального шпинделя
Внутренний конус горизонтального шпинделя. ISO 50 ISO 50
Шпиндель вертикальной головки
Частота обертання шпинделя вертикальной головки, об/мин 31,5..1400 31,5..1400
Количество швидкостей шпинделя вертикальной головки
Наибольшее перемещение гильзы вертикального шпинделя, мм 80 80
Внутренний конус шпинделя вертикальной головки. ISO 40 ISO 40
Торможение шпинделя есть есть
Предохранение шпинделя от перегрузки (муфта) есть есть
Привод
Количество електродвигателей на станке 4 4
Електродвигун приводу горизонтального шпинделя, кВт 5,5 5,5
Електродвигун приводу шпинделя поворотной головки, кВт 2,2 2,2
Електродвигун приводу подач, кВт 1,5 1,5
Електродвигун насоса охлаждающей жидкости, кВт 0,12 0,12
Габарити і масса верстата
Габарити верстата (длина ширина высота), мм 2135 х 1725 х 2015 2135 х 1725 х 2015
Масса верстата, кг 2500 2650

    Список литературы:

  1. Консольно-фрезерные верстати 6К82Г, 6К82, 6К82Ш, 6К12. Руководство по експлуатации 6К82Г.00.000 РЭ, 2005

  2. Аврутин С.В. Основы фрезерного дела, 1962
  3. Аврутин С.В. Фрезерне дело, 1963
  4. Ачеркан Н.С. Металлорежущие верстати, Том 1, 1965
  5. Барбашов Ф.А. Фрезерне дело 1973, с.141
  6. Барбашов Ф.А. Фрезерные роботи (Профтехобразование), 1986
  7. Блюмберг В.А. Справочник фрезеровщика, 1984
  8. Григорьев С.П. Практика координатно-расточных і фрезерных работ, 1980
  9. Копылов Р.Б. Работа на фрезерных верстатах,1971
  10. Косовский В.Л. Справочник молодого фрезеровщика, 1992, с.180
  11. Кувшинский В.В. Фрезерование,1977
  12. Ничков А.Г. Фрезерные верстати (Библиотека станочника), 1977
  13. Пикус М.Ю. Справочник слесаря по ремонту металлорежущих верстатів, 1987
  14. Плотицын В.Г. Расчёты настроек і наладок фрезерных верстатів, 1969
  15. Плотицын В.Г. Наладка фрезерных верстатів,1975
  16. Рябов С.А. Современные фрезерные верстати і их оснастка, 2006
  17. Схиртладзе А.Г., Новиков В.Ю. Технологическое обладнання машиностроительных производств, 1980
  18. Тепинкичиев В.К. Металлорежущие верстати, 1973
  19. Чернов Н.Н. Металлорежущие верстати, 1988
  20. Френкель С.Ш. Справочник молодого фрезеровщика (3-е изд.) (Профтехобразование), 1978