metalinstryment.com
Довідник по металорізальних верстатів та пресовому обладнанні

6К11 Верстат консольно-фрезерный вертикальний
схеми, опис, характеристики

6К11 Верстат фрезерный консольный вертикальний







Відомості про виробника консольно-фрезерного верстата 6К11

Производитель фрезерных верстатів 6К11 Дмитровский завод фрезерных верстатів, основанный в 1940 году.

Основной продукцией завода является широкая гамма универсальных консольно-фрезерных верстатів з размером робочого стола от 250 x 630 мм до 400 x 1600 мм.





Верстати, выпускаемые Дмитровским заводом фрезерных верстатів, ДЗФС


6К11 Верстат консольно-фрезерный вертикальний. Назначение, область применения

Універсальный консольно-фрезерный верстат 6К11 предназначен для обробки различных изделий из стали, чугуна, цветных металлов і пластмасс цилиндрическими, торцовыми, дисковыми, угловыми і специальными фрезами.

Широкий диапазон швидкостей шпинделя і подач стола обеспечивает возможность обробки изделий на оптимальных режимах різання.

Пристрій 6К11 отлично подходит для следующих работ:

Принцип роботи і особливості конструкції верстата 6К11

Класс точності верстата Н. Шероховатость обработанной поверхности V4—V5.

Для обертання шпинделя і механических подач стола предусмотрены приводы от окремих електродвигателей. Стол верстата може совершать быстрые переміщення в трех направлениях.

Ручной і механический приводы сблокированы. Выключение механических перемещений стола може осуществляться упорами і вручную. Для торможения шпинделя применяется електромагнитная муфта.

Повышенная мощность електродвигателей і жесткость верстата обеспечивают обработку изделий. на скоростных режимах різання твердосплавным инструментом.

Верстат 6К11 може применяться в единичном мелкосерийном і серийном производстве.

Основні характерные особливості вертикального консольно-фрезерного верстата 6К11 наступні:


Комплектующие по требованию заказчика за дополнительную плату


Наиболее известные серии консольно-фрезерных верстатів, выпускаемых ДЗФС:


Верстати консольно-фрезерные. Загальні відомості

Горизонтальные консольно-фрезерные верстати имеют горизонтально расположенный, не меняющий своего места шпиндель. Стол може перемещаться перпендикулярно к оси шпинделя в горизонтальном і вертикальном направлениях і вдоль оси, параллельной ей.

Універсальные консольно-фрезерные верстати отличаются от горизонтальных тем, что имеют стол, который може поворачиваться на требуемый угол.

Вертикальные консольно-фрезерные верстати имеют вертикально расположенный шпиндель, перемещающийся вертикально і в некоторых моделях поворачивающийся. Стол може перемещаться в горизонтальном направлении перпендикулярно к оси шпинделя і в вертикальном направлении.

Широкоуниверсальные консольно-фрезерные верстати в отличие от универсальных имеют помимо основного горизонтального шпинделя приставную головку со шпинделем, поворачивающимся вокруг вертикальной і горизонтальной осей.

Бесконсольно-фрезерные верстати имеют шпиндель, расположенный вертикально і перемещающийся в етом направлении. Стол перемещается только в продольном і поперечном направлениях.

Консольно-фрезерные верстати горизонтальные і вертикальные - ето наиболее распространенный тип верстатів, применяемых для фрезерных работ. Название консольно-фрезерные верстати получили от консольного кронштейна (консоли), который перемещается по вертикальным направляющим станины верстата і служит опорой для горизонтальных перемещений стола.

Типорозміри консольно-фрезерных верстатів принято характеризовать по величине рабочей (крепежной) поверхности стола. Консольно-фрезерные верстати могут мати горизонтальное, универсальное (широкоуниверсальные) і вертикальное виконання при одной і той же величине рабочей поверхности стола. Сочетание разных исполнений верстата при одинаковой основной размерной характеристике стола называют размерной гаммой верстатів.

В СССР было освоено производство консольно-фрезерных верстатів пяти типорозмірів:
№ 0; № 1; № 2; № 3 і № 4, причем по каждому размеру выпускалась полная гамма верстатів — горизонтальные, универсальные і вертикальные. Каждый верстат одной размерной гаммы имел в шифре одинаковое обозначение, соответствующее размеру рабочей поверхности стола.

В зависимости от размера рабочей поверхности стола различают наступні розміри консольно-фрезерных верстатів:

Размер Гамма верстатів Размер стола, мм
0 6Р10, 6Р80, 6Р80Г, 6Р80Ш 200 х 800
1 6Н11, 6Н81, 6Н81Г; 6Р11, 6Р81, 6Р81Г, 6Р81Ш 250 х 1000
2 6М12П, 6М82, 6М82Г; 6Р12, 6Р82, 6Р82Ш; 6Т12, 6Т82, 6Т82Г, 6Т82Ш 320 х 1250
3 6М13П, 6М83, 6М83Г; 6Р13, 6Р83; 6Т13, 6Т83, 6Т83Г 400 х 1600
4 6М14П, 6М84, 6М84Г 500 х 2000

В соответствии з размерами стола меняются габаритные розміри самого верстата і его основних вузлів (станины, стола, салазок, консоли, хобота), мощность електродвигуна і величина наибольшего переміщення (хода) стола в продольном, салазок в поперечном і консоли в вертикальном направлениях.


Обозначение консольно-фрезерных верстатів

6 - фрезерный верстат (номер группы по классификации ЭНИМС)

Р – серия (поколение) верстата (Б, К, Н, М, Р, Т)

1 – номер подгруппы (1, 2, 3, 4, 5, 6, 7, 8, 9) по классификации ЭНИМС (1 - вертикально-фрезерный)

1 – виконання верстата - типоразмер (0, 1, 2, 3, 4) (1 - размер робочого стола - 250 х 1000)


Буквы в кінці обозначения модели:

Г – верстат горизонтальный консольно-фрезерный з неповоротным столом

К – верстат з копировальным пристрійм для обробки криволинейной поверхности

Б – верстат з підвищеної производительностью (повышенный диапазон чисел оборотів шпинделя, подач стола і повышенная мощность двигуна головного руху).

П – точность верстата - (н, п, в, а, с) по ГОСТ 8-ХХ

Ш – верстат широкоуніверсальний

Ф1 – верстат з пристрійм цифровой индикации УЦИ і преднабором координат

Ф2 – верстат з позиционной системой числового керування ЧПУ

Ф3 – верстат з контурной (непрерывной) системой ЧПУ

Ф4 – верстат многоцелевой з контурной системой ЧПУ і магазином инструментов





Габарит робочого простору і присоединительные базы фрезерного верстата 6К11

Габаритные розміри робочого простору і присоединительные базы широкоуніверсального консольно-фрезерного верстата 6К11

Габарит робочого простору і присоединительные базы фрезерного верстата 6К11


Посадочные і присоединительные базы фрезерного верстата 6К11

Посадочные і присоединительные базы фрезерного верстата 6К11


Загальний вигляд фрезерного верстата 6К11

6К11 Загальний вигляд  вертикального консольно-фрезерного верстата

Фото фрезерного верстата 6К11


6К11 Загальний вигляд  вертикального консольно-фрезерного верстата

Фото фрезерного верстата 6К11


6К11 Загальний вигляд  вертикального консольно-фрезерного верстата

Фото фрезерного верстата 6К11


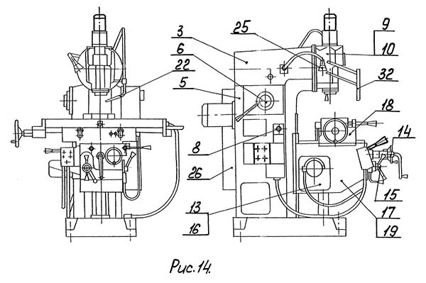
Розташування основних вузлів вертикального фрезерного верстата 6К11

Розташування основних вузлів фрезерного верстата 6К11

Розташування основних вузлів фрезерного верстата 6К11

Розташування основних вузлів фрезерного верстата 6К11. Дивитись у збільшеному масштабі



  1. Станина - 6К81Г.10.000 (6К81Г, 6К82Г)
  2. Станина - 6К81Ш.10.000 (6К81Ш, 6К82Ш)
  3. Станина - 6К11.11.000 (6К11, 6К12)
  4. Коробка швидкостей - 6К82Г.20.000 (6К82Ш)
  5. Коробка швидкостей - 6Д12.22.000 (6К12)
  6. Переключення швидкостей - 6Д82Г.21.000 (6К82Г, 6К82Ш, 6К12)
  7. Смазка коробки швидкостей - 6Д82Г.23.000 (6К82Г, 6К82Ш)
  8. Смазка коробки швидкостей - 6К11.24.000 (6К11, 6К12)
  9. Головка (неповоротная) фрезерна - 6К11.34.000 (6К11, 6К12)
  10. Головка (неповоротная) фрезерна - 6К11.35.000 (6К11, 6К12)
  11. Ползун - 6Д82Ш.44.000 (6К82Ш)
  12. Головка (поворотная) фрезерна - 6Д82Ш.40.000 (6К82Ш)
  13. Коробка подач - 6Н81Г.51.000 (6К82Г, 6К82Ш, 6К12)
  14. Коробка реверса - 6К81Г.53.000 (6К82Г, 6К82Ш, 6К12)
  15. Переключення подач - 6К81Г.55.000 (6К82Г, 6К82Ш, 6К12)
  16. Редуктор - 6К81Г.57.000 (6К82Г, 6К82Ш, 6К12)
  17. Консоль - 6К81Г.61.000 (6К82Г, 6К82Ш, 6К12)
  18. Стол - 6К82Г.70.000 (6К82Г, 6К82Ш, 6К12)
  19. Смазка стола і консоли - 6К81Г.84.000 (6К82Г, 6К82Ш, 6К12)
  20. Охлаждение - 6К81Г.85.000 (6К81Г, 6К82Г)
  21. Охлаждение - 6К81Ш.85.000 (6К81Ш, 6К82Ш)
  22. Охлаждение - 6К11.85.000 (6К11, 6К12)
  23. Електроустаткування - 6К81Г.91.000
  24. Електроустаткування - 6К81Ш.91.000
  25. Електроустаткування - 6К11.91.000
  26. Станція керування - 6К81Г.94.000
  27. Станція керування - 6К81Ш.94.000
  28. Принадлежности - 6Д82Г.100.000
  29. Принадлежности - 6Д82Ш.100.000
  30. Принадлежности - 6Д12.100.000
  31. Ограждение - 6Р81Г.12.000
  32. Ограждение - 6Д12.12.000

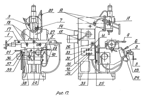
Схема розположення органів керування фрезерным верстатом 6К11

Схема розположення органів керування фрезерным верстатом 6К11

Схема розположення органів керування фрезерным верстатом 6К11

Схема розположення органів керування фрезерным верстатом 6К11. Дивитись у збільшеному масштабі



  1. Маховик ручного продольного переміщення стола
  2. Маховик ручного поперечного переміщення стола
  3. Рукоятка ручного вертикального переміщення стола
  4. Рукоятка увімкнення механической поздовжньої подачі
  5. Рукоятка увімкнення механической поперечної подачі
  6. Рукоятка увімкнення механической вертикальной подачі
  7. Маховичок переміщення гильзы шпинделя
  8. Квадрат для переміщення хобота (ползуна)
  9. Квадрат для рукоятки поворота фрезерной головки
  10. Квадрат для закрепления хобота (ползуна)
  11. Рукоятка закрепления гильзы шпинделя
  12. Гайка закрепления поворотной фрезерной головки
  13. Гайка закрепления поддержки
  14. Грибовидная рукоятка выбора частоти обертання шпинделя
  15. Рукоятка переключения частоти обертання шпинделя
  16. Рукоятки переключения частоти обертання поворотного шпинделя
  17. Кулачки ограничения продольного ходу стола
  18. Рукоятка закрепления стола от продольного переміщення
  19. Гайки закрепления поворотной фрезерной головки в поперечної плоскости
  20. Кран подачі охлаждающей жидкости
  21. Рукоятка закрепления стола от поперечного переміщення
  22. Кнопка периодической змазки направляючих стола і салазок
  23. Рукоятка переключения подач стола
  24. Рукоятка переключения перебора подач стола
  25. Кулачки ограничения вертикального ходу стола
  26. Пробка для залива масла в резервуар станины
  27. Рукоятка вводного выключателя
  28. Замок електрошафи
  29. Выбор направления обертання горизонтального з вертикального) шпинделя
  30. Выбор шпинделя (горизонтального или поворотного)
  31. Выбор направления обертання поворотного шпинделя
  32. Переключатель подготовки к пуску шпинделя или к смене фрезы
  33. Импульсное увімкнення шпинделя
  34. Увімкнення електронасоса охлаждения
  35. Аварийный стоп (аварийное відключення електроустаткування)
  36. Стоп шпинделя і подачі
  37. Пуск шпинделя
  38. Увімкнення подачі
  39. Аварийный стоп (аварийное відключення електроустаткування)
  40. Рукоятка увімкнення ускоренного ходу
  41. Разжим фрезы
  42. Зажим фрезы



Кінематична схема фрезерного верстата 6К11

Кінематична схема головного приводу фрезерного верстата 6К11

Кінематична схема головного приводу фрезерного верстата 6К11

Кінематична схема головного приводу фрезерного верстата 6К11. Дивитись у збільшеному масштабі



Кінематична схема поворотного шпинделя фрезерного верстата 6К11

Кінематична схема поворотного шпинделя фрезерного верстата 6К11

Кінематична схема поворотного шпинделя фрезерного верстата 6К11. Дивитись у збільшеному масштабі



Кінематична схема приводу подач фрезерного верстата 6К11

Кінематична схема приводу подач фрезерного верстата 6К11

Кінематична схема приводу подач фрезерного верстата 6К11. Дивитись у збільшеному масштабі



Схема кінематична (рис. 18,19,20,21,22)

Привід головного руху горизонтального или вертикального шпинделя осушествляется от фланцевого електродвигуна через упругую муфту.

Частота обертання, шпинделя изменяется передвижением трех зубчатых блоков по шлицевым валам, II; IV; VI, а также включением зубчатой муфты 13.

Коробка швидкостей включает шпинделю 21 различную скорость.

График частот обертання шпинделя верстата, показывающий структуру механізма приведен на рисунке 23.

Привід головного руху вертикального поворотного шпинделя осуществляется от фланцевого електродвигуна через упругую соединительную муфту (рис.21).

Частота обертання шпинделя изменяется передвижением двух зубчатых блоков по шлицевым валам XXV, III, XXX і зубчатой муфты 85.

Коробка швидкостей включает шпинделю 12 различных швидкостей.

График частот обертання вертикального поворотного шпинделя верстата, поясняющий структуру механізма, приведен на рисунке 24.

Привід подач осуществляется от електродвигуна через упругую муфту (рис.22).

Ввиду простоты кинематики здесь поясняется только разделение в механізме подачі ланцюгів робочого і ускоренного переміщення стола.

Рух рабочей подачі передається от зубчатого колеса 33 коробки подач через промежуточный вал ХI на червячное колесо 39 редуктора. Червячное колесо установлено на валу xIII на підшипниках і заклинивается на нем з помощью муфты обгона 107.

Ускоренное вращение передається от електродвигуна к валу XIII через передачу зубчатых колес 23-40. Зубчатое колесо 40 установлено на валу XIII свободно на підшипниках і може вращать вал, только при включении фрикционной муфты 108.

При включении фрикционной муфты 108 обгонная муфта 107 отключает червячное колесо 39 от вала XIII.

Коробка подач включает 16 различных подач (рис.22).

График величины подач показан на рисунке 25.





6К11 Верстат консольно-фрезерный вертикальний. Відеоролик.




Технічні характеристики верстата 6К11

Наименование параметра 6К11 6К12 6Р11
Класс точності по ГОСТ 8-71 і ГОСТ 8-82 Н Н Н
Рабочий стол
Розміри рабочей поверхности стола (длина х ширина), мм 250 х 1000 320 х 1250 250 х 1000
Максимальная нагрузка на стол (по центру), кг
Число Т-образных пазов Розміри Т-образных пазов 3 3 3
Наибольшее перемещение стола продольное (ось X), мм 710 850 630
Наибольшее перемещение стола поперечное (ось Y), мм 250 250 200
Наибольшее перемещение стола вертикальное (ось Z), мм 400 400 350
Наименьшее і наибольшее расстояние от торца шпинделя до стола 50..400
Расстояние от оси вертикального шпинделя до направляючих стойки, мм 285
Наибольший угол поворота стола, град нет нет нет
Перемещение стола на одно деление лимба (продольное, поперечное), мм 0,05
Перемещение стола на одно деление лимба (вертикальное), мм 0,025
Перемещение стола на один оборот лимба продольное і поперечное, мм 6
Перемещение стола на один оборот лимба вертикальное, мм 3
Шпиндель
Ход гильзы шпинделя, мм 75 75 60
Частота обертання шпинделя, об/мин (число ступеней) 16..1600 (21) 16..1600 (21) 31,5..1600 (18)
Количество швидкостей шпинделя 21 21 18
Ескіз кінця шпинделя по ГОСТ 836-72 45
Конус шпинделя ISO 50 ISO 50
Угол поворота шпинделльной головки, град ±90° ±90°
Механіка верстата
Быстрый ход стола продольный/ поперечний, мм/мин 2900/ 2300 2900/ 2300 3150
Быстрый ход стола вертикальний, мм/мин 765 765 1050
Число ступеней рабочих подач стола 16 16 16
Пределы рабочих подач. Продольных/ поперечных, мм/мин (число ступеней) 31..1020 (16) 31..1020 (16) 25..800 (16)
Пределы рабочих подач поперечных, мм/мин (число ступеней) 27..790 (16) 27..790 (16) 25..800 (16)
Пределы рабочих подач. Вертикальных, мм/мин 9..264 9..264 8,3-266,7
Выключающие упоры подачі (поздовжньої, поперечної, вертикальной) есть есть есть
Блокировка ручной і механической подачі (поздовжньої) нет
Блокировка ручной і механической подачі (поперечної, вертикальной) есть есть есть
Торможение шпинделя (муфта) есть есть есть
Предохранение от перегрузки (шариковая пара) есть есть есть
Привод. Електроустаткування
Електродвигун приводу головного руху, кВт (об/мин) 5,5 5,5 5,5 (1450)
Електродвигун приводу подач, кВт (об/мин) 1,5 1,5 1,5 (1450)
Электронасос охлаждающей жидкости Тип Х14-22М
Электронасос охлаждающей жидкости, кВт 0,12
Производительность насоса СОЖ, л/мин 22
Габарит і масса верстата
Габарити верстата (длина ширина высота), мм 2135 х 1725х 2290 2135 х 1865х 2290 1480 х 2360 х 2360
Масса верстата, кг 2350 2380 2360

    Список литературы:

  1. Аврутин С.В. Основы фрезерного дела, 1962
  2. Аврутин С.В. Фрезерне дело, 1963
  3. Ачеркан Н.С. Металлорежущие верстати, Том 1, 1965
  4. Барбашов Ф.А. Фрезерне дело 1973, с.141
  5. Барбашов Ф.А. Фрезерные роботи (Профтехобразование), 1986
  6. Блюмберг В.А. Справочник фрезеровщика, 1984
  7. Григорьев С.П. Практика координатно-расточных і фрезерных работ, 1980
  8. Копылов Р.Б. Работа на фрезерных верстатах,1971
  9. Косовский В.Л. Справочник молодого фрезеровщика, 1992, с.180
  10. Кувшинский В.В. Фрезерование,1977
  11. Ничков А.Г. Фрезерные верстати (Библиотека станочника), 1977
  12. Пикус М.Ю. Справочник слесаря по ремонту металлорежущих верстатів, 1987
  13. Плотицын В.Г. Расчёты настроек і наладок фрезерных верстатів, 1969
  14. Плотицын В.Г. Наладка фрезерных верстатів,1975
  15. Рябов С.А. Современные фрезерные верстати і их оснастка, 2006
  16. Схиртладзе А.Г., Новиков В.Ю. Технологическое обладнання машиностроительных производств, 1980
  17. Тепинкичиев В.К. Металлорежущие верстати, 1973
  18. Чернов Н.Н. Металлорежущие верстати, 1988
  19. Френкель С.Ш. Справочник молодого фрезеровщика (3-е изд.) (Профтехобразование), 1978