metalinstryment.com
Довідник по металорізальних верстатів та пресовому обладнанні

6Д82ШФ20 Верстат консольно-фрезерный широкоуніверсальний з ЧПУ
схеми, опис, характеристики

6Д82ШФ20 Верстат консольно-фрезерный широкоуніверсальний з ЧПУ







Відомості про виробника консольно-фрезерного верстата 6Д82ШФ20

Производитель консольно-фрезерного широкоуніверсального верстата моделі 6Д82ШФ20 - Дмитровский завод фрезерных верстатів, основанный в 1940 году.

Основной продукцией завода является широкая гамма универсальных консольно-фрезерных верстатів з размером робочого стола от 250 x 630 мм до 400 x 1600 мм.





Верстати, выпускаемые Дмитровским заводом фрезерных верстатів, ДЗФС


6Д82ШФ20 Верстат фрезерный консольный широкоуніверсальний з ЧПУ. Назначение і область применения

Консольно-фрезерный верстат моделі 6Д82ШФ20 предназначен для фрезерування плоских і фасонных поверхностей всевозможных деталей из стали, чугуна і цветных металлов цилиндрическими, дисковыми, фасонными, угловыми, торцовыми, кінцівыми і другими фрезами в условиях индивидуального і серийного производства. Возможность налаштування верстата на различные напівавтоматические і автоматические циклы позволяет успешно использовать верстати для выполнения работ операционного характера в поточных і автоматических лініях в крупносерийном производстве.

На станке можно 6Д82ШФ20 обрабатывать вертикальные і горизонтальные плоскости, пазы, углы, рамки, зубчасті колеса, можно фрезеровать всевозможные спирали, для чего стол его поворачивается вокруг своей вертикальной оси.

На станке моделі 6Д82ШФ20 можно успешно обрабатывать легкие сплавы.

Особливості конструкції верстата 6Д82ШФ20

Фрезерные верстати 6Д82ШФ20 предназначены для выполнения различных фрезерных работ в условиях как индивидуального, так і крупносерийного производства. В условиях крупносерийного производства верстати могут быть успешно использованы также для выполнения работ операционного характера.

Широкоуніверсальний фрезерный верстат 6Д82ШФ20 имеет два шпинделя, из которых один горизонтальный, второй расположен в поворотной головке і може быть установлен под углом ±90° в поздовжньої плоскости стола і под углом ±45° в поперечної плоскости стола.

Технічна характеристика і высокая жесткость верстатів позволяют полностью использовать возможности как быстрорежущего, так і твердосплавного инструмента.

Технологические возможности верстата могут быть расширены з применением делительной головки, поворотного круглого стола, накладной универсальной головки і других пристосувань.

Верстати автоматизированы і могут быть настроены на различные, автоматические циклы, что повышает производительность труда, исключает необходимость обслуживания верстатів рабочими високою квалификации і облегчает возможность организации многостаночного обслуживания.

Станина имеет жесткую конструкцию за счет развитого основания і большого числа ребер.

По вертикальным направляющим станины перемещается консоль, по горизонтальным направляющим перемещается хобот или ползун.

С правой стороны на станине установлен електрошкаф.

Коробка швидкостей смонтирована непосредственно в корпусе станины.

Соединение коробки з валом електродвигуна осуществляется упругой муфтой.

Шпиндель головного привода представляет собой двухопорный вал, смонтированный в расточках станины. Вращение шпинделю передається от коробки швидкостей через шестерни.

Ползун имеет установочное перемещение, а в рабочем положении закрепляется на горизонтальных направляючих станины.

В корпусе ползуна размещается механізм приводу поворотного шпинделя. Привід осуществляется от фланцевого електродвигуна через упругую соединительную муфту.

Шпиндель фрезерной головки може устанавливаться в разные положения поворотом его корпуса вокруг двух взаимно перпендикулярных осей, а также перемещаться имеете з ползуном параллельно оси горизонтального шпинделя.

Особенностями конструкції верстата являются:

Для сокращения вспомогательного часу і удобства керування в верстатах предусматриваются:


Пределы использования верстатів по мощности і силовым нагрузкам

При высоких і средних числах оборотів шпинделя пределы использования верстатів ограничиваются головним образом допустимыми значениями швидкостей різання для фрез і мощностью електродвигуна головного руху.

Во всех случаях обробки, где возможно применение скоростного фрезерування, рекомендуется использовать верстати на скоростных режимах как наиболее производительных і обеспечивающих спокойную, виброустойчивую работу верстатів.

Фрезерование цилиндрическими быстрорежущими фрезами разрешается з нагрузкой стола усилием подачі не более 1500 кг.

Как показала практика експлуатации консольно-фрезерных верстатів, при работе фрезами из быстрорежущей стали иногда при некотором соотношении параметров режимов різання возникают вибрации. В етих случаях рекомендуется увеличить подачу на зуб или применить фрезы конструкції Карасева з неравномерным шагом і крутой спиралью.

При работе верстата на тяжелых режимах різання лимитирующими факторами, как правило, є стойкость і прочность режущего инструмента.

С етой точки зрения можно рекомендовать в качестве предельных режимов фрезерування наступні:

Наиболее рациональным является использование полной мощности електродвигуна при работе на средних числах оборотів шпинделя і использование 70—75% мощности електродвигуна при работе на низких (4—-5 ступенях) числах оборотів.

Класс точності верстата П по ГОСТ 8—77.


Наиболее известные серии консольно-фрезерных верстатів, выпускаемых ДЗФС:





6Д82ШФ20 Габарит робочого простору фрезерного верстата

6Д82ШФ20 Габаритные розміри робочого простору широкоуніверсального консольно-фрезерного верстата

Габарит робочого простору фрезерного верстата 6Д82ШФ20

Габарит робочого простору фрезерного верстата 6Д82ШФ20. Скачать в увеличенном масштабе



6Д82ШФ20 Посадочные і присоединительные базы фрезерного верстата

6Д82ШФ20 Посадочные і присоединительные базы широкоуніверсального консольно-фрезерного верстата. Кінець горизрнтального шпинделя

Посадочные і присоединительные базы фрезерного верстата 6Д82ШФ20

Посадочные і присоединительные базы верстата 6Д82ШФ20. Скачать в увеличенном масштабе



6Д82ШФ20 Загальний вигляд широкоуніверсального консольно-фрезерного верстата

Загальний вигляд 6Д82ШФ20 cтанок широкоуніверсальний консольно-фрезерный

Фото консольно-фрезерного верстата 6Д82ШФ20

Фото консольно-фрезерного верстата 6Д82ШФ20. Скачать в увеличенном масштабе



Загальний вигляд 6Д82ШФ20 cтанок широкоуніверсальний консольно-фрезерный

Фото консольно-фрезерного верстата 6Д82ШФ20

Фото консольно-фрезерного верстата 6Д82ШФ20. Скачать в увеличенном масштабе



Загальний вигляд 6Д82ШФ20 cтанок широкоуніверсальний консольно-фрезерный

Фото консольно-фрезерного верстата 6Д82ШФ20

Фото консольно-фрезерного верстата 6Д82ШФ20. Скачать в увеличенном масштабе



Загальний вигляд 6Д82ШФ20 cтанок широкоуніверсальний консольно-фрезерный

Фото консольно-фрезерного верстата 6Д82ШФ20

Фото консольно-фрезерного верстата 6Д82ШФ20. Скачать в увеличенном масштабе



Загальний вигляд 6Д82ШФ20 cтанок широкоуніверсальний консольно-фрезерный

Фото консольно-фрезерного верстата 6Д82ШФ20

Фото консольно-фрезерного верстата 6Д82ШФ20. Скачать в увеличенном масштабе



Загальний вигляд 6Д82ШФ20 cтанок широкоуніверсальний консольно-фрезерный

Фото консольно-фрезерного верстата 6Д82ШФ20

Фото консольно-фрезерного верстата 6Д82ШФ20. Скачать в увеличенном масштабе



Розташування органів керування на фрезерном станке 6Д82ШФ20

Розташування органів керування на фрезерном станке 6Д82ШФ20

Розташування органів керування на фрезерном станке 6Д82ШФ20

Розташування органів керування на фрезерном станке 6Д82ШФ20. Скачать в увеличенном масштабе



Розташування органів керування на фрезерном станке 6Д82ШФ20

Розташування органів керування на фрезерном станке 6Д82ШФ20

Розташування органів керування на фрезерном станке 6Д82ШФ20. Скачать в увеличенном масштабе



Список органів керування на фрезерном станке 6Д82ШФ20





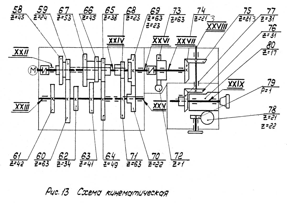
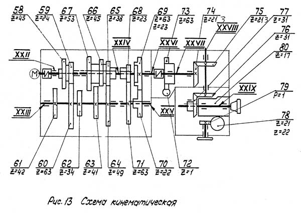
Кінематична схема фрезерного верстата 6Д82ШФ20

Кінематична схема консольно-фрезерного верстата 6Д82ШФ20

Кінематична схема фрезерного верстата 6Д82ШФ20

Кінематична схема консольно-фрезерного верстата 6Д82ШФ20. Скачать в увеличенном масштабе



Кінематична схема консольно-фрезерного верстата 6Д82ШФ20

Кінематична схема фрезерного верстата 6Д82ШФ20

Кінематична схема консольно-фрезерного верстата 6Д82ШФ20. Скачать в увеличенном масштабе




Конструкція вузлів горизонтально-фрезерного верстата

Механізм приводу верстата

Привід головного руху широкоуніверсального консольно-фрезерного верстата 6Д82ШФ20

Привід головного руху фрезерного верстата 6Д82ШФ20

Привід головного руху консольно-фрезерного верстата 6Д82ШФ20. Скачать в увеличенном масштабе



Характерной особенностью шпиндельного вузла любого фрезерного верстата является пристрій 1 (рис. 5.5) для крепления в шпинделе 4 хвостовика фрезы или оправки і торцовая шпонка 5 для передачи крутящего момента со шпинделя на фрезу. Хвостовик инструмента (оправка) втягивается в шпиндель резьбовым шомполом или тягой з отдельным приводом до контакта з центрирующим несамотормозящим (7:24) конусом шпинделя. Удельные давления в конусе определяют жесткость соединения. Для опор шпинделя применена простейшая комбинация підшибників качения з предварительным натягом: спереди - радиальный, двухрядный роликовый 3, сзади - пара радиально-упорных шариковых 2. Чтобы ускорить остановку приводу при выключении двигуна, используют електромагнитный тормоз 8, связывающий первый вал (и ротор двигуна) з корпусом. Механізми приводу смазываются з помощью насоса 7, на который нажимает ексцентричный подшипник 6.

Стол

Стол широкоуніверсального консольно-фрезерного верстата 6Д82ШФ20

Стол фрезерного верстата 6Д82ШФ20

Стол консольно-фрезерного верстата 6Д82ШФ20. Скачать в увеличенном масштабе



Стол 6 (рис. 5.6) имеет Т-образные пазы для крепления заготовки, направляющие ковзання типа "ласточкин хвост" і передачу винт-гайка для прямолинейного переміщення. Зазор в направляючих регулируют клином 13, а в передаче - червяком 14. Ходовая гайка 3 нерухомо закреплена на салазках 11, а ходовой винт 2 вращается в столе і перемещается вместе з ним. Винт получает вращение от маховичка 1 через муфту 12 или от двигуна коробки подач через коническую передачу 8, реверсирующий механізм з муфтой 4 і скользящую шпонку 5 (шпоночный паз на винте прорезает резьбу). У направляючих 9 салазок форма прямолинейная, а зазоры регулируют клином 7 і пригонкой планок 10.

Консоль

Консоль широкоуніверсального консольно-фрезерного верстата 6Д82ШФ20

Консоль фрезерного верстата 6Д82ШФ20

Консоль фрезерного верстата 6Д82ШФ20. Скачать в увеличенном масштабе



Консоль широкоуніверсального консольно-фрезерного верстата 6Д82ШФ20

Консоль фрезерного верстата 6Д82ШФ20

Консоль фрезерного верстата 6Д82ШФ20. Скачать в увеличенном масштабе



Консоль 1 (рис. 5.7) содержит многоваловую конструкцию коробки подач, распределительно-реверсирующие механізмы з електромагнитными муфтами (например, на валу 4), передачу з ходовым винтом 7, который вращается і перемещается вертикально относительно гайки 6, ходовой винт 2, который вращается, перемещая гайку 5 салазок, шлицевый вал 3, который передает вращение через конические передачи ходовому винту стола.


6Д82ШФ20 Установка і крепление фрез

6Д82ШФ20 Установка і крепление фрез

Установка і крепление фрез фрезерного верстата 6Д82ШФ20




6Д82ШФ20 Верстат консольно-фрезерный широкоуніверсальний. Відеоролик.



Технічні характеристики верстатів моделей 6Д82ШФ20

Наименование параметра 6Д81Ш 6Д82Ш 6Д82ШФ20
Основні параметри верстата
Класс точності по ГОСТ 8-82 П П Н
Розміри рабочей поверхности стола (длина х ширина), мм 250 х 1250 320 х 1250 320 х 1250
Расстояние от оси горизонтального шпинделя до стола при ручном перемещении, мм 50..440 50..450 50..450
Расстояние от оси горизонтального шпинделя до хобота, мм 138 138 138
Расстояние от торца горизонтального шпинделя до торца поддержки, мм 430 440 420
Расстояние от торца шпинделя поворотной головки до стола, мм 67..457 155..555 155..555
Расстояние от оси шпинделя поворотной головки до направляючих станины (вылет), мм 125..760 125..810 125..760
Рабочий стол
Максимальная нагрузка на стол (по центру), кг 400
Число Т-образных пазов Розміри Т-образных пазов 3 3 3
Наибольшее продольное перемещение стола (ось X), мм 630 950 950
Наибольшее поперечное перемещение стола механическое (ось Y), мм 200 320 320
Наибольшее вертикальное перемещение стола (ось Z), мм 390 400 400
Перемещение стола на одно деление лимба (продольное, поперечное), мм 0,05 0,05
Перемещение стола на одно деление лимба (вертикальное), мм 0,025 0,05
Наибольший угол поворота стола, град ±45° ±45°
Цена деления шкалы поворота стола, град
Скорость швидкого продольного переміщення стола (ось X), м/мин 2,9 4
Скорость швидкого поперечного переміщення стола (ось Y), м/мин 2,3 4
Скорость швидкого вертикального переміщення стола (ось Z), м/мин 1,15 1,338
Число ступеней рабочих подач стола 16 Б/с
Пределы продольных рабочих подач стола, мм/мин 35..1020 100..2000 (1:1)
Пределы поперечных рабочих подач стола, мм/мин 26..790 100..2000 (1:1)
Пределы вертикальних рабочих подач стола, мм/мин 13..390 100..1000 (1:1)
Пределы рабочих подач стола в диапазоне 1:10, мм/мин - - 4..200 (1:10)
Горизонтальный шпиндель
Частота обертання горизонтального шпинделя, об/мин 20..2000 20..2000 20..2000
Количество швидкостей горизонтального шпинделя 21 21 21
Внутренний конус горизонтального шпинделя по ГОСТ 24644-81 40 50 50
Наибольший крутящий момент на горизонтальном шпинделе, кН*м 0,85
Наибольший допустимый диаметр фрез, мм 160 160 160
Торможение шпинделя есть есть есть
Предохранение шпинделя от перегрузки (муфта) есть есть есть
Шпиндель поворотной головки
Частота обертання шпинделя поворотной і накладной головок, об/мин 45..2000 45..2000 45..2000
Количество швидкостей шпинделя поворотной і накладной головок 12 12 12
Наибольшее перемещение гильзы вертикального шпинделя, мм 80 80 80
Угол поворота оси вертикального шпинделя в поздовжньої плоскости, град ±45° ±45°
Угол поворота оси вертикального шпинделя в поперечної плоскости от станины, град 90° 90°
Угол поворота оси вертикального шпинделя в поперечної плоскости к станине, град 45° 45°
Внутренний конус шпинделя поворотной і накладной головок по ГОСТ 24644-81 40 40 40
Наибольший крутящий момент на поворотном шпинделе, кН*м 0,18
Наибольший допустимый диаметр фрез, мм 80
Механіка верстата
Выключающие упоры продольных подач есть есть есть
Выключающие упоры поперечных, вертикальних подач есть есть есть
Блокировка раздельного увімкнення подачі есть есть есть
Система ЧПУ
Тип пристроя ЧПУ - - Ljumo-61A 3/5
Электропривід постоянного тока - - ЭТG-C-14-19/70
Преобразователь линейных перемещений - - TGMOII 370, 420, 1020 мм
Електроустаткування. Привод
Питающая електросеть 380 В, 50 Гц 380 В, 50 Гц 380 В, 50 Гц
Напряжение местного освещения, В ~24 ~24 ~24
Напряжение ланцюги керування, В ~110, =24 ~110, =24 ~110, =24
Количество електродвигателей на станке 4 5 9
Електродвигун приводу горизонтального шпинделя, кВт (об/мин) 5,5 5,5 5,5 (1425)
Електродвигун приводу шпинделя поворотной головки, кВт (об/мин) 2,2 2,2 2,2 (1420)
Електродвигун приводу подач, кВт (об/мин) 1,5 2,2
Електродвигун приводу подач, Нм (об/мин) - - 37 (2000)
Електродвигун приводу подач, Нм (об/мин) - - 47 (2000)
Електродвигун приводу подач, Нм (об/мин) - - 35 (1500)
Електродвигун насоса охлаждающей жидкости, кВт (об/мин) 0,12 0,12 0,12 (2800)
Електродвигун приводу гідронасоса, кВт (об/мин) - - 1,1 (920)
Електродвигун механізма зажиму инструмента, кВт (об/мин) нет 0,25 0,18 (1370)
Електродвигун насоса змазки, кВт (об/мин) - - 0,25 (1380)
Суммарная мощность електродвигателей, кВт 9.32 10,27 12,34
Габарити і масса верстата
Габарити верстата (длина ширина высота), мм 2030 х 1480 х 1695 2275 х 2200 х 2115 2650 х 2200 х 2015
Масса верстата, кг 2400 3250 3335

    Список литературы:

  1. Верстат горизонтально-фрезерный консольный з вертикальным поворотным шпинделем з УЦИУ (широкоуніверсальний) 6Д82ШФ20. Руководство по експлуатации 6Д82ШФ20.00.000 РЭ, 1986

  2. Аврутин С.В. Основы фрезерного дела, 1962
  3. Аврутин С.В. Фрезерне дело, 1963
  4. Ачеркан Н.С. Металлорежущие верстати, Том 1, 1965
  5. Барбашов Ф.А. Фрезерне дело 1973, с.141
  6. Барбашов Ф.А. Фрезерные роботи (Профтехобразование), 1986
  7. Блюмберг В.А. Справочник фрезеровщика, 1984
  8. Григорьев С.П. Практика координатно-расточных і фрезерных работ, 1980
  9. Копылов Р.Б. Работа на фрезерных верстатах,1971
  10. Косовский В.Л. Справочник молодого фрезеровщика, 1992, с.180
  11. Кувшинский В.В. Фрезерование,1977
  12. Ничков А.Г. Фрезерные верстати (Библиотека станочника), 1977
  13. Пикус М.Ю. Справочник слесаря по ремонту металлорежущих верстатів, 1987
  14. Плотицын В.Г. Расчёты настроек і наладок фрезерных верстатів, 1969
  15. Плотицын В.Г. Наладка фрезерных верстатів,1975
  16. Рябов С.А. Современные фрезерные верстати і их оснастка, 2006
  17. Схиртладзе А.Г., Новиков В.Ю. Технологическое обладнання машиностроительных производств, 1980
  18. Тепинкичиев В.К. Металлорежущие верстати, 1973
  19. Чернов Н.Н. Металлорежущие верстати, 1988
  20. Френкель С.Ш. Справочник молодого фрезеровщика (3-е изд.) (Профтехобразование), 1978