metalinstryment.com
Довідник по металорізальних верстатів та пресовому обладнанні

FUW 260x720 (Duplex 58) верстат фрезерный инструментальный
схеми, опис, характеристики

FUW 260x720 (Duplex 58) верстат фрезерный инструментальный







Відомості про виробника фрезерного широкоуніверсального верстата FUW 260x720 (Duplex 58)

UMF Ruhla (Uhren- und Maschinenfabrik Ruhla, VEB Klement Gottwald) - часовий і станкостроительный завод (народное предприятие им. Клемента Готвальда в г. Рула, Тюрингия, ГДР).





Верстати, выпускаемые Германией


FUW 260x720 (Duplex 58, TYP-58) верстат фрезерный універсальний инструментальный. Назначение і область применения

Універсальный фрезерный верстат FUW 260x720 прямой наследник моделі Thiel 58, предназначен для фрезерування деталей цилиндрическими, дисковыми і фасонными фрезами при помощи горизонтального шпинделя, і торцовыми, кінцівыми і шпоночными фрезами при помощи поворотного вертикального шпинделя, который при необходимости може быть повернут под углом.

Принцип роботи і особливості конструкції верстата FUW 260x720

Дуплекс 58 — верстат для изготовления инструментов, производства частин, требуемых для изготовления пристосувань, калибров, форм, а также і для серийного производства заготовок високою точності, для которых изготовление пристосувань является не выгодным.

Конструкція верстата Дуплекс 58 допускает обрабатывать заготовку за одно крепление под любым углом. Различные рабочие операции, такие как фрезерование, сверление, развертывание і растачивание осуществляются при етом по выбору при помощи вертикального или горизонтального робочого шпинделя.

Дуплекс 58 дает возможность работать при помощи измерительных линеек или кінцівых мер длины в з'єднанні з индикаторными приборами по системе координат.

Главный привід (см. черт. 4, 5, 11)

Привід верстата Дуплекс 58 осуществляется через 8-ступенчатую главную передачу з трехрычажным переключением.

Для установки желаемых чисел оборотів горизонтального или вертикального шпинделей служат рычаги переключения 26. Необходимые положения етих рычагов отмечены на щите обслуживания (на стр. 21). Включать разрешается только в застое при помощи маховичка 30.

Рычаг 1 пускает в ход разжимную муфту з тормозным конусом, которая находится между приводным мотором і передачей. Регулювання етой муфты описана на странице 23.

Шпиндельная бабка (см. черт.4)

Шпиндельная бабка воспринимает горизонтальный шпиндель вращающийся в підшипниках качения. Передний подшипник шпинделя регулируемый (см. черт. 6)

Подача шпиндельной бабки може быть произведена по выбору, механически или вручную. Для каждой перестановки необходимо освободить зажимные рычаги 2 і 3.

При неавтоматичною работе необходимо выключить падающий червяк посредством рычага 4.

Вращением ручного маховичка 5 шпиндельна бабка приведётся в рабочее положение. Рычаг 6 служит для увімкнення падающего червяка для механического руху шпиндельной бабки.

Автоматическое відключення механического руху шпиндельной бабки происходит при наезде регулируемых упоров 7 і 8 на ролик рычага 4.

Прикреплённые на шпиндельной бабке регулируемые упоры 9 служат для ограничения руху шпиндельной бабки з помощью при перемещении вручную.

Коробка подач (см. Черт. 7)

Подачи работают независимо от оборотів шпинделя, т. е. для каждой скорости фрезерных шпинделей существуют 3 подачі, дающие рабочему столу і шпиндельной бабке механическое рух з ходом вперед і назад. Подачи могут также одновременно дать ход всем 3 шпинделям.

При смазке цепного колеса і леникса, как і при перестановке післяднего нужно снимать защитный колпак.

Обороты подачі для переміщення шпиндельной бабки получаются от коробки подач через телескопический валик з падающим червяком на гайку ходового гвинта. Обороты подачі для переміщення продольного і вертикального супортів переходят от коробки передач на находящийся вне станины телескопический валик.

Защитный механізм при перегрузках (см. черт. 8)

Между цепным колесом К6 і поводком 41 происходит привід для коробки подач через предохранительный срезной штифт 40. При перегрузке верстата предохранительный срезной штифт срезается. Предохранительный колпак снимается і срезанный штифт выбивается в сторону колеса. Вставляется новый штифт Ø 2,3; MSt 5 ДИН 668.

Вертикальный супорт (см. черт.4)

Обороты подачі телескопического валика переносятся на реверсивный привід прикрепленный на левой стороне вертикального суппорта. Посредством системы тяг находящаяся в вертикальным суппорте приводятся при помощи включающих рычагов 12 вертикальний супорт в механическое движение. Перед каждой перестановке надо ослабить зажимной рычаг находящийся на правой стороне вертикального суппорта. Вращением маховичка 13 вертикальний супорт приводится в рабочее положение. Автоматическое вимкнення механического переміщення вертикального суппорта происходит путем запуска переставных упоров 15. Переставляемые упоры 17 прикрепленные к станине служат упорами при перестановке вертикального суппорта от руки.

Продольный супорт (см. Черт. 4 і 7)

Механические переміщення продольного суппорта включаются рычагами 19. Вращением рукояток 20 і 21 продольный супорт приводится в рабочее положение. И здесь надо ослабить перед каждой перестановкой зажимной рычаг, находящийся на правой стороне суппорта.

Автоматическое вимкнення механических перемещений продольного суппорта происходит путем запуска передвижных упоров 22. Передвижные кулачки 33 на продольном суппорте служат упорами при перемещении вручную продольного суппорта.

Измерительное пристрій:

Маховички рабочих супортів оборудованы лимбами.

1 деление лимба продольного суппорта = 0,02 мм вертикального суппорта = 0,02 мм шпиндельной бабки = 0,02 мм

Линейки у робочого стола з нониусами имеют точность з 0,02 мм.

Верстат снабжен пристрійм установки еталонными плитами і индикаторами. При установці координатных размеров для сверления деталей з точным расстоянием между центрами, рекомендуется работать з етим пристрійм. Установка происходит непосредственно у движущейся детали верстата, (вертикального суппорта, продольного суппорта, шпиндельной бабки). Между упором і щупом индикатора, укрепленного в держателе, кладутся еталонные плитки, которые набираются в соответствии з размерами, указанными в чертеже обрабатываемого вироби. Во время смени индикатор остаётся в неизменяемом положении. После замены еталонных плиток показатель доведётся посредством переміщення супортів до „0" і етим получается постоянное, равномерное давление измерения. Индикатор служит только указателем давления, измерения, отсчёта измерительных показаний не сделается.

Пример к руководству координатной системы

Для изготовления самых точных кондукторов, шаблонов, приспособлении, штампов, моделей і т. д. можно, применяя сверлильный і расточной патрон, облегчить работу при помощи метода координатной системы.

На выше изображенном чертеже показаны расстояния между отверстиями, диаметры сверлений, і радиусы вироби, розміри которых указаны в рядом расположенной таблице. Они определяются на изделии следующим образом:

После того как центр сверления 1 центрирован посредством продольного суппорта і шпиндельной бабки или поперечного суппорта аппарата 2 или продольного і вертикального супортів, лимбы ходовых винтов ставятся на "0", а нониусы линеек на целое число. Эти полученные данные записываются я таблицу, так как з етого положения производится дальнейшая обработка вироби. Например: отверстие 2 находится согласно таблице в направлении А 35,00 мм, і направления О 7,75 мм.

При передвижении суппорта надо обратить внимание на то, чтобы шпиндели работали в одном направлении, чтобы не получилось отклонения размеров.

Привід верстата (см. Черт. 10)

Мотор приводу 1 соединен шпонкой з цепной шестерней 2. Ланцюг 3 передает вращение валу 5, а ланцюг 7 коробке передач.

После увімкнення фрикционного сцепления 4 вращается горизонтальный шпиндель 13. Вал 5, связанный з коробкой швидкостей, передает в зависимости от выполненного увімкнення вращение шлицевому валу 9. Ланцюг 10 передает вращение от шлицевого вала 9 на горизонтальный шпиндель 13. Вертикальный шпиндель получит вращение от горизонтального шпинделя через комплект шестерен 2. С выключателем 12 можно выключать привід вертикального шпинделя.





Загальний вигляд широкоуніверсального фрезерного верстата Duplex 58 (FUW 260x720)

Загальний вигляд  широкоуніверсального фрезерного верстата Duplex 58 (FUW 260x720)

Фото фрезерного широкоуніверсального верстата Duplex 58


Загальний вигляд  широкоуніверсального фрезерного верстата Duplex 58 (FUW 260x720)

Фото фрезерного широкоуніверсального верстата Duplex 58


Загальний вигляд  широкоуніверсального фрезерного верстата Duplex 58 (FUW 260x720)

Фото фрезерного широкоуніверсального верстата Duplex 58

Фото фрезерного широкоуніверсального верстата Duplex 58. Дивитись у збільшеному масштабі



Загальний вигляд  широкоуніверсального фрезерного верстата Duplex 58 (FUW 260x720)

Фото фрезерного широкоуніверсального верстата Duplex 58

Фото фрезерного широкоуніверсального верстата Duplex 58. Дивитись у збільшеному масштабі



Загальний вигляд  широкоуніверсального фрезерного верстата Duplex 58 (FUW 260x720)

Фото фрезерного широкоуніверсального верстата Duplex 58



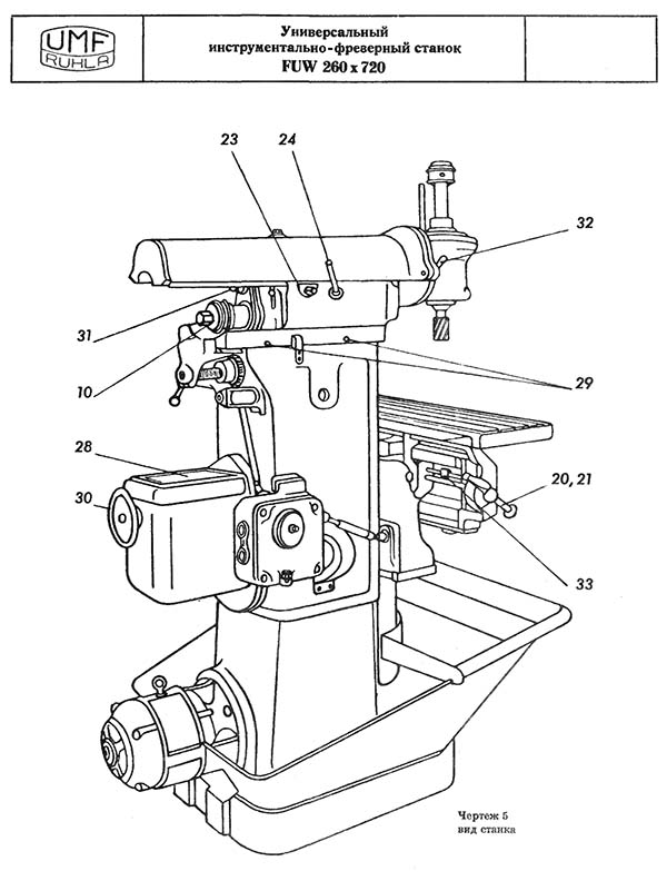
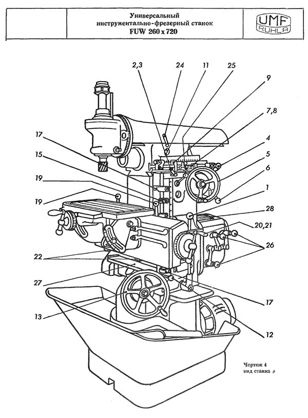
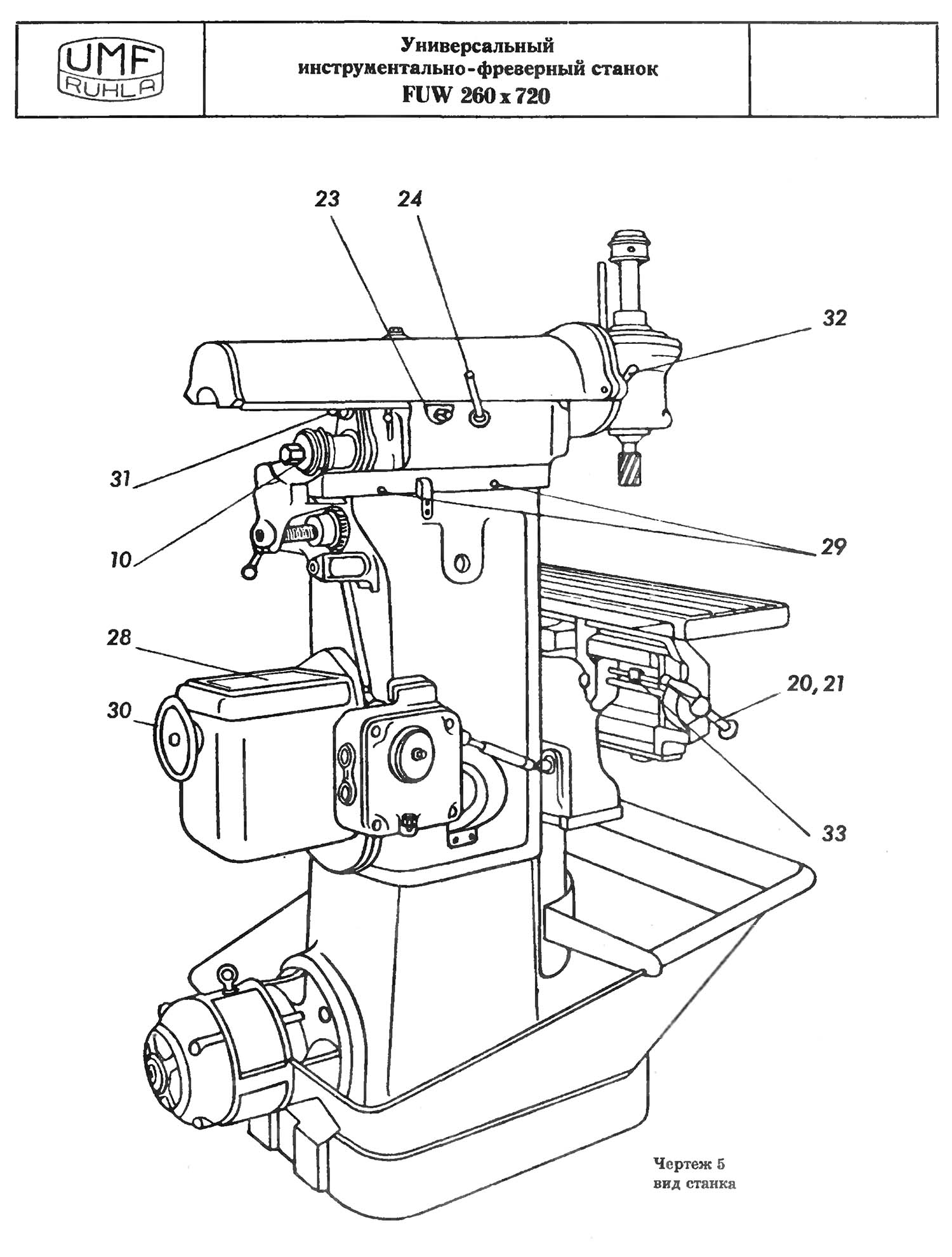
Розташування органів керування фрезерным верстатом Duplex 58 (FUW 260x720)

Схема органів керування фрезерного верстата Duplex 58 (FUW 260x720)

Розташування органів керування фрезерным верстатом Duplex 58 (FUW 260x720)

Розташування органів керування фрезерным верстатом Duplex 58 (FUW 260x720). Дивитись у збільшеному масштабі



Схема органів керування фрезерного верстата Duplex 58 (FUW 260x720)

Розташування органів керування фрезерным верстатом Duplex 58 (FUW 260x720)

Розташування органів керування фрезерным верстатом Duplex 58 (FUW 260x720). Дивитись у збільшеному масштабі



Список органів керування фрезерным верстатом Duplex 58 (FUW 260x720)

  1. Рукоятка для соединительной муфты
  2. Зажимной рычаг для шпиндельной бабки
  3. Зажимной рычаг для шпиндельной бабки
  4. Рычаг для падающего червяка (подача)
  5. Маховичок для переміщення шпиндельной бабки
  6. Рычаг для увімкнення падающего червяка (подача)
  7. Упоры, переставные, для ограничения механического руху вертикального суппорта
  8. Упоры, переставные, для ограничения переміщення шпиндельной бабки от руки
  9. затяжной шпиндель для крепления инструмента
  10. Отверстие для задержки горизонтального шпинделя
  11. Рычаг увімкнення для вертикального суппорта
  12. Маховичок для переміщення вертикального суппорта
  13. Упоры, переставные, для ограничения механического переміщення вертикального суппорта
  14. Упоры, переставные, для ограничения переміщення вертикального суппорта от руки
  15. Рычаг увімкнення для механического руху продольного суппорта
  16. Рукоятки для переміщення продольного суппорта
  17. Упоры, переставные, для ограничения механического руху продольного суппорта
  18. Четырехгранник для переміщення хобота
  19. Рычаг для установки хобота
  20. Рычаг увімкнення для направления переміщення суппорта
  21. Рычаг увімкнення для установки чисел оборотів
  22. Опора для еталонов і индикаторов
  23. Щит обслуживания
  24. Неподвижные упоры для ограничения переміщення шпиндельной бабки
  25. Маховичок для проворачивания при включении
  26. Кнопка керування для увімкнення і виключення вертикального шпинделя
  27. Указательная перекидная рукоятка для вертикального шпинделя
  28. Кулак для ограничения переміщення продольного суппорта от руки




Продольный разрез універсального фрезерного верстата Duplex 58 (FUW 260x720)

Продольный разрез універсального фрезерного верстата Duplex 58 (FUW 260x720)

Продольный разрез універсального фрезерного верстата Duplex 58



  1. мотор
  2. цепная шестерня
  3. ланцюг
  4. сцепление
  5. вал
  6. коробка швидкостей
  7. ланцюг
  8. маховичок
  9. шлицевой вал
  10. ланцюг
  11. шестерни для приводу вертикального шпинделя
  12. выключатель для увімкнення і виключення приводу вертикального шпинделя
  13. шпиндельна бабка (горизонтальный шпиндель)
  14. вертикальная головка
  15. продольный суппорт
  16. вертикальний суппорт
  17. насос для охлаждающего масла
  18. насос для охлаждающего масла

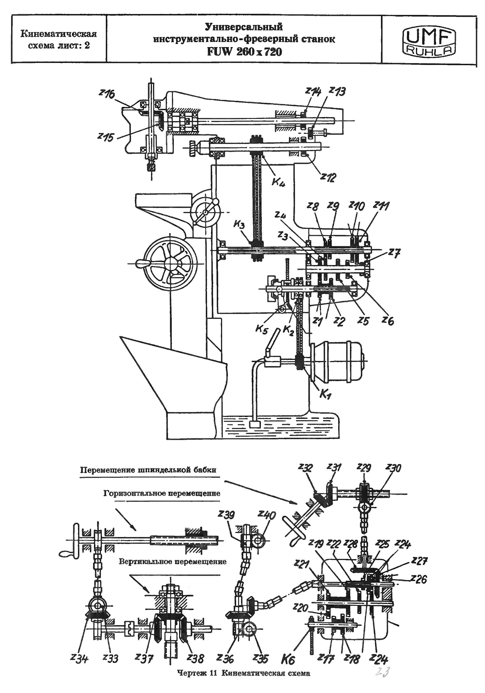
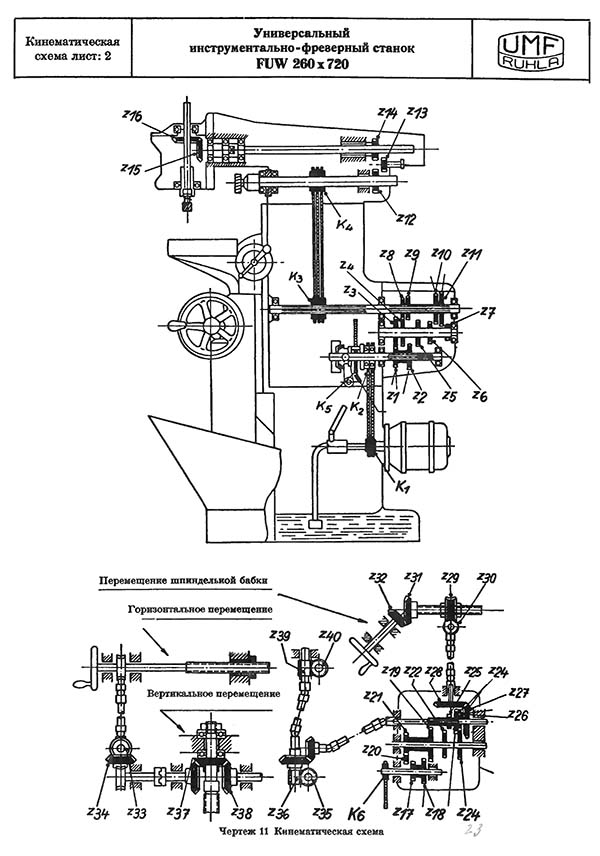
Схема кінематична універсального фрезерного верстата Duplex 58 (FUW 260x720)

Кінематична схема універсального фрезерного верстата Duplex 58




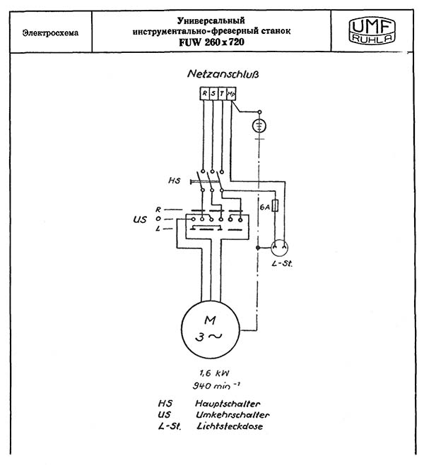
Електроустаткування фрезерного верстата Duplex 58 (FUW 260x720)

Схема електрична фрезерного верстата Duplex 58 (FUW 260x720)

Електрична схема універсального фрезерного верстата Duplex 58 (FUW 260x720)







Duplex 58 (FUW 260x720) Верстат фрезерный універсальний инструментальный. Відеоролик.




Технічні характеристики фрезерного верстата FUW 260x720 (Duplex 58)

Наименование параметра 675 FUW 260x720
Основні параметри верстата
Класс точності по ГОСТ 8-82 Н, П
Розміри вертикального стола (основного), мм 200 х 500
Розміри горизонтального (углового) стола, мм 200 х 630 260 х 720
Расстояние от оси горизонтального шпинделя до рабочей поверхности горизонтального стола, мм 80..380 320
Расстояние от торца вертикального шпинделя до рабочей поверхности горизонтального стола, мм 0..300
Наибольший продольный ход стола (X), мм 320 300
Наибольший вертикальний ход стола (Z), мм 300 300
Наибольший ход хобота (Y), мм 300 250
Цена деления лимбов, мм 0,05 0,02
Горизонтальный і вертикальний шпиндели верстата
Частота обертання горизонтального шпинделя, об/мин 50..1600 (16) 67..825 (8)
Частота обертання вертикального шпинделя, об/мин 63..2000 (16) 102..1250 (8)
Количество швидкостей шпинделей 16 8
Наибольший допустимый крутящий момент на горизонтальном шпинделе, Нм 214
Наибольший допустимый крутящий момент на вертикальном шпинделе, Нм 155
Наибольшее осевое перемещение вертикального шпинделя, мм 60 80
Наибольший угол поворота вертикальной головки в вертикальной плоскости, градус ±90° ±180°
Конус горизонтального і вертикального шпинделей Морзе 4
Стол
Пределы продольных і вертикальних подач стола (X, Z), мм/мин (число ступеней) 12,5..400 (16) 14, 26, 52 (3)
Ускоренный ход стола, мм/мин 935 нет
Количество подач стола 16 3
Поворот стола нет ±30°
Наибольшее усилие подач стола, кН 5
Шпиндельная бабка
Пределы поперечных подач шпиндельной бабки (Y), мм/мин (число ступеней) 12,5..400 (16) 14, 26, 52 (3)
Количество подач шпиндельной бабки 16 3
Наибольшее усилие подач шпиндельной бабки, Н 5000
Електроустаткування і привід верстата
Количество електродвигателей на станке, кВт
Електродвигун головного привода, кВт (об/мин) 1,5 1,6 (940)
Електродвигун приводу подач, кВт (об/мин)
Електродвигун приводу насоса охлаждения, кВт 0,12
Суммарная мощность електродвигателей, кВт 1,62
Габарит і масса верстата
Габарити верстата (длина х ширина х высота), мм 1110 х 1170 х 1650
Масса верстата, кг 1100 860

    Список литературы:

  1. Руководство обслуживания для універсального инструментально-фрезерного верстата FUW 260x720 (Тип: Дуплекс 58), UMF Ruhla 1963

  2. Аврутин С.В. Основы фрезерного дела, 1962
  3. Аврутин С.В. Фрезерне дело, 1963
  4. Ачеркан Н.С. Металлорежущие верстати, Том 1, 1965
  5. Барбашов Ф.А. Фрезерне дело 1973, с.141
  6. Барбашов Ф.А. Фрезерные роботи (Профтехобразование), 1986
  7. Блюмберг В.А. Справочник фрезеровщика, 1984
  8. Григорьев С.П. Практика координатно-расточных і фрезерных работ, 1980
  9. Копылов Р.Б. Работа на фрезерных верстатах,1971
  10. Косовский В.Л. Справочник молодого фрезеровщика, 1992, с.180
  11. Кувшинский В.В. Фрезерование,1977
  12. Ничков А.Г. Фрезерные верстати (Библиотека станочника), 1977
  13. Пикус М.Ю. Справочник слесаря по ремонту металлорежущих верстатів, 1987
  14. Плотицын В.Г. Расчёты настроек і наладок фрезерных верстатів, 1969
  15. Плотицын В.Г. Наладка фрезерных верстатів,1975
  16. Рябов С.А. Современные фрезерные верстати і их оснастка, 2006
  17. Схиртладзе А.Г., Новиков В.Ю. Технологическое обладнання машиностроительных производств, 1980
  18. Тепинкичиев В.К. Металлорежущие верстати, 1973
  19. Чернов Н.Н. Металлорежущие верстати, 1988
  20. Френкель С.Ш. Справочник молодого фрезеровщика (3-е изд.) (Профтехобразование), 1978








Заказать