metalinstryment.com
Довідник по металорізальних верстатів та пресовому обладнанні

MAHO 800 Верстат фрезерный універсальний
опис, схеми, характеристики

MAHO 800 Верстат фрезерный універсальний







Відомості про виробника фрезерного верстата MAHO 800

Производителем фрезерного верстата MAHO 800 является немецкая компания MAHO-Werkzeugmaschinenbau Babel und Co город Пфронтен (Pfronten), образованная в 1920 году.





Верстати, выпускаемые Германией


MAHO MH 800 Верстат фрезерный універсальний. Назначение, область применения

Инструментально-фрезерный верстат MH 800 P підвищеної точності, оснащенный системой ЧПУ Heidenhain TNC 125/TNC 135, выпускался в 80-х годах прошлого века

Верстат MH 800р предназначен для выполнения различных фрезерных получистовых і чистовых работ в условиях инструментального производства.


Загальний вигляд фрезерного верстата MH 800

Загальний вигляд  фрезерного верстата MAHO 800

Загальний вигляд фрезерного верстата MAHO 800

Загальний вигляд фрезерного верстата MAHO 800. Дивитись у збільшеному масштабі



Габарити робочого простору фрезерного верстата MH 800

Габарити робочого простору фрезерного верстата MAHO 800

Габарити робочого простору фрезерного верстата MAHO 800

Габарити робочого простору фрезерного верстата MAHO 800. Дивитись у збільшеному масштабі



Стол неповоротный фрезерного верстата MAHO 800

Стол неповоротный фрезерного верстата MAHO 800

Стол неповоротный фрезерного верстата MAHO 800. Дивитись у збільшеному масштабі



Загальний вигляд инструментального фрезерного верстата MAHO 800

Фото инструментального фрезерного верстата MAHO 800

Фото инструментального фрезерного верстата MAHO 800

Фото инструментального фрезерного верстата MAHO 800. Дивитись у збільшеному масштабі



Фото инструментального фрезерного верстата MAHO 800

Фото инструментального фрезерного верстата MAHO 800

Фото инструментального фрезерного верстата MAHO 800. Дивитись у збільшеному масштабі



Фото инструментального фрезерного верстата MAHO 800

Фото инструментального фрезерного верстата MAHO 800

Фото инструментального фрезерного верстата MAHO 800. Дивитись у збільшеному масштабі



Фото инструментального фрезерного верстата MAHO 800

Фото инструментального фрезерного верстата MAHO 800

Фото инструментального фрезерного верстата MAHO 800. Дивитись у збільшеному масштабі



Фото инструментального фрезерного верстата MAHO 800

Фото инструментального фрезерного верстата MAHO 800

Фото инструментального фрезерного верстата MAHO 800. Дивитись у збільшеному масштабі



Cклад инструментального фрезерного верстата MAHO 800

Cклад инструментального фрезерного верстата MAHO 800

Cклад инструментального фрезерного верстата MAHO 800

Cклад инструментального фрезерного верстата MAHO 800. Дивитись у збільшеному масштабі



  1. Електродвигун головного приводу (робочого шпинделя)
  2. Коробка головного приводу з пристрійм автоматичного електрического переключения частот обертання шпинделя
  3. Валики для ручного переключения частот обертання робочого шпинделя (см. лист 3.03-2)
  4. Шпиндельная бабка з горизонтальным рабочим шпинделем
  5. Вертикальная шпиндельна головка з вертикальным рабочим шпинделем
  6. Стойка
  7. Електродвигун приводу ускоренных координатных перемещений і електродвигатель постоянного тока приводу подач
  8. Крестовый суппорт
  9. Вертикальный основной стол
  10. Основание стойки
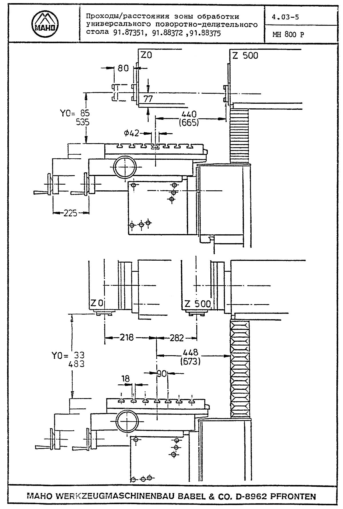
  11. Універсальный поворотно-делительный стол
  12. Пульт керування
  13. Позиционное пристрій ЧПУ
  14. Электрошкаф



Пульт керування инструментальным фрезерным верстатом MAHO 800

Пульт керування инструментальным фрезерным верстатом MAHO 800

Пульт керування инструментальным фрезерным верстатом MAHO 800

Пульт керування инструментальным фрезерным верстатом MAHO 800. Дивитись у збільшеному масштабі



Пульт керування инструментальным фрезерным верстатом MAHO 800

Пульт керування инструментальным фрезерным верстатом MAHO 800

Пульт керування инструментальным фрезерным верстатом MAHO 800. Дивитись у збільшеному масштабі



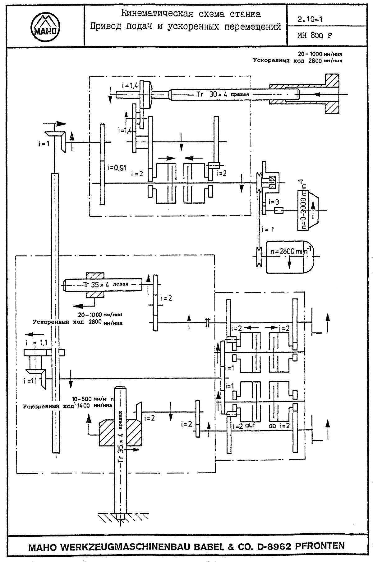
Кінематична схема фрезерного верстата MAHO 800

Кінематична схема фрезерного верстата MAHO 800

Кінематична схема стола фрезерного верстата MAHO 800

Кінематична схема фрезерного верстата MAHO 800. Дивитись у збільшеному масштабі



Кінематична схема фрезерного верстата MAHO 800

Кінематична схема головного руху фрезерного верстата MAHO 800

Кінематична схема фрезерного верстата MAHO 800. Дивитись у збільшеному масштабі



Рух по осям фрезерного верстата MAHO 800

Рух по осям головного руху фрезерного верстата MAHO 800

Рух по осям фрезерного верстата MAHO 800. Дивитись у збільшеному масштабі



Ось X - Горизонтальное продольное перемещение крестового суппорта влево "-" или вправо "+".

Ось Y - Вертикальное перемещение крестового суппорта вверх "-" или вниз "+".

Ось Z - Горизонтальное поперечное перемещение шпиндельной бабки вперед "-" или назад "+".

Ось B - Рух поворота плиты стола по часовий стрелке "+" или против часовий стрелки "-"

Система координат верстата выполнена в соответствии з Техническими Правилами VDI 3255.

Горизонтальный шпиндель фрезерного верстата MAHO 800

Горизонтальный шпиндель фрезерного верстата MAHO 800

Горизонтальный шпиндель стола фрезерного верстата MAHO 800

Горизонтальный шпиндель фрезерного верстата MAHO 800. Дивитись у збільшеному масштабі



Вашему вниманию:

Интервалом в 4.000 часов роботи необходимо произвести демонтаж пиноли для смены змазки підшибників робочого шпинделя.





Вертикальный шпиндель фрезерного верстата MAHO 800

Вертикальный шпиндель фрезерного верстата MAHO 800

Вертикальный шпиндель стола фрезерного верстата MAHO 800

Вертикальный шпиндель фрезерного верстата MAHO 800. Дивитись у збільшеному масштабі



Переналадка з горизонтальных операций на вертикальные на фрезерном станке MAHO 800

Переналадка з горизонтальных операций на вертикальные фрезерного верстата MAHO 800

Переналадка з горизонтальных операций на вертикальные на фрезерном станке MAHO 800

Переналадка з горизонтальных операций на вертикальные на фрезерном станке MAHO 800. Дивитись у збільшеному масштабі



Поворот вертикальной шпиндельной головки:

Переналадка з вертикальних операций на горизонтальных на фрезерном станке MAHO 800

Переналадка з вертикальних операций на горизонтальных на фрезерном станке MAHO 800

Переналадка з вертикальних операций на горизонтальных на станке MAHO 800

Переналадка з вертикальних операций на горизонтальных на фрезерном станке MAHO 800. Дивитись у збільшеному масштабі






Вертикальная фрезерна головка з механізмом подачі пиноли фрезерного верстата MAHO 800

Вертикальная фрезерна  головка з механізмом подачі пиноли фрезерного верстата MAHO 800

Вертикальная фрезерна головка з механізмом подачі пиноли фрезерного верстата MAHO 800

Вертикальная фрезерна головка з механізмом подачі пиноли фрезерного верстата MAHO 800. Дивитись у збільшеному масштабі



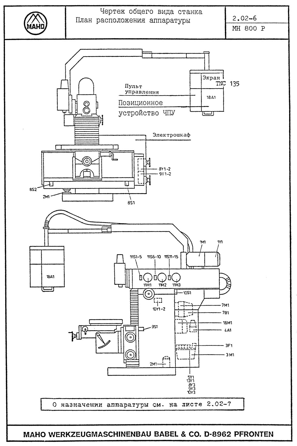
Размещение електроустаткування на станке MAHO 800

Размещение електроустаткування на станке MAHO 800

Вертикальный шпиндель стола фрезерного верстата MAHO 800

Размещение електроустаткування на станке MAHO 800. Дивитись у збільшеному масштабі






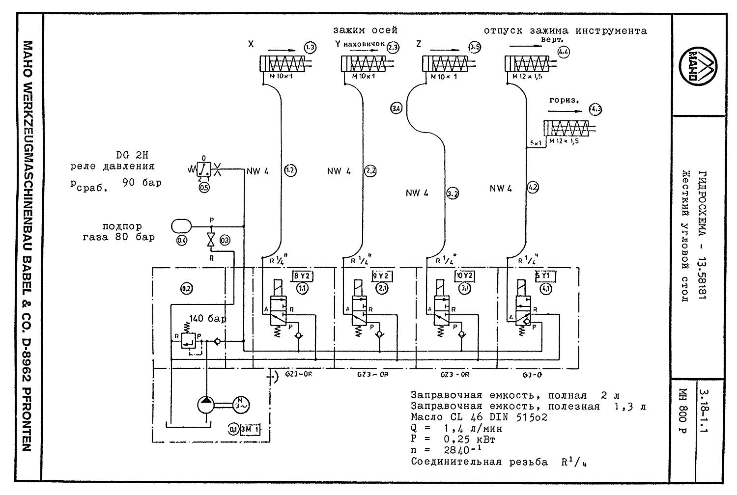
Гідравлічна схема фрезерного верстата MAHO 800

Гідравлічна схема фрезерного верстата MAHO 800

Гідравлічна схема стола фрезерного верстата MAHO 800

Гідравлічна схема фрезерного верстата MAHO 800. Дивитись у збільшеному масштабі



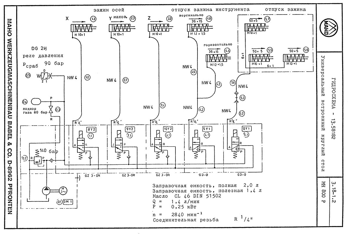
Гідравлічна схема фрезерного верстата MAHO 800

Гідравлічна схема стола фрезерного верстата MAHO 800

Гідравлічна схема фрезерного верстата MAHO 800. Дивитись у збільшеному масштабі



Принцип дії гідросхеми

При нажатии светящейся клавиши -3SH1- на пульті керування запускается насос гідравлічного агрегата, который через несколько секунд создает необходимое рабочее давление в примерно 115 бар. а)

После превышения установленного срабатывающего давления 90 бар реле давления -3F1 - через електрический контакт отключает привід гідравлічного насоса. Сигнальная лампа -3Н1- на пульті керування зажигается і сигнализирует наличие робочого давления в гідравлической установці. а)

Если давление в системе падает ниже установленного срабатывающего давления в 90 бар, то електрический контакт реле давления -3F1- кратковременно опять включает привід гідронасоса. Сигнальная лампа -3Н1 - не горит во время увімкнення приводу насоса.

По восстановлении робочого давления примерно 115 бар реле давления -3F1- опять выключает привід гідравлічного насоса; сигнальная лампа -ЗН1- вновь зажигается.

Клапан для ограничения давления в гідравлическом агрегате установлен на 120 бар і предохраняет гідравлическую установку от перегрузок.




MAHO 800 Верстат фрезерный універсальний. Відеоролик.




Технічні характеристики верстата MH 800 P

Наименование параметра MH 800 P
Рамер рабочей зоны верстата
Размер рабочей зоны верстата в продольном вертикальном і поперечном направлении (ход по осям X / Y / Z), мм 800/ 450/ 500
Расстояние от торца шпинделя до стола, мм
Поверхность робочого стола (Поверхность зажиму з Т-образными пазами), мм
Нагрузка стола (суммарный вес), кг
Рабочий шпиндель
Диапазон скорости обертання, об/мин (число ступеней) 20..2000 (18)
Инструментальный конус шпинделя ИСО 49
Ход пиноли горизонтального і вертикального рабочих шпинделей, мм 80
Подачи
Скорость подачі по осям X і Z м/мин 20..1000
Скорость подачі по оси Y м/мин 10..500
Ускоренный ход по осям X, Z, м/мин 2
Ускоренный ход по оси Y, м/мин 1
Редуцирование швидкостей подач по направлению осей X, Y, Z, кН 10:1
Усилие подачі, макс., кН
Системы керування
Системы керування TNC 125 / TNC 135
Разрешающая способность, мм 0,005
Количество післядовательно управляемых осей 3
Габарити і масса верстата
Габаритные розміри верстата з ЧПУ (длина, ширина, высота), мм 3020 х 2065 х 3000
Масса верстата з транспортером стружки, кг 4400