Виробник токарно-гвинторізного верстата 16вт20п - Вітебський верстатобудівний завод Вістан , заснований у 1914 році.
Верстат 16ВТ20п є прямим нащадком токарного верстата моделі 16К20 найвдалішим продовженням серії середніх верстатів, з висотою центрів 200 мм, початок якої поклав перший верстат серії - ДІП-200 у 1932 році та аналогом токарного верстата МК6057 та ГС526 .
Токарно-гвинторізний верстат 16вт20п призначений для виконання різних токарних робіт і нарізування метричної, модульної, дюймової та різьб. Оброблювані деталі встановлюються у центрах чи патроні.
Токарний верстат 16вт20п підвищеної точності призначений для виконання широкого спектру токарних робіт.
Випускаються наступні модифікації верстатів 16вт20п :
Пневморозвантаження задньої бабки.
Фартух має власний привід прискореного переміщення каретки та супорта, дозволяє здійснювати роботу з упорами з автоматичним відключенням подачі при контакті з упором у момент збільшення навантаження на рейковій шестірні.
Коробка подач має високу жорсткість кінематичного ланцюга і дозволяє робити нарізку різьблення (у тому числі 11 і 19 ниток на дюйм) без зміни шестерень гітари.
Передній кінець шпинделя виконаний за ГОСТ 12593 (Конці шпинделів фланцеві під поворотну шайбу та фланці затискних пристроїв) (DIN 55027, ІСО 702-3-75) з коротким конусом центруючим 1:4 (7°7′30″):
У конструкції для встановлення шпинделя передбачені спеціальні прецизійні підшипники кочення, що не потребують регулювання в процесі експлуатації, завдяки чому забезпечуються необхідна жорсткість та висока точність обробки заготовок. По ГОСТ 8-82 токарний верстат 16вт20п відноситься до класу точності Н. Точність обробки буде забезпечена навіть у режимі ударних навантажень.
Вихідний вал шпиндельної бабки через змінні зубчасті колеса з'єднаний з коробкою подач, що забезпечує переміщення супорта в широкому діапазоні подач від ходового валу при гострінні і від ходового ггвинта при нарізанні різьблення. Для нарізування різьблення передбачено безпосереднє з'єднання ходового ггвинта з вхідним валом коробки подач.
Жорстка коробчатої форми станина з гартованими шліфованими напрямними встановлена на монолітній основі, одночасно службовим стружкозбірником і резервуаром для охолоджувальної рідини.
Механізм шпиндельної бабки верстата дозволяє отримати 4 ряди чисел оборотів шпинделя: два ряди з межами 12 40 і 50 160 об/хв, при включених переборах 1:32 і 1:8 і два ряди з межами 200 630 і 500 1600, :2 та 1,25:1. У цьому випадку перебори 1:32 та 1:8 вимикаються.
На супорті є масштабні лінійки з візирами для зручності визначення величини переміщення різцевих та поперечних санок у процесі роботи. Нова конструкція різцетримача покращує стабільність фіксації.
Фартух верстата забезпечений оригінальним механізмом вимикання подачі супорта, що забезпечує високу точність зупинки на жорсткому упорі. Комплекс огороджувальних та блокувальних пристроїв гарантує безпеку роботи на верстаті.
Найбільш доцільно використовувати верстат в інструментальних та ремонтних службах в умовах дрібносерійного та одиничного виробництва на чистових та напівчистових роботах.
Індикація стану : режим роботи REF, номер нульової точки, номер інструменту, дюйми, масштаб, індикація подачі, секундомір, радіус (відображення діаметра, відображення суми або одного значення для Z та Z0)
Функції УЦІ Heidenhain ND 720 : 10 нульових точок, 16 інструментів, зчитування референтної мітки REF для кодованих датчиків та датчиків з однією реф. Міткою, режим залишкового шляху, введення заданого положення в абсолютних координатах або приростах, масштабування, перемикання мм/дюйм.
Вбудована інструкція з використання, секундомір, калькулятор, запам'ятовування положення інструменту при відведенні інструменту від заготівлі, функції визначення нульової точки за допомогою інструмента, калькулятор конусних форм.
Компенсація помилок : помилка осі: лінійна та вроздріб макс. 200 опорних точок.
Компенсація зазорів : для вимірювання довжини через комбінацію шпиндель/датчик обертання.
При комплектації УЦІ верстату надається назва ВСТ-625-21(2)ЦИ-****

Фото токарно-гвинторізного верстата 16вт20п

Розташування основних вузлів токарно-гвинторізного верстата 16ВТ20п

Схема розташування органів керування токарним верстатом 16вт20п

Кінематична схема верстата 16вт20п
Схема кінематична токарно-гвинторізного верстата 16вт20п. Дивитись у збільшеному масштабі
Кінематична схема приведена для понимания связей і взаимодействия основних елементів верстата. На выносках проставлены числа зубьев (г) шестерен (звездочкой обозначено число заходов червяка).
Цифрой I обозначен супорт з механическим переміщенням резцовых салазок

Фото шпиндельной бабки токарно-гвинторізного верстата 16вт20п
Фото шпиндельной бабки токарно-гвинторізного верстата 16вт20п. Дивитись у збільшеному масштабі

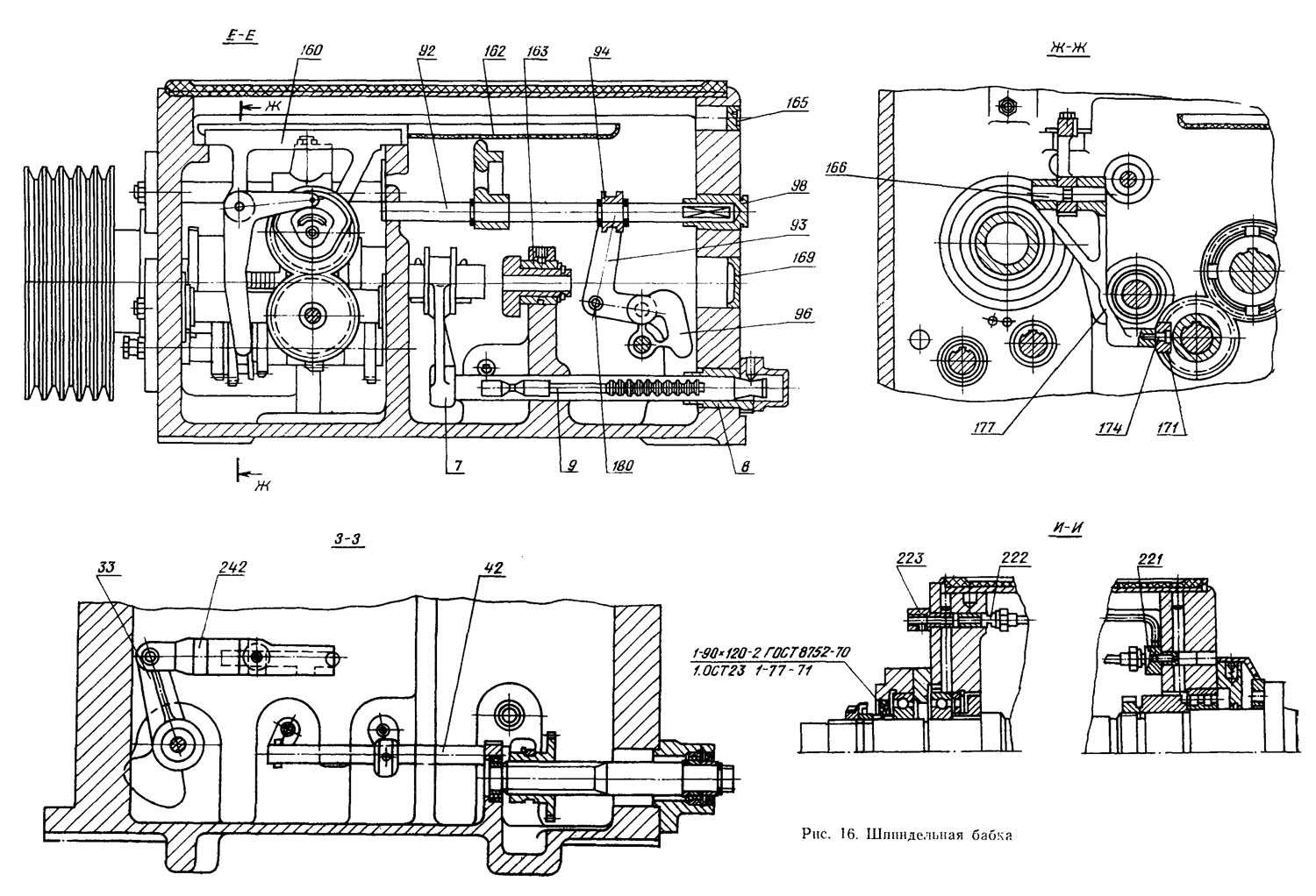
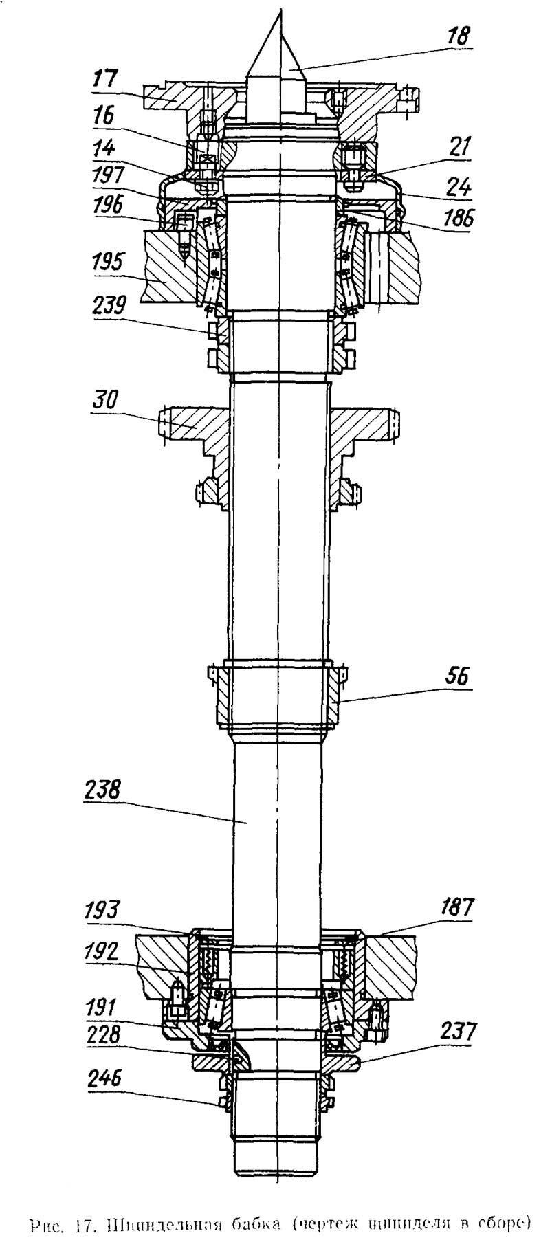
Шпиндельная бабка токарно-гвинторізного верстата 16вт20п
Шпиндельная бабка токарно-гвинторізного верстата 16вт20п. Развертка. Скачать в увеличенном масштабе
Шпиндельная бабка токарно-гвинторізного верстата 16вт20п. Разрез Б-Б, В-В, Г-Г, Д-Д
Шпиндельная бабка токарно-гвинторізного верстата 16вт20п. Разрез Е-Е, Ж-Ж, З-З, И-И

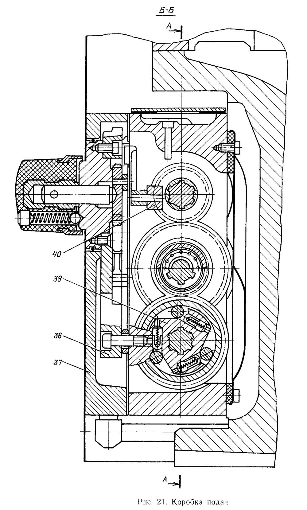
Коробка подач 16Б20П.070 токарно-гвинторізного верстата 16ВТ20п

Коробка подач 077.0000.000 токарно-гвинторізного верстата 16ВТ20п

Креслення коробки подач 16Б20П.070 токарного верстата 16вт20п
Коробка подач токарно-гвинторізного верстата 16вт20п. Скачать в увеличенном масштабе
Коробка подач токарно-гвинторізного верстата 16вт20п. Разрез Б-Б
Коробка подач токарно-гвинторізного верстата 16вт20п. Разрез Г-Г
Коробка подач предназначена для изменения передаточного отношения при передаче обертання от входного вала коробка подач к ходовому винту или ходовому валу токарно-винторезных верстатів з диаметром обробки над станиной до 500 мм.
Коробка подач 077.0000.000 позволяет производить нарезку дюймовых різьб 11 і 19 ниток на дюйм без смены шестерен гітари і устанавливается на токарные верстати 16ВТ20п.

Фартук токарно-гвинторізного верстата 16ВТ20п

Креслення фартуха токарного верстата 16вт20п
Фартук токарно-гвинторізного верстата 16вт20п. Развертка. Скачать в увеличенном масштабе
Фартук токарно-гвинторізного верстата 16вт20п. Разрез А-А
Фартук токарно-гвинторізного верстата 16вт20п. Разрез Д-Д, И-И
Фартук токарно-гвинторізного верстата 16вт20п. Разрез К-К
Фартук предназначен для преобразования вращательного руху ходового гвинта і ходового вала в продольное перемещение каретки і поперечное перемещение суппорта, а также для ручного керування етими переміщеннями в процессе роботи токарно-гвинторізного верстата (увімкнення і вимкнення рабочих і ускоренных перемещений каретки і суппорта, реверсирование перемещений і т.д.).
Фартук позволяет осуществлять работу по упору з автоматическим отключением подачі.

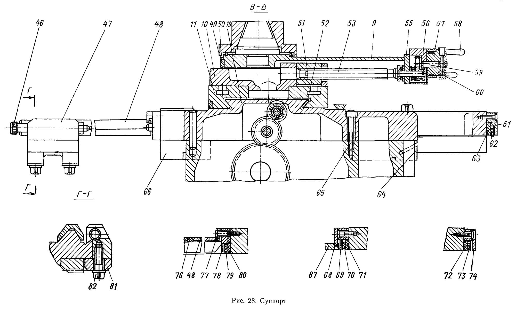
Креслення суппорта токарного верстата 16вт20п
Суппорт токарно-гвинторізного верстата 16вт20п. Ручное перемещение резцовых салазок
Суппорт токарно-гвинторізного верстата 16вт20п. Ручное перемещение резцовых салазок

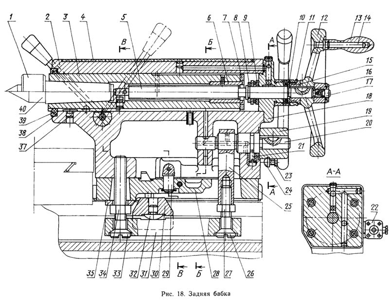
Креслення задньої бабки токарного верстата 16вт20п
Задня бабка токарно-гвинторізного верстата 16вт20п
Задня бабка токарно-гвинторізного верстата 16вт20п. Разрез Б-Б, В-В
Если рукоятка 19, отведённая в крайнее заднее положение, не обеспечивает достаточного прижима задньої бабки к станине, то нужно посредством регулювання гвинтами 26 і 33 при отпущенных контргайках 27 і 34, изменяя положение прижимной планки 31, установить необходимое усилие прижима.
Для установки задньої бабки соосно со шпинделем при помощи винтов 41 совмещают в одну плоскость поверхности платиков А, расположенных на опорной плите 28 і корпусе 2.
| Наименование параметра | 16к20п | гс526у | 16вт20п |
|---|---|---|---|
| Основні параметри верстата | |||
| Класс точності по ГОСТ 8-82 | П | П | П |
| Наибольший диаметр заготовки устанавливаемой над станиной, мм | 400 | 500 | 500 |
| Высота оси центров над плоскими направляющими станины, мм | 215 | 250 | 250 |
| Наибольший диаметр заготовки обрабатываемой над суппортом, мм | 220 | 275 | 275 |
| Наибольшая длина заготовки, устанавливаемой в центрах (РМЦ), мм | 710, 1000 | 1000, 1500, 2000 | 1000, 1500 |
| Наибольшее расстояние от оси центров до кромки резцедержателя, мм | 225 | ||
| Наибольший диаметр сверла при сверлении стальных деталей, мм | 25 | ||
| Наибольшая масса заготовки, обрабатываемой в центрах, кг | 460..1300 | ||
| Наибольшая масса заготовки, обрабатываемой в патроне, кг | 200 | ||
| Точность образца | |||
| Постоянство диаметра в поперечном сечении, мм | 0,007 | ||
| Постоянство диаметра в продольном сечении, мм | 0,02 | ||
| Постоянство диаметра в продольном сечении на длине 300 мм, мм | 0,02 | ||
| Прямолинейность торцевой поверхности на длине 200 мм, мм | 0,01 | ||
| Шпиндель | |||
| Диаметр отверстия в шпинделе, мм | 52 | 55 | 55 (95) |
| Наибольший диаметр прутка, проходящий через отверстие в шпинделе, мм | 50 | ||
| Частота обертання шпинделя в прямом направлении, об/мин | 12,5..1600 | 16..2000 | 12,5..1600 |
| Частота обертання шпинделя в обратном направлении, об/мин | 19..1900 | 19..1900 | |
| Количество прямых швидкостей шпинделя | 22 | 22 | 24 |
| Количество обратных швидкостей шпинделя | 11 | 11 | 12 |
| Кінець шпинделя по ГОСТ 12593-72 | 6К | 6К | 6К |
| Коническое отверстие шпинделя по ГОСТ 2847-67 | Морзе 6 | Морзе 6 | Морзе 6 |
| Диаметр фланца шпинделя, мм | 170 | 170 | |
| Наибольший крутящий момент на шпинделе, Нм | 1000 | 1000 | 1000 |
| Суппорт. Подачи | |||
| Наибольшая длина продольного переміщення, мм | 645, 935 | 935, 1435, 1935 | 870, 1375 |
| Наибольшая длина поперечного переміщення, мм | 300 | 300 | 285 |
| Скорость быстрых продольных перемещений, мм/мин | 3800 | 3600 | 3800 |
| Скорость быстрых поперечных перемещений, мм/мин | 1900 | 1800 | 1900 |
| Максимально допустимая скорость перемещений при работе по упорам, мм/мин | 250 | 250 | |
| Минимально допустимая скорость переміщення каретки (суппорта), мм/мин | 10 | 10 | |
| Цена деления лимба продольного переміщення, мм | 1 | 0,1 | 1 |
| Цена деления лимба поперечного переміщення, мм | 0,05 | 0,05 | 0,05 |
| Диапазон продольных подач, мм/об | 0,05..2,8 | 0,05..2,8 | 0,05..2,8 |
| Диапазон поперечных подач, мм/об | 0,025..1,4 | 0,025..1,4 | 0,025..1,4 |
| Количество подач продольных | 42 | 24 | 24 |
| Количество подач поперечных | 42 | 24 | 24 |
| Пределы шагов метрических резьб, мм | 0,5..112 | 0,5..112 | 0,5..112 |
| Пределы шагов дюймовых резьб, ниток/дюйм | 56..0,5 | 56..0,5 | 56..0,5 |
| Пределы шагов модульных резьб, модуль | 0,5..112 | 0,5..112 | 0,5..112 |
| Пределы шагов питчевых резьб, питч диаметральный | 56..0,5 | 56..0,5 | 56..0,5 |
| Наибольшее усилие, допускаемое механізмом подач на резце - продольное, Н | 5884 | ||
| Наибольшее усилие, допускаемое механізмом подач на резце - поперечное, Н | 3530 | ||
| Резцовые салазки | |||
| Наибольшее перемещение резцовых салазок, мм | 150 | 150 | 150 |
| Перемещение резцовых салазок на одно деление лимба, мм | 0,05 | 0,05 | 0,05 |
| Наибольший угол поворота резцовых салазок, град | ±90° | ±90° | ±90° |
| Цена деления шкалы поворота резцовых салазок, град | 1° | 1° | 1° |
| Наибольшее сечение державки резца, мм | 25 × 25 | 25 × 25 | 25 × 25 |
| Высота от опорной поверхности резца до оси центров (высота резца), мм | 25 | 25 | 25 |
| Число резцов в резцовой головке | 4 | 4 | 4 |
| Задня бабка | |||
| Конус отверстия в пиноли задньої бабки по ГОСТ 2847-67 | Морзе 5 | Морзе 5 | Морзе 5 |
| Наибольшее перемещение пиноли, мм | 150 | 150 | 150 |
| Перемещение пиноли на одно деление лимба, мм | 0,1 | 0,1 | 0,1 |
| Величина поперечного смещения корпуса бабки, мм | ±15 | ±15 | ±15 |
| Електроустаткування | |||
| Електродвигун головного привода, кВт | 11 | 7,5 (11) | 11 |
| Електродвигун приводу быстрых перемещений, кВт | 0,12 | 0,37 | 0,12 |
| Електродвигун насоса СОЖ, кВт | 0,125 | 0,18 | 0,125 |
| Габарити і масса верстата | |||
| Габарити верстата (длина ширина высота) РМЦ=1000, мм | 2795 × 1190 × 1500 | 2800 х 1265 х 1485 | 2800 х 1265 х 1505 |
| Масса верстата, кг | 3010 | 3100 | 3000 |
Верстати металорізальні Ілюстрований каталог на cd
100 найбільших фірм світу Ілюстрований каталог на cd
Верстати Німецькі Ілюстрований каталог на cd
Верстати Болгарські Ілюстрований каталог на cd
Верстати Тайванські Ілюстрований каталог на cd
Верстати Китайські Ілюстрований каталог на cd
Верстати стрічковопильні Ілюстрований каталог на cd
Машини ковальсько-пресові Ілюстрований каталог на CD
Деревообробне обладнання Ілюстрований каталог на cd
Продавці, пропозиції, ціни База даних
Іноземні виробники металообробного обладнання
Вузли, комплектуючі, оснастка Ілюстрований каталог на cd
Електронна бібліотека - верстатобудування, металообробка
Замовити
Хто володіє інформацією – той володіє світом.
Натан Ротшильд