Виробник вертикальних свердлильних верстатів моделей 2А125, 2А135, 2А150, 2Г175 - Стерлітамацький верстатобудівний завод , заснований в 1941 році та Завод "КиргизКабельМаш" м. Фрунзе.
Історія Стерлітамацького верстатобудівного заводу починається 3 липня 1941 року, коли почалася евакуація Одеського верстатобудівного заводу до міста Стерлітамак.
Вже 11 жовтня 1941 р. Стерлітамакський верстатобудівний завод почав випускати спеціальні агрегатні верстати для оборонної промисловості.
В даний час завод випускає металообробне обладнання, серед якого – токарні та фрезерні верстати з ЧПУ, багатофункціональні обробні центри.
Вертикальний свердлильний верстат 2А135 замінив у серійному виробництві застарілий верстат 2135 . У новій моделі забезпечується зручніше керування коробкою смітостей та подач. Поліпшено ергономічні показники. Верстат 2А135 був замінений на більш досконалу модель 2Н135
Універсальний вертикально-свердлильний верстат, модель 2А135 , призначений для роботи в ремонтних та інструментальних цехах, а також у виробничих цехах з дрібносерійним випуском продукції; оснащений пристроями верстат може бути застосований у масовому виробництві.
Вертикально-свердлильний верстат 2а135 з умовним діаметром свердління 35 мм, використовується на підприємствах з одиничним і дрібносерійним випуском продукції і призначені для виконання наступних операцій: свердління, розсвердлювання, зенкування, зенкерування, розгортання, нарізування різьблень і підрізування торців.
Допускає обробку деталей у широкому діапазоні розмірів з різних матеріалів з використанням інструменту з високовуглецевих та швидкорізальних сталей та твердих сплавів.

Операції свердління на верстаті 2а135
Наявність на верстаті дев'ятишвидкісної коробки швидкостей з діапазоном регулювання 68-100-140-195-175-400-530-750-1100 оборотів за хвилину, 11-швидкісної коробки подач з діапазоном регулювання від 0,115 до 1,6 мм на оборот вибір нормативних режимів різання для діаметрів отворів до 35 мм при свердлінні, розсвердлюванні, зенкування, зенкеруванні, розгортанні, нарізанні різьблення, а також допускає використання ріжучого інструменту, оснащеного твердим сплавом.
Наявність на верстатах механічної подачі шпинделя при ручному керуванні циклами роботи.
Допускає обробку деталей у широкому діапазоні розмірів з різних матеріалів з використанням інструменту з високовуглецевих та швидкорізальних сталей та твердих сплавів.
Верстати забезпечені пристроєм реверсування електродвигуна головного руху» що дозволяє проводити на них нарізування різьблення машинними мітчиками при ручній подачі шпинделя»
Верстат має високу жорсткість, міцність робочих механізмів, потужність приводу і широкий діапазон швидкостей різання і подач, що дозволяє використовувати ріжучий інструмент, оснащений твердим сплавом. Наявність електрореверсу, що керується як автоматично, так і вручну, забезпечує можливість нарізування різьблення при ручному підведенні та відведенні мітчика.
У конструкції вертикально-свердлувального верстата моделі 2А135 передбачено автоматичне включення руху подачі після швидкого підведення ріжучого інструменту до оброблюваної деталі та автоматичне вимикання подачі при досягненні заданої глибини свердління.
Задана глибина свердління ненаскрізних отворів забезпечується спеціальним механізмом зупинки з упором. Цей механізм є одночасно запобіжним пристроєм, що оберігає механізм подач від поломок під час навантаження.
Шпиндель верстата змонтований на прецизійних підшипниках кочення. Нижня опора складається із радіального кулькового підшипника класу АВ. У верхній опорі встановлено один кульковий підшипник класу.
Заводом передбачена можливість зміни приводних шківів клнноременной передачі, що дозволяє встановлювати межі чисел оборотів шпинделя відповідно до технологічних завдань.
Для скорочення допоміжного часу на верстаті моделі 2А135 забезпечена можливість увімкнення та вимкнення подачі тим же штурвалом, який здійснює ручне швидке переміщення шпинделя.
Категорія розміщення 4 за ГОСТ 15150-69.

Габаритні розміри вертикально свердлувального верстата 2А135

Фото вертикально свердлильного верстата 2А135

Розташування складових частинин свердлильного верстата 2А135
Деталь, що обробляється, встановлюється на столі верстата і закріплюється в машинних лещатах або в спеціальних пристрійх. Поєднання осі майбутнього отвору з віссю шпинделя здійснюється переміщенням пристрій з оброблюваною деталлю на столі верстата.
Ріжучий інструмент залежно від форми хвостовика закріплюється в шпинделі верстата за допомогою патрона або перехідних втулок. Відповідно до висоти оброблюваної деталі та довжини різального інструменту проводиться установка столу та шпиндельної бабки.
Отвори можуть оброблятись як ручним переміщенням шпинделя, так і механічною подачею.

Кінематична схема свердлильного верстата 2А135
Схема кінематична свердлувального верстата 2А135. Дивитись у збільшеному масштабі
Рух різання. Шпиндель V (рис. 55, а) приводится в рух електродвигуном мощностью 4,5 кат через клиноременную передачу 140—178 і коробку швидкостей.
На валу I коробки швидкостей находится тройной подвижный блок шестерен Б1, обеспечивающий валу II три скорости обертання. От вала II через шестерни 34—48 вращение передається валу III, на котором расположен тройной подвижной блок шестерен Б2, приводящий в рух полый вал IV, связанный шлицевым соединением со шпинделем V. Как видно из графика (рис. 55, б), шпиндель V имеет девять швидкостей обертання. Наибольшее число оборотів шпинделя nmax з учетом упругого ковзання ремня определяется из выражения = 1070 об/мин.
Рух подачі. Рух подачі заимствуется от шпинделя V. Рух передається через шестерни 27—50 і 27—50, коробку подач з выдвижными шпонками, предохранительную муфту М1, вал IX, червячную передачу 1—47. зубчатую муфту М2, вал X і реечную передачу гильзе шпинделя.
В коробке подач расположены трех- і четырехступенчатый механізмы з выдвижными шпонками.
От вала VI три скорости обертання сообщаются валу VII, на котором жестко закреплены шестерни 60, 56, 51, 35 і 21. От вала VII четыре скорости обертання передаются валу VIII.
Теоретически коробка подач обеспечивает 12 швидкостей обертання, однако, как видно из графика (рис. 54), одна из них повторяющаяся, поетому верстат моделі 2А135 имеет только 11 различных величин подач.
От вала VIII через кулачковую муфту M1 рух сообщается валу IX, на котором закреплен червяк. Червячное колесо расположено на одном валу з реечной шестерней 14, находящейся в зацеплении з рейкой, нарезанной на гильзе шпинделя. Муфта М1 служит для предохранения механізма подач от поломок при перегрузках, а также для автоматичного виключення подачі при работе по упорам.
Наибольшая величина подачі smax определяется из выражения 3,14*3,5*14 = 1,6 мм/об.
Вспомогательные руху. Перемещение шпиндельной бабки осуществляется от рукоятки P1 через червячную передачу 1—32 і реечную шестерню 18, сцепляющуюся з рейкой m=2 мм, закрепленной на станине.
Вертикальное перемещение стола достигается поворотом рукоятки Р2 через вал XI, конические шестерни 16-43 і ходовой винт XII.
Быстрое перемещение шпинделя з гильзой производится штурвалом Ш, связанным специальным замком з валом X. Замок позволяет штурвалу свободно поворачиваться на валу X в пределах 20°, а в дальнейшем связывает их в одно целое.

Коробка швидкостей і коробка подач сверлильного верстата 2А135
Коробка швидкостей і коробка подач сверлильного верстата 2А135. Дивитись у збільшеному масштабі

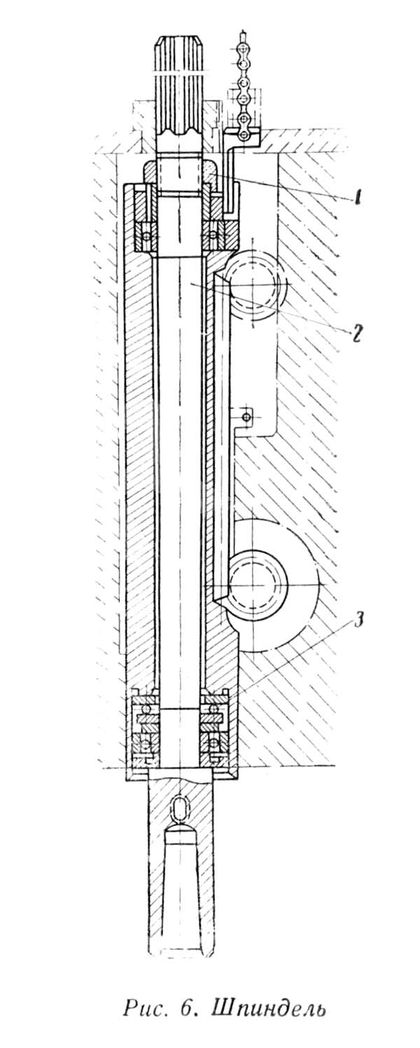
Шпиндель сверлильного верстата 2А135
Шпиндель 2 (рис. 6) регулируется в осевом направлении подтяжкой гайки 1 через окно, расположенное на лобовой частини кронштейна.
Осевые зусилля подачі воспринимаются упорным подшипником 3.
Шпиндель уравновешивается грузом, помещенным в колонне верстата.
Смазка підшибників шпинделя производится фитилем из полости коробки подач. Подача масла должна составлять одну каплю в минуту.
Шпиндель верстата 2А135 смонтирован на 3-х підшипниках:
Подшипник 710 - ето шариковый радиальный однорядный подшипник открытого типа. Предназначен для восприятия радиальных нагрузок при високою скорости обертання.
Подшипник 710 в настоящее время не выпускается.

Схема підшипника 710
Для изменения величины подачі на станке моделі 2А135 используется коробка, состоящая из двух типовых механізмов з выдвижными шпонками. Продольный разрез коробки подач показан на рис. 56,6.
Из кінематичної схеми (рис. 55, а) видно, что рух подачі заимствуется от шпинделя. Далее через блок шестерен 1 (рис. 56,6), установленный на оси 2, і зубчатое колесо 3 вращение передається полому валу 4 з прорезью в. На післяднем свободно установлены три шестерни 16, имеющие шпоночные пазы б. Между шестернями 16 находятся промежуточные кольца. Внутри полого вала 4 перемещается штанга 14, представляющая в нижней своей частини круглую рейку. В верхней частини штанги 14 имеется сквозное окно, в котором на оси установлена выдвижная шпонка 15. Эта шпонка под действием пружины 17 стремится пойти в шпоночный паз одной из шестерен 16.
Перемещая штангу 14 з выдвижной шпонкой 15 внутри вала 4, можно соединить післядний з любой из шестерен 16. Промежуточные кольца, которые не имеют шпоночных пазов, утапливают выдвижную шпонку в момент переключения скорости. Это необходимо для предупреждения поломки, которая могла бы мати место в случае заклинивания на валу одновременно двух шестерен.
Аналогичный механізм, состоящий из четырех шестерен 10 з пазами а, выдвижной шпонки 8, пластинчатой пружины 9 і штанги 7, установлен на полом валу 11.
На валу 12 закреплен конус шестерен 13, состоящий из пяти колес. Три верхних колеса конуса находятся в постоянном зацеплении з шестернями 16, а, кроме того, верхнее і три нижних — в постоянном зацеплении з шестернями 10 вала 11. Перемещение штанг 7 і 14 з выдвижными шпонками 8 і 15 для переключения величины подачі шпинделя осуществляется рукоятками, расположенными на левой стороне корпуса шпиндельной бабки.
Плунжерный насос 6 приводится в действие ексцентриком 5.
Механізм подач. Увімкнення і вимкнення механической подачі, а также подвод і отвод шпинделя рсуществляется штурвальным механізмом подач, изображенным на рис. 56, а. Механізм подач шпинделя вертикально-сверлильного верстата моделі 2А135 состоит из червячной передачи, реечной передачи, рукояток керування і ряда муфт увімкнення. Привід механізма подач осуществляется от коробки подач через кулачковую муфту 16, предназначенную для автоматичного виключення руху подачі по достижении заданной глубины сверления і являющуюся одновременно предохранительным пристрійм, отключающим ланцюг руху подачі при перегрузках. Предельная величина нагрузки на механізм подач регулируется винтом 15, который осуществляет предварительное сжатие пружины 14.
Для увімкнення механической подачі штурвал 3 і соединенную з ним кулачковую муфту 22 поворачивают на себя. Угол поворота штурвала і муфты равен 20° і ограничивается прорезью а на муфте і штифтом 21, закрепленным на кінці вала I. При повороте штурвала 3 зубья муфты 22, имеющие скосы, сдвигают кулачковую обойму 4 вправо и, входя торцом на торец зубьев обоймы, фиксируют ето смещение. К обойме 4 прикреплен двусторонний храповой диск 6, связанный з обоймой 4 подпружиненными собачками 5. При смещении обоймы зубья храпового диска 6 зацепляются з зубьями диска 9, прикрепленного к червячному колесу 7 і связывают післяднее з валом I. Таким образом, вращение от коробки подач через муфту 16 сообщается червяку 13, червячному колесу 7 і валу 1, задний конец которого представляет собой реечную шестерню. Последняя находится в зацеплении з рейкой, нарезанной на гильзе 10 шпинделя 11 Верстата.
Быстрый подвод инструмента к заготовке обеспечивается дальнейшим поворотом штурвала 3 при включенной подаче. В етом случае собачки 5 проскакивают по зубьям внутренней стороны диска 6, опережая механическую подачу.
Выключение механической подачі в любой момент осуществляется поворотом штурвала 3 от себя на 20°, при етом зубья муфты 22 станут напротив впадин обоймы 4, післядняя под действием пружины 8 сместится влево, зубья храпового диска 6 расцепятся з зубьями диска 9, вследствие чего червячное колесо 7 будет свободно поворачиваться на валу I і механическая подача шпинделя прекратится.
При быстром подъеме шпинделя механическая подача также автоматически выключается.
Конструкція механізма подачі вертикально-сверлильного верстата моделі 2А135 допускает также медленное ручное перемещение штурвала 3, гильзы 10 со шпинделем. Для етого необходима выключить штурвалом 3 механическую подачу, після чего переместить кольцо 2 вдоль оси вала I вправо; при етом штифт 20 заблокирует штифт 21 і при повороте штурвала 3 на себя не будет включаться механическая подача.
Налаштування механізма подачі для сверления отверстий заданной глубины осуществляется кулачком 18, который устанавливается на требуемый размер по шкале лимба 19.
При налаштуванні верстата на нарезание різьб метчиками реверсирование шпинделя для вывода режущего инструмента може быть осуществлено автоматически или вручную. При автоматическом реверсе налаштування на глубину нарізання і переключение шпинделя производится кулачком 17, который заранее устанавливается на лимбе 19. При ручном управлении реверсом, когда достигнута требуемая глубина нарізання, изменение направления обертання шпинделя осуществляется рукояткой 12.
После установки верстата на рабочем месте, очистки, заливки масла і змазки, подключения к електрической сети, проверки роботи на всех оборотах і подачах не требуется никакой регулировки. Наладка верстата заключается в установці стола і кронштейна в необходимые для роботи положения і зажиме клина кронштейна, а также в установці чисел оборотів і подачі.
Зазоры в підшипниках шпинделя выбираются через окно на передньої стенке кронштейна, закрытое крышкой. При регулировке необходимо повернуть шпиндель так, чтобы винт регулировочной гайки находился в окне, затем, ослабив винт, подтянуть гайку і вновь зажать винт.
Глубина сверления устанавливается при помощи лимба следующим образом: вращая крестовый штурвал на себя, опускаем шпиндель до соприкосновения з обрабатываемой деталью. Отвертываем винт кулачка 17 (см. рис. 8) виключення подачі і кулачка 18, поворачиваем до совпадения края кулачка 17 з делением лимба, соответствующим глубине сверления, і вновь затягиваем винты. При етом деление на лимбе соответствует полной глубине сверления, включая конусную часть заточки сверла.
Кулачок 18 служит для налаштування автоматичного реверсирования направления шпинделя при нарезании різьби. Установка етого кулачка производится аналогично установці кулачка виключення механической подачі. При етом кулачок виключення подачі отводится назад на 10 мм. Перемена направления обертання шпинделя производится за счет реверсирования електродвигуна.
Колпачок з накаткой, расположенный в центре крестового штурвала, служит для виключення механической подачі, если необходимо сверлить или нарезать з ручной подачей. Для увімкнення ручной подачі колпачок следует отжать от себя до отказа.
Натяжение ремней производится переміщенням кронштейна з електродвигуном при помощи натяжных винтов, расположенных на задньої стенке коробки швидкостей. Для подтягивания пружины предохранительной муфты, выключающей подачу при перегрузке, служит спеціальний винт з внутренним шестигранным отверстием, расположенный под колпачком верхней крышки кронштейна. Нормально пружина отрегулирована так, чтобы выключать подачу при осевом усилии, превышающем номинальное усилие подачі на 10%, т. е. при 1800 кг.

Електрична схема сверлильного верстата 2А135
Електрична схема вертикально-сверлильного верстата 2А135. Дивитись у збільшеному масштабі
КП і КЛ — магнитные пускатели МПКО-111
Електроустаткування верстата состоит из следующих вузлів:
На станке можно производить как сверление з автоматическим вимкненням подачі по окончании сверления, так і нарезание різьби з автоматическим или ручным реверсированием обертання инструмента. Перестройка производится перестановкой кулачка на лимбе.
Схемой предусмотрена защита от короткого замыкания, от перегрузки і нулевая защита.
Кронштейн заземлен дополнительной жилой.
Верстат должен быть заземлен, для чего имеется спеціальний болт.
Уход за електрообладнанням проводится согласно типовым инструкциям.
| Наименование параметра | 2А125 | 2А135 | 2А150 |
|---|---|---|---|
| Основні параметри верстата | |||
| Наибольший диаметр сверления в стали 45, мм | 25 | 35 | 50 |
| Наименьшее і наибольшее расстояние от торца шпинделя до стола, мм | 0… 700 | 0… 750 | 0… 800 |
| Наименьшее і наибольшее расстояние от торца шпинделя до плиты, мм | 750… 1125 | 705… 1130 | 650… 1200 |
| Расстояние от оси вертикального шпинделя до направляючих стойки (вылет), мм | 250 | 300 | 350 |
| Рабочий стол | |||
| Максимальная нагрузка на стол (по центру), кг | |||
| Розміри рабочей поверхности стола, мм | 500 х 375 | 450 х 500 | 500 х 600 |
| Число Т-образных пазов Розміри Т-образных пазов | 3 | 3 | 3 |
| Наибольшее вертикальное перемещение стола (ось Z), мм | 325 | 325 | 325 |
| Шпиндель | |||
| Наибольшее перемещение шпиндельной бабки (салазок шпинделя), мм | 200 | 200 | 250 |
| Наибольшее перемещение (ход) шпинделя, мм | 175 | 225 | 300 |
| Частота обертання шпинделя, об/мин (число ступеней) | 97… 1360 (9) | 68… 1100 (9) | 32… 1400 (12) |
| Количество швидкостей шпинделя | 9 | 9 | 12 |
| Наибольший допустимый крутящий момент, Н*м (кгс*м) | 250 | 400 | 800 |
| Конус шпинделя | Морзе 3 | Морзе 4 | Морзе 5 |
| Механіка верстата | |||
| Число ступеней рабочих подач | 9 | 11 | 9 |
| Пределы вертикальних рабочих подач на один оборот шпинделя, мм (число ступеней) | 0,1… 0,81 (9) | 0,115… 1,6 (11) | 0,12… 2,64 (9) |
| Наибольшее усилие подачі, Н (кгс) | 9000 (900) | 16000 (1600) | 25000 (2500) |
| Динамическое торможение шпинделя | Есть | Есть | Есть |
| Електроустаткування і привід верстата | |||
| Електродвигун приводу головного руху, кВт | 2,8 | 4,5 | 7,5 |
| Электронасос охлаждающей жидкости Тип | Х14-22М | Х14-22М | Х14-22М |
| Габарити і масса верстата | |||
| Габарити верстата (длина х ширина х высота), мм | 980 х 825 х 2300 | 1240 х 810 х 2500 | 1550 х 970 х 2865 |
| Масса верстата, кг | 870 | 1300 | 2250 |
Досвід накопичується прямо пропорційно до зруйнованого обладнання.
Закон Мерфі