Виробник свердлильних верстатів моделей 2Н125, 2Н135, 2Н150, 2Г175 - Стерлітамацький верстатобудівний завод , заснований в 1941 році.
Історія Стерлітамацького верстатобудівного заводу починається 3 липня 1941 року, коли почалася евакуація Одеського верстатобудівного заводу до міста Стерлітамак.
В даний час завод випускає металообробне обладнання, серед якого – токарні та фрезерні верстати з ЧПУ, багатофункціональні обробні центри.
Верстати універсальні вертикально-свердлувальні 2Г175 , з умовним діаметром свердління 75 мм, використовуються на підприємствах з одиничним та дрібносерійним випуском продукції та призначені для виконання наступних операцій: свердління, розсвердлювання, зенкування, зенкерування, розгортання та підрізування торців ножами.
Верстат 2Г175 працює за напівавтоматичним циклом.
Наявність на верстаті 2Г175 тиристорного приводу дозволяє розширити його технологічні можливості, полегшити керування та підвищити продуктивність.
Точність при обробці отвору чистовим розгортанням не нижче за другий клас, чистота поверхні на зразку зі сталі 45 - Ra 1,25.
Клас точності верстата Н.
Для обробки отворів різних діаметрів застосовуються базові вертикально-свердлувальні верстати моделей: 2Г175 . Останні дві цифри номера кожної моделі вказують найбільший діаметр отвору мм, який можна свердлити на цьому верстаті в заготовках зі сталі 45.
На основі базової моделі вертикально-свердлувального верстата 2Г175 створені такі модифіковані моделі:
2Г175 - вертикально-свердлувальні верстати - базова модель;
2Г175м - багатошпиндельні вертикально-свердлильні верстати;
2Г175Б - багатошпиндельні вертикально-свердлильні верстати.
Виробник - Стерлітамакський верстатобудівний завод.
Початок серійного виробництва – 1976 рік.

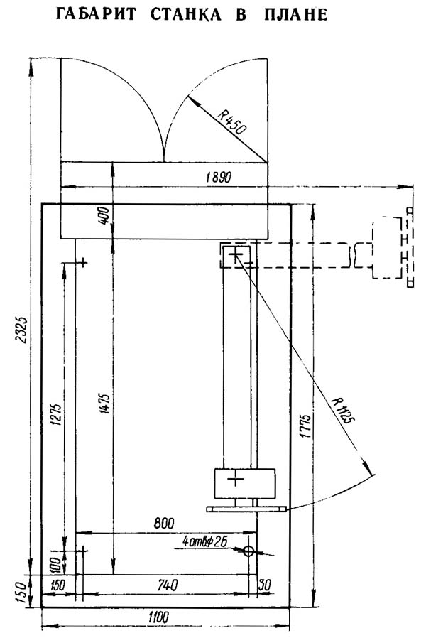
Габарит робочого простору свердлильного верстата 2Г175

Фото свердлильного верстата 2Г175

Фото свердлильного верстата 2Г175

Настановне креслення свердлильного верстата 2Г175
| Найменування параметру | 2d175 | ||
|---|---|---|---|
| Основні параметри верстата | |||
| Найбільший діаметр свердління сталі 45, мм | 75 | ||
| Найменша та найбільша відстань від торця шпинделя до столу, мм | 150..850 | ||
| Найменша та найбільша відстань від торця шпинделя до плити, мм | 650..1350 | ||
| Відстань від осі вертикального шпинделя до направляючих стійки (виліт), мм | 400 | ||
| Робочий стіл | |||
| Максимальне навантаження на стіл (по центру), кг | 450 | ||
| Розміри робочої поверхні столу, мм | 560 x 630 | ||
| Шпиндель | |||
| Найбільше переміщення (настановне) шпиндельної головки, мм | 700 | ||
| Найбільше переміщення (хід) шпинделя, мм | |||
| Переміщення шпинделя на один поділ лімба, мм | |||
| Переміщення шпинделя на один оборот маховичка-рукоятки, мм | |||
| Частота обертання шпинделя, об/хв | 18..800 | ||
| Кількість швидкостей шпинделя | 12 | ||
| Найбільший допустимий момент, що крутить, Нм | |||
| Конус шпинделя | Морзе 6 | ||
| Механіка верстата | |||
| Число ступенів робочих подач | 33 | ||
| Межі вертикальних робочих подач на один оборот шпинделя, мм | 0,18..4,5 | ||
| Найбільша допустима сила подачі, кН | |||
| Динамічне гальмування шпинделя | Є | ||
| Привід | |||
| Електродвигун приводу головного руху, кВт | 11 | ||
| Електронасос охолоджувальної рідини | 0,12 | ||
| Стендовий калібр | |||
| Габарити верстата, мм | 2325 х 1890 х 3530 | ||
| Маса верстата, кг | 4250 |