Виробник свердлильних верстатів моделей 2Н125, 2Н135, 2Н150, 2Г175 - Стерлітамацький верстатобудівний завод , заснований в 1941 році.
Історія Стерлітамацького верстатобудівного заводу починається 3 липня 1941 року, коли почалася евакуація Одеського верстатобудівного заводу до міста Стерлітамак.
Вже 11 жовтня 1941 р. Стерлітамакський верстатобудівний завод почав випускати спеціальні агрегатні верстати для оборонної промисловості.
В даний час завод випускає металообробне обладнання, серед якого – токарні та фрезерні верстати з ЧПУ, багатофункціональні обробні центри.
Верстат свердлильний вертикальний 2Н135 (ТУ 2-024-4645-79) замінив у виробництві застарілу модель 2А135 та був замінений на більш досконалу модель 2Н135-1 з плаваючим координатним столом.
Вертикально-свердлильний верстат 2Н135 , з умовним діаметром свердління 35 мм, використовується на підприємствах з одиничним та дрібносерійним випуском продукції і призначені для виконання наступних операцій: свердління, розсвердлювання, зенкування, зенкерування, розгортання, нарізування різьблень і підрізування торців.
Верстат 2Н135 допускає обробку деталей у широкому діапазоні розмірів з різних матеріалів з використанням інструменту з високовуглецевих та швидкорізальних сталей та твердих сплавів.

Операції свердління на верстаті 2н135
Наявність на верстатах механічної подачі шпинделя при ручному керуванні циклами роботи.
Верстати забезпечені пристроєм реверсування електродвигуна головного руху, що дозволяє робити на них нарізування різьблення машинними мітчиками при ручній подачі шпинделя»
Категорія розміщення 4 за ГОСТ 15150-69.
Розробник – Одеське спеціальне конструкторське бюро спеціальних верстатів.
Для обробки отворів різних діаметрів застосовуються базові вертикально-свердлувальні верстати моделей: 2Н135 . Останні дві цифри номера кожної моделі вказують найбільший діаметр отвору мм, який можна свердлити на цьому верстаті в заготовках зі сталі 45.
На основі базової моделі вертикально-свердлувального верстата 2Н135 створені такі модифіковані моделі:
2Н135А - вертикально-свердлувальні верстати з автоматизованим керуванням (керування здійснюється за допомогою наперед налаштованих кулачків і кнопок);
2Н135К - координатні вертикально-свердлувальні верстати з хрестовим столом;
2Н135-1 - координатні вертикально-свердлувальні верстати з круглим поворотним столом;
2Н135С - спеціальні однопозиційні вертикально-свердлувальні верстати з фланцевою піноллю, що служить для кріплення багатошпиндельних головок;
2Н135Н - багатопозиційні свердлильні верстати, призначені для встановлення багатошпиндельних головок та поворотних столів;
2Р135Ф2 - свердлильні верстати з ЧПУ, хрестовим столом та револьверною головкою та ін.

Габарит робочого простору свердлильного верстата 2Н135
| Модель верстата | Конус Морзе | А | Б | У | Д | D 1 | М |
| 2H125 | 3 | 250 | 700 | 60 | 45 | 23 825 | 400 |
| 2H135 | 4 | 300 | 750 | 30 | 60 | 31,267 | 450 |
| 2H150 | 5 | 350 | 800 | 0 | 80 | 44,399 | 500 |

Фото свердлильного верстата 2н135

Фото свердлильного верстата 2н135

Фото свердлильного верстата 2н135

Розташування основних вузлів свердлувального верстата 2н135
Колона, стіл, плита. Колона верстата є чавунним виливком. По направляючих колони типу "ластівчин хвіст" вручну переміщаються свердлильна головка та стіл. Стіл верстата має три Т-подібні пази. На фундаментній плиті встановлений електронасос, а всередині плити - резервуар з відстійником для рідини, що охолоджує.

Розташування органів керування свердлильним верстатом 2н135

Список графических символів, на табличках сверлильного верстата 2н135
Наладка верстата на обычную работу з механической подачей шпинделя заключается в установці стола і сверлильной головки в необходимые для роботи положения, в зажиме их на колонне, в установці необходимых частот обертання і подач шпинделя.
При наладке верстата на работу з ручной подачей шпинделя колпак з накаткой, расположенный в центре крестового штурвала, следует отжать от себя до отказа.
При наладке на работу з вимкненням подачі шпинделя на заданной глубине необходимо соблюдать следующую післядовательность:
После увімкнення обертання і подачі шпинделя начинается обработка детали. По достижении нужной глубины обробки подача шпинделя прекратится, а шпиндель будет продолжать вращаться. Для его остановки нужно нажать кнопку СТОП.
При наладке верстата на нарезание різьби з реверсом шпинделя на определенной глубине необходимо соблюдать следующую післядовательность:
После установки, змазки і подключения верстата к електросети никаких додаткових регулировок не требуется. В процессе експлуатации первоначальная регулировка може быть нарушена.
Предохранительная муфта механізма подачі отрегулирована по осевому усилию на шпинделе на 15% больше допускаемого. Для регулировки муфты необходимо снять правую верхнюю крышку сверлильной головки і гайкой на червяке уменьшить или увеличить натяжение пружины.
Направляющие стола регулируются гвинтами на правой стороне стола. Зажим стола осуществляется винтом з квадратом, расположенным з правой стороны стола, і рукояткой подъема стола.
Направляющие сверлильной головки регулируются гвинтами, расположенными на правой боковой поверхности направляючих, сама головка зажимается винтом з квадратом на етой же стороне рукояткой подъема стола.
Для подтяжки пружины противовеса нужно отвернуть пробку на дне сверлильной головки, слить масло из резервуара, поворотом гвинта подтянуть пружину.
Для удобства зажиму обрабатываемой детали в тисках станочных, поставляемых со верстатом, можно использовать рукоятку 5 (см.рис.4).

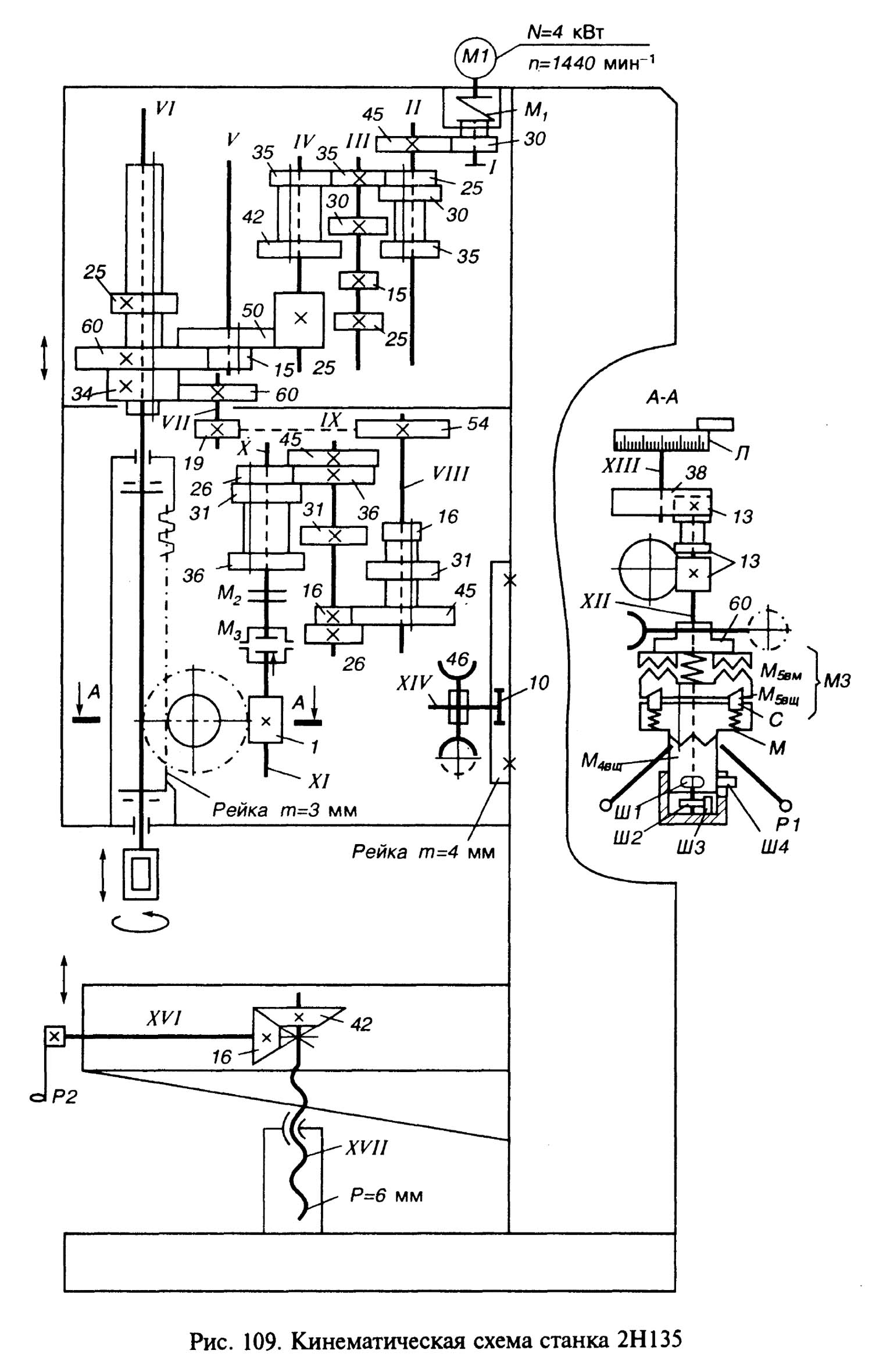
Кінематична схема сверлильного верстата 2н135
1. Схема кінематична сверлильного верстата 2Н135. Дивитись у збільшеному масштабі
2. Схема кінематична сверлильного верстата 2Н135. Дивитись у збільшеному масштабі
3. Схема кінематична сверлильного верстата 2Н135. Дивитись у збільшеному масштабі

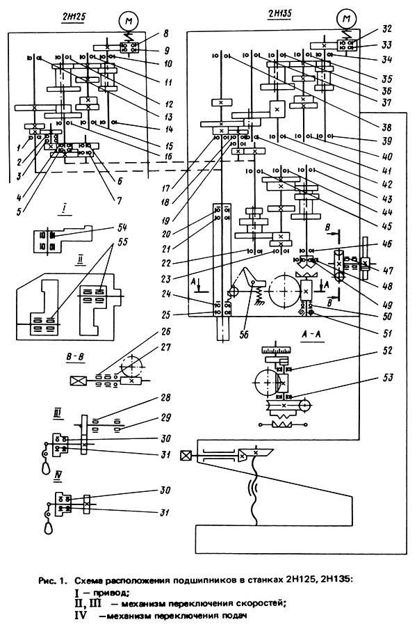
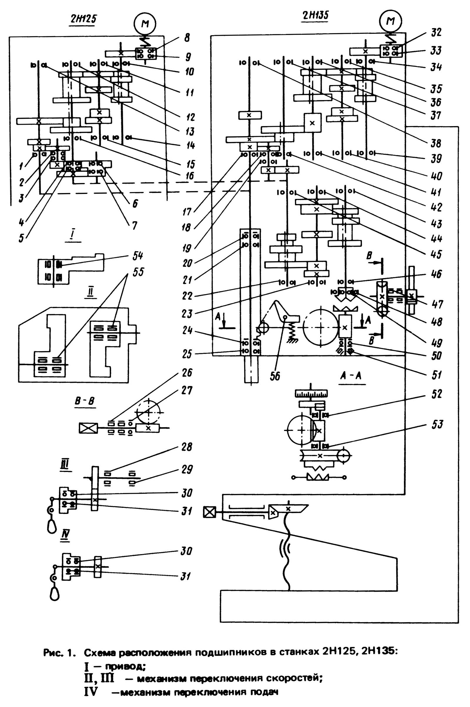
Схема розположення підшибників сверлильного верстата 2н135
Схема розположення підшибників сверлильного верстата 2Н135. Дивитись у збільшеному масштабі
Перечнь підшибників сверлильного верстата 2Н135. Дивитись у збільшеному масштабі

Креслення коробки швидкостей сверлильного верстата 2н135
Коробка швидкостей і привод. Коробка швидкостей сообщает шпинделю 12 различных частот обертання з помощью передвижных блоков 5 (рис.7), 7, 8. Опори валов коробки размещены в двух плитах - верхней і нижней 4, скрепленных между собой четырьмя стяжками 6. Коробка швидкостей приводится во вращение вертикально расположенным електродвигуном через еластическую муфту 10 і зубчатую передачу 9. Последний вал 2 коробки - гильза - имеет шлицевое отверстие, через которое вращение передається.
Через зубчатую пару 3 вращение передається на коробку подач.
Смазка коробки швидкостей, как і всех сборочных единиц сверлильной головки, производится от плунжерного насоса, закрепленного на нижней плите 4. Работа насоса контролируется специальным маслоуказателем на лобовой частини подмоторной плиты.

Пульт керування скоростями і подачами сверлильного верстата 2н135

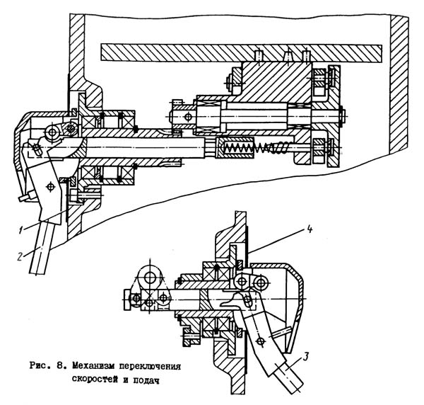
Механізм переключения швидкостей і подач сверлильного верстата 2н135
Механізм переключения швидкостей і подач. Переключення швидкостей производится рукояткой 2 (рис.8), которая имеет четыре положения по окружности і три вдоль оси, переключение подач осуществляется рукояткой 3, имеющей три положения по окружности для верстатів моделей 2Н135 і четыре для 2Н150, і три положения вдоль оси. Рукоятки расположены на лобовой стороне сверлильной головки. Отсчет включаемых швидкостей і подач производится по табличкам 1 і 4.

Креслення коробки подач сверлильного верстата 2н135
Коробка подач. Механізм смонтирован в отдельном корпусе і устанавливается в сверлильной головке. За счет переміщення двух тройных блоков шестерен осуществляются девять различных подач на верстатах 2Н125, 2Н135 і двенадцать подач на станке 2Н150. На верстатах 2Н125 і 2Н135 коробки подач отличаются только приводом, который состоит на станке 2Н125 из зубчатых колес 1 (рис.9), на верстатах 2Н125, 2Н135 - из зубчатых колес 2, 3 - соответственно. Коробка подач смонтирована в расточке верхней опори червяка механізма подач. На післяднем валу коробки посажена муфта 4, передающая вращение червяку.

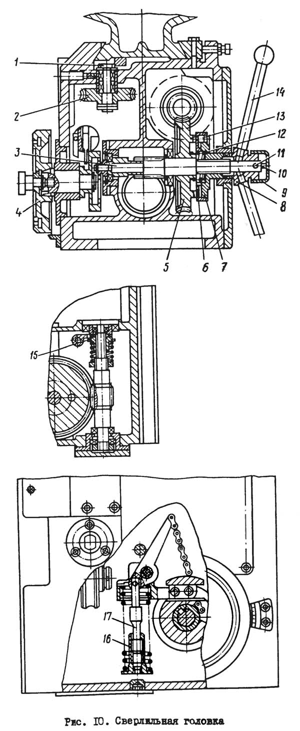
Креслення сверлильной головки сверлильного верстата 2н135
Сверлильная головка представляет собой отливку коробчатого сечения, в которой монтируются все основні сборочные единицы верстата: коробка швидкостей, коробка подач, шпиндель, механізм подачі, противовес шпинделя і механізм переключения швидкостей і подач.
Механізм подачі, состоящий из червячной передачи, горизонтального вала з реечной шестерней, лимба, кулачковой і храповой обгонных муфт, штурвала, является составной частью сверлильной головки.
Механізм подачі приводится в рух от коробки подач і предназначен для выполнения следующих операций:
Принцип роботи механізма подачі заключается в следующем: при вращении штурвала 14 (рис.10) на себя поворачивается кулачковая муфта 8, которая черев обойму-полумуфту 7 вращает вал-шестерню 3 реечной передачи, происходит ручная подача шпинделя. Когда инструмент подойдет к детали, на валу-шестерне 3 возникает крутящий момент, который не може быть передан зубцами кулачковой муфты 8, і обойма-полумуфта 7 перемещается вдоль вала до тех пор, пока торцы кулачков деталей 7 і 8 не встанут друг против друга. В етот момент кулачковая муфта 8 поворачивается относительно вала-шестерни 3 на угол 20°, который ограничен пазом в детали 8 і штифтом 10. На обойме - полумуфте 7 сидит двухсторонний храповой диск 6, связанный з полумуфтой собачками 13. При перемещении обоймы-полумуфты 7 зубцы диска 6 входят в зацепление з зубцами диска, выполненного заодно з червячным колесом 5. В результате вращение от червяка передається на реечную шестерню і происходит механическая подача шпинделя. При дальнейшем вращении штурвала 14 при включенной подаче собачки 13, сидящие в обойме-полумуфте 7, проскакивают по зубцам внутренней стороны диска 6; происходит ручное опережение механической подачі.
При ручном включении подачі штурвалом 14 (після поворота его на себя на угол 20°) зуб муфты 8 встает против впадины обоймы-полумуфты 7. Вследствие осевой силы і специальной пружины 12 обойма-полумуфта 7 смещается вправо і расцепляет зубчасті диски 5 і 6; механическая подача прекращается.
Механізм подач допускает ручную подачу шпинделя. Для етого необходимо выключить штурвалом 14 механическую подачу і колпачок 9 переместить вдоль оси вала-шестерни 3 от себя. При етом штифт II передает крутящий момент от кулачковой муфты 8 на горизонтальный вал. На левой стенке сверлильной головки смонтирован лимб 4 для визуального отсчета глубины обработав і налаштування кулачков.
Для ручного переміщення сверлильной головки по направляющим колонны имеется механізм, который состоит из червячной пары 2 і реечной пары I. Для предохранения механізма подачі от поломки имеется предохранительная муфта 15. Гайка 16 і винт 17 служат для регулювання пружинного противовеса.

Креслення шпинделя в сборе сверлильного верстата 2н135
Шпиндель 2 (рис.11) смонтирован на 4-х шарикопідшипниках. Осевое усилие подачі воспринимается нижним упорным подшипником, а зусилля выбивке инструмента - верхним. Підшипники расположены в гильзе 3, которая з помощью реечной пары перемещается вдоль оси. Регулювання підшибників шпинделя осуществляется гайкой 1.
Для выбивки инструмента служит специальное пристрій на головке шпинделя. Выбивка происходит при подъеме шпинделя штурвалом. Обойма приспособления упирается в корпус сверлильной головки, і рычаг 4, поворачиваясь вокруг оси; выбивает инструмент.
Шпиндель сверлильного верстата 2н135 смонтирован на 4-х підшипниках:
При сборке верстата в процессе ремонта необходимо соблюдать условия, которые влияют на точность его роботи.
Так, зазор между направляющими втулками сверлильной головки і пинолью шпиндельного вузла должен быть не более 0,01 мм.
При монтаже сверлильной головки і стола на направляючих колонны щуп 0,03 мм не должен проходить в стык, а также должны выполняться все требования ГОСТ 7599-73 раздел 4.
Также подлежат регулировке упорные підшипники шпинделя.
Для регулювання упорного підшипника шпинделя необходимо:

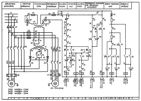
Електрична схема сверлильного верстата 2н135
Схема електрична сверлильного верстата 2Н135. Дивитись у збільшеному масштабі

Список елементів к електрической схеме сверлильного верстата 2н135
Список елементів к електрической схеме сверлильного верстата 2Н135. Дивитись у збільшеному масштабі
Принципиальная електрична схема одинакова для всей серии верстатів 2н125, 2н135, 2н150. Однако комплектующие, входяющие електросхему, имеют разные параметри в связи з тем, что моделі имеют главные двигатели разной мощности (2н125 - 2,2 кВт, 2н135 - 4,0 кВт, 2н150 - 7,5 кВт)
Таким образом, все елементы електрической схеми, связанные з головними двигунами, на разных моделях верстатів имеют разные параметри, см. таблицу 2.

Таблиця переменных данных к електрической схеме сверлильного верстата 2н135
Електроустаткування верстатів включает в себя трехфазный короткозамкнутый асинхронный електродвигатель обертання і рабочей подачі шпинделя, електронасос охлаждения, електроаппаратуру керування.
Величины напряжений переменного тока могут быть наступні:
Напряжение силовой ланцюги определяется заказчиком.
При первоначальном пуске верстата необходимо освободить магнитные пускатели от клиньєв, проверить надежность зажиму проводов і заземления, целостность монтажа електроустаткування внешним осмотром.
После осмотра в електрошкафу керування вводным автоматом Q1 Верстат подключить к цеховой сети, при помощи кнопок і выключателей проверить четкость срабатывания магнитных пускачів і реле, правильность направления обертання електродвигуна М1. Проверку необходимо производить на холостом ходу.
Увімкненням вводного автомата Q1 подается напряжение на главные і вспомогательные ланцюги, на пульті загорается сигнальная лампа Н2. Если необходимо охолодження і освещение, то соответствующие выключателя ставятся в положение ВКЛЮЧЕНО.
Нажатием кнопки S2 ВПРАВО катушка пускателя К1 получает питание, главные контакты включают електродвигатель Ml на правое вращение шпинделя. Через блок-контакты K1 включается пускатель К2, включающий електродвигатель М2 і реле задержки К7.
При нажатии кнопки S3 ВЛЕВО происходит відключення пускателя К1,електродвигуна Ml, реле К7. После разряда конденсатора С3 контакты реле К7 (28-26) замыкаются, і происходит увімкнення пускателя К3 і електродвигуна Ml на левое вращение шпинделя. Реле К7 включается снова.
При автоматическом реверсе ети переключения происходят при срабатывании микропереключателя S6 от кулачка, установленного на лимбе.
Останов осуществляется нажатием на кнопку S1 СТОП. При етом отключаются пускатели К1 или К3, К2, отключающие електродвигатели M1, M2. Через контакты реле К7 (7-9) включается реле К6 з післядующим включением пускачів К4 і К5. Обмотки електродвигуна Ml подключаются через выпрямитель VI, V2 к трансформатору T1. Происходит електродинамическое торможение шпинделя.
После разряда конденсаторов C1, C2 отключается реле К6, отключающее пускатели К4, К5.
При переключении швидкостей, если зубчасті колеса не входят в зацепление, применяют качательное рух ротора двигуна Ml. Нажатием кнопки S4 КАЧАТЕЛЬНОЕ ДВИЖЕНИЕ включается пускатель К4, подающий по фазам IС2-IC3 пониженное выпрямленное напряжение.
Через сопротивление R2 з задержкой включается реле К6, отключающее пускатель К4 і включающее пускатель К5. При етом пониженное напряжение протекает по фазам ICI-IC2. Такие переключения обеспечивают качание ротора, что облегчает переключение швидкостей.
Необходимо периодически проверять состояние пусковой і релейной апаратури. Контакты електроаппаратов должны быть очищены от пыля, грязи і нагара.
При осмотрах релейной апаратури особое внимание следует обращать на надежность замыкания і размыкания контактных мостиков.
Периодичность технических осмотров двигателей устанавливается в зависимости от производственных условий, но не реже одного раза в два месяца.
На вводной автомате установлен спеціальний замок, запирающий вводной выключатель в отключенном состоянии.
При включенном вводном выключателе на пульті горит специальная лампа з белой линзой. Защиту от токов короткого замыкания обеспечивают автоматический выключатель і предохранители.
Защиту от перегрузки двигателей Ml, М2 обеспечивают тепловые реле. Нулевую защиту обеспечивают катушки і контакты електромагнітних пускачів.
Верстат должен быть надежно подключен к цеховому заземляющему устройству.
С клемм заземления електрошафи защитные ланцюги проложены к корпусам двигателей і панелі пульта керування.

Настановне креслення сверлильного верстата 2н135
К числу труднообрабатываемых сплавов относятся жаропрочные, титановые нержавеющие і т. п. стали. При сверлении их стандартным сверлом образуется сильно деформированная заклинивающаяся в канавках сверла ленточная стружка, вызывающая возникновение больших сил різання. Это влечет за собой увеличение вибраций сверла, вредно сказывающееся на состоянии его режущих кромок, которые быстро затупляются. Поетому труднообрабатываемые сплавы нужно сверлить з учетом следующих рекомендаций:
Подшипник № 110 - шариковый радиальный однорядный, 50х80х16 мм
Наряду з открытым подшипником 110 производятся закрытые підшипники 80110 (металлические шайбы), 180110 (маслостойкая резина) і 60110 (закрыты металлической шайбой з одной стороны). Закрытые з обоих сторон вироби внутри имеют смазку, которая вносится на заводе, а тип її кодируется в дополнительном условном обозначении справа от номера (например, С17 — литол). В уходе они не нуждаются. Также есть подшипник 50110 — он имеет стопорную канавку на внешнем кольце.
Основні отечественные производители — СПЗ-4 (Самара, сборка из китайских комплектующих), 23 (Вологда, или VBF) підшибниківые заводы, при етом по-настоящему качественную продукцию выпускает Вологодский. В прошлом изделие выпускал 4 ГПЗ, в том числе і высоких классов точності (сейчас ето Завод Авиационных Подшипников, но данный тип в наше время не производит). Кроме того, могут встречаться вироби з клеймом 18 ГПЗ (Виница), они продаются з хранения, і если открытые модификации еще допустимо использовать, то закрытые покупать не рекомендуется из-за загустевшей змазки. Не упомянутые здесь обозначения, скорее всего, указывают на то, что подшипник — китайский.
Ориентировочная цена качественных підшибників — около 120 — 140 рублей (закрытые несколько дороже), китайских — 50 — 60.
Импортный аналог имеет номер 6010 (Z, ZZ или 2RS — обозначения закрытых типов). Стоимость підшибників импортного производства очень сильно зависит от торговой марки. Так, основні модификации шведской фирмы SKF или германской FAG имеют цену до 1000 рублей, а «бюджетные» марки, например, FBJ — 160 — 170 рублей.

Схема підшипника 110 сверлильного верстата 2н135
Подшипник 8210 - ето шариковый упорный однорядный подшипник, состоящий из трех частин — двух колец (диаметр одного из них меньше на 1 мм, того который крепится непосредственно на вал) і сепаратора, на котором расположены тела качения. Применяется в промышленном оборудовании в вузлах з осевой нагрузкой.
Подшипник является упорным, основного конструктивного исполнения, з одним рядом тел качения. Основной тип нагрузки, для восприятия которой он сконструирован — осевая. В случае возникновения радиальной или при незначительных перекосах валов срок службы підшипника сильно сокращается. Нагрузка должна быть постоянной, потому что в противном случае шарики «вхолостую» скользят по дорожкам ккачения і сильно нагреваются.
Данный тип в больших количествах расходуется на различных нефтеперерабатывающих предприятиях, предприятиях органического синтеза. Что касается его применения в специальной і автомобильной технике, то из распространенных моделей большинство уже не применяется, в связи з чем немногие продавцы підшибників держат его на складах.
Основной изготовитель в советское время — Курский підшибниківый завод. Сейчас тип производится на ГПЗ-2 (Москва), СПЗ-4 (Самара)
Импортное наименование підшипника 8210 — 51210 (также маркируют і на 2 ГПЗ).

Схема підшипника 8210 (51210) сверлильного верстата 2н135

Фото підшипника 8210 (51210)
| Наименование параметра | 2Н125 | 2Н135 | 2Н150 |
|---|---|---|---|
| Основні параметри верстата | |||
| Найбільший діаметр свердління сталі 45, мм | 25 | 35 | 50 |
| Найменша та найбільша відстань від торця шпинделя до столу, мм | 60...700 | 30...750 | 0...800 |
| Найменша та найбільша відстань від торця шпинделя до плити, мм | 690...1060 | 700...1120 | 700...1250 |
| Відстань від осі вертикального шпинделя до направляючих стійки (виліт), мм | 250 | 300 | 350 |
| Робочий стіл | |||
| Максимальне навантаження на стіл (по центру), кг | |||
| Розміри робочої поверхні столу, мм | 400 х 450 | 450 х 500 | 500 x 560 |
| Число Т-подібних пазів Розміри Т-подібних пазів | 3 | 3 | 3 |
| Найбільше вертикальне переміщення столу (вісь Z), мм | 270 | 300 | 360 |
| Переміщення столу на один оберт рукоятки, мм | |||
| Шпиндель | |||
| Найбільше переміщення (настановне) шпиндельної головки, мм | 170 | 170 | 250 |
| Найбільше переміщення (хід) шпинделя, мм | 200 | 250 | 300 |
| Переміщення шпинделя на один поділ лімба, мм | 1,0 | 1,0 | 1,0 |
| Переміщення шпинделя на один оборот маховичка-рукоятки, мм | 122,46 | 122,46 | 131,68 |
| Частота обертання шпинделя, об/хв | 45...2000 | 31,5...1400 | 22,4...1000 |
| Кількість швидкостей шпинделя | 12 | 12 | 12 |
| Найбільший допустимий момент, що крутить, Нм | 250 | 400 | 800 |
| Конус шпинделя | Морзе 3 | Морзе 4 | Морзе 5 |
| Механіка верстата | |||
| Число ступенів робочих подач | 9 | 9 | 12 |
| Межі вертикальних робочих подач на один оборот шпинделя, мм | 0,1...1,6 | 0,1...1,6 | 0,05...2,24 |
| Керування циклами роботи | Ручне | Ручне | Ручне |
| Найбільша допустима сила подачі, кН | 9 | 15 | 23,5 |
| Динамічне гальмування шпинделя | Є | Є | Є |
| Привід | |||
| Електродвигун приводу головного руху, кВт | 2,2 | 4,0 | 7,5 |
| Електронасос охолоджувальної рідини | Н14-22М | Н14-22М | Н14-22М |
| Стендовий калібр | |||
| Габарити верстата, мм | 2350 х 785 х 915 | 2535 х 825 х 1030 | 2930 х 890 х 1355 |
| Маса верстата, кг | 880 | 1200 | 1870 рік |
2н135 верстат вертикально - свердлильний: - паспорт, 1987 (djvu) 1,9 Мб