Виробником настільного фрезерно-свердлильного верстата моделей СФ-16, СФ-16-02, СФ-16-05 є Стерлітамацький верстатобудівний завод , заснований в 1941 році.
Історія Стерлітамацького верстатобудівного заводу починається 3 липня 1941 року, коли почалася евакуація Одеського верстатобудівного заводу до міста Стерлітамак.
Вже 11 жовтня 1941 р. Стерлітамакський верстатобудівний завод почав випускати спеціальні агрегатні верстати для оборонної промисловості.
В даний час завод випускає металообробне обладнання, серед якого – токарні та фрезерні верстати з ЧПУ, багатофункціональні обробні центри.
Верстати настільні фрезерно-свердлильні з ручним керуванням моделей СФ16 , СФ-16-02, СФ-16-05 призначені для всіх видів фрезерних робіт, а також свердління розсвердлювання, зенкерування, зенкування та нарізування різьблення машинними мітчиками. Обробка проводиться швидкорізальним та твердосплавним інструментом в деталях з різних конструкційних матеріалів та з неметалічних матеріалів.
Відмінності моделей верстатів:
Фрезерно-свердлувальні верстати СФ-16 призначені на застосування в ремонтних майстернях промислових підприємств, цехах малих підприємств при індивідуальній трудовій діяльності в ремонтних та побутових майстернях.
Простота конструкції забезпечує легкість керування, надійність та довговічність верстатів.
Відлік глибини свердління провадиться за плоскою шкалою або упором.
Триступінчасті шківи приводу дозволяють отримувати три швидкості обертання шпинделя, що забезпечує вільний вибір швидкостей різання.
Оригінальна конструкція натягу ремінної передачі дозволяє швидко змінювати положення ременя на шківах для отримання потрібної швидкості різання.
Вид кліматичного виконання - УХЛ4 або Т3 за ГОСТ 15150-69.
Верстати СФ-16 , СФ-16-02, СФ-16-05 дозволяють виконувати такі операції:

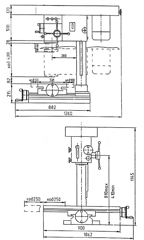
Габаритні розміри робочого простору верстата СФ-16

Фото свердлильно-фрезерного верстата сф-16-02

Фото свердлильно-фрезерного верстата сф-16-05

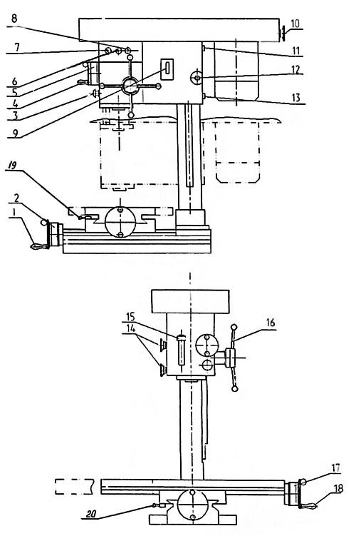
Розташування органів керування свердлильно-фрезерним верстатом СФ-16
Узел состоит из круглой колонны і крестового стола. Круглая колонна представляет собой полую трубу, которая з помощью напрессованного знизу фланца устанавливается на основа крестового стола. К колонне крепится зубчатая рейка, служащая для вертикального переміщення шпиндельной головки.
Стол крестовый состоит из трех основних частин: стола, салазок і основания. Основание стола одновременно является фундаментной плитой верстата. Перемещение стола осуществляется вручную по направляющим типа "Ласточкин хвост" з помощью рукояток поз. 1, 18 (рис. 8). В зависимости от выполняемой операции стол може быть зафиксирован в необходимом положении.
Боковая поверхность центрального Т-образного паза стола доведена относительно продольного ходу стола і служит для базирования оснастки или обрабатываемой детали на столе .
Фрезерно-сверлильная головка верстата СФ-16 представляет собой чугунную отливку коробчатой формы, в которой смонтирован шпиндель, верстата, механізм переміщення шпинделя, противовес пиноли, механізм переміщення головки, ременная передачи, ограждение. Подача шпинделя осуществляется штурвалом 1, расположенным в крайнем левом положении.
Величина переміщення шпинделя контролируется указателем поз. 15 рис. 8. Зажим пиноли при фрезеровании производится рукоятками поз. 14 рис.8. Перемещение головки на круглой колонне осуществляется червячной і реечной парами поз. 2 і 3., рис. 12с післядующим зажимом гвинтами.
На верхней плоскости головки верстата мод. СФ16 закреплена плита з електродвигуном і ограждение ременной передачи. Натяжение ремней регулируется винтом поз. 10 рис.8.
На станке моделі СФ-16-02 на верхней плоскости корпуса сверлильной головки крепится коробка швидкостей рис. 13 і подмоторная плита з електродвигуном. Переключення швидкостей производится двумя рукоятками, расположенными на правой і левой стороне головки. Коробка швидкостей може изготавливаться в 2-х исполнениях. Установка нужного исполнения производится з помощью сменных зубчатых колес, поз. 1, 2 рис. 13 по заказу потребителя.
Шпиндель смонтирован на двух радиальных і двух упорных підшипниках. Все підшипники расположены в пиноли 3, которая з помощью реечной пары перемещается вдоль оси. Регулювання зазоров в підшипниках производится гайкой 6.
Переміщення шпинделя контролюється за покажчиком 5, налаштування на певну глибину свердління здійснюється переміщенням покажчика 5 за качалкою 4.

Кінематична схема свердлильно-фрезерного верстата сф-16
| Найменування параметру | SF-16 | СФ-16-02 | СФ-16-05 |
|---|---|---|---|
| Основні параметри верстата | |||
| Найбільший умовний діаметр свердління сталі 45, мм | 16 | 16 | 16 |
| Максимальний діаметр свердління сталі 45, мм | 31,75 | 31,75 | 31,75 |
| Найбільший діаметр торцевої фрези, мм | 100 | 100 | 100 |
| Діапазон нарізних різьблень, мм | М5..М22 | М5..М22 | М5..М22 |
| Найбільша висота заготовки, мм | 400 | 200 | 200 |
| Найменша та найбільша відстань від торця шпинделя до столу, мм | 0..480 | 0..480 | 0..480 |
| Відстань від осі вертикального шпинделя до направляючих стійки (виліт), мм | 280 | 320 | 350 |
| Робочий стіл | |||
| Розміри робочої поверхні столу, мм | 320 x 900 | 250 x 630 | 250 x 630 |
| Найбільша маса заготівлі, кг | 100 | 100 | 100 |
| Число Т-подібних пазів Розміри Т-подібних пазів | 3 | 3 | 3 |
| Ціна поділу лімбів, мм | 0,05 | 0,05 | 0,05 |
| Найбільше переміщення по осях X та Y, мм | 500/200 | 500/190 | 500/190 |
| Шпиндель, шпиндельна головка | |||
| Найбільше настановне переміщення шпиндельної головки, мм | 400 | 400 | 400 |
| Хід гільзи шпинделя, мм | 100 | 110 | 110 |
| Частота обертання шпинделя, об/хв | 180..2800 | 90..1400 | 90..1400 |
| Кількість швидкостей шпинделя | 6 (2 на 3) | 9 | 9 |
| Розмір внутрішнього конуса шпинделя | Морзе 3 | Морзе 3 | Морзе 3 |
| Поворот шпиндельної головки, град | - | - | ±45 |
| Діапазон механічних подач шпинделя, об/хв | - | - | 0,05..0,1; 0,1; 0,2 |
| Привід | |||
| Електродвигун приводу головного руху, кВт | 1,7 | 1,5 | 1,5 |
| Габарит та маса верстата | |||
| Габарити верстата (довжина ширина висота), мм | 1260 х 1062 х 1145 | 1200 x 1220 x 1230 | 1250 x 1132 x 1240 |
| Маса верстата, кг | 420 | 440 | 480 |