metalinstryment.com
Довідник по металорізальних верстатів та пресовому обладнанні

532 Верстат зубофрезерный вертикальний напівавтомат
схеми, опис, характеристики

532 Загальний вигляд  зубофрезерного верстата







Відомості про виробника вертикального зубофрезерного напівавтомату 532

Производитель вертикального зубофрезерного напівавтомату 532 Егорьевский станкостроительный завод Комсомолец, основанный в 1930 году.

Завод за время своего существования выпустил свыше 60 моделей: зубофрезерных, зубодолбежных, зубошлифовальных, зубозакругляющих і других зубообрабатывающих верстатів.





Продукция Егорьевского станкостроительного завода Комсомолец, СЗК


532 Верстат зубофрезерный вертикальний напівавтомат. Назначение і область применения

Зубофрезерный вертикальний напівавтомат 532 один из первых зубообрабатывающих верстатів, запущеных в серийное производство. Его заменил более совершенный верстат моделі 5Д32.

Зубофрезерный верстат 532 относится к числу наиболее распространенных моделей. На нем можно нарезать цилиндрические зубчасті колеса зовнішнього зацепления з прямыми і косыми зубьями, а также червячные зубчасті колеса і червяки.

При наличии додаткових пристосувань можно также нарезать колеса внутреннего зацепления, червячные колеса методом осевой подачі фрезы і шлицевые валики. Обработка ведется з помощью червячных фрез методом обкатки. Возможна, также, обработка дисковыми і пальцевыми модульными фрезами, что, например, имеет место при нарезании колес внутреннего зацепления і шевронных колес. Верстат пригоден как для черновой, так і для чистовой обробки. Обработка може производиться в один или в несколько проходов.


Габаритные розміри робочого простору зубофрезерного верстата 532

Габаритные розміри робочого простору зубофрезерного верстата 532

Габаритные розміри робочого простору напівавтомату 532


Загальний вигляд і общее пристрій зубофрезерного верстата 532

532 напівавтомат зубофрезерный. Загальний вигляд

Фото зубофрезерного напівавтомату 532


Розташування складових частин і органів керування зубофрезерным верстатом - напівавтоматом 532

532 Розташування складових частин зубофрезерного верстата напівавтомату

Розташування складових частин і органів керування верстатом 532


Основні вузли зубофрезерного верстата 532

Станина 11 коробчатой формы имеет призматические горизонтальные направляющие, по которым могут перемещаться салазки 8 стола 12. Слева на плоскости станины смонтирована литая стойка 16 з вертикальными направляющими 2 для каретки 17 фрезерного суппорта 15. Перемещение суппорта достигается вращением вертикального гвинта 1.

Фрезерный супорт состоит из каретки 17 і поворотной частини суппорта 15, несущей шпиндель, в отверстии которого закрепляют оправку з фрезой. Поворотная часть суппорта 15 (а следовательно, і ось шпинделя), може быть повернута і закреплена под любым углом. Внутри стойки 16 помещается груз, уравновешивающий вес суппорта.

Стол 12 опирается на плоскую кольцевую поверхность своих салазок і центрируется коническим выступом. Вращение столу сообщается червячной парой. Венец червячного колеса прикреплен гвинтами к столу, а червяк связан скользящей шпонкой з валом 9. В центре стола вертикально укрепляется оправка для закрепления заготовок. Горизонтальное рух салазок со столом осуществляется при помощи ходового гвинта і закрепленной на салазках гайки. В кінці гвинта сидит рукоятка 10 для переміщення стола вручную. К салазкам стола наглухо прикреплена задня стойка 7, по вертикальным направляющим которой можно перемещать кронштейн 5. Этот кронштейн надвигают на верхний конец оправки і закрепляют рукояткой 6. Задня стойка 7 для увеличения жесткости верстата може быть связана з передньої стойкой 16 поперечиной 3. В етом случае гайки 4 должны быть затянуты.

К станине крепится коробка 13 з гітарами подач і диференціала, кожух гітари деления 14 і коробка привода, которая находится з противоположной стороны верстата і на фиг. 59 не видна.





Розташування органів керування зубофрезерным верстатом 532

Розташування органів керування зубофрезерным верстатом 532

Розташування органів керування зубофрезерным верстатом 532

Розташування органів керування зубофрезерным верстатом 532. Дивитись у збільшеному масштабі



Список органів керування зубофрезерным верстатом 532

  1. винт вертикальной подачі суппорта;
  2. рукоятка увімкнення вертикальной подачі (увімкнення муфты К2) фиг. 60);
  3. квадрат под рукоятку для установки поворотной частини суппорта;
  4. поворотная часть суппорта;
  5. поворотная часть задньої стойки;
  6. рукоятка для зажиму кронштейна на задньої стойке;
  7. задня стойка;
  8. рукоятка дли зажиму каретки стола;
  9. квадрат для обертання гвинта горизонтальной подачі вручную при выключенном подающем червяке (Р2, фиг. 60);
  10. лимб для установки на глубину різання;
  11. муфта увімкнення горизонтальной подачі (муфта К3, фиг. 60);
  12. квадрат под рукоятку для одновременного обертання вертикального гвинта і стола вручную при возврате суппорта при нарезании колес з косыми зубьями (Р3, фиг. 60);
  13. рукоятка увімкнення червяка диференціала;
  14. кожух гітари подач і гітари диференціала;
  15. вал вертикальной подачі (вал ХIII, фиг, 60);
  16. кнопки електрокерування;
  17. шкаф електроустаткування;
  18. квадрат под рукоятку для переміщення каретки суппорта вручную (Р1. фиг. 60);
  19. валик упоров виключення вертикальной подачі;
  20. рукоятка увімкнення подачі (увімкнення муфты К1, фиг. 60);
  21. салазки суппорта;
  22. стойка;
  23. кожух гітари деления;
  24. коробка привода;
  25. станина;
  26. увімкнення подающего червяка;
  27. каретка стола;
  28. вращающийся стол.




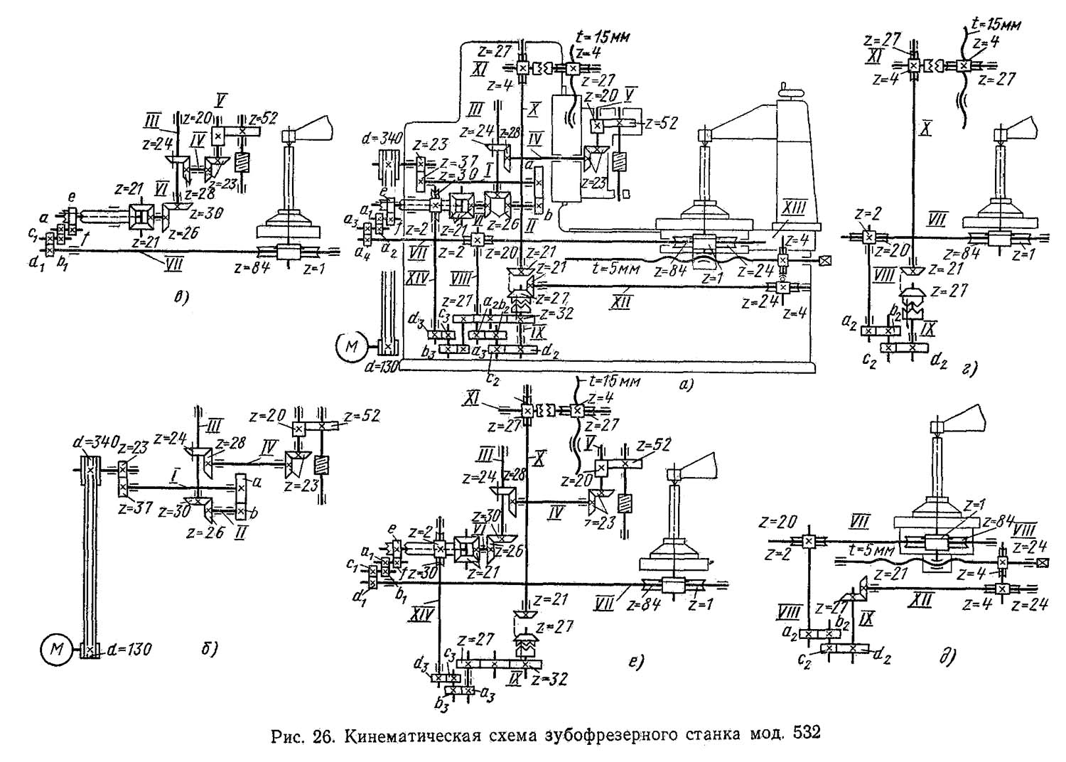
Схема кінематична зубофрезерного верстата 532

Схема кінематична зубофрезерного верстата 532

Кінематична схема зубофрезерного напівавтомату 532

1. Схема кінематична зубофрезерного верстата 532. Дивитись у збільшеному масштабі

2. Схема кінематична зубофрезерного верстата 532. Дивитись у збільшеному масштабі

3. Схема кінематична зубофрезерного верстата 532. Дивитись у збільшеному масштабі



Вращение фрезы

От електродвигуна (фиг. 60) мощностью в N = 3,2 кВт з числом оборотів п = 1440 об/мин через упругую муфту получает вращение червяк 1. Червячное колесо 2 закреплено на валу II. На свободном консольном кінці вала II сидит сменная шестерня А, сцепляющаяся со сменной шестерней Б, сидящей на валу III. Далее рух передається коническим колесам 3, 4 і вертикальному валу IV. Коническое колесо 5 смонтировано в салазках суппорта і связано скользящей шпонкой з валом IV. При вращении вала IV через конические колеса 5, 6, 7 і 8 і цилиндрические колеса 9 і 10 приводится во вращение фрезерный шпиндель VII. Меняя сменные колеса швидкостей А і Б, можно настраивать шпиндель на различные значения числа оборотів в минуту.

Вращение стола

Закрепленное на вертикальном валу IV коническое колесо 4 находится в зацеплении з колесом 11. Далее через диференціал, работу которого рассмотрим ниже, і через сменные колеса В—Г, Д—Е і Ж—З рух передається на вал X. На валу X сидит на скользящей шпонке вмонтированный в салазки стола червяк 15, сцепленный з червячным венцом 16 вращающегося стола.

Вертикальная подача

На валу X закреплен червяк 17, который находится в зацеплении з червячным колесом 18, свободно сидящим на валу XI. При включении муфты K1 будет вращаться вал XI. Через сменные шестерни гітари подач И—К і Л—М вращение передається валу XII і через конические колеса 19 і 20 валу XIII. В верхнем кінці вала ХIII посажен на шпонке червяк 21, зацепленный з червячным колесом 22. Колесо ето свободно сидит на валу XIV і включается скользящей по шпонке кулачной муфтой К2. При включенной муфте получит вращение вал XIV і через червячную пару 23—24 — гайка, вмонтированная в червячное колесо 24, сквозь которую проходит винт вертикальной подачі суппорта. Увімкнення муфты К2 производится вручную или автоматически з помощью упоров, устанавливаемых на специальной тяге, закрепленной параллельно ходу салазок. Отключив муфту К2, можно перемещать салазки вручную, вращая рукоятку P1, посаженную на квадратный конец вала XIV. В некоторых верстатах етой моделі на валу XIV заклинен шкив d2= 100 мм, связанный ремнем со специальным електродвигуном, предназначенным для ускоренных установочных перемещений фрезерного суппорта.

Горизонтальная подача стола

От вала X через червячную пару 17—18 і сменные колеса гітари подач И—К і Л—М приводится во вращение коническое колесо 19, которое сцепляется з колесом 25, свободно сидящим на горизонтальном валу XV. Увімкненням кулачной муфты К3 увлекается во вращение горизонтальный вал XV, затем через червячную пару 26—27 і червячную пару 28—29 получает вращение винт горизонтальной подачі. Червяк 28 выполнен падающим і вместе з валом XVI шарнирно закреплен на оси вала XV, благодаря чему/он може быть выведен из зацепления з колесом 29 как вручную, так і автоматически з помощью упоров, устанавливаемых на столе верстата. При выключенном червяке 29 можно перемещать стол вращением вручную рукоятки, посаженной на квадратный конец Р2 горизонтального гвинта.

Дополнительное вращение стола

Ранее было установлено, что при фрезеровании зубьев методом обкатки должно происходить вращение заготовки, причем при одном обороте однозаходной червячной фрезы заготовка должна повернуться на один зуб. При обработке зубчатых колес з косым или винтовым зубом заготовке необходимо сообщить еще некоторое дополнительное вращение. В самом деле, если бы фреза не вращалась і имела только вертикальное рух подачі, то для того, чтобы точка касания оставила на поверхности заготовки винтовой след, заготовку нужно было бы равномерно вращать вокруг її оси. Следовательно, здесь происходит то, что і при любой обработке винтовой поверхности (фрезеровании винтовых поверхностей, нарезке гвинта на токарному станке і т. п.), когда, кроме прямолинейного руху инструмента, необходимо также вращение заготовки. При етом прямолинейному перемещению инструмента на шаг нарезаемой винтовой линии должен соответствовать один полный оборот заготовки. Следовательно, при обработке колес з винтовым или косым зубом столу з заготовкой нужно сообщить дополнительное вращение і настроить его так, чтобы при вертикальном перемещении суппорта з фрезой (подаче), равном шагу винтовой линии зуба, ето дополнительное, вращение составило бы один полный оборот. Для етой цели в конструкції верстата предусмотрен механізм, называемый диференціалом.


Диференціал зубофрезерного верстата 532

Диференціал зубофрезерного верстата 532


На фиг. 60 і 61 изображен диференціал. На ведущем валу VIII закреплено коническое колесо 12. Ведомый вал IX свободно проходит сквозь коническое колесо 14, на хвостовике которого закреплено червячное колесо 34, вращающееся от червяка 33. Правый конец ведомого вала IX образует две перпендикулярные к валу оси, на которых свободно посажены конические колеса 13, называемые сателлитами.

Все четыре конических колеса, одинаковые по числу зубьев і по размерам, постоянно находятся в зацеплении. Диференціал позволяет одновременно передавать ведомому валу IX вращение, получаемое от ведущего вала VIII і дополнительное вращение от колеса 14. Рассмотрим работу диференціала (фиг. 62).


Схема диференціала зубофрезерного верстата 532

Схема диференціала зубофрезерного верстата 532


Повернем весь диференціал вокруг оси IX—VIII нa один оборот по большой стрелке, при етом колеса 14, 12 і вал IX сделают по одному обороту в етом направлении. Остановим і закрепим вал IX і дадим колесу 14 один оборот в обратную сторону (см. маленькие стрелки), т. е. вернем колесо 14 в исходное положение; тогда колесо 12 сделает еще один оборот по большой стрелке. Таким образом, за один оборот вала IX при нерухомому колесе 14 колесо 12 сделало два оборота в ту же сторону, что і вал IX.

Если п — число оборотів в минуту ведомого вала, а n1 — число оборотів в минуту ведущего, то і в етом случае:


iдиф = n/n1 = 1/2 или n = n1 / 2.


Если мы рассмотрим случай, когда ведущее колесо 12 неподвижно, а вращается от червячной пары колесо 14, которое будем называть ускорительным, то при совершенно симметричной конструкції, пользуясь теми же рассуждениями, получим: n=n2/2.


n = n2 / 2.


где n2 — число оборотів в минуту ускорительного колеса 14.

Если же одновременно в одну сторону вращаются оба колеса ведущее і ускорительное, то число оборотів ведомого вала будет:


n = (n1 + n2) / 2.


При вращении в противоположную сторону:


n = (n1 - n2) / 2.


Итак, ведущее коническое колесо диференціала 12 через сменные колеса гітари деления В—Г, Д—Е і Ж—3 і делительную червячную пару 15—16 будет сообщать столу основне вращение (фиг. 60).

Дополнительное вращение стола заимствуется от вала XII і через зубчасті колеса 30—31—32 передається на сменные колеса гітари диференціала Н—О і П—Р. Червячная пара 33—34 сообщает вращение ускорительному колесу диференціала 14. Далее через сателлиты получает дополнительное вращение ведомый вал диференціала IX, сменные колеса гітари деления В—Г, Д—Е і Ж—3 і делительная червячная пара 15—16, вращающая стол з заготовкой.

При обработке цилиндрических зубчатых колес з прямыми зубьями, а также при обработке червячных колес методом радиальной подачі нет надобности в дополнительном вращении заготовки і диференціал не работает, При етом червяк 33 выводится из зацепления з червячным колесом 34 з помощью рукоятки 13 (фиг. 63), а сменное колесо гітари деления В (фиг. 61), сидящее на шпонке на ведомом валу диференціала IX, соединяется торцовыми выступами з хвостовиком ускорительного конического колеса 14. В таком положении сателлиты не могут вращаться, ведомый вал IX оказывается жестко соединенным з ведущим валом VIII і совершает одинаковое з ним число оборотів. Тогда передаточное отношение диференціала


iдиф = 1.



Наладка верстата на обработку цилиндрических колес з прямыми зубьями [1]

Крепление изделий на станке 532

Крепление изделий на станке 532

Установка сменных колес на гітарі деления і подач верстата 532

Установка сменных колес на гітарі деления і подач верстата 532




Методы зубонарізання. Відеоролик.



Технічні характеристики зубофрезерного верстата 532

Наименование параметра 532 5д32 5е32 5к32
Основні параметри верстата
Наибольший модуль нарезаемого колеса по стали, мм 6 2..6 2..6 10
Наибольший диаметр нарезаемых цилиндрических прямозубых колес (0°), мм 750 800 800 800
Наибольший диаметр нарезаемых цилиндрических косозубых колес (30°), мм 500 500 500 500
Наибольший диаметр нарезаемых цилиндрических косозубых колес (45°), мм 350
Наибольший диаметр нарезаемых цилиндрических косозубых колес (60°), мм 190 190 120..250
Наибольший диаметр червячных нарезаемых колес, мм 800
Наибольшая длина венца нарезаемых цилиндрических прямозубых колес (0°), мм 250 350
Наибольшая длина венца нарезаемых цилиндрических косозубых колес (30°), мм 200
Наибольшая длина венца нарезаемых цилиндрических косозубых колес (45°), мм 150
Наибольшая длина венца нарезаемых цилиндрических косозубых колес (60°), мм 130
Наименьшее число нарезаемых зубьев 12
Расстояние между осями стола і фрезы, мм 30..480 30..500 30..480 80..500
Расстояние от плоскости стола до оси фрезы, мм 165..415 200..510 190..525 210..570
Расстояние от оси шпинделя до направляючих суппорта, мм 218 220 319
Стол
Диаметр стола, мм 580 475 475 670
Наибольшее перемещение стола, мм 425 - - 500
Конус в шпинделе стола, мм Морзе 5
Ускоренное перемещение стола, мм/мин - - - 170
Ручное перемещение стола за одно деление лимба, мм 0,1 - - 0,5
Ручное перемещение стола за один оборот лимба, мм 5 - -
Суппортная стойка
Наибольшее перемещение суппортной стойки, мм 470 450 -
Быстрое перемещение суппортной стойки, мм/мин - 50 230 -
Перемещение стойки на одно деление лимба, мм - 0,05 0,02 -
Перемещение стойки на один оборот лимба, мм - 4,0 4,0 -
Блокировка от перегрузки есть есть -
Суппорт
Наибольшее перемещение суппорта, мм 250 335 360
Ускоренное перемещение каретки суппорта, мм/мин 220 550
Наибольший диаметр режущего инструмента - фрезы, мм 120 120 150 200
Наименьшая длина режущего инструмента (фрезы), мм 130 130 200
Диаметры фрезерных оправок, мм 22, 27, 32 32; 40
Ускоренное перемещение шпинделя вдоль оси, мм/мин 130
Наибольший угол поворота суппорта, град 360°
Наибольший угол наклона зубьев нарезаемого колеса, град ±60° ±60°
Поворот суппорта на одно деление шкалы линейки, град
Поворот суппорта на одно деление шкалы нониуса, мин 6` 1`
Конусное отверстие шпинделя Морзе 4 Морзе 5 Морзе 5
Наибольшее осевое перемещение фрезы, мм 80
Механіка верстата
Пределы оборотів фрезы, об/мин 47, 58, 72, 87, 100, 122, 150, 188 47,5..192 53,5..250 5..310
Число ступеней оборотів фрезы 8 8 9
Пределы вертикальних (продольных) подач фрезы, мм/об 0,25..4 (12 шагов) 0,5..3 0,8..5,0
Пределы радиальных подач подвижной стойки, мм/об 0,1..1,0 0,3..1,7
Пределы радиальных подач подвижного стола, мм/об 0,105..1,68 (12 шагов) - -
Пределы тангенциальных (осевых) подач фрезы, мм/об 0,17..3,7
Число ступеней подач 7
Привід і електрообладнання верстата
Електродвигун головного привода, кВт (об/мин) 3,2 (1440) 2,8 4,5 7,5
Електродвигун ускоренного ходу суппорта, кВт (об/мин) 1,0 (1425) 1,0 3,0
Електродвигун приводу осьового руху фрезы, кВт (об/мин) - 0,18 0,4
Електродвигун приводу гідронасоса, кВт (об/мин) - - 1,1
Електродвигун насоса охлаждения, кВт (об/мин) 0,25 (2800) 0,15 0,15 0,15
Габаритные розміри і масса верстата
Габаритные розміри верстата (длина х ширина х высота), мм 1885 х 1158 х 1950 2395 х 1210 х 1975 2390 х 1340 х 2080 2550 х 1510 х 2000
Масса верстата з електрообладнанням і охолодженням, кг 2500 3660 4000 7200

    Список литературы по зубообработке

  1. Ачеркан Н.С. Металлорежущие верстати, Том 1, 1965.
  2. Гальперин Е.И. Наладка зуборезных верстатів, 1960, стр. 66
  3. Козлов Д.Н. Зуборезные роботи, 1971.
  4. Кучер А.М., Киватицкий М.М., Покровский А.А., Металлорежущие верстати (Альбом общих видов, кинематических схем і вузлів), 1972.
  5. Лоскутов В.В., Ничков А.Г. Зубообрабатывающие верстати, 1978.
  6. Малахов Я.А. Зубообрабатывающие і резьбофрезерные верстати і их наладка, 1972.
  7. Мильштейн М.З. Нарезание зубчатых колес, 1972.
  8. Овумян Г.Г., Адам А.И. Справочник зубореза, 1983.
  9. Птицин Г.А., Кокичев В.Н. Зуборезные верстати, 1957.
  10. Шавлюга Н.И. Расчет і примеры наладок зубофрезерных і зубодолбежных верстатів, 1978.
  11. Руководящий материал для конструкторов, проектирующих технологическую оснастку. Основні данные і посадочные места металлорежущих верстатів. НИИМАШ, 1968.









Заказать

Начальник не всегда прав, но он всегда начальник

Закон Мерфи