metalinstryment.com
Довідник по металорізальних верстатів та пресовому обладнанні

5К328а Верстат зубофрезерный вертикальний напівавтомат
схеми, опис, характеристики

5К328а Загальний вигляд  зубофрезерного верстата







Відомості про виробника вертикального зубофрезерного напівавтомату 5К328А

Производитель вертикального зубофрезерного напівавтомату 5К328а Егорьевский станкостроительный завод Комсомолец, основанный в 1930 году.

Завод за время своего существования выпустил свыше 60 моделей: зубофрезерных, зубодолбежных, зубошлифовальных, зубозакругляющих і других зубообрабатывающих верстатів.





Продукция Егорьевского станкостроительного завода Комсомолец, СЗК


5К328а Верстат вертикальний зубофрезерный напівавтомат для цилиндрических колес. Назначение і область применения

Верстат зубофрезерный 5К328А был заменен на более совершенную модель 53А11, позволяющим обрабатывать колеса Ø 1250 мм з модулем 12.

Універсальный зубофрезерный верстат напівавтомат 5К328А предназначен для нарізання (фрезерування) цилиндрических прямозубых, косозубых і червячных колес в условиях единичного і серийного производства. Нарезание зубчатых колес производится по способу обкатки червячной фрезы і обрабатываемой заготовки попутным или встречным методами фрезерування. Верстат работает по замкнутому напівавтоматическому циклу і по циклу налагодження. Наличие циклов радиальной, тангенциальной і диагональной подачі значительно расширяет технологические возможности напівавтоматов.

Принцип роботи і особливості конструкції верстата

Верстат 5К328А имеет нерухомий стол і подвижную стойку. Наличие в станке універсального фрезерного суппорта позволяет обрабатывать цилиндрические і червячные колеса методом радиального врізання і тангенциальной подачі. На базе верстата могут изготавливаться спецверстати, позволяющие обрабатывать колеса з бочкообразной или конусной формой зубьев. Обработка осуществляется копированием по шаблону.

При зубофрезеровании з диагональной подачей фреза перемещается вдоль нарезаемого зуба і одновременно вдоль собственной оси, что значительно повышает її стойкость.

Конструкція верстата передбачає возможность радиального врізання фрезы в заготовку, что сокращает машинное время обробки.

На базе верстата 5К328А могут изготавливаться верстати (модель 53А11С2) для обробки валков периодического профиля для прокатки арматуры на прокатных станах.

Большая универсальность верстатів 5К328А і высокая степень автоматизации обеспечивает работу верстатів как в однопроходном, так і в двухпроходном автоматических циклах. При двухпроходном автоматическом цикле происходит автоматическая смена режимов обробки. Полуавтомат имеет бесступенчатый привід вертикальной і радиальной подачі.

Значительная мощность електродвигуна приводу фрезы, высокие скорости і достаточная загальна жесткость верстатів позволяет производить обработку на повышенных режимах со скоростями до 60…70 м/мин.

На базе етих верстатів Егорьевский станкостроительный завод «Комсомолец» выпустил большое количество специальных верстатів для обробки зубчатых колес различных размеров і форм, в том числе і для обробки деталей бочкообразной і конусной формой зуба

Верстат 5К328А работает по напівавтоматическому циклу.

Верстат 5К328А выполнен в соответствии з нормами точності по ГОСТ 659—67.


Зубофрезерные верстати серии К

Універсальный зубофрезерный верстат 5К32 является базовым верстатом серии К на основе которого выполняют универсальные верстати упрощённой конструкції, верстати підвищеної точності; верстати з многозаходными делительными парами; специализированные і специальные верстати.

Зубофрезерные верстати серии К:

Эти верстати по своим техническим характеристикам і по механізмам, обеспечивающим прогрессивные методы зубофрезерування, отвечают мировым стандартам. Зубофрезерные верстати базовых мод. 5К324, 5К32, 5К328 предназначены для использования в условиях единичного, мелкосерийного і серийного производства.

В верстатах 5К324, 5К32, снабженных шестеренными коробками з електромагнитными муфтами, для изменения частоти обертання фрезы і величины подачі используют ползунковые переключатели на пульті керування, которые осуществляют увімкнення електромагнітних муфт. Это дает возможность осуществить автоматический двухпроходный цикл зубофрезерування з автоматическим переключением швидкостей і подач перед вторым рабочим ходом, что сокращает вспомогательное время.

Для условий серийного производства верстати 5К324 і 5К32 изготовляют з коробками швидкостей і подач, настраиваемых з помощью сменных колес. В станке мод. 5К328 для изменения швидкостей і подач служат скользящие блоки зубчатых колес.

Зубофрезерные верстати універсального типа 5К324А і 5К32А упрощены; в них вместо, непрерывного осьового переміщення фрезы предусмотрено автоматическое периодическое перемещение в кінці каждого цикла нарізання. Верстати предназначены для роботи в условиях серийного і массового производства.

Зубофрезерные верстати підвищеної точності 5К324П і 5К32П предназначаются для нарізання колес високою степени точності. Высокая точность зубонарізання достигается при увеличении в 2 раза передаточного отношения делительной червячной пары стола і более точного изготовления деталей і вузлів верстата, точность которых влияет на точность нарезаемых колес. Эти верстати используют для чистовых операций.





Габарити робочого простору зубофрезерного напівавтомату 5К328а

5К328а Верстат зубофрезерный. Габарити робочого простору

Габарити робочого простору зубофрезерного напівавтомату 5к328а


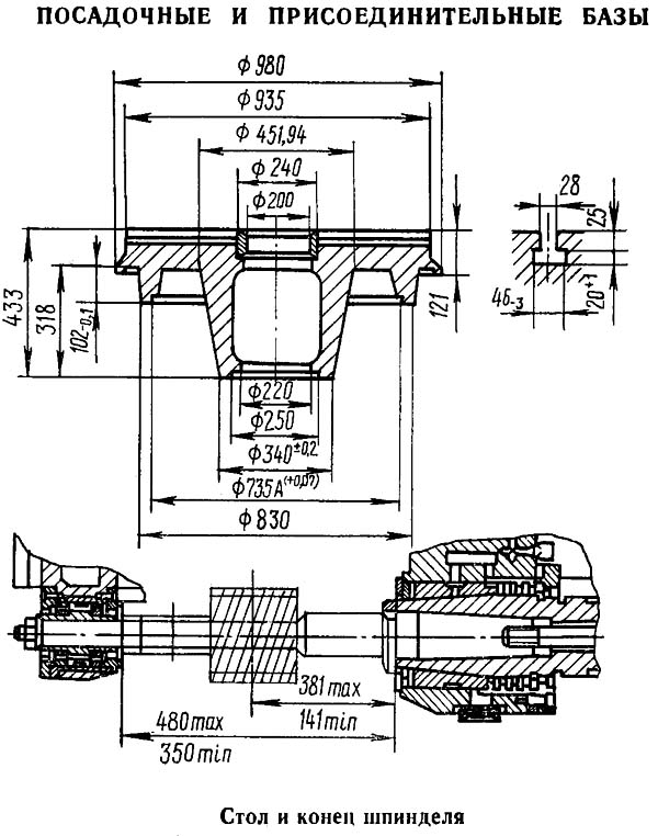
Посадочные і присоединительные базы напівавтомату 5К328а

5К328а Посадочные і присоединительные базы зубофрезерного напівавтомату 5К328а

Посадочные і присоединительные базы напівавтомату 5к328а


Загальний вигляд і общее пристрій верстата 5К328а

5К328а напівавтомат зубофрезерный. Загальний вигляд

Фото зубофрезерного верстата 5к328а


Фото зубофрезерного верстата 5к328а

Фото зубофрезерного верстата 5к328а

Фото зубофрезерного верстата 5к328а. Дивитись у збільшеному масштабі



5К328а напівавтомат зубофрезерный. Загальний вигляд

Фото зубофрезерного верстата 5к328а





Схема кінематична зубофрезерного верстата 5К328а

Схема кінематична зубофрезерного верстата 5К328а

Кінематична схема зубофрезерного верстата 5к328а

Кінематична схема зубофрезерного верстата 5К328а. Дивитись у збільшеному масштабі



Опис кінематичної схеми зубофрезерного напівавтомату 5К328А

Ha станке (рис. 132) можно нарезать червячной фрезой цилиндрические колеса з прямыми і винтовыми зубьями з поздовжньої, радиальной і диагональной подачей і червячные колеса з радиальным, тангенциальным і диагональным врезанием. Наибольший диаметр нарезаемого колеса 1250 мм, наибольший модуль 12 мм.

Верстат имеет три ходовых гвинта:

  1. вертикальний винт ВВ
  2. радиальный винт ВР
  3. тангенциальный винт ВО для переміщення фрезы вдоль її оси

Эти винты могут быть включены или поочередно, или попарно, или все вместе в зависимости от способа нарізання і формы зубьев нарезаемого колеса. Полностью структура верстата обычно не используется. Почти полностью она используется лишь в случае нарізання цилиндрического колеса з винтовым зубом з диагональной подачей.

В етом случае, как уже было сказано выше, к двум рухум формообразования Фv1В2) і Фs13В4) добавляется третье рух Фs25В6), где П5 — осевое перемещение фрезы для возможности постепенного ввода всех її режущих кромок в работу во время нарізання заготовки, что увеличивает стойкость фрезы.

Первая кінематична группа — группа руху скорости різання Фv1В2) состоит из внутренней связи в виде кінематичної ланцюги, связывающей шпиндель фрезы со столом через центральные конические колеса диференціала і гітару ix, і внешней связи, через которую рух от двигуна Д1 передається во внутреннюю ланцюг. Рух скорости різання Фv1В2) настраивается по двум параметрам: на траекторию — гітарою iх і на скорость — гітарою iv.

Вторая кінематична группа — группа руху поздовжньої подачі Фs13В4) состоит из внутренней кінематичної связи в виде кінематичної ланцюги, связывающей через диференціал і гітару iy вертикальний ходовой винт ВВ со столом. Внешняя связь етой группы передает рух от двигуна Д1 во внутреннюю ланцюг і соединяется з післядней через коническое колесо z40, сцепляющееся з двумя коническими колесами z36. Рух Фs1 настраивается по всем пяти параметрам: на траекторию (шаг винтовой линии) — гітарою iy, на путь і на исходное положение — передвижными упорами на суппорте (на схеме не показаны), на скорость — гітарою подачі is1 і на направление — реверсом Р1, расположенным на выходном валу гітари подач.

Третья кінематична группа создает сложное рух тангенциальной подачі Фs25В6), которое также используется для образования профиля зуба нарезаемого колеса. Следовательно, профиль зуба создается двумя рухуми: Фv1В2) і Фs25В6).





Методы зубонарізання. Відеоролик.



Технічні характеристики зубофрезерного верстата 5К328а

Наименование параметра 5К328а
Основні параметри верстата
Наибольший модуль нарезаемого колеса, мм 12
Наибольший диаметр нарезаемых цилиндрических прямозубых колес (0°) з отведенной задньої стойкой (без контрподдержки), мм 1250
Наибольший диаметр нарезаемых цилиндрических прямозубых колес (0°) з задньої стойкой (с контрподдержкой), мм 800
Наибольший диаметр нарезаемых цилиндрических косозубых колес (30°), мм 1000
Наибольший диаметр нарезаемых цилиндрических косозубых колес (45°), мм 600
Наибольший диаметр нарезаемых цилиндрических косозубых колес (60°) (для фрезы Ø 180 мм), мм 400
Наибольший угол наклона нарезаемых зубъев обрабатываемых колес, град ±60
Наибольший диаметр червячных нарезаемых колес, мм 800
Наибольшая длина венца нарезаемых цилиндрических прямозубых колес (0°), мм 560
Наибольшая длина венца нарезаемых цилиндрических косозубых колес (30°), мм 400
Наибольшая длина венца нарезаемых цилиндрических косозубых колес (45°), мм 310
Наибольшая длина венца нарезаемых цилиндрических косозубых колес (60°), мм 290
Наименьшее число нарезаемых зубьев 20
Стол
Диаметр стола, мм 935
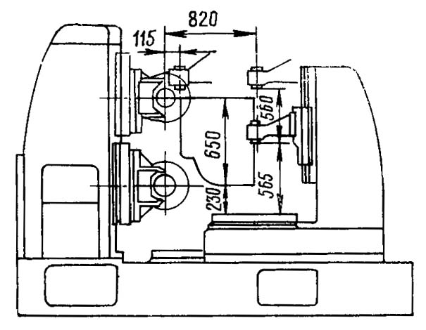
Расстояние между осями стола і фрезы, мм 115..820
Расстояние от плоскости стола і оси фрезы, мм 230..880
Ускоренное перемещение стола, мм/мин 170
Ручное перемещение стола за один оборот лимба, мм 0,5
Суппорт
Наибольшее перемещение фрезерного суппорта, мм 650
Ускоренное перемещение каретки суппорта, мм/мин 400
Наибольший диаметр режущего инструмента (червячной фрезы), мм 225
Наибольшая длина режущего инструмента (червячной фрезы), мм 240
Диаметры фрезерных оправок, мм
Ускоренное перемещение шпинделя вдоль оси, мм/мин 120
Расстояние от оси шпинделя до направляючих суппорта, мм 390
Поворот суппорта на одно деление шкалы линейки, град
Поворот суппорта на одно деление шкалы нониуса, мин 5`
Конусное отверстие шпинделя Морзе 6
Наибольшее осевое перемещение фрезы, мм 240
Наибольшая величина вертикального переміщення суппорта при угле наклона (30°/ 45°/ 60°), мм
Механіка верстата
Пределы оборотів фрезы, об/мин
Число ступеней оборотів фрезы
Пределы продольных (вертикальних) подач, мм/об
Пределы радиальных подач, мм/об
Пределы тангенциальных подач, мм/об
Число ступеней подач
Привід і електрообладнання верстата
Електродвигун головного привода, кВт 10
Електродвигун ускоренного ходу, кВт 4
Електродвигун приводу гідронасоса, кВт 2,2
Електродвигун насоса охлаждения, кВт 0,6
Електродвигун транспортера стружки, кВт
Суммарная мощность електродвигателей, кВт
Габаритные розміри і масса верстата
Габаритные розміри верстата (длина х ширина х высота), мм 3580 х 1790 х 2590
Масса верстата з електрообладнанням і охолодженням, кг 14000

    Список литературы по зубообработке

  1. Ачеркан Н.С. Металлорежущие верстати, Том 1, 1965.
  2. Гальперин Е.И. Наладка зуборезных верстатів, 1960.
  3. Козлов Д.Н. Зуборезные роботи, 1971.
  4. Кучер А.М., Киватицкий М.М., Покровский А.А., Металлорежущие верстати (Альбом общих видов, кинематических схем і вузлів), 1972.
  5. Лоскутов В.В., Ничков А.Г. Зубообрабатывающие верстати, 1978.
  6. Малахов Я.А. Зубообрабатывающие і резьбофрезерные верстати і их наладка, 1972.
  7. Мильштейн М.З. Нарезание зубчатых колес, 1972.
  8. Овумян Г.Г., Адам А.И. Справочник зубореза, 1983.
  9. Птицин Г.А., Кокичев В.Н. Зуборезные верстати, 1957.
  10. Шавлюга Н.И. Расчет і примеры наладок зубофрезерных і зубодолбежных верстатів, 1978.
  11. Руководящий материал для конструкторов, проектирующих технологическую оснастку. Основні данные і посадочные места металлорежущих верстатів. НИИМАШ, 1968.









Заказать

Кто владеет информацией - тот владеет миром.

Натан Ротшильд