metalinstryment.com
Довідник по металорізальних верстатів та пресовому обладнанні

53А11 Верстат зубофрезерный вертикальний напівавтомат
схеми, опис, характеристики

53А11 Загальний вигляд  зубофрезерного верстата







Відомості про виробника вертикального зубофрезерного напівавтомату 53А11

Производитель вертикального зубофрезерного напівавтомату 53А11 - Егорьевский станкостроительный завод Комсомолец, основанный в 1930 году.

Завод за время своего существования выпустил свыше 60 моделей: зубофрезерных, зубодолбежных, зубошлифовальных, зубозакругляющих і других зубообрабатывающих верстатів.





Продукция Егорьевского станкостроительного завода Комсомолец, СЗК


53А11 Верстат вертикальний зубофрезерный напівавтомат. Назначение і область применения

Зубофрезерный верстат зубошлифовальный 53А11 заменил в производстве устаревшую модель 5К328А.

Універсальный зубофрезерный верстат напівавтомат 53А11 предназначен для нарізання (фрезерування) цилиндрических прямозубых, косозубых і червячных колес в условиях единичного і серийного производства. Нарезание зубчатых колес производится по способу обкатки червячной фрезы і обрабатываемой заготовки попутным или встречным методами фрезерування. Верстат работает по замкнутому напівавтоматическому циклу і по циклу налагодження. Наличие циклов радиальной, тангенциальной і диагональной подачі значительно расширяет технологические возможности напівавтоматов.

Принцип роботи і особливості конструкції верстата 53А11

Верстат 53А11 имеет нерухомий стол і подвижную стойку. Наличие в станке універсального фрезерного суппорта позволяет обрабатывать цилиндрические і червячные колеса методом радиального врізання і тангенциальной подачі. На базе верстата могут изготавливаться спецверстати, позволяющие обрабатывать колеса з бочкообразной или конусной формой зубьев. Обработка осуществляется копированием по шаблону.

При зубофрезеровании з диагональной подачей фреза перемещается вдоль нарезаемого зуба і одновременно вдоль собственной оси, что значительно повышает її стойкость.

Конструкція верстата 53А11 передбачає возможность радиального врізання фрезы в заготовку, что сокращает машинное время обробки.

На базе верстата 53А11 могут изготавливаться верстати (модель 53А11С2) для обробки валков периодического профиля для прокатки арматуры на прокатных станах.

Большая универсальность верстатів і высокая степень автоматизации обеспечивает работу верстатів как в однопроходном, так і в двухпроходном автоматических циклах. При двухпроходном автоматическом цикле происходит автоматическая смена режимов обробки. Полуавтомат имеет бесступенчатый привід вертикальной і радиальной подачі.

Значительная мощность електродвигуна приводу фрезы, высокие скорости і достаточная загальна жесткость верстатів позволяет производить обработку на повышенных режимах со скоростями до 60…70 м/мин.

На базе етих верстатів Егорьевский станкостроительный завод «Комсомолец» выпустил большое количество специальных верстатів для обробки зубчатых колес различных размеров і форм, в том числе і для обробки деталей бочкообразной і конусной формой зуба

Верстат 53А11 работает по напівавтоматическому циклу.

Верстат 53А11 выполнен в соответствии з нормами точності по ГОСТ 659—67.


Зубофрезерные верстати, работающие по методу огибания

Зубофрезерные верстати, работающие по методу огибания

Рис. 1. Зубофрезерные верстати, работающие по методу огибания

Принципиальная схема налаштування зубофрезерного верстата

Рис. 2. Принципиальная схема налаштування зубофрезерного верстата

Структурна схема зубофрезерного верстата

Рис. 3. Структурна схема зубофрезерного верстата

Зубофрезерные верстати, работающие по методу огибания, предназначены для обробки цилиндрических колес з прямыми і косыми зубьями, а также червячных колес (см. рис. 3).

При нарезании зубьев обертання фрезы і заготовки должны быть согласованы между собой. Чтобы обеспечить ето условие, в станке имеется специальная ланцюг, принципова схема налаштування которой показана на рис. 2. Если колесо имеет z зубьев і совершит пк оборотів, а фреза за ето время сделает nф оборотів, то передаточное отношение ix между числом оборотів колеса і фрезы.

Рассмотрим формообразующие руху верстата для образования профиля зубьев, для чего обратимся к структурной схеме верстата (рис. 3). При нарезании прямозубого цилиндрического колеса необходимо осуществить главное вращательное рух фрезы В1. регулируемое органом налаштування iv вращение заготовки B2, согласованное з вращением фрезы Вх; перемещение суппорта з фрезой параллельно оси стола П, настраиваемое органом i3. Суппорт може перемещаться или сверху вниз, или знизу вверх. При перемещении суппорта сверху вниз осуществляется встречное фрезерование, В етом случае при вращении фрезы зубья движутся навстречу срезаемому слою металла. При перемещении суппорта знизу вверх происходит попутное фрезерование. В етом случае зубья фрезы движутся попутно со срезаемым слоем металла. При попутном фрезеровании допускается увеличение скорости різання на 20—25% по сравнению со встречным методом.

При нарезании косозубых колес к рассмотренным выше формообразующим рухум добавляется рух для образования винтовой линии (диференціальная ланцюг). Это рух состоит из обертання заготовки В3 і поступательного переміщення П фрезы. Следовательно, одно исполнительное звено — стол верстата — должно мати два обертання В2 і В3 з независимыми скоростями, что возможно при наличии суммирующего механізма.





Габарити робочого простору зубофрезерного напівавтомату 53А11

53А11 Верстат зубофрезерный. Габарити робочого простору

Габарити робочого простору зубофрезерного напівавтомату 53а11


Посадочные і присоединительные базы напівавтомату 53А11

53А11 Посадочные і присоединительные базы зубофрезерного напівавтомату 53А11

Посадочные і присоединительные базы напівавтомату 53а11


Загальний вигляд і общее пристрій верстата 53А11

53А11 напівавтомат зубофрезерный. Загальний вигляд

Фото зубофрезерного верстата 53а11


53А11 напівавтомат зубофрезерный. Загальний вигляд

Фото зубофрезерного верстата 53а11. Суппорт


Фото зубофрезерного верстата 53а11

Фото зубофрезерного верстата 53а11

Фото зубофрезерного верстата 53а11. Дивитись у збільшеному масштабі



Фото зубофрезерного верстата 53а11

Фото зубофрезерного верстата 53а11

Фото зубофрезерного верстата 53а11. Дивитись у збільшеному масштабі






Розташування складових частин зубофрезерного напівавтомату 53А11

53А11 Розташування складових частин зубофрезерного напівавтомату 53А11

Розташування складових частин зубофрезерного верстата 53а11


53А11 Розташування органів керування зубофрезерным напівавтоматом 53А11

Розташування органів керування зубофрезерным верстатом 53а11


Специфікація складових частин зубофрезерного напівавтомату 53А11

Список органів керування зубофрезерным напівавтоматом 53А11

Пульт керування зубофрезерным напівавтоматом 53А11

Пульт керування зубофрезерным напівавтоматом 53А11


Пульт керування зубофрезерным напівавтоматом 53А11

Пульт керування зубофрезерным напівавтоматом 53А11






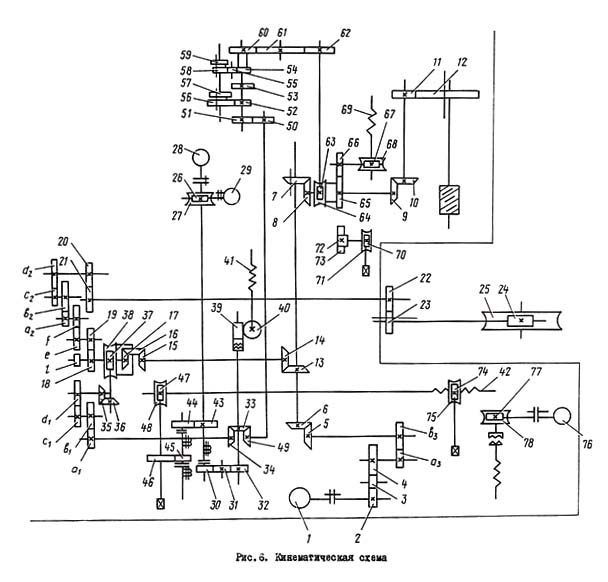
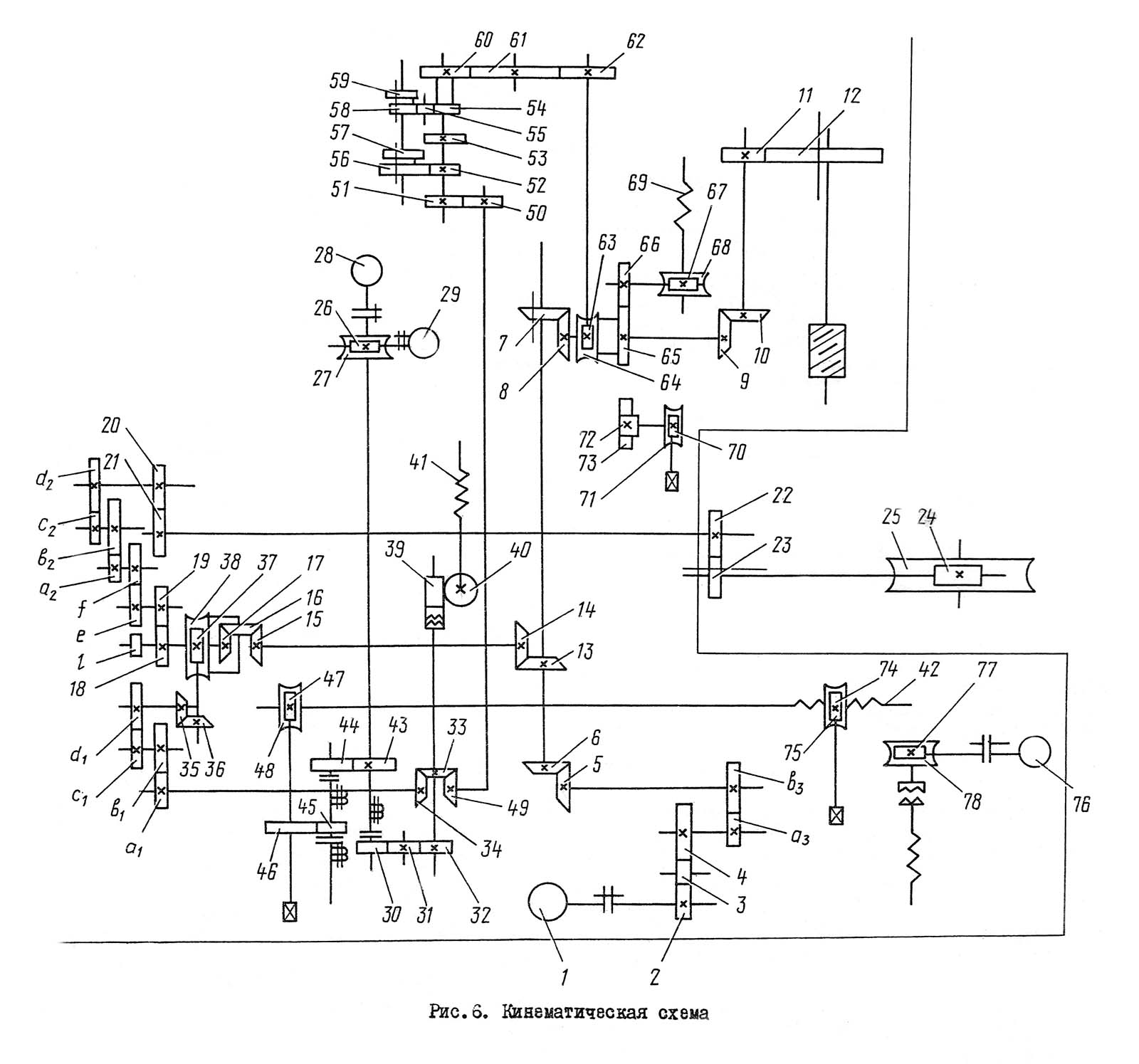
Схема кінематична зубофрезерного верстата 53А11

Кінематична схема зубофрезерного верстата 53А11

Кінематична схема зубофрезерного верстата 53а11

Кінематична схема зубофрезерного верстата 53А11. Дивитись у збільшеному масштабі



Короткий опис складових частин

Стойка суппортная

К суппортной стойке относятся гитарные механізмы деления і диференціала. В нее конструктивно входят: вал делительный, блоки тангенциальной подачі. Вертикальные направляющие служат для переміщення каретки.

Коробка швидкостей і привод

Коробка швидкостей (рис.4) крепится к станине з рабочей стороны, а привід -с обратной стороны. Коробка швидкостей служит для изменения швидкостей путем установки сменных зубчатых колес.

Каретка суппорта

На каретке крепится суппорт. В ней размещены гайки вертикальной подачі, гідроцилиндр розвантаження суппорта, зубчатое колесо з внутренним зубом для поворота суппорта на угол.

Коробка распределения движений

Коробка распределения руху крепится к корпусу суппортной стойки з рабочей стороны. Кинематически она входит в ланцюг радиальных і вертикальних подач і передаёт рух в ланцюг диференціала.

Привід подач

Привід подач служит для бесступінчастого изменения величин радиальных, тангенциальных і вертикальних подач з помощью переключателей на пульті керування. Предусмотрен реверс подачі для обеспечения попутного і встречного методов зубофрезерування.

Суппорт фрезерный

Суппорт приведен на рис. 4. Он обеспечивает нарезание зубчатых колес диагональным і тангенциальным методом, что особенно необходимо при нарезании многозаходных червячных колес. На суппорте имеется квадрат 18 для поворота его на угол.

Рабочий стол. Планшайба

Планшайба стола центрируется на конусе, а опорой служит горизонтальная кольцевая плоскость. К горизонтальным призматическим направляющим станины стол крепится з помощью планок з клиньями. Делительный червяк установлен на опорах і ковзання і выполнен двухшаговым для выборки зазору в зацеплении.

Контрподдержка

Контрподдержка состоит из подвижной каретки, откидного кронштейна і гідроцилиндра. В отверстие откидного кронштейна вставляется центр или втулка ковзання для фиксации оси заготовки. Подъем, опускание і останов осуществляются переключателем на пульті керування.

Для обробки зубчатых колес максимального диаметра заднюю стойку необходимо отвести назад.




Бак охлаждения

Бак охлаждения і ограждение Бак охлаждения служит резервуаром для охлаждающей жидкости, на нем смонтирован насос охлаждения. На бак устанавливается корзина сбора стружки. Для очистки охлаждающей жидкости от мелкой стружки служат магниты, установленные на пути слива. Зона різання закрыта кожухами.

Транспортер стружки

Транспортер стружки конструктивно включает в себя привід транспортера і шнек. Привід транспортера от електродвигуна через червячную пару. Для защиты от перегрузки транспортер имеет подпружиненную кулачковую муфту.


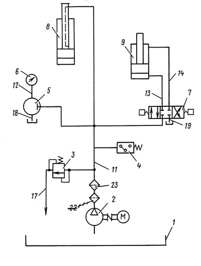
Схема гідравлічна зубофрезерного верстата напівавтомату 53А11

53А11 Схема гідравлічна зубофрезерного верстата напівавтомату

Гідравлічна схема зубофрезерного верстата 53а11

Гідросистема верстата. Общее опис

Схема гідравлічна Схема гідравлічна приведена на рис.7, перечень елементів к схеме - в табл. 7.

С помощью гідросистемы верстата осуществляются: разгрузка веса суппорта, перемещение кронштейна контрподдержки.

Давление в системе 1,8-2,0 МПа (18-20 кгс/см² ) регулируется напорным золотником 3 і контролируется манометром. Очистка масла производится фильтрами, установленными в ланцюги нагнетания (тонкость фильтрации 40 і 25 мкм).

Наличие давления контролируется з помощью реле давления 4 (рис.7). Реле давления настраивается на величину давления 1,2-1,4 МПа (12-14 кгс/см²). При падении давления ниже давления налаштування реле давления отключает подачу.




53А11 Верстат зубофрезерный вертикальний напівавтомат. Відеоролик.




Технічні характеристики зубофрезерного верстата 53А11

Наименование параметра 53А11
Основні параметри верстата
Наибольший модуль нарезаемого колеса, мм 16
Наибольший диаметр нарезаемых цилиндрических прямозубых колес (0°) з отведенной задньої стойкой (без контрподдержки), мм 1250
Наибольший диаметр нарезаемых цилиндрических прямозубых колес (0°) з задньої стойкой (с контрподдержкой), мм 800
Наибольший диаметр нарезаемых цилиндрических косозубых колес (30°), мм 1000
Наибольший диаметр нарезаемых цилиндрических косозубых колес (45°), мм 600
Наибольший угол наклона нарезаемых зубъев обрабатываемых колес, град ±45
Наибольший диаметр червячных нарезаемых колес, мм
Наибольшая длина венца нарезаемых цилиндрических прямозубых колес (0°), мм
Наибольшая длина венца нарезаемых цилиндрических косозубых колес (30°), мм
Наибольшая длина венца нарезаемых цилиндрических косозубых колес (45°), мм
Наименьшее число нарезаемых зубьев 12
Стол
Диаметр стола, мм 1000
Расстояние между осями стола і фрезы, мм 100..750
Расстояние от плоскости стола і оси фрезы, мм 235..835
Ускоренное перемещение стола, мм/мин 145
Ручное перемещение стола за один оборот лимба, мм 0,4
Суппорт
Наибольшее перемещение фрезерного суппорта, мм 600
Ускоренное перемещение каретки суппорта, мм/мин 330
Наибольший диаметр режущего инструмента (червячной фрезы), мм 225
Наибольшая длина режущего инструмента (червячной фрезы), мм 250
Диаметры фрезерных оправок, мм 32, 40, 50, 60
Ускоренное перемещение шпинделя вдоль оси, мм/мин
Расстояние от оси шпинделя до направляючих суппорта, мм
Поворот суппорта на одно деление шкалы линейки, град
Поворот суппорта на одно деление шкалы нониуса, мин 1`
Конусное отверстие шпинделя Морзе 6
Наибольшее осевое перемещение фрезы, мм 245
Наибольшая величина вертикального переміщення суппорта при угле наклона (30°/ 45°/ 60°), мм 415/ 320/ 220
Механіка верстата
Пределы оборотів фрезы, об/мин 28..270
Число ступеней оборотів фрезы 14
Пределы продольных (вертикальних) подач, мм/об 0,15..40
Пределы радиальных подач, мм/об 0,06..17,2
Пределы тангенциальных подач, мм/об 0,04..19,5
Число ступеней подач б/с
Привід і електрообладнання верстата
Електродвигун головного привода, кВт 8, 10, 12,5
Електродвигун ускоренного ходу, кВт 4
Електродвигун приводу гідронасоса, кВт
Електродвигун насоса охлаждения, кВт
Електродвигун транспортера стружки, кВт 0,55
Суммарная мощность електродвигателей, кВт 20,37
Габаритные розміри і масса верстата
Габаритные розміри верстата (длина х ширина х высота), мм 4020 х 2350 х 2780
Масса верстата з електрообладнанням і охолодженням, кг 17000

    Список литературы по зубообработке

  1. Полуавтоматы зубофрезерные вертикальные универсальные 53А11, 53А11Н. Руководство по експлуатации 53А11.00.000 РЭ, 1992.

  2. Ачеркан Н.С. Металлорежущие верстати, Том 1, 1965.
  3. Гальперин Е.И. Наладка зуборезных верстатів, 1960.
  4. Козлов Д.Н. Зуборезные роботи, 1971.
  5. Кучер А.М., Киватицкий М.М., Покровский А.А., Металлорежущие верстати (Альбом общих видов, кинематических схем і вузлів), 1972.
  6. Лоскутов В.В., Ничков А.Г. Зубообрабатывающие верстати, 1978.
  7. Малахов Я.А. Зубообрабатывающие і резьбофрезерные верстати і их наладка, 1972.
  8. Мильштейн М.З. Нарезание зубчатых колес, 1972.
  9. Овумян Г.Г., Адам А.И. Справочник зубореза, 1983.
  10. Птицин Г.А., Кокичев В.Н. Зуборезные верстати, 1957.
  11. Шавлюга Н.И. Расчет і примеры наладок зубофрезерных і зубодолбежных верстатів, 1978.
  12. Руководящий материал для конструкторов, проектирующих технологическую оснастку. Основні данные і посадочные места металлорежущих верстатів. НИИМАШ, 1968.








Заказать

Кто владеет информацией - тот владеет миром.

Натан Ротшильд