metalinstryment.com
Довідник по металорізальних верстатів та пресовому обладнанні

5М32 Верстат зубофрезерный вертикальний напівавтомат
схеми, опис, характеристики

5М32 Загальний вигляд  зубофрезерного верстата







Відомості про виробника вертикального зубофрезерного верстата напівавтомату 5М32

Производитель вертикального зубофрезерного напівавтомату 5М32 Егорьевский станкостроительный завод Комсомолец, основанный в 1930 году.

Завод за время своего существования выпустил свыше 60 моделей: зубофрезерных, зубодолбежных, зубошлифовальных, зубозакругляющих і других зубообрабатывающих верстатів.





Продукция Егорьевского станкостроительного завода Комсомолец, СЗК


5М32 Верстат зубофрезерный вертикальний напівавтомат. Назначение і область применения

Верстат зубофрезерный 5М32 заменил в производстве устаревшую модель 5Е32 і был заменен в производстве более совершенной моделью - 5К32.

Верстат зубофрезерный вертикальний 5М32 предназначен для фрезерування цилиндрических прямозубых і косозубых зубчатых колес, а также червячных колес методом радиальной подачі в условиях единичного, мелкого і среднесерийного производства.

Принцип роботи і особливості конструкції верстата

Нарезание зубчатых колес производится по способу обкатки фрезы і обрабатываемой заготовки методами «попутного» і «встречного» зубофрезерування з диагональной і обычной подачами.

При зубофрезеровании з диагональной подачей фреза перемещается вдоль нарезаемого зуба і одновременно вдоль собственной оси, что значительно повышает її стойкость.

Конструкція верстата 5М32 передбачає возможность радиального врізання фрезы в заготовку, что сокращает машинное время обробки.

При обработке прямозубых колес в станке 5М32 должны осуществляться наступні руху:

При автоматических циклах, кроме того, совершаются радиальная подача і установочные переміщення стола. При обработке косозубых колес необходимо еще дополнительное вращение стола для обробки зубьев, расположенных по винтовой линии.

При обработке червячных колес методом радиальной подачі в станке совершаются:

Верстат 5М32 работает по напівавтоматическому циклу.

Верстат 5М32 выполнен в соответствии з нормами точності по ГОСТ 659—67.


Конструкція зубофрезерного напівавтомату 5М32

Виды нарезаемых колес на зубофрезерном станке 5М32

Виды нарезаемых колес на зубофрезерном станке 5М32


На верстатах 5М32 можно нарезать:

При методе радиальной подачі заготовка може подаваться на фрезу или наоборот. По методу обкатки можно также фрезеровать шлицевые валы, многогранники, нарезать зубья на цепных звездочках, храповых колесах і т. д. Для всех видов указанных специальных зацеплений применяют червячные фрезы соответствующих профилей.

Нарезание цилиндрических прямо- і косозубых колес, а также червячных колес методом радиальной подачі — ето основні виды работ, к которым верстат наиболее приспособлен.


Методы роботи на зубофрезерном станке 5М32

Методы роботи на зубофрезерном станке 5М32

Нарезание колес може осуществляться как встречным методом, при котором вертикальная подача фрезы происходит сверху вниз (рис. 33, а), так і попутным методом, при котором вертикальная подача фрезы происходит знизу вверх (рис. 33, б). При попутном зубофрезеровании допускается увеличение скорости різання на 20—25% по сравнению со встречным методом при одновременном уменьшении шероховатости поверхности зуба.

На етом станке можно нарезать цилиндрические колеса диаметром до 800 мм (при модуле до 10 мм і вертикальном перемещении фрезы — 360 мм). Наибольший диаметр червячной фрезы, устанавливаемой во фрезерном суппорте, 180 мм при длине 175 мм. Степень точності обробки соответствует 7-му классу по ГОСТ 1643—72.

В конструкції верстата предусмотрены механізмы, обеспечивающие прогрессивные методы зубофрезерування: радиальное врезание инструмента в заготовку, диагональную подачу, встречное і попутное фрезерование, возможность применения фрез большого диаметра, длины і т. п. Повышенные частота обертання фрезы і подача, значительное увеличение мощности головного приводу в сочетании з високою жесткостью верстата допускают работу на повышенных режимах різання і позволяют применять острозаточенные і твердосплавные червячные фрезы.

Вертикальное расположение оси нарезаемого колеса при нерухомою суппортной стойке і подвижном столе обеспечивает необходимую жесткость і устойчивость в работе. Массивная задня стойка, жестко соединенная со столом, обеспечивает надежную работу верстата без дополнительного крепления к суппортной стойке верхней траверсой. Цикл роботи верстата автоматизирован. Все рабочие і вспомогательные руху: быстрый подвод заготовки к инструменту, зубонарезание, быстрый отвод колеса і инструмента в исходное положение і остановка верстата — осуществляются автоматически. Уборка стружки осуществляется шнековым транспортером, расположенным внутри станины. Для зажиму заготовки верстат можно снабжать гідромеханическим пристрійм, монтируемым в столе.





Габарити робочого простору зубофрезерного напівавтомату 5М32

5М32 Верстат зубофрезерный. Габарити робочого простору

Габарити робочого простору верстата 5М32

Габарит робочого простору верстата 5М32. Дивитись у збільшеному масштабі



Посадочные і присоединительные базы напівавтомату 5М32

5М32 Посадочные і присоединительные базы зубофрезерного напівавтомату 5М32

Посадочные і присоединительные базы напівавтомату 5М32

Посадочные і присоединительные базы напівавтомату 5М32. Дивитись у збільшеному масштабі



Загальний вигляд і общее пристрій верстата 5М32

5М32 напівавтомат зубофрезерный. Загальний вигляд

Фото зубофрезерного верстата 5М32

Фото зубофрезерного верстата 5М32. Дивитись у збільшеному масштабі



5М32 напівавтомат зубофрезерный. Загальний вигляд

Фото зубофрезерного верстата 5М32

Фото зубофрезерного верстата 5М32. Дивитись у збільшеному масштабі



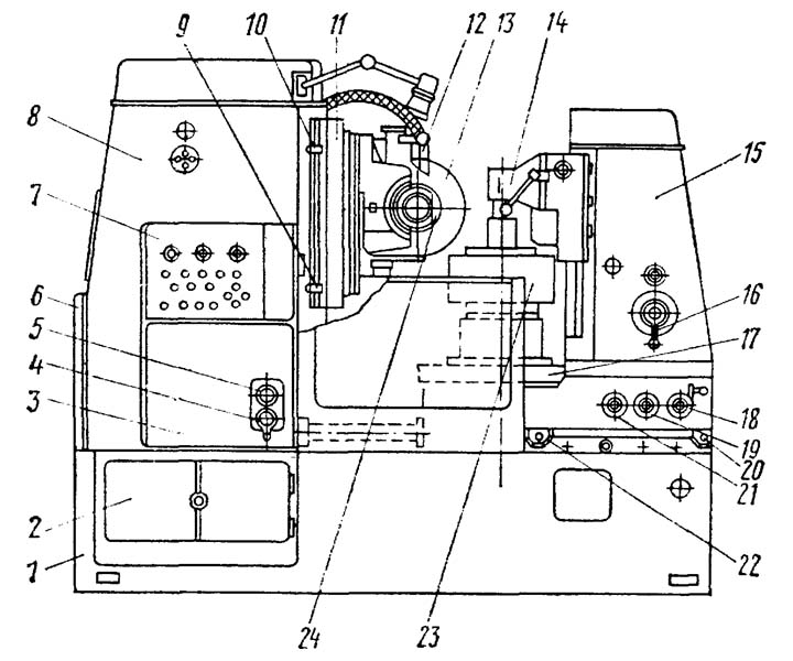
Розташування складових частин і органів керування зубофрезерным верстатом 5М32

Розташування складових частин і органів керування зубофрезерным верстатом 5М32

Розташування складових частин і органів керування верстатом 5М32

Розташування складових частин і органів керування зубофрезерным верстатом 5М32. Дивитись у збільшеному масштабі



Список складових частин зубофрезерного верстата 5М32





Схема кінематична зубофрезерного верстата 5М32

Схема кінематична зубофрезерного верстата 5М32

Кінематична схема зубофрезерного верстата 5М32

1. Схема кінематична зубофрезерного верстата 5М32. Дивитись у збільшеному масштабі

2. Схема кінематична зубофрезерного верстата 5М32. Дивитись у збільшеному масштабі

3. Схема кінематична зубофрезерного верстата 5М32. Дивитись у збільшеному масштабі



Цикл роботи верстата автоматизирован:

Цилиндрические колеса можно обработать методом попутного (вертикальная подача знизу вверх) і встречного (вертикальная подача сверху вниз) фрезерування. При попутном фрезеровании возможно применение более высоких швидкостей різання.

Основні механізмы верстата. На станине А (рис. 141) закреплена суппортная стойка В, по которой перемещается фрезерный супорт Г. Стол Е движется по горизонтальным направляющим станины. Контрподдержка Д поддерживает верхний конец оправки з установленными на ней заготовками. В станине расположена коробка швидкостей Ж, а в суппортной стойке коробка подач Б.

Движения в станке:

Наладка верстата

Наладка верстата на нарезание прямозубых цилиндрических колес. Фрезу устанавливают под углом φ к горизонтали, равным углу подъема витков червячной фрезы (рис. 142, а). Для обробки прямозубого колеса требуется три формообразующих руху: главное движение, рух обкатки і деления, вертикальная подача.

Главное рух (см. рис. 141) осуществляется от електродвигуна M1 (N = 7,5 кВт, n = 1460 об/мин) через зубчатую пару z = 26—63, коробку швидкостей, вал IV, зубчасті передачи z = 29—29, z = 29-29, z = 29—29, z = 20—80. Переключення електромагнітних муфт М1—М6 обеспечивает девять значений частот обертання фрезы.


Схема нарізання зубъев червячной фрезой

Схема нарізання зубъев червячной фрезой





Настановне креслення зубофрезерного верстата 5М32

Настановне креслення зубофрезерного верстата 5М32

Настановне креслення зубофрезерного верстата 5М32

Настановне креслення зубофрезерного верстата. Дивитись у збільшеному масштабі



Технічні характеристики зубофрезерного верстата 5М32

Технічні характеристики зубофрезерного верстата 5М32

Технічні характеристики зубофрезерного верстата 5М32

Технічні характеристики зубофрезерного верстата 5М32. Дивитись у збільшеному масштабі






Налаштування зубофрезерного верстата - напівавтомату 5М32. Відео







    Список литературы по зубообработке

  1. Ачеркан Н.С. Металлорежущие верстати, Том 1, 1965.
  2. Гальперин Е.И. Наладка зуборезных верстатів, 1960.
  3. Козлов Д.Н. Зуборезные роботи, 1971.
  4. Кучер А.М., Киватицкий М.М., Покровский А.А., Металлорежущие верстати (Альбом общих видов, кинематических схем і вузлів), 1972.
  5. Лоскутов В.В., Ничков А.Г. Зубообрабатывающие верстати, 1978.
  6. Малахов Я.А. Зубообрабатывающие і резьбофрезерные верстати і их наладка, 1972.
  7. Мильштейн М.З. Нарезание зубчатых колес, 1972.
  8. Овумян Г.Г., Адам А.И. Справочник зубореза, 1983.
  9. Птицин Г.А., Кокичев В.Н. Зуборезные верстати, 1957.
  10. Шавлюга Н.И. Расчет і примеры наладок зубофрезерных і зубодолбежных верстатів, 1978.
  11. Руководящий материал для конструкторов, проектирующих технологическую оснастку. Основні данные і посадочные места металлорежущих верстатів. НИИМАШ, 1968.









Заказать

Тот, кто правильно указывает на мои ошибки, — мой учитель;
тот, кто правильно отмечает мои верные поступки, — мой друг;
тот, кто мне льстит, — мой враг.