metalinstryment.com
Довідник по металорізальних верстатів та пресовому обладнанні

5В832 Верстат зубошлифовальный універсальний напівавтомат
схеми, опис, характеристики

5В832 Загальний вигляд  зубошлифовального верстата







Відомості про виробника зубошлифовального верстата 5В832

Производитель вертикального зубошлифовального верстата 5В832 Егорьевский станкостроительный завод Комсомолец, основанный в 1930 году.

Завод за время своего существования выпустил свыше 60 моделей: зубофрезерных, зубодолбежных, зубошлифовальных, зубозакругляющих і других зубообрабатывающих верстатів.





Продукция Егорьевского станкостроительного завода Комсомолец


5В832 Верстат зубошлифовальный універсальний напівавтомат з цикловым программным керуванням підвищеної точності. Назначение і область применения

Зубошлифовальный верстат 5В832 предназначен для шлифования прямозубых і косозубых цилиндрических колес абразивным червяком методом обкатки. Область применения верстата — серийное і крупносерийное производство.

Шлифование производится абразивным червяком методом обкатки при непрерывном делении.

Принцип роботи і особливості конструкції верстата

Верстат предназначен для шлифования прямозубых і косозубых цилиндрических колес абразивным червяком методом обкатки. Область применения верстата — серийное і крупносерийное производство.

Инструментом для шлифования служит шлифовальный круг, на поверхности которого выполнена винтовая нарезка. В осевом сечении она имеет форму прямобочной производящей рейки з шагом, равным окружному шагу шлифуемого зубчатого колеса, і углом профиля, равным углу зацепления.

Профилирование абразивного червяка производится на самом станке многониточным накатником или алмазными резцами.

Особенностью верстата является наличие в ланцюги деления електрической связи, осуществляемой двумя специальными синхронно-реактивными електродвигунами. Процесс шлифования происходит по замкнутому напівавтоматическому циклу.





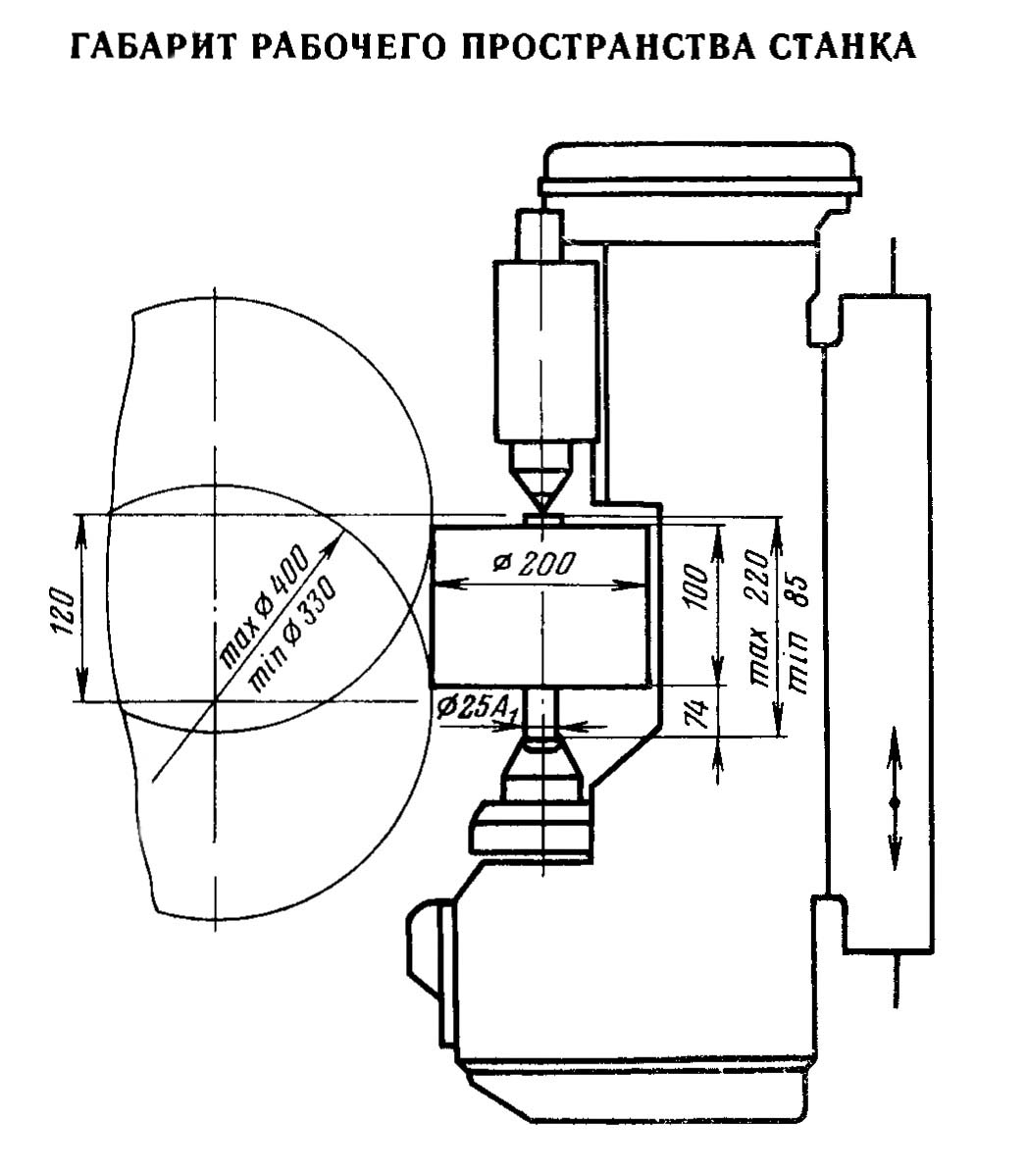
Габарит робочого простору зубошлифовального верстата 5В832

5В832 Габарит робочого простору зубошлифовального верстата

Габарит робочого простору зубошлифовального верстата 5В832

Габарит робочого простору зубошлифовального верстата 5В832. Дивитись у збільшеному масштабі



Посадочные і присоединительные базы зубошлифовального верстата 5В832

Посадочные і присоединительные базы зубошлифовального верстата 5В832



Загальний вигляд зубошлифовального верстата 5В832

Фото вигляд зубошлифовального верстата 5В832

Фото зубошлифовального верстата 5В832


Настановне креслення зубошлифовального верстата 5В832

Настановне креслення зубошлифовального верстата 5В832

Настановне креслення зубошлифовального верстата 5В832. Дивитись у збільшеному масштабі






5В832 Верстат зубошлифовальный універсальний напівавтомат. Відеоролик.




Технічні характеристики зубошлифовального верстата 5В832

Технічні характеристики зубошлифовального верстата 5В832

Технічні характеристики зубошлифовального верстата 5В832

Технічні характеристики зубошлифовального верстата 5В832. Дивитись у збільшеному масштабі



Наименование параметра 5В833 5А841 5М841
Основні параметри верстата
Диаметр устанавливаемого вироби, мм 40..320 30..320 30..320
Наименьший диаметр окружности впадин, мм 30
Модуль устанавливаемого вироби, мм 0,5..4 1,8..8 1,5..8
Число зубъев устанавливаемого вироби, мм 12..200 10..200 10..200
Наибольшая ширина зубчатого прямозубого венца устанавливаемого вироби, мм 150 150 160
Расстояние между центрами суппорта обрабатываемого вироби, мм 215..335 175..400
Расстояние от оси круга до линии центров, мм 195..420
Наибольший угол наклона зубъев, мм ±45 ±45 ±45
Точность обробки, DIN 4..5
Наибольшая масса устанавливаемого вироби, кг 200 200
Бабка шлифовальная (шпиндельна)
Диаметр шлифовального круга (абразивного червяка), мм 330..400 260..350 260..350
Ширина шлифовального круга (абразивного червяка), мм 63; 80 16..32 13..32
Диаметр посадочного отверстия шлифовального круга (абразивного червяка), мм 203 127
Диаметр кінця шлифовального шпинделя, мм 50
Число оборотів шлифовального круга, 1/мин 1920 1920
Вертикальное перемещение шлифовального шпинделя, мм 180
Суппорт вироби
Диаметр стола, мм 280 280
Ход стола, мм 180 30..165
Подача обката, мм/мин 6..800
Конус шпинделя вироби, мм Морзе 3
Конус верхней бабки, мм Морзе 3
Ручное перемещение стойки вдоль оси шлифовального шпинделя, мм 120
Ползун
Длина ходу, мм 20..160
Число двойных ходов ползуна в минуту (бесступенчатое регулювання) 50..280
Ролик опорный
Наибольшая величина зоны перестановки, мм 405
Перемещение опорного ролика на одно деление лимба перестановки, мм 0,002
Перемещение опорного ролика на один оборот лимба перестановки, мм 0,02
Перемещение опорного ролика на один оборот лимба распределения припуска, мм 0,16
Цена деления шкалы нониуса зоны перестановки, мм 0,002
Цена деления шкалы лимба распределения припуска, мм 0,005
Механізм правки
Количество алмазов 3
Диапазон компенсации износа шлифовального круга при правке, мм 0..45
Автоматическая прерывная радиальная подача механізма правки, мм 0,01..2
Привід і електрообладнання верстата
Количество електродвигателей на станке 8 8
Електродвигун головного приводу - шлифовального шпинделя, кВт 4,0 1,1 1,5
Електродвигун насоса гідравлики, кВт 1,1 2,2 2,2
Електродвигун вентилятора масляного теплообменника, кВт 0,27
Електродвигун приводу механізма подачі, кВт 0,18 0,18
Електродвигун насоса охлаждения, кВт 0,15 0,15
Електродвигун магнитного сепаратора, кВт 0,5 0,18 0,18
Електродвигун приводу ползуна (вертикальной подачі), кВт 1,1 1,9
Електродвигун редуктора поворота ползуна, кВт 1,1
Електродвигун пылесоса, кВт 0,27
Електродвигун системы змазки, кВт 0,08; 0,27
Суммарная мощность електродвигателей, кВт 7,08 6,6
Габаритные розміри і масса верстата
Габаритные розміри верстата (длина х ширина х высота), мм 2400 х 2500 х 2040 2850 х 2315 х 2635 2850 х 2315 х 2085
Масса верстата з електрообладнанням і охолодженням, кг 7000 8000 8000

    Список литературы по зубообработке

  1. Зубошлифовальный напівавтомат 5В832. Руководство по обслуговування, 1974

  2. Ачеркан Н.С. Металлорежущие верстати, Том 1, 1965.
  3. Гальперин Е.И. Наладка зуборезных верстатів, 1960.
  4. Козлов Д.Н. Зуборезные роботи, 1971.
  5. Кучер А.М., Киватицкий М.М., Покровский А.А., Металлорежущие верстати (Альбом общих видов, кинематических схем і вузлів), 1972.
  6. Лоскутов В.В., Ничков А.Г. Зубообрабатывающие верстати, 1978.
  7. Малахов Я.А. Зубообрабатывающие і резьбофрезерные верстати і их наладка, 1972.
  8. Мильштейн М.З. Нарезание зубчатых колес, 1972.
  9. Овумян Г.Г., Адам А.И. Справочник зубореза, 1983.
  10. Птицин Г.А., Кокичев В.Н. Зуборезные верстати, 1957.
  11. Шавлюга Н.И. Расчет і примеры наладок зубофрезерных і зубодолбежных верстатів, 1978.
  12. Руководящий материал для конструкторов, проектирующих технологическую оснастку. Основні данные і посадочные места металлорежущих верстатів. НИИМАШ, 1968.









Заказать

Кто владеет информацией - тот владеет миром.

Натан Ротшильд