metalinstryment.com
Довідник по металорізальних верстатів та пресовому обладнанні

587В Верстат зубошлифовальный універсальний напівавтомат
схеми, опис, характеристики

587В Загальний вигляд  зубошлифовального верстата







Відомості про виробника зубошлифовального верстата 587В

Производитель вертикального зубошлифовального верстата 587В Егорьевский станкостроительный завод Комсомолец, основанный в 1930 году.

Завод за время своего существования выпустил свыше 60 моделей: зубофрезерных, зубодолбежных, зубошлифовальных, зубозакругляющих і других зубообрабатывающих верстатів.





Продукция Егорьевского станкостроительного завода Комсомолец


587В Верстат зубошлифовальный універсальний напівавтомат для конических зубчатых колес з прямыми зубьями напівавтомат. Назначение і область применения

Зубошлифовальный верстат 587В предназначен для обробки конических зубчатых колес точных машин і механізмов з прямыми зубьями, диаметром до 125 мм, окружным модулем до 3 мм..

Обработка на напівавтоматі 587В осуществляется методом обката одним абразивным инструментом, имеющим одну цилиндрическую рабочую поверхность, ограниченную двумя рабочими коническими.

Закаленные до високою твердости зубчасті колеса і колеса, изготовленные из труднообрабатываемых материалов, можно шлифовать після предварительного прорізання впадин, а также непосредственно из цельных заготовок.

Колеса з модулем ≤ 1,5 мм економически выгоднее обрабатывать без предварительного прорізання впадин.

Принцип роботи і особливості конструкції верстата

На станке 587В возможно шлифование колес з зубьями различной поздовжньої модификации, в частности з бочкообразными зубьями.

При шлифовании зубчатых колес з нормально понижающимися зубьями (форма I) каждая сторона зубьев шлифуется раздельно. При переходе от одной стороны зуба к другой происходит автоматическая переналадка верстата.

При шлифовании зубчатых колес з постоянной шириной дна впадины (форма II) обе стороны впадины зубьев шлифуются одновременно, при етом производительность верстата возрастает в 2 раза. Скорость vрез обертання абразивного инструмента і время цикла tм регулируются бесступенчато і во время роботи верстата.


Основні технические данные верстата 587В





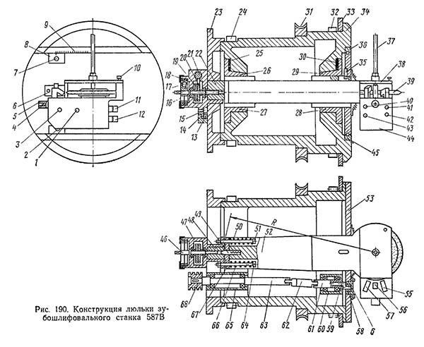
Розташування органів керування зубошлифовальным верстатом 587В

Розташування органів керування зубошлифовальным верстатом

Розташування органів керування зубошлифовальным верстатом

Розташування органів керування зубошлифовальным верстатом. Дивитись у збільшеному масштабі



  1. станина
  2. указатель уровня масла
  3. електродвигатель качания суппорта
  4. електродвигатель подачі
  5. крышка
  6. реверсивный механізм
  7. дверца
  8. гітара обката
  9. индикаторное пристрій
  10. рукоятка регулировки потока охлаждающей жидкости
  11. маховичок ручного переміщення червяка люльки
  12. рукоятка фиксации червяка люльки
  13. группа сигнальных ламп
  14. группа переключателей
  15. группа кнопок
  16. регулятор подачі
  17. регулятор скорости різання
  18. счетчик циклов
  19. пульт керування
  20. передняя бабка
  21. суппорт
  22. лимб величины смещения абразивного инструмента вниз і вверх
  23. лимб величины смещения абразивного инструмента вниз і вверх
  24. шпиндель вироби
  25. крышка
  26. гітара деления
  27. бабка вироби
  28. гідрозажим
  29. ограждение
  30. палец
  31. аппарат правки
  32. линейка і указатель
  33. поворотная плита
  34. валик смещения бабки вироби
  35. винт фиксации бабки вироби
  36. отсчетный микроскоп
  37. винты фиксации поворотной плиты
  38. нониус
  39. стол
  40. ручка боковой дверцы
  41. ручка передньої дверцы
  42. винт механізма смещения стола
  43. шкала і нониус механізма винтового руху
  44. каретка
  45. вал механізма подачі стола на врезание
  46. лимб отсчета величины врізання абразивного инструмента в заготовку
  47. ручка перевода шлифования з одной стороны впадины зуба на другую
  48. ручка керування столом і зажимом заготовки
  49. цикловой барабан
  50. дверца
  51. дверца, за которой находится гідропанель
  52. бак охлаждающей жидкости
  53. бачок приема отработанных продуктов шлифования
  54. електродвигатель насоса охлаждающей жидкости
  55. магнитный сепаратор
  56. електродвигатель гідравлики
  57. холодильная установка
  58. люлька
  59. механізм автоматичного доворота люльки
  60. дверца
  61. електродвигатель головного привода
  62. механізм подачі суппорта
  63. механізм поздовжньої модификация профиля зуба
  64. гітара частоти качаний суппорта
  65. винт подачі суппорта
  66. валик смещения суппорта на среднюю длину конусного расстояния шлифуемого зубчатого колеса
  67. дверца

Точность зубчатых колес, обработанных на станке 587В, зависит от точності і жесткости оправки, режимов різання, а также от параметров шлифуемого колеса. При обработке колес з числом зубьев не менее 12 нормальной ошибкой окружного шага является Δtс= ±2 мкм, а накопленной погрешностью окружного шага Δts =8 мкм, что соответствует степени точності 4...5 по ГОСТ 1758—56 «Передачи зубчасті конические. Допуски» і ГОСТ 9368—60 «Передачи зубчасті конические мелкомодульные. Допуски». Для достижения указанной степени точності при обработке колес з числом зубьев меньше 12 і углом начального конуса σ ≤ 20° рекомендуется работать на пониженных режимах, так как в етих случаях частоти обертання точных червячных передач люльки і бабки вироби при нормальных режимах достигают больших величин, а оправки, на которых крепятся шлифуемые колеса, становятся нежесткими, так как имеют увеличенный вылет от шпинделя вироби.

Верстат снабжен счетчиком циклов, отмечающим число зубьев, обработанных на заготовке. Общее число зубьев, которое необходимо обработать, устанавливается при наладке верстата. Полная шкала счетчика циклов рассчитана на 150 зубьев. Но ето не значит, что на станке можно обработать зубчатое колесо з максимальным числом зубьев 2=150. При обработке большего числа зубьев на счетчике циклов устанавливается половина того числа, какое необходимо шлифовать. Во время роботи верстата після отсчета установленного числа зубьев счетчик приходит в исходное положение, і счет второй половины шлифуемых зубьев продолжается, пока на заготовке не будет прошлифовано необходимое число зубьев. При необходимости обробки колес з простым числом зубьев, превышающим 100 (например, 107, 113), верстат должен быть снабжен сменным зубчатым колесом именно з таким же числом зубьев.

Верстат снабжен механізмом винтового руху врізання, позволяющим работать на. нем простым і комбинированным способом (см. опис зубострогальных верстатів 5П23Б і 5П23БП). Он является напівавтоматом, так что от оператора требуется только снять обработанное колесо, установить заготовку і пустить верстат в ход. По окончании обробки он автоматически останавливается, поетому один оператор може обслуживать несколько верстатів.

Верстат работает з периодическим делением. Цикл обробки одного зуба включает рабочий і холостой ходы. При рабочем ходе изделие і обкатная люлька вращаются согласованно в одну сторону, а стол з изделием подведен в рабочее положение. По окончании обката профиля зуба стол з изделием быстро отводится назад, а люлька начинает на ускоренном холостом ходу вращаться в обратную сторону, причем изделие продолжает вращаться в ту же сторону, что і при рабочем ходе. По окончании обратного ходу люльки цикл повторяется, причем, поскольку во время обратного ходу люльки изделие не изменяет направления обертання, к моменту начала следующего цикла будет пропущено определенное число зубьев, не имеющее общего множителя з числом зубьев заготовки. Таким образом, при повторении цикла столько раз, сколько зубьев у заготовки, произойдет шлифование всех его зубьев.

Зубошлифовальный верстат гідрофицирован. Для поддержания температуры масла в гідросистеме і СОЖ в узких пределах з целью недопущения больших тепловых деформаций і снижения точності обробки, верстат 587В снабжен холодильной установкой. Она автоматически включается при повышении температуры масла сверх заданного предела, охлаждает его і выключается. Диапазон роботи холодильной установки регулируется специальным температурным реле.

Верстат является широкоуниверсальным і може быть использован как в крупносерийном производстве, так і в индивидуальном. Наладка верстата производится высококвалифицированным наладчиком.

Загальний вигляд верстата 587В з органами керування показан на рис. 189.

Нижня часть станины 1 используется как резервуар для гідросистемы, уровень масла в котором определяется по указателю 2. На левой частини станины закреплены два електродвигуна: 3 — приводу качания суппорта і 4 — подачі. На передньої частини, за крышкой 5, расположен реверсивный механізм 6, а за дверцей 51 — гідропанель. Здесь же расположена ручка 48 зажиму заготовки, подвода її в рабочее положение, відведення в загрузочное положение і разжима заготовки. Рядом установлена ручка 47 изменения координат абразивного " инструмента і доворота люльки при переходе шлифования з одной стороны впадины зуба к другой, если обработка зубчатого колеса производится одной конической рабочей поверхностью. Справа, за дверцей 50 расположен цикловой барабан 49, на валу которого, внизу, установлены кулачки счетчика циклов і переключения частоти обертання при рабочем і холостом циклах, а вверху установлены кулачки винтового механізма і відведення заготовки от абразивного инструмента при делении. Задня часть станины 1 занята електродвигуном гідравлики 56 з насосной установкой і холодильной установкой 57.

На левой, верхней, плоской частини станины закреплена передняя бабка 20, за передньої дверцей 7 которой расположена гітара обката 8, а выше її — указатель 9 величины переміщення вдоль своей оси червяка люльки. Передня скошенная часть передньої бабки занята пультом керування 19, где расположены: счетчик циклов 18, ручка 17 з указателем скорости різання, ручка 16 з указателем подачі, группа кнопок 15, группа переключателей 14, группа сигнальных ламп 13, рукоятка 12 зажиму і разжима механізма переміщення червяка люльки, маховичок 11 ручного переміщення червяка люльки (доворота люльки) і рукоятка 10 регулировки потока СОЖ. За пультом керування расположен електродвигатель 61 головного привода. С левой стороны передньої бабки, за дверцей 67, расположены сменные шкивы 64 гітари качаний суппорта. Сзади, за дверцей 60, в нише, расположена гідроаппаратура і механізм 59 автоматичного доворота люльки.

В расточке передньої бабки на опорах качения, з возможностью поворота вокруг своей оси, смонтирована люлька 58. Внутри люльки находится супорт 21, который може быть смещен при наладках от оси люльки на величину среднего конусного расстояния шлифуемого колеса. В передньої частини суппорта смонтирован з возможностью обертання вокруг своей оси инструментальный шпиндель, несущий шлифовальный круг И. Величина ходу круга (изменение координат) вдоль оси устанавливается кулачками, а отсчет величины переміщення производится вниз по лимбу 22, вверх по лимбу 23. Здесь же на передньої частини суппорта размещен аппарат правки 31 шлифовального круга. На заднем торце люльки 58, за дверцей 67, размещены: механізм 62 подачі суппорта, механізм 63 поздовжньої модификации профиля зуба шлифуемого колеса, винт 65 з четырехгранным концом под ключ ручной подачі і возврата суппорта в исходное положение, валик 66 зубчатого колеса з отверстием под ключ реечной передачи переміщення суппорта на среднюю длину конусного расстояния.

Справа от передньої бабки установлена бабка вироби 27, з возможностью наладочного переміщення по направляющим поворотной плиты 33 вдоль оси шпинделя 24 вироби, смонтированного внутри бабки на опорах качения. Шпиндель 24 вироби може поворачиваться вокруг своей оси. Перемещение бабки вироби осуществляется при помощи реечной передачи, валик зубчатого колеса которой 34 з шестигранным отверстием под ключ выведен наружу, а фиксация в нужном положении — гвинтами 35. Отсчет величины перемещений осуществляется по линейке з указателем 32 і отсчетному микроскопу 36. Справа от бабки вироби находится гідрозажим 28, предназначенный для зажиму заготовки. Сверху, под крышкой 25, размещены сменные зубчасті колеса 26 гітари деления.

Поворотная плита 33 смонтирована на круговых направляючих стола 39. Она може при наладках верстата поворачиваться вокруг оси пальца 30, являющейся центром верстата, на угол σf конуса впадин шлифуемого колеса. Отсчет угла поворота производится по нониусу 38 і круговой шкале, нанесенной на верхней плоскости стола 39. Фиксация поворотной плиты осуществляется гвинтами 37.

Стол 39 установлен на направляючих станины 1 і може перемещаться по ним параллельно оси люльки 58. В столе смонтирован механізм подачі стола на врезание, конец вала 45 которого з внутренним шестигранником под ключ выведен наружу верстата. Здесь же, около кінця вала 45, на столе, размещены круговые шкалы 46 отсчета величины врізання круга И в заготовку, закрепленную на шпинделе вироби 24. Винт 42 з шестигранным отверстием под ключ, резьбовой конец которого соединен з механізмом подачі стола на врезание, предназначен для смещения стола вперед или назад от исходного номинального положения. Шкала з нониусом отсчета величины смещения расположена сзади стола (на рис. не показано). Ниже гвинта 42 смонтирована каретка 44 механізма винтового руху обрабатываемого зубчатого колеса, шлифуемого комбинированным способом. Каретка може смещаться перпендикулярно оси люльки 58 при наладке верстата, а величина переміщення отмечаться шкалой і нониусом 43.

Вся зона, расположенная справа от передньої бабки 20 і выше станины 1 закрыта прозрачным ограждением 29. Оно имеет: выдвигающуюся вверх, за ручку 41, переднюю прозрачную дверцу, выдвигающуюся вправо, за ручку 40, боковую прозрачную дверцу і сзади снимающуюся дверцу. Таким образом, во время налагодження верстата возможен свободный доступ ко всем механізмам, находящимся внутри ограждения.

Сзади станины 1 устанавливается бак 52 для СОЖ, на котором закреплен магнитный сепаратор 55 і насос подачі СОЖ з електродвигуном 54. Здесь же установлен бачок 53 приема смеси отработанной абразивной і металлической пыли, смоченной охлаждающей жидкостью.

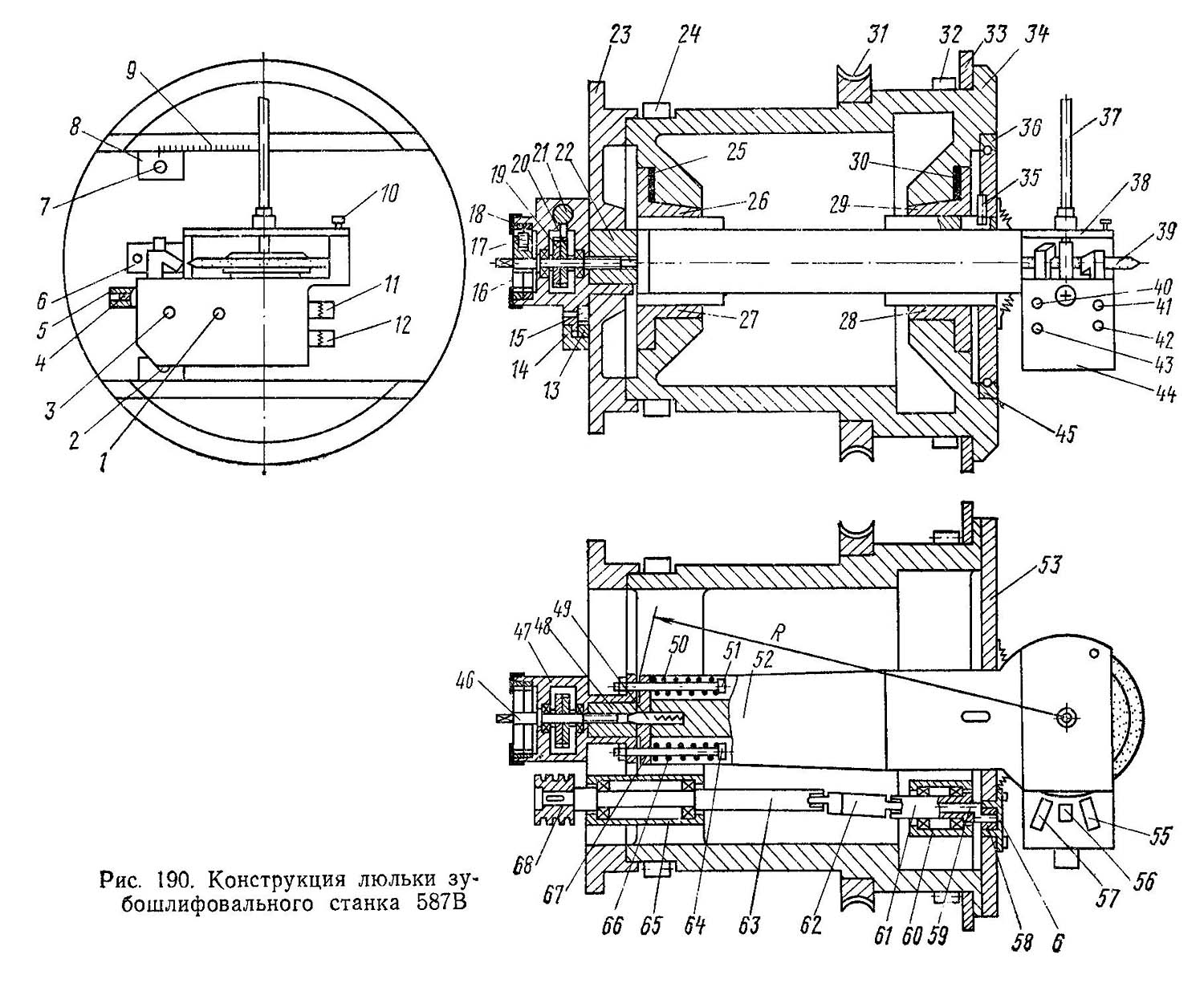
Обкатная люлька зубошлифовального верстата показана на рис. 190. Она состоит из барабана 34, монтируемого в расточку бабки вироби на роликах 32. На нем закреплен диск 33, являющийся опорным подшипником ковзання і удерживающим барабан от осевых перемещений, червячное колесо 31 і тормозной диск 23. В передньої і задньої стенках барабана 34 имеются прямоугольного сечения отверстия. На нижних плоскостях отверстий закреплены прямоугольные направляющие 28 і 27. На верхних плоскостях отверстий также закреплены направляющие 29 і 26, имеющие по одной скошенной плоскости. Эти направляющие могут перемещаться за счет изменения толщины компенсационных планок 30 і 25, увеличивая или уменьшая тем самым прямоугольные отверстия по высоте. В прямоугольное отверстие помещен супорт 52, имеющий возможность скользить между направляющими 28, 27, 29 і 26.

Конструкція люльки зубошлифовального верстата 587В

Конструкція люльки зубошлифовального верстата 587В

Конструкція люльки зубошлифовального верстата 587В. Дивитись у збільшеному масштабі



В передньої частини суппорта 52 смонтирован вращающийся вокруг своей оси инструментальный шпиндель, который несет шлифовальный круг 39. Инструментальный шпиндель размещен в гильзе (на рис. не показано), которая може перемещаться вдоль своей оси, а следовательно, могут перемещаться вместе з ней і шпиндель з кругом. Величина перемещений круга устанавливается кулачками, валики которых 11 і 12 з лимбами выведены наружу суппорта. Вращение шпинделя осуществляется через гибкий вал 37, рубашка (верхняя оболочка) которого крепится к крышке 38. Здесь же, в передньої частини суппорта, размещен аппарат правки 44 круга, который може перемещаться вдоль оси обертання круга. Аппарат правки имеет три рычага 55, 56 і 57, несущие алмазные инструменты. Рычаги 55 і 57 з алмазными инструментами предназначены для восстановления режущих способностей конических поверхностей шлифовального круга, а рычаг 56 — цилиндрической (периферийной) поверхности.

На задньої частини суппорта 52 закреплен башмак 67, имеющий опорную поверхность з радиусом R, центр которой совпадает з осью обертання круга 39. Башмак 67 опирается на колодку 48, смонтированную в корпусе 47 механізма подачі суппорта, которая може выдвигаться в направлении шлифовального круга. Суппорт притянут к колодке 48 пружинами 50 і 66 сжатия через винты 51 і 64. Для того чтобы башмак 67 не скользил по колодке 48, в післядней имеется впадина зуба, в которую входит зуб 49, размещенный в отверстии башмака і поджимаемый пружиной. Вырух колодки 48 осуществляется винтом 46, приводимым во вращение через храповое колесо 20 собачкой плунжера 21 гідроцилиндра. Второй диск 19, закрепленный вместе з храповым колесом 20 на винте 46, служит для фиксация величин поворота гвинта і удержания его от поворота в момент возобертання плунжера 21 з собачкой в исходное положение. Возвращение колодки 48, а следовательно, і суппорта 52 в исходное положение осуществляется вращением гвинта 46 вручную, имеющим квадратный конец под ключ. Колодка 48 — сменная. К верстату прилагаются четыре колодки. Одна из них имеет опорный плоский торец, на который опирается башмак 67 суппорта 52, і предназначена для шлифования зубчатых колес з прямой линией зубьев. Остальные три колодки имеют опорный торец з разной величиной радиуса і предназначены для шлифования конических зубчатых колес з бочкообразной модификацией по длине зуба. Величина подачі колодки 48 вперед отмечается лимбом 16, деления которого нанесены на прозрачном стекле і торце зубчатого колеса 18, зацепляющегося з зубчатым колесом 17, который через вилку связан з винтом 46.

На тормозном диске 23 закреплена рейка 13, сцепляющаяся з зубчатым колесом 15, валик которой имеет четырехгранный конец под ключ. Зубчатое колесо 15 размещено в расточке корпуса 47 механізма подачі і предназначено для наладочного переміщення післяднего поперек оси барабана 34 на величину среднего конусного расстояния шлифуемого зубчатого колеса. Величина етого смещения отмечается по шкале, нанесенной на прижиме 14.

Передня часть суппорта 52 охватывается рамой 53, смонтированной через опори качения на направляючих 36 і 45, которые закреплены на переднем торце барабана 34. Связь суппорта 52 і рамы 53 осуществляется через планку 35, закрепленную на раме, палец которой входит в паз суппорта. На раме закреплена колодка 6, в пазу которой находится камень 58. В отверстие камня входит конец сменного ексцентрика 59, второй конец которого, имеющий шпонку, входит в отверстие вала 61 приводу качаний суппорта. Вал 61 смонтирован на опорах качения в передвижном корпусе 60 і связан промежуточным валом 62 через шарниры з валом 63, опори которого заключены в нерухомому корпусе 65, закрепленном на тормозном диске 23. На кінці вала 63 закреплен сменный шкив 68. Рама 53 вместе з суппортом 5.2 і передвижным корпусом 60 имеет возможность смещаться на величину среднего конусного расстояния шлифуемых зубчатых колес поперек оси барабана 34 і фиксироваться в нужном положении гвинтами 7 і 2. Величина наладочного смещения отмечается шкалой 9, нанесенной на верхней направляющей 36, і указателем 8, связанным з передвижным корпусом 60.

При вращении шкива 68 через валы 63, 62, і 61 рух передається сменному ексцентрику 59, который, преобразуя вращательное рух в возвратно-поступательное, через камень 58 і колодку 6 передает его раме 53. Рама 53 через палец планки 35 передает возвратно-поступательное рух суппорту 52. Последний, качаясь между направляющими 28, 27, 29, 26, радиусной поверхностью башмака 67, перекатывается по опорной поверхности колодки 48. При етом ось круга 39 движется по прямой линии, если опорная поверхность сменной колодки 48 прямая, а следовательно, і вращающиеся активные поверхности круга двигаются также по прямой линии. Если же опорная поверхность сменной колодки 48 радиусная, то рух активных поверхностей круга будет совершаться по радиусной траектории. В первом случае будут шлифоваться зубья з прямой линией, а во втором — з бочкообразной модификацией.

Рассмотренная конструкция обкатной люльки является очень жесткой і позволяет обрабатывать зубчасті колеса без предварительной прорезки впадин из цельных заготовок.

Для снятия шлифовального круга 39 при его полном износе і установці нового крышка 38 снимается і вновь устанавливается на место, причем фиксация її осуществляется накидным винтом-барашком 10.

При удалении изношенного слоя абразива з режущих поверхностей круга 39 внутренняя часть аппарата правки 44, несущая рычаги 55, 56, 57, подается автоматически, перед каждой правкой, вперед на шлифовальный круг. Величину общего проруху внутренней частини аппарата правки можно отмечать по продвижению хвостовика 4 указанной внутренней частини но отношению хвостовика 5 наружного корпуса. В исходное положение внутренняя часть аппарата правки возвращается вращением специальным ключом червяка 1, установленным на его внутренний шестигранник.

Ключом, установленным на внутренний шестигранник вала-шестерни 3, осуществляют заправку круга 39 вручную, например, при наладке верстата.

Винты 41, 42, 40 і 43 со шлицевыми прорезями служат для регулировки угла заправки конических поверхностей шлифовального круга 39. Причем 41 і 41 нижней конической поверхности, а 40 і 43 — верхней.

Все отверстия — под хвостовик 4 внутреннего корпуса, червяк 1, вал-шестерню 3, винты 40, 41, 42 і 43 — закрываются специальными капроновыми колпачками для защиты от попадания внутрь аппарата правки абразивной пыли.


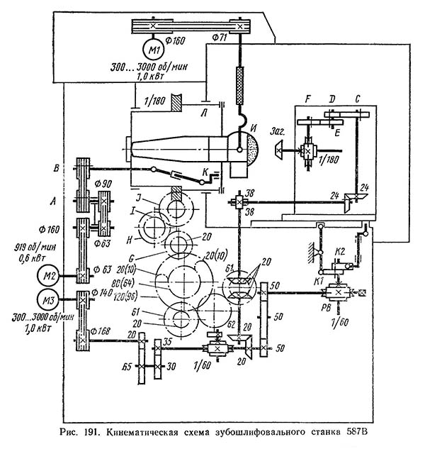
Кінематична схема зубошлифовального верстата

Кінематична схема зубошлифовального верстата (рис. 191) содержит несколько кинематических ланцюгів.

Кінематична схема зубошлифовального верстата 587В

Кінематична схема зубошлифовального верстата 587В

Кінематична схема зубошлифовального верстата 587В. Дивитись у збільшеному масштабі



Ланцюг головного руху

Вращение шлифовального круга осуществляют електродвигатели Ml постоянного тока типа ПБС-22, і передається через клиноременную передачу 160/71, через гибкий вал на шпиндель инструмента И. Частота обертання шлифовального круга пи (об/мин) определяется по формуле

Скорость різання vрез = 7...70 м/с.

Для надежной і устойчивой роботи верстата граничные значения частоти обертання електродвигуна Ml несколько сокращены, поетому скорость різання ограничена пределами vрез= 10...60 м/с.

Регулювання скорости різання производится регулятором, установленным на пульті керування верстата, і оценивается прибором, градуированным непосредственно в м/с, что позволяет выбирать в любое время роботи верстата наиболее рациональный режим в зависимости от технологии обробки.

Привід качания суппорта

Рух осуществляется от електродвигуна М2 і передається через клиноременные передачи 63/160, 63/90 і А/В (сменные шкивы А, В гітари качания суппорта) на сменный кривошип К для преобразования вращательного руху в поступательное. Кривошип К имеет различную величину ексцентриситета шипа і устанавливается в зависимости от необходимой длины ходу инструмента, которая в свою очередь зависит от ширины b зубчатого венца заготовки.

Формула налаштування сменных шкивов частоти качания nд (дв. ход/мин) инструмента.

nд = 253 А/В

Гітара качания суппорта позволяет устанавливать сменные шкивы А і В диаметром 63, 71, 80, 80, 90, 100 мм і получать п'ять ступеней частот качания инструмента (160, 200, 253, 320, 400 дв. ход/мин).

Ланцюг подачі

Вал РВ циклового барабана, несущий кулачки К1 і К2. получает рух от електродвигуна М3 постоянного тока типа ПБС-22 через клиноременную передачу 140/168, зубчасті колеса 20—65—30—35—50—50—50 і червячную передачу 1/60. Кулачок К1 при работе способом обката посредством рычага подводит стол, поворотную плиту, бабку вироби з заготовкой в рабочее положение і отводит его на время обратного холостого ходу для производства деления. Другой кулачок К2 работает только при налаштуванні механізма винтового руху і работе комбинированным способом. При етом во время робочого ходу верстата кулачок К2 посредством рычага медленно перемешает стол, а следовательно, і заготовку на вращающийся со скоростью vрез різання инструмент. Происходят обкат і медленное врезание инструмента в заготовку до определенного момента. Затем подача стола вперед прекращается, і происходит чистый обкат на угле качания люльки, достаточном для формирования боковых поверхностей зубьев. На время обратного ходу стол отводится кулачком К2 так же, как і кулачком K1.

nе/273 = nрв

При холостом ходе распределительный вал РВ поворачивается на 150° (0,42 оборота). Время tкол (с/зуб), затрачиваемое при етом, равно

tхол = (60 · 42)/ nрв

Подставив (166) в (167), получим

tхол = 6880/ nе

Частота обертання електродвигуна МЗ при холостом ходе постоянна і равна пе=3000 об/мин, следовательно tхол = 2,3 с/зуб.

Оставшуюся 0,58 часть оборота (210°) вал РВ делает за время робочого ходу верстата.

Ланцюг деления

Рух ланцюги деления снимается з распределительного вала РВ і через червячную передачу 60/1, зубчасті колеса 50—50—50—20—20—20—20—20—38—38—24—24, сменные зубчасті колеса С, D, E, F гітари деления і делительную червячную передачу з 1/180 передається на заготовку. Рівняння кинематического баланса запишется из условия, что заготовка, имеющая z зубьев, повернется на целое число зубьев zi за цикл тогда, когда она при полном обороте распределительного вала РВ повернется на zi/z оборота.

В рассматриваемом зубошлифовальном станке, как і в зубострогальных верстатах 5П23Б і 5П23БП, делительного механізма нет. Его роль выполняет реверсивный механізм, который меняет направление обертання люльки, в то время как распределительный вал РВ вращается всегда в одну сторону. Во время холостого ходу люлька, возвращаясь назад в исходное положение, пропускает zi зубьев на заготовке. Это число zi зубьев — простое і не имеет общих множителей з числом зубьев z шлифуемого колеса. Следовательно, при каждом новом цикле будет обрабатываться новая впадина. При повторении же циклов столько раз, сколько зубьев на заготовке, все они будут обработаны.

Ланцюг обката

Ланцюг обката обеспечивает синхронное вращение обрабатываемого колеса, имеющего z зубьев, і воображаемого производящего колеса, имеющего zС зубьев, связанного з люлькой, при рабочем ходе. Рух снимается з заготовки (заг.) і через делительную червячную передачу 180/1, сменные зубчасті колеса F, E, D, С гітари деления, зубчасті колеса 24—24—38—38—20—20—20—61 —62—61— 20—120—20, сменные зубчасті колеса G, Н, I, J гітари обката і червячную передачу 1/180 передається люльке Л. Рівняння кинематического баланса ланцюги обката запишется из условия, что при одном обороте шлифуемого зубчатого колеса, имеющего z зубьев, люлька должна повернуться на zi/zc оборота,

Ланцюг распределительного вала

Число пропускаемых зубьев.


Режущий инструмент

На зубошлифовальном станке 587В применяется дисковый шлифовальный круг наружным диаметром 200 мм з отверстием под планшайбу диаметром 76 мм, имеющий две конические поверхности, расположенные под углом а исходного контура производящего колеса, толщиной 10 мм. Такие шлифовальные круги изготавливаются Ленинградским опытным абразивным заводом (ЛОАЗ) согласно отраслевой нормали, обозначаются 2П200 х 10-76 (рис. 192). Для роботи на станке рекомендуется применять шлифовальные круги, изготавливаемые из белого електрокорунда (ЭБ) і зеленого карбида кремния (КЗ).

Белый електрокорунд — менее твердый материал, чем зеленый карбид кремния, но более прочный, поетому его можно применять для шлифования конических зубчатых колес из материалов з высоким пределом прочности, например из всевозможных сортов сталей, ковкого чугуна, наиболее вязких марок легированной бронзы, а также при обработке конических колес, если особо нежелательно получение прижогов.

Зеленый карбид кремния применяется при шлифовании зубчатых колес, изготавливаемых из материалов з большой твердостью, а также из весьма вязких материалов, обладающих низким пределом прочности. К таким материалам относятся твердые спла-


Последовательность налагодження і подготовка верстата

Шлифование конических зубчатых колес — процесс окончательный. После зубошлифования колеса не подвергаются никакой другой обработке. К етому часу зубчасті колеса проходят весь технологический маршрут, включая і термическую обработку. Поетому ето очень ответственная операция, і к ней необходимо относиться особенно внимательно.

Точность изделий зависит от многих факторов: от точності верстата, инструмента, оснастки, заготовок, от режущих свойств инструмента, обрабатываемости материала заготовки, режимов обробки, перепадов температуры окружающей среды, вибросвойств фундамента і многого другого. Требования к коническим колесам, подвергающимся зубошлифованию, особенно жесткие, так как они должны работать в точных машинах или приборах.

Кроме точності, к шлифовальным колесам предъявляются повышенные требования в отношении качества поверхностей зубьев, однородности их поверхностей з глубинными слоями металла заготовки, ненарушения их структуры, твердости. Шлифовочные прижоги і возникшие при етом остаточные внутренние напряжения, а вместе з ними і микротрещины снижают точностные показатели і могут привести к неисправимому браку.

Этапы налагодження зубошлифовальных верстатів:

Наладка вузлів верстата включает в себя установку в исходное положение аппарата правки і суппорта; снятие и. установку шлифовального круга; выверку установки алмазного инструмента; наладку механізма изменения координат шлифовального круга; наладку механізма доворота люльки; наладку механізма профильной модификации; установку места дії і длины ходу шлифовального круга; наладку гітари качаний суппорта; установку исходного угла люльки; наладку гітари обката; осевую установку бабки вироби; угловую установку бабки вироби; установку смещения стола; наладку механізма комбинированного способа обробки зубчатых колес і механізма відведення стола при делении; наладку гітари деления; проверку правильности налагодження гітари деления і обката; установку оправок; установку заготовок і налаштування механізма зажима; налаштування счетчика циклов; разделение припуска; установку режимов подачі і скорости різання; установку радиального врізання инструмента в заготовку.

Подготовка верстата к работе заключается в проверке готовности к работе некоторых систем і механізмов. При етом необходимо осмотреть електропроводку, питающую верстат електроенергией, плотность подключения штепсельных разъемов і подсоединения наконечников проводников к зажимам заземляющей сети. Ланцюг заземления должна быть подключена к винту «Заземление», расположенному под електродвигуном 4 (см. рис.. 189) подачі, а также к гвинтам бака 52 охлаждающей жидкости і шкафа електроустаткування (на рис. не показан).

После осмотра електропроводки і заземления необходимо убедиться в наличии масла в баках гідравлики і охлаждающей жидкости. Наличие масла в баках гідравлики і уровень заливки проверяют визуально по указателю 2 уровня масла. Если обнаружится, что уровень недостаточен, то масло доливается через фильтрующую сетку, находящуюся за дверцей 51. Бак гідравлики вмещает в себя 100 л масла «Турбинное-22». Наличие і уровень масла бака 52 охлаждающей жидкости проверяют также визуально, подняв его крышку, за которой находится указатель «Уровень масла». Бак 52 вмещает 60 л масла той же марки, что і бак гідравлики.

Закончив осмотр резервуаров масла, осматривают бачок 53 приема отработанных продуктов шлифования і при необходимости очищают его, вынув внутреннюю сетчатую часть, в которой накапливается смесь металлической і абразивной пыли, смоченной маслом. Из наружной частини бачка отработанное масло сливается в специальные сборники отработанного масла і идет на переработку. Ни в коем случае отработанное масло нельзя сливать в канализационную сеть — ето строжайше запрещено.

Подняв крышку магнитного сепаратора 55, осматривают приемник, который расположен у стенки, обращенной к верстату, і очищают его от накопившихся отработанных продуктов шлифования.

Продолжая осмотр верстата, проверяют состояние прорезиненных шлангов, подводящих масло к механізму гідрозажиму 28, і шлангов, подводящих масло к механізму автоматичного доворота люльки 59, расположенному за дверцей 60, а также к люльке 58 і аппарату правки абразивного инструмента 31, расположенных за дверцей 67. Наружная оболочка шлангов должна быть без повреждений, а сами они должны лежать ровно, без резких перегибов і перекосов.

Затем открывают дверцу 50, і специальным ключом, надетым на конец вала циклового барабана 49, проворачивают кинематические ланцюги. При повороте не должно быть слышно стуков, вращение должно происходить без заеданий. Проворачивание заканчивают тогда, когда табличка «Центр обката», закрепленная на червячном колесе барабана, не повернется на один оборот.

Закончив внешний осмотр і проверку свободного обертання кінематичної ланцюги, на верстат подают напряжение включением автоматичного выключателя, установленного на правой боковой стенке шкафа електроустаткування. При етом на пульті 19 керування загорается крайняя левая белая лампочка 13, сигнализирующая о том, что електрообладнання под напряжением. Нажатием кнопки 15 «Пуск гідравлики» на пульті 19 керування, включают електродвигатель 56 насоса гідравлики. Насос начинает работать і заполняет маслом всю гідросистему верстата. После етого необходимо проверить плотность з'єднань труб между собой і подключение их к гідропристроям і аппаратам. Места з'єднань должны быть сухими, течь не допускается. При работе насоса могут возникнуть повышенный шум і толчки, сопровождающиеся колебаниями давления в гідросистеме, величину которого можно наблюдать по манометру, находящемуся за дверцей 50. На поверхности масла, которое видно через дверцу 50, появляется пена. Усунення подобного явления осуществляется затягиванием накидной гайки всасывающей трубы насоса гідравлики.

Во время роботи насоса прочищается главный пластинчатый фильтр, находящийся за дверцей 50, поворотом его ручки на несколько оборотів. Сразу же проверяется уровень давления масла в гідросистеме по манометру, расположенному рядом з фильтром. Давление должно быть в пределах 20...22 кг/см2. Для достижения заданного давления его регулируют вращением гвинта напорного золотника типа ПГ54-22, на котором расположен указанный манометр.

После установления нормального давления в гідросети приступают к проверке системы змазки. Она — автоматическая; начинает работать при включении насоса гідравлики. Автоматичною смазкой не охвачены только ролики і ось поворотного рычага циклового барабана 49, которые смазываются один раз в месяц пресс-масленкой.

Всю систему регулируют і проверяют периодически, так как вследствие облитерации (заращивания) узкие проходные сечения в системе сужаются, і масло перестает подаваться к намеченным точкам. Масло, попадая в систему змазки, проходит один основной пластинчатый фильтр, о котором упоминалось выше. Для змазки особо ответственных і точных деталей масло проходит еще один фильтр тонкой очистки, установленный внутри бабки вироби 27. Этот фильтр один раз в три месяца вынимают, разбирают і промывают в керосиновых ваннах.

Проверке і регулировке подвергаются четыре маслораспределителя. Один из них расположен за дверцей 60 передньої бабка 20, второй — на реверсивном механізме б за крышкой 5, третий — на цикловом барабане 49 за дверцей 50 і четвертый — на бабке вироби 27 за пластинчатой навесной крышкой, расположенной на передньої стенке (на рис. не показано). Количество масла, подающегося к точкам змазки, определяется через прозрачные глазки і регулируется гвинтами. Смазываемые точки в механізмах і масло-распределителях определяются схемами, нанесенными в виде таблиц, которые закреплены на дверцах і крышках з внутренней стороны.

Затем проверяют работу гідроцилиндров і других елементів гідропривода, а также удаляют воздух, случайно попавший в них. Это може произойти, например, при разборке гідроаппаратов или демонтаже труб. Для етого поворотом рукоятки 48 против часовий стрелки из среднего положения і обратно передвигают стол 39 вперед, к инструменту, і назад в загрузочное положение. Стол должен перемещаться плавно, без рывков і в кінці ходу несколько снижать скорость руху, становясь на упоры без повышенных стуков. При необходимости скорость переміщення стола регулируют поворотом ручки дросселя типа ПГ55-22, расположенного на гідропанелі за дверцей 51. Поворотом етой же рукоятки по часовий стрелке до упора і обратно проверяют работу гідрозажиму 28. При етом тяга, соединенная з подвижной частью гідрозажиму і просматриваемая через отверстие шпинделя вироби 24, должна двигаться вначале по направлению к инструменту, а затем обратно, а не наоборот.

Перед проверкой роботи гідроцилиндров доворота люльки 58 і переміщення инструмента вдоль его оси обертання рукоятку 12 фиксации червяка люльки поворачивают против часовий стрелки до упора. Затем, нажав кнопку на кінці рукоятки 47, перемещают післяднюю от себя, по направлению к верстату. При етом люлька 58 должна повернуться против часовий стрелки (при наблюдении со стороны инструмента), а инструмент должен переместиться вниз. При повороте рукоятки 47 на себя, минуя среднее положение, люлька і абразивный инструмент должны вернуться в первоначальное положение. В ето же время, открыв дверцу 7, проверяют работу индикаторного пристроя 9. Стрелка индикатора должна перемещаться плавно, без заеданий.

Перед проверкой роботи гідроцилиндров аппарата правки 31 і механізма 62 подачі суппорта 21 необходимо удостовериться, что давление масла в гідросистеме аппарата не превышает 10... 12 кг/см2. Для етого открывают дверцу 60 і по манометру, установленному на напорном золотнике типа ПГ55-22, проверяют давление; при необходимости его регулируют. Переключатель режимов в группе 14 переключателей на пульті керування 19 должен стоять в положении «Наладка» (символ — кисть руки), нажимается кнопка «Пуск» аппарата правки в группе кнопок 15. При етом будет прослушиваться характерный щелчок переключения распределителя з електрическим керуванням. В ето же время происходят быстрый поворот гвинта 65 подачі суппорта з указателем по часовий стрелке на величину, отмечаемую по круговой шкале на 0,05 мм, і медленное рух рычагов аппарата правки по направлению к инструменту. После аналогичного щелчка распределителя рычаги также медленно возвращаются назад в исходное положение. Скорость руху рычагов рекомендуется устанавливать в пределах 15...20 с/ход. При необходимости її регулируют поворотом рукоятки дросселя, находящегося за дверцей 60. В кінці руху рычагов происходит подача аппарата правки по направлению инструмента на величину 0,05 мм. Проверку величины подачі аппарата правки осуществляют индикатором, стойка которого закрепляется на суппорте 21, а мерительный штифт упирается в подвижную часть хвостовика, находящегося на передньої частини корпуса аппарата.

Система охлаждения проверяется установкой переключателей (группы 14 пульта 19) в положение «Охлаждение» і «Наладка» (символ — водопроводный кран), а также нажатием на кнопку «Пуск» инструмента. При етом включаются одновременно електродвигатели обертання инструмента 61, насоса охлаждающей жидкости 54 і вращение магнитного сепаратора 55. Поток охлаждающего масла должен быть направлен на конические поверхности шлифовального круга в зоне різання і истекать из сопл ровной і сильной струей. В случае необходимости скорость истечения масла из сопл регулируется рукояткой 10, расположенной на пульті керування 19. Проверка готовности верстата к работе заканчивается включением местного освещения при помощи тумблера, расположенного в группе переключателей 14 пульта 19.


Наладка вузлів верстата

Перед наладкой верстата производится расчет наладочных установок, результаты которого сводят в карту налагодження. При расчете необходимо пользоваться пятизначными таблицами тригонометрических функций. Линейные величины (мм) следует определять з точностью до третьего знака після запятой, а угловые — з точностью до одной минуты.

Установка в исходное положение аппарата правки і суппорта. Во время роботи верстата, по мере затупления абразивных зерен на цилиндрической і конической поверхности шлифовального круга, режущие способности етих поверхностей восстанавливаются алмазным инструментом аппарата правки. При етом внутренняя часть аппарата 44 (см. рис. 190) при каждой заправке круга подается вперед автоматически на шлифовальный круг 39. После каждой заправки шлифовального круга его диаметр уменьшается на 0,05 мм. Для того, чтобы его режущие поверхности оставались в том же положении по отношению обрабатываемой впадины зубчатого колеса, супорт 52 вместе з кругом 39 выдвигается автоматически в сторону шлифовального круга на величину уменьшения его диаметра, т. е. на 0,05 мм. Таким образом, шлифовальный круг по мере его заправки уменьшается до критической величины, когда им работать уже невозможно. Верстат при таком шлифовальном круге останавливается і вновь пустить его невозможно. В ето время на пульті керування верстата горит сигнальная лампа, указывающая на то, что шлифовальный круг надо менять.

Для смены изношенного і установки нового круга аппарат правки 44 устанавливают в исходное положение.

Для етого, предварительно вынув пробку, в шестигранное отверстие червяка 1 вставляют спеціальний ключ і вращают против часовий стрелки. Вращение прекращают в то время, когда торец хвостовика 4 внутренней частини аппарата правки не совпадет з торцом хвостовика 5 наружного корпуса.

Контроль исходного положения аппарата правки осуществляют прибором 3 (рис. 193). В исходном положении его показания по шкале 2 і лимбу 1 должны быть равны нулю.

Возврат суппорта 52 (см. рис. 190) в исходное положение осуществляют вращением гвинта 46 против часовий стрелки специальным ключом, одетым на четырехгранный конец его. Вращение гвинта сопровождается щелчками фиксатора. При етом колодка 48 будет втягиваться винтом внутрь корпуса 47, а супорт 52, продолжая контактировать з ней за счет натяжения пружин 50, 66, будет продвигаться назад в исходное положение. Исходное положение определяется указателями, нанесенными на кольце, притягивающем лимб 16 к вилке, закрепленной на винте 46, а также круговыми шкалами, нанесенными на шестерне 18 і лимбе 16.

Во время роботи верстата внутренняя часть 4 аппарата правки і супорт 52 уходят со своего исходного положения, однако их переміщення должны быть равны друг другу. Контроль перемещений аппарата правки осуществляется прибором 3 по шкале 2 і нониусу 1, как показано на рис. 193, а суппорта — по круговым шкалам, нанесенным на шестерне 18 і лимбе 16 (см. рис. 190). Величины перемещений суппорта і аппарата правки должны быть равны друг другу. При несоответствии величин выруху регулировку осуществляют переміщенням суппорта, а не аппарата правки.

Снятие і установка шлифовального круга. При смене изношенного шлифовального круга (износ допускается до диаметра 160 мм) накидную гайку 13 (см. рис. 193) отвертывают і гибкий вал 14 з наконечником вынимают из отверстия шпинделя 16. Затем ослабляют барашек 17 і откидывают на петле в сторону, крышку 11 снимают. Снизу в шпоночное отверстие шпинделя 16 вставляют спеціальний ключ і удерживают рукой. Другим специальным ключом отвертывают гайку 15. Вместо гайки ввертывают съемник, і планшайба 12 со шлифовальным кругом 10 выпресовывается з конуса инструментального шпинделя 16. Отвертывать гайку 15 ударами, не удерживая специальным ключом от проворачивания шпиндель 16, не разрешается, так как можно испортить сверхвысокоточные підшипники. По той же причине не разрешается снимать планшайбу 12 з конуса шпинделя без съемника, постукиванием по ней.

Со верстатом поставляют три планшайби, для того чтобы производительность его не снижалась при смене шлифовального круга. В то время, когда верстат работает, на свободные планшайби устанавливают новые шлифовальные круги необходимых характеристик і зернистости. Круги з планшайбами статически балансируются на специальном приспособлении, поставляемом со верстатом.

При установці нового шлифовального круга з планшайбой указанные приемы повторяются, как і при снятии шлифовального круга з планшайбой, но в обратном порядке.

Выверка установки алмазного инструмента. Режущие способности шлифовального круга 10 (см. рис. 193) і его заданная геометрическая форма восстанавливаются алмазными иглами 9 типа И1, закрепленными в отверстиях двух крайних рычагов 4, 7 і одном среднем 8 специальными зажимами 6. Алмазные иглы могут перемещаться вдоль осей отверстий, в которых они устанавливаются. Иглы на рычагах 4 і 7 должны быть установлены так, чтобы теоретическая вершина заправляемого ими шлифовального круга, образованная пересечением образующих двух конических поверхностей, совпадала з осью люльки при нулевой установці кулачков, валики которых 19, 22 з лимбами 20, 21 выведены на правую переднюю плоскость суппорта 18. Алмазные иглы етих рычагов могут смещаться от своего нулевого положения вперед или назад при подгонке пятна контакта профилей обработанной передачи во время подналагодження верстата.

Нулевое положение алмазной иглы, установленной на среднем рычаге 8 і заправляющей цилиндрическую поверхность, считается таким, когда острие її алмаза проходит при своем движении во время заправки круга через теоретическую вершину, образованную пересечением образующих конических поверхностей. Эта алмазная игла в нулевом положении никогда не устанавливается. Она всегда при работе выдвинута вперед для образования цилиндрической поверхности на периферии шлифовального круга. Длина WKp образующей цилиндрической поверхности рассчитывается следующим образом:




587В Верстат зубошлифовальный універсальний напівавтомат. Відеоролик.




    Список литературы по зубообработке

  1. Ачеркан Н.С. Металлорежущие верстати, Том 1, 1965.
  2. Гальперин Е.И. Наладка зуборезных верстатів, 1960.
  3. Козлов Д.Н. Зуборезные роботи, 1971.
  4. Кучер А.М., Киватицкий М.М., Покровский А.А., Металлорежущие верстати (Альбом общих видов, кинематических схем і вузлів), 1972.
  5. Лоскутов В.В., Ничков А.Г. Зубообрабатывающие верстати, 1978.
  6. Малахов Я.А. Зубообрабатывающие і резьбофрезерные верстати і их наладка, 1972.
  7. Мильштейн М.З. Нарезание зубчатых колес, 1972.
  8. Овумян Г.Г., Адам А.И. Справочник зубореза, 1983.
  9. Птицин Г.А., Кокичев В.Н. Зуборезные верстати, 1957.
  10. Шавлюга Н.И. Расчет і примеры наладок зубофрезерных і зубодолбежных верстатів, 1978.
  11. Руководящий материал для конструкторов, проектирующих технологическую оснастку. Основні данные і посадочные места металлорежущих верстатів. НИИМАШ, 1968.









Заказать

Кто владеет информацией - тот владеет миром.

Натан Ротшильд