metalinstryment.com
Довідник по металорізальних верстатів та пресовому обладнанні

5А140п Верстат зубодолбежный вертикальний напівавтомат
схеми, опис, характеристики

5А140п Загальний вигляд  зубодолбежного верстата







Відомості про виробника вертикального зубодолбежного напівавтомату 5а140П

Производитель вертикального зубодолбежного напівавтомату 5а140П Егорьевский станкостроительный завод Комсомолец, СЗК, основанный в 1934 году.





Продукция Егорьевского станкостроительного завода Комсомолец, СЗК


5А140П Верстат зубодолбежный вертикальний гідравлический універсальний напівавтомат. Назначение і область применения

Зубодолбежный напівавтомат 5А140П заменил в серийном производстве верстат 5140.

Універсальный гідравлический зубодолбежный верстат напівавтомат 5А140П предназначен для высокопроизводительного нарізання прямых і косых зубьев цилиндрических зубчатых колес з наружным і внутренним зацеплением. Ввиду малого перебега долбяка верстат приспособлен для нарізання блоков зубчатых колес. Нарезание зубьев осуществляется круговыми модульными долбяками методом обкатки инструмента і вироби.

Простота налагодження напівавтомату 5А140П дает возможность использовать его в условиях единичного і серийного производства.

Особливості конструкції верстата 5А140п

Жесткая стойка соединена со станиной, по горизонтальным направляющим которой перемещается стол, несущий нарезаемое колесо. В суппорте расположен долбяк, совершающий возвратно-поступательное рух і отскок при обратном ходе на величину 0,45 мм. В верстатах 5А12, 5В12, 5М12 такой отскок совершает деталь.

При установці в суппорте специальных винтовых направляючих, изготовляемых по техническому заданию заказчика, на напівавтоматі можно обрабатывать зубчасті колеса з косым зубом.

Жесткая кінематична ланцюг, отсутствие вертикальних валов позволяют выпускать на его базе специальные верстати: для обробки деталей в центах, деталей з коническим (поднутренным) зубом, повышенным рабочим пространством, гідравлическим переміщенням суппорта. Полуавтомат може комплектоваться гідравлическим зажимным патроном і пристрійм для нарізання зубьев реек. При наличии специального инструмента возможна обработка фасонных профилей.

Стружка з робочого простору удаляется шнековым транспортером, приводимым в действие от отдельного приводу через редуктор.

Высокая жесткость станины исключает возможность возникновения вибраций при переменной динамической нагрузке. Полуавтоматический рабочий цикл, керування з центрального пульта позволяют проводить обслуговування нескольких верстатів одним станочником. Верстат обеспечивает обработку в один, два і три прохода з автоматическим изменением режимов різання на чистовом проходе.

На напівавтоматі 5А140П можно обрабатывать вироби как из черных, так і цветных металлов.

Отвод стола от инструмента обеспечивает удобный съем і установку вироби. Для закрепления детали имеется гідравлический зажимной патрон.

При обработке деталей з внутренним зацеплением в кінці цикла режущий инструмент выводится в верхнее положение специальным пристрійм, что исключает поломку инструмента при отводе стола в зону загрузки.

На базе напівавтомату 5А140П изготавливаются специальные верстати для обробки деталей в центрах, деталей з коническим (поднутренным) зубом, а при наличии специальных долбяков можно обрабатывать плоские фасонные детали.

Верстат 5А140П работает по методу обкатки, где в процессе нарізання зубьев воспроизводятся руху пары цилиндрических зубчатых колес. Работу одного колеса выполняет зуборезный долбяк, а второго — заготовка.

Долбяк, установленный на кінці шпинделя, совершает возвратно-поступательное рух (вверх і вниз). При движении вниз долбяк совершает рабочий ход — осуществляет процесс різання, а при движении вверх совершает холостой ход. Для предохранения от порчи і притупления кромок на зубьях долбяка стол з заготовкой отводится от долбяка на небольшую величину во время обратного ходу, а к моменту начала робочого ходу стол устанавливается в исходное положение. Заготовка находится на оправке стола.

До начала обробки долбяк подводится вплотную к наружной поверхности заготовки. Затем включается радиальная подача шпиндельной головки для врізання долбяка в заготовку. По окончании радиальной подачі нарезание зубьев происходит на полный профиль за 1 оборот заготовки.

Долбяк целесообразно считать ведущим колесом. Исходя из етого, его окружную скорость (круговую подачу) выбирают, руководствуясь только режимами різання. Вращение заготовки называется делительным движением. Для правильной обкатки колес скорость делительного руху заготовки должна строго совпадать з выбранной скоростью круговой подачі долбяка.

В отличие от предыдущих моделей зубодолбежных верстатів в рассматриваемом напівавтоматі применен гідравлический привод.

Общая компоновка верстата 5А140п

Верстат имеет вертикальную компоновку, то есть ось детали і инструмента расположены вертикально.

Для осуществления обкатки на станке предусмотрена жесткая кінематична связь обертання инструмента і детали, которая настраивается сменными колесами гітари деления.

Рух різання инструмента осуществляется за счет возвратно-поступательного переміщення штосселя.

Установка межцентрового расстояния і врізання на глубину зуба производятcя столом з заготовкой, который перемещается по станине на плоских горизонтальных направляючих.

Радиальное врезание на глубину зуба осуществляется клиновым упором, который перемещается гідроцилиндром.

Стол имеет ускоренный подвод к заготовке.

Верстат може работать:

На станке имеется возможность осуществления обробки зубчатых колес в один, два і три прохода в напівавтоматическом режиме.

Для изменения круговой подачі (скорости обкатки инструмента і детали) на станке предусмотрена коробка подач з гідравлическим переключением подачі по циклу обробки заготовки. Изменение числа двойных ходов инструмента во время цикла обробки заготовки производится посредством переключения електродвигуна головного руху з одной ступени на другую.

Величина подачі радиального врізання настраивается при помощи дросселя.

Высота зуба і припуск перед втором і третьим проходом настраиваются упорами. Для отсчета полного оборота заготовки имеется автоматическое пристрій, которое включается після врізання инструмента в заготовку. Отвод при обратном ходе инструмента осуществляет штоссель з долбяком. Все переключения во время роботи верстата в напівавтоматическом режиме осуществляются гідравликой. Для приводу обертання стола і долбяка предусмотрены червячные пары з переменной толщиной витка.

Полуавтомат можно оснащать загрузочным пристрійм і встраивать в автоматическую линию.

Зубодолбежный напівавтомат предназначен для нарізання цилиндрических зубчатых колес наружного і внутреннего зацепления в индивидуальном і серийном производстве. Нарезание зубчатых колес производится методом обкатки заготовки долбяком. Полуавтомат имеет вертикальную компоновку. На напівавтоматі можно производить черновую, получистовую (под післядующее шевингование) і чистовую обработку в один, два і три прохода. Обработка осуществляется по автоматическому циклу со сменой режимов різання, включая отвод і подвод заготовки к инструменту і от него. Отводное рух при холостом ходе осуществляется инструментом. Для закрепления заготовки предусмотрен гідравлический зажим. При работе по автоматическому циклу в несколько проходов предусмотрено автоматическое переключение скорости різання і круговой подачі при переходе з черновых проходов на чистовой. Для повышения стойкости долбяка при нарезании малозубых колес і колес внутреннего зацепления предусмотрен диагональный отвод долбяка во время холостого ходу. Осуществляется ето путем переміщення стойки в поперечном направлении. Бесступенчатое регулювання круговой подачі позволяет выбрать оптимальные режими обробки. Установка на межцентровое расстояние і врезание на глубину зуба осуществляется столом, перемещающимся по плоским горизонтальным направляющим станины. Радиальное врезание осуществляется клиновой ползушкой, которая перемещается гідравлическим цилиндром. Значительная мощность електродвигуна головного привода, высокие скорости і достаточная загальна жесткость напівавтомату позволяет производить обработку на повышенных режимах. На базе етих верстатів Егорьевский станкостроительный завод «Комсомолец» выпустил большое количество специальных верстатів для обробки зубчатых колес различных размеров і форм.


5А140п Габаритные розміри робочого простору зубодолбежного напівавтомату

5А140п Габаритные розміри робочого простору зубодолбежного напівавтомату

Габаритные розміри робочого простору верстата 5а140п

Габаритные розміри робочого простору верстата 5а140п. Дивитись у збільшеному масштабі



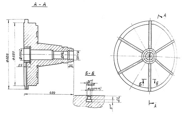
5А140п Посадочные і присоединительные базы зубодолбежного напівавтомату

Шпиндель инструмента зубодолбежного верстата 5а140п

Шпиндель инструмента зубодолбежного верстата 5а140п


Стол зубодолбежного верстата 5а140п

Стол зубодолбежного верстата 5а140п

Стол зубодолбежного верстата 5а140п. Дивитись у збільшеному масштабі



5А140п Загальний вигляд і общее пристрій верстата

5А140п напівавтомат зубодолбежный. Загальний вигляд

Фото зубодолбежного верстата 5а140п


5А140п напівавтомат зубодолбежный. Загальний вигляд

Фото зубодолбежного верстата 5а140п


5А140п напівавтомат зубодолбежный. Загальний вигляд

Фото зубодолбежного верстата 5а140п


5А140п напівавтомат зубодолбежный. Загальний вигляд

Фото зубодолбежного верстата 5а140п


5А140п напівавтомат зубодолбежный. Загальний вигляд

Фото зубодолбежного верстата 5а140п


5А140п напівавтомат зубодолбежный. Загальний вигляд

Фото зубодолбежного верстата 5а140п


5А140п напівавтомат зубодолбежный. Загальний вигляд

Фото зубодолбежного верстата 5а140п


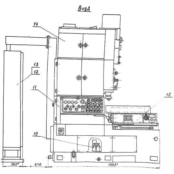
Розташування основних вузлів зубодолбежного верстата 5А140п

5А140п Розташування основних вузлів зубодолбежного верстата

Розташування основних вузлів зубодолбежного верстата 5а140п

Розташування основних вузлів зубодолбежного верстата 5А140п. Дивитись у збільшеному масштабі



5А140п Розташування основних вузлів зубодолбежного верстата

Розташування основних вузлів зубодолбежного верстата 5а140п

Розташування основних вузлів зубодолбежного верстата 5А140п. Дивитись у збільшеному масштабі



Список основних вузлів зубодолбежного верстата напівавтомату 5А140п


Розташування органів керування зубодолбежным верстатом 5А140п

5А140п Розташування органів керування зубодолбежным верстатом напівавтоматом

Розташування органів керування зубодолбежным верстатом 5а140п

Розташування органів керування зубодолбежным верстатом 5А140п. Дивитись у збільшеному масштабі



Список органів керування зубодолбежным верстатом 5А140п

  1. Шкала налаштування смещения стойки
  2. Упоры для зовнішнього і внутреннего зацепления
  3. Квадрат ручного переміщення шпинделя
  4. Светильник
  5. Гайки фиксации налаштування зоны долбления
  6. Квадрат налаштування зоны долбления
  7. Шкала налаштування зоны долбления
  8. Квадрат смещения стойки
  9. Предохранительные клапаны налаштування давления в системе змазки
  10. Дроссель налаштування величины радиальной подачі
  11. Винт крепления електропульта
  12. Сменные шестерни (гітара) двойных ходов
  13. Вводной автоматический выключатель
  14. Квадрат поворота шпинделя инструмента
  15. Квадрат зажиму ползушки установки величины ходу шпинделя
  16. Квадрат установкивеличины ходу шпинделя
  17. Квадрат перевода відскоку долбяка з внутреннего на внешнее зацепление
  18. Пульт керування
  19. Шкала установки межцентрового расстояния
  20. Квадрат налаштування межцентрового расстояния
  21. Кнопка подачі змазки к отдельным частям стола
  22. Упор подвода стола в рабочее положение
  23. Упор иходного положения стола
  24. Регулятор подачі змазки стола
  25. Манометр контроля давления в системе змазки
  26. Шкала налаштування глубины врізання
  27. Упоры налаштування глубины врізання і числа проходов
  28. Гітара деления
  29. Приклон паразитной шестерни реверса стола (для обробки внутреннего зуба)
  30. Маслоуказатель контроля уровня масла в гідросистеме
  31. Кран охлаждения
  32. Манометр контроля давления в гідросистеме
  33. Маслоуказатель контроля уровня змазки в делительной паре
  34. Маслоуказатель контроля уровня змазки в направляючих суппорта
  35. Угольник для крепления короба на время транспортировки верстата
  36. Указатель контроля уровня охлаждающей жидкости
  37. Кронштейн для крепления стола на время транспортировки верстата
  38. Маслоуказатель контроля уровня змазки в делительной паре стола




Схема кінематична зубодолбежного верстата напівавтомату 5А140п

Схема кінематична зубодолбежного верстата напівавтомату 5А140п

Кінематична схема зубодолбежного верстата 5а140п



Движения в станке. Основні:


Движения в станке. Вспомогательные:


Схема розположення підшибників качения зубодолбежного верстата 5А140п

Схема розположення підшибників качения зубодолбежного верстата напівавтомату 5А140п

Схема розположення підшибників качения зубодолбежного верстата 5а140п




Схема радиальной подачі зубодолбежного верстата 5А140п

5А140п Схема радиальной подачі зубодолбежного верстата

Схема радиальной подачі зубодолбежного верстата 5А140п


Гідравлічна схема зубодолбежного верстата 5А140п

5А140п Гідравлічна схема зубодолбежного верстата

Гідравлічна схема зубодолбежного верстата 5а140п

Схема гідравлічна зубодолбежного верстата 5А140п. Дивитись у збільшеному масштабі






5А140п Верстат зубодолбежный вертикальний напівавтомат. Відеоролик.





Технічні характеристики зубодолбежного верстата напівавтомату 5А140п

Наименование параметра 5140 5А140П
Основні параметри верстата
Наибольший модуль нарезаемого колеса, мм 8 8
Наибольший диаметр нарезаемых цилиндрических прямозубых колес 500 500
Наибольшая ширина нарезаемого венца (длина нарезки), мм 100 100
Наибольший диаметр нарезаемых цилиндрических прямозубых колес внутреннего зацепления, мм
Наибольшая ширина нарезаемого венца (длина нарезки) внутреннего зацепления, мм
Наибольший угол спирального зуба, град 35
Наибольшее расстояние от оси долбяка (шпинделя, штосселя) до оси стола (планшайби), мм 0..355 0..355
Расстояние от зеркала стола (планшайби) до торца шпинделя, мм 75..225 120..270
Расстояние от пола до поверхности планшайби, мм 855 920
Суппорт. Шпиндель (штоссель) долбяка
Наибольшее перемещение шпинделя, мм 150 150
Наибольший ход долбяка (шпинделя), мм 125 125
Наибольший отвод инструмента от от вироби во время холостого ходу, мм - 0,5
Цена деления шкалы установки глубины долбления зуба, мм
Наибольший диаметр устанавливаемого долбяка, мм 100
Пределы чисел двойных ходов долбяка в минуту 65..450 55..560
(18 ступеней)
Круговая подача инструмента, мм/дв.ход 0,025..0,1 6..590 Радиальная подача инструмента, мм/дв.ход 0,003..0,525 Число радиальных подач инструмента 21 Диаметр оправки под долбяк, мм 31,743; 44,443 Кінець шпинделя для крепления инструмента Морзе 5 Морзе 5 Рабочий стол (планшайба) Диаметр фланца робочого стола (планшайби), мм 500 560 Диаметр отверстия в шпинделе робочого стола, мм 110A 110 Наибольший ход робочого стола, мм 355 355 Наибольший отход стола от режущей кромки инструмента во время холостого ходу, мм 0,45 - Быстрое перемещение стола, м/мин 1,5 Быстрое вращение стола, об/мин 2,5 4,5 Цена деления лимба установки межцентрового расстояния, мм 0,01 0,01 Автоматический подвод есть есть Автоматический останов есть есть Привід і електрообладнання верстата Количество електродвигателей на станке 4 5 Електродвигун головного привода, кВт (об/мин) 1,1 4; 4,5; 7,5 (750; 1000; 1500) Електродвигун приводу швидкого обертання стола, кВт (об/мин) 0,18 0,75 Електродвигун насоса гідропривода, кВт (об/мин) 0,27 2,2 (1000) Електродвигун приводу круговой подачі, кВт (об/мин) - 2,5 (1600) Електродвигун насоса охлаждения, кВт (об/мин) 0,12 0,75 (3000) Суммарная мощность електродвигателей, кВт Габаритные розміри і масса верстата Габаритные розміри верстата (длина х ширина х высота), мм 17250 х 1250 х 2350 1963 х 1660 х 2510 Масса верстата з електрообладнанням і охолодженням, кг 4200 6500

    Список литературы по зубообработке

  1. Ачеркан Н.С. Металлорежущие верстати. Том 1. 1965, Стр. 564.
  2. Гальперин Е.И. Наладка зуборезных верстатів, 1960.
  3. Козлов Д.Н. Зуборезные роботи, 1971.
  4. Кучер А.М., Киватицкий М.М., Покровский А.А., Металлорежущие верстати (Альбом общих видов, кинематических схем і вузлів), 1972.
  5. Лоскутов В.В., Ничков А.Г. Зубообрабатывающие верстати, 1978.
  6. Малахов Я.А. Зубообрабатывающие і резьбофрезерные верстати і их наладка, 1972.
  7. Мильштейн М.З. Нарезание зубчатых колес, 1972.
  8. Овумян Г.Г., Адам А.И. Справочник зубореза, 1983.
  9. Птицин Г.А., Кокичев В.Н. Зуборезные верстати, 1957.
  10. Шавлюга Н.И. Расчет і примеры наладок зубофрезерных і зубодолбежных верстатів, 1978.
  11. Руководящий материал для конструкторов, проектирующих технологическую оснастку. Основні данные і посадочные места металлорежущих верстатів. НИИМАШ, 1968.









Заказать

Кто владеет информацией - тот владеет миром.

Натан Ротшильд