metalinstryment.com
Довідник по металорізальних верстатів та пресовому обладнанні

5822 Верстат резьбошлифовальный універсальний
схеми, опис, характеристики

5822 Загальний вигляд  резьбошлифовального верстата







Відомості про виробника резьбошлифовального верстата 5822

Производитель резьбошлифовального верстата 5822 Московский завод координатно-расточных верстатів «МЗКРС», основанный в 1942 году





Верстати, выпускаемые Московским заводом координатно-расточных верстатів МЗКРС


5822 Верстат резьбошлифовальный універсальний. Назначение і область применения

Верстат резьбошлифовальный 5822 серийно производился з 1962 года, снят з производства в 1970 году і заменен более совершенной моделью 5822м

Резьбошлифовальный верстат 5822 предназначен для выполнения основних резьбошлифовальных операций: шлифования цилиндрических і конических резьбовых калибров-пробок і калибров-колец, точных винтов і червяков; затилочних метчиков, мелкомодульных червячных фрез і резьбофрез; шлифования роликов для накатывания многониточных резьбошлифовальных кругов, круглых резцов-гребенок, дисковых фасонных резцов, плоских плашек для резьбонарезных головок, плоских резьбонакатных плашек без заборной частини, точных зубчатых реек і т. л. Верстат применяется в инструментальных і производственных цехах машиностроительных заводов.

Верстат 5822 автоматизирован і шлифует одно- і многониточными кругами, что делает его пригодным для серийной роботи.

Опис роботи верстата. Конструктивные особливості верстата

Стол верстата 5822 перемещается от ходового гвинта з гайкой. Верстат настраивается на шаг шлифуемой різьби-сменными зубчатыми колесами. Настроенный шаг можно в узких пределах уменьшать і увеличивать посредством температурной коррекционной линейки.

Для шлифования многозаходных різьб на станке применяется точный делительный патрон, укрепляемый на фланце шпинделя вироби. Резьбы з числом заходов два і четыре шлифуются з переключением однозубой муфты в передньої бабке, без делительного патрона.

Компесатор мертвых ходов, возникающих в механізме переміщення вироби, позволяет шлифовать резьбу з ходом стола в обе стороны. Быстрый подвод і отвод шлифовального круга к изделию і затылование осуществляется переміщенням шлифовальной бабки по направляющим качения.

Налаштування на число канавок затылуемого вироби производится сменными зубчатыми колесами. Для затилочних изделий со спиральными канавками предусмотрен диференціал, настраиваемый сменными зубчатыми колесами.

Числа оборотів шпинделя вироби регулируются бесступенчато в широком диапазоне благодаря применению для приводу вироби електродвигуна постоянного тока.

Регулювання чисел оборотів шлифовального круга достигается посредством быстросъемных сменных ступенчатых шкивов.

Правка круга для шлифования різьб треугольного, трапецеидального і пилообразного профилей производится автоматическим или ручным правящим пристрійм. Автоматическое пристрій пускается нажимом кнопки. Оно работает тремя алмазами, причем третий алмаз используется лишь для правки трапецеидального профиля. Ручное правящее пристрій работает одним алмазом.

Профилирование широкого (многониточного) круга производится стальным роликом з помощью накатного пристроя. При выполнении етой операции привід круга осуществляется з пониженным числом оборотів малым електродвигуном через редуктор.

Правка круга для шлифования фасонных профилей выполняется з помощью пристроя для фасонной правки. Пристрій является копирным, работает алмазной иглой і управляется от руки. Все правящие пристроя сменные.

Подача автоматичного правящего пристроя производится автоматически или от руки; подача других правящих устройств осуществляется от руки. При правке круга действует компенсирующая подача шлифовальной бабки.

Конические різьби шлифуются за счет сложения двух движений — переміщення шлифовальной бабки, производимого от копира, і переміщення стола от ходового гвинта.

Внутренние різьби шлифуются з помощью съемного приспособления з шлифовальной гильзой і сменными пристроями для правки і накатывания круга. Привід внутришлифовального приспособления осуществляется от електродвигуна шлифовальной бабки.

Внутришлифовальное пристрій предназначается также для затилочних червячных і резьбовых фрез, у которых осуществлять ету операцию шлифовальным кругом большого диаметра невозможно. При затыловании на центрах малым (внутришлифовальным) кругом применяется специальная задня бабка, у которой опорный центр вынесен в сторону круга.

При установці внутришлифовального приспособления на клинообразную плиту, навешиваемую на шлифовальную бабку, шпиндель пpиспособления располагается под углом в плане к оси вироби. Эта установка используется для шлифования різьби прямоугольного профиля.

При шлифовании изделий з кольцевыми канавками і изделий типа зубчатых реек стол, настроенный на шаг, перемещают от руки делительной рукояткой. Шлифование производится одно- или многониточным кругом.

Для шлифования точных зубчатых реек, плоских резьбонакатных плашек і плоских плашек к резьбонарезным головкам применяется специальное плоскошлифовальное пристрій. Последнее устанавливается на столе верстата, соединяется со шпинделем вироби і преобразует вращение шпинделя в возвратно-поступательное рух своего суппорта.

Изделия з наружной резьбой при шлифовании устанавливаются на наружные или обратные центры верстата.

Изделия з внутренней резьбой укрепляются в четырехкулачковом патроне.

Для контроля профиля круга і шлифуемой різьби і для удобства ввода круга в нитку мелких різьб на верстат поставляется съемный резьбопрофильный микроскоп.

На станке 5822 возможно шлифование архимедовых, конволютных і евольвентных червяков. При шлифовании конволютных червяков правящее пристрій наклоняют на угол подъема витков червяка. Усунення искривлений профиля витка, неизбежных при шлифовании архимедовых і конволютных червяков с. углом подъема винтовых линий более 8—10°, достигается коррекцией профиля круга. Для коррекции профиля круга используется специальное пристрій, которое устанавливают на центры верстата. При шлифовании евольвентных червяков правящий алмаз закрепляется в приспособлении выше линии центров верстата (на радиусе основного цилиндра шлифуемого червяка).

Для проверки шага шлифуемой різьби непосредственно на станке применяется оптическое делительное пристрій, состоящее из прецизионной линейной стеклянной шкалы, спирального измерительного микроскопа і микронного индикатора. Мерительный штифт откидного рычажка, связанного з индикатором, вводится в нитку проверяемой різьби. При післядовательных перестановах стола на шаг по оптической шкале микронный индикатор показывает отклонения шага проверяемого вироби относительно шкалы. Оптическая шкала і микроскоп етого приспособления могут быть использованы для точных перестановов стола при шлифовании роликов для профилирования резьбошлифовальных кругов і изделий типа зубчатых реек.

На станке 5822 имеется установка для отсасывания масляного тумана, образующегося при шлифовании. Для фильтрации охлаждающего масла применяются магнитный сепаратор і фильтр.

Предусмотрены стойка з двумя параллельными валиками для статической балансировки шлифовальных кругов і шкаф для хранения кругов з фланцами.

Шлифование на станке може выполняться тремя способами:

  1. одно- і многониточным кругом в одну сторону з автоматическим или ручным остановом стола в кінці ходу;
  2. одно- і многониточным кругом в обе стороны з автоматическим или ручным реверсом стола в кінці каждого ходу;
  3. многониточным кругом з врезной автоматичною подачей на полную или заданную глубину різьби, автоматическим отводом круга от вироби і остановом.

Основні технологические розміри верстата приведены на рис. 5.

Проектная организация — Московский завод координатно-расточных верстатів, МЗКРС.


Шлифование різьби

Шлифование різьби

Шлифование різьби выполняют на специальных резьбошлифовальных верстатах. Шлифуют резьбу на термически обработанных деталях, имеющих большую твердость (более HRC 40), а также на виробих, требующих високою точності.

Шлифование ведется однониточным (фиг. 15, а) или многониточным кругом з поздовжньої подачей, а также многониточным широким кругом з поперечної (врезной) подачей при обработке коротких резьб.

При шлифовании однониточным кругом, его устанавливают на станке з наклоном оси круга к оси вироби, равным углу подъема різьби. Многониточные круги (фиг. 15, б), имеющие кольцевые канавки з профилем шлифуемой різьби, устанавливают параллельно оси обрабатываемой детали. Полная обработка різьби в данном случае Происходит за 1,3—1,4 оборота вироби.

Правка шлифовального круга совершается автоматически во время роботи резьбошлифовального верстата. Шлифование производят, как правило, мелкозернистыми електрокорундовыми кругами (ЭБ) на керамической или вулканитовой связке.


Розміри метрической різьби

Метрическая резьба


Класифікація резьб

Все різьби можно разделить на наступні группы:

Метрические різьби

Метрические різьби применяют головним образом в винтовых соединениях деталей.

Тугие метрические різьби применяются для посадки шпилек в корпусы изделий і в других подобных случаях, когда требуется устранить возможность вывинчивания шпильки при отвинчивании гайки или її самоотвинчивания без додаткових крепежных деталей.

Стандартами на метрические різьби предусматриваются елементы різьби диаметров до 1 мм (0,25—0,9 мм) і свыше 1 мм (1—600 мм).

Угол профиля метрических різьб составляет 60°.

Шаг метрических різьб измеряется в миллиметрах.

Вершина профиля гвинта і гайки выполняется плоско-срезанной, а впадина різьби гвинта і гайки — по радиусу.

Основні определения резьбообробки

Профиль різьби — след от сечения її витка плоскостью, проходящей через ось цилиндра, на котором образована резьба.

Угол профиля α — угол между боковыми сторонами профиля, измеряемый в осевой плоскости.

Шаг різьби s — расстояние между двумя одноименными сторонами профиля, измеренное вдоль оси різьби. Шаг різьби измеряется в миллиметрах или числом ниток (витков) на 1" (дюйм).

Ход різьби — длина переміщення гвинта вдоль его оси за один полный оборот. При многоходовой резьбе ход равен произведению шага на число заходов.

Наружный диаметр різьби d — диаметр цилиндра, описанного относительно вершин наружной різьби і впадин внутренней різьби.

Внутренний диаметр різьби d1 — диаметр цилиндра, описанного относительно впадин наружной різьби і вершин внутренней різьби.

Средний диаметр різьби d2 - диаметр цилиндра, пересекающего профиль різьби так, чтобы ширина впадин оказалась равной ширине выступов.

Длина свинчивания — длина сопряжения резьбовых поверхностей гвинта і гайки, измеренная вдоль оси різьби.

Высота профиля H — высота треугольника, полученного при продолжении боковых сторон профиля до их пересечения.

Рабочая высота витка h — наибольшая высота соприкосновения сторон профиля резьбовой пары, измеренная радиально.





Габарит робочого простору і присоединительные базы резьбошлифовального верстата 5822

5822 Габарит робочого простору резьбошлифовального верстата

Габаритные розміри робочого простору верстата 5822

Габарит робочого простору і присоединительные базы резьбошлифовального верстата 5822. Дивитись у збільшеному масштабі



Загальний вигляд і общее пристрій верстата 5822

5822 універсальний резьбошлифовальный. Загальний вигляд

Фото резьбошлифовального верстата 5822

Фото резьбошлифовального верстата 5822. Дивитись у збільшеному масштабі



5822 універсальний резьбошлифовальный. Загальний вигляд

Фото резьбошлифовального верстата 5822

Фото резьбошлифовального верстата 5822. Дивитись у збільшеному масштабі



5822 універсальний резьбошлифовальный. Загальний вигляд

Фото резьбошлифовального верстата 5822

Фото резьбошлифовального верстата 5822. Дивитись у збільшеному масштабі



5822 універсальний резьбошлифовальный. Загальний вигляд

Фото резьбошлифовального верстата 5822


Розташування органів керування резьбошлифовальным верстатом 5822

Розташування органів керування резьбошлифовальным верстатом 5822

Розташування органів керування резьбошлифовальным верстатом 5822

Розташування органів керування резьбошлифовальным верстатом 5822. Дивитись у збільшеному масштабі



Список органів керування резьбошлифовальным верстатом 2А106П

  1. выключатель для подключения і отключения верстата от електрической сети;
  2. рукоятка пуска, реверса і останова стола і шпинделя вироби;
  3. пульты кнопочного керування електродвигунами;
  4. отделение для сменных зубчатых колес;
  5. гітари для налаштування шага різьби і диференціала (под крышкой);
  6. рукоятка увімкнення затилочного руху;
  7. рукоятка увімкнення ходу стола (звено увеличения шага різьби);
  8. тахометр числа оборотів вироби;
  9. гітара для налаштування затилочних (под крышкой);
  10. винты з лимбом для коррекции шага різьби;
  11. винт з лимбом для ввода круга в нитку різьби;
  12. кран трубопровода охлаждающей жидкости;
  13. кулачки для автоматичного останова стола при врезном шлифовании (под крышкой);
  14. рукоятка швидкого відведення і подвода шлифовальной бабки;
  15. маховик поперечної подачі;
  16. лимб точной поперечної подачі;
  17. линейка для шлифования конической різьби;
  18. кулачки для автоматичного останова стола;
  19. компенсатор зазоров для налаштування двухстороннего шлифования (под крышкой);
  20. валик для ручного провертывания шпинделя вироби (под крышкой);
  21. кнопка змазки верстата;
  22. сменное пристрій для правки і накатывания круга (под крышкой);
  23. пульт керування автоматическим пристрійм для правки круга і пристрійм для накатки круга;
  24. штепсельная розетка к приспособлению для шлифования центра;
  25. рукоятка зажиму механізма ввода круга в нитку шлифуемой різьби.




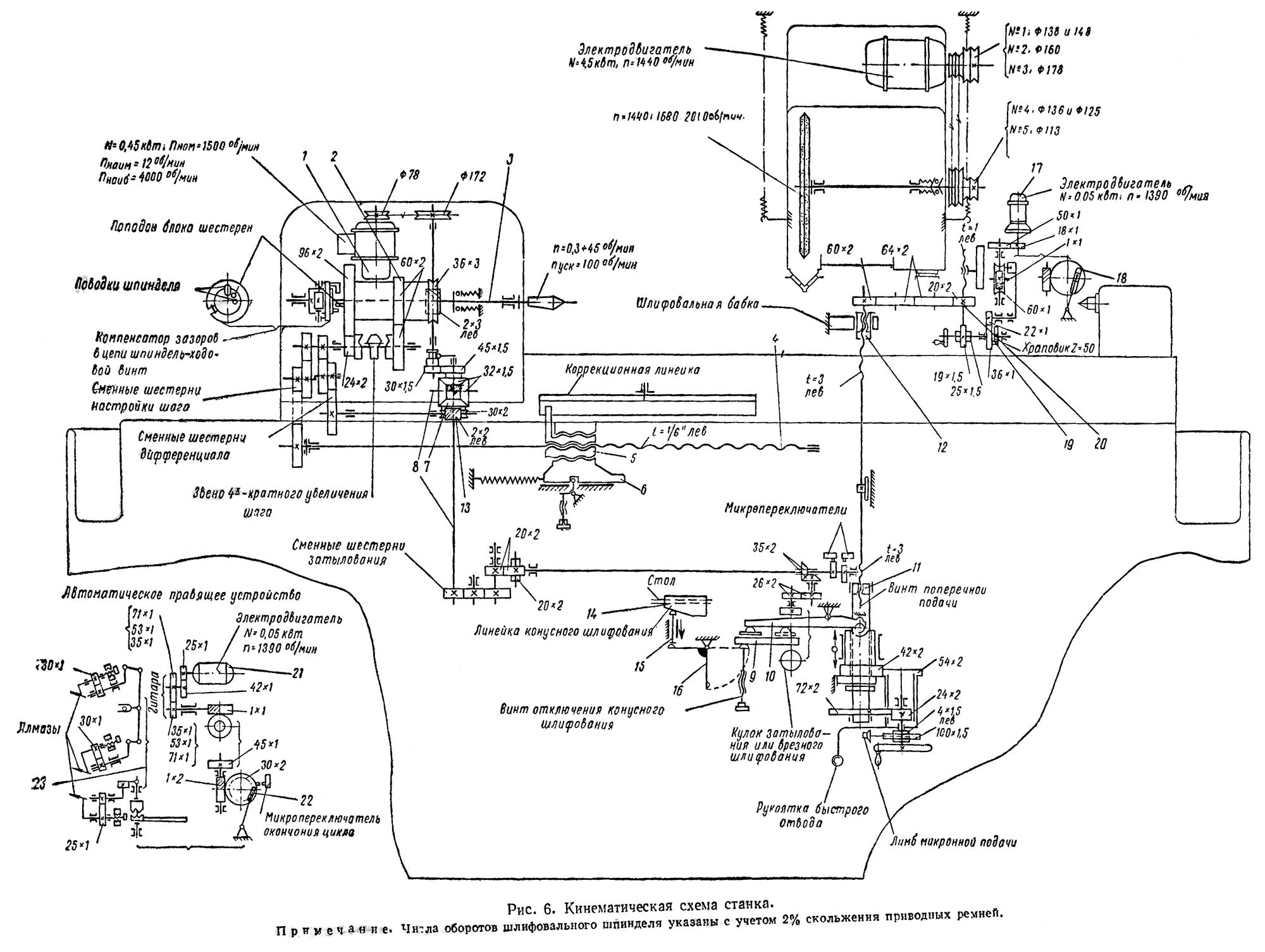
Схема кінематична резьбошлифовального верстата 5822

Схема кінематична резьбошлифовального верстата 5822

Кінематична схема резьбошлифовального верстата 5822

1. Схема кінематична резьбошлифовального верстата 5822. Дивитись у збільшеному масштабі

2. Схема кінематична резьбошлифовального верстата 5822. Дивитись у збільшеному масштабі



Привід шпинделя вироби і стола

От електродвигуна 1 (рис. 6) через клиноременную передачу, червяк 2x3 левый і червячное колесо 36х3 вращение передається блоку 2 зубчатых колес, а через него шпинделю вироби 3.

От блока 2 через зубчасті колеса 60х2 (i= 1) или колеса 9бх2 і 24х2 (i=4 : 1) і сменные зубчасті колеса гітари шага вращение сообщается ходовому винту 4. От гвинта 4 через ходовую гайку 5, удерживаемую кронштейном 6 от смещения относительно станины, сообщается перемещение столу.

Привід стола через зубчасті колеса 60х2 (i=1) осуществляется при шлифовании шагов різьби до 8 мм. Привід через колеса 96х2 і 24х2 (i = 4 : 1 — звено увеличения шага) используется для шлифования крупных шагов і для получения возвратного ускоренного ходу стола.

Привід механізма затилочних і врезного шлифования

От червяка 2х3 (приводу шпинделя вироби) через зубчасті колеса 30х1,5 і 45х1,5, конічний диференціал, коническое колесо 7, которое неподвижно, вращение передається валику — крестовине 8 (i = 1 : 2). Далее через сменные зубчасті колеса гітари затилочних, три винтовых зубчатых колеса 20х2, шлицевый вал, коническую пару 35х2 і цилиндрическую пару 26х2 вращение передається кулаку затилочних или кулаку врезного шлифования. От кулака через рычаг 9 качательное рух сообщается рычагу 10, которое через переднюю гайку подачі 11, винт поперечної подачі і заднюю гайку подачі 12 передається как возвратно-поступательное затыловочное рух шлифовальной бабке. При затыловании изделий со спиральными канавками на гітару диференціала устанавливают сменные зубчасті колеса, которые через червяк 13 сообщают вращение коническому колесу 7 і крестовине 8. Этим достигается необходимое изменение скорости кулака затилочних.

Привід механізма шлифования конической різьби

Копирная линейка 14, укрепляемая в пазу стола, при движении післяднего нажимает на толкатель 15, который через коленчатый рычаг 16 і рычаги 9 і 10 сообщает шлифовальной бабке \ перемещение, согласованное з ходом стола.

Привід механізма подачі правящих устройств і компенсирующей подачі шлифовальной бабки

От електродвигуна 17 через зубчасті колеса 18х1 і 50х1, червяк 1x1, червячное колесо 60x1, кулисный механізм 18, зубчасті колеса 22х1 і 36х1, храповой механізм 19, зубчасті колеса 19х1,5 і 25х1,5 вращение передається на винт 20 подачі салазок правящих устройств.

Одновременно от гвинта 20 через зубчасті колеса 20x2, 60х2, 64х2 і 64x2 вращение передається на заднюю гайку подачі шлифовальной бабки, т. е. вместе з подачей салазок правящих устройств производится компенсирующая подача шлифовальной бабки.

Привід переміщення алмазов автоматичного правящего пристроя

От електродвигуна 21 через сменные зубчасті колеса, червяк 1х1, червячное колесо 45х1, червяк 1x2, червячное колесо 30х2, кулисный механізм 22 і систему рычагов 23 алмазам сообщается рабочее возвратно-качательное движение.


Компоновка верстата

Основанием верстата служит чугунная станина (гр. 100), на которой монтированы все основні вузли верстата (рис. 4).

На левом кінці стола (гр. 110), перемещающегося по направляющим качения, монтирована передняя бабка (гр. 400). На бабке установлен електродвигатель приводу шпинделя вироби, переміщення стола і затилочного руху шлифовальной бабки, (гр. 361), связанный зубчатыми колесами з механізмом подачі правящих устройств (гр. 671).

В левой нише передньої частини станины размещается насосная установка для змазки верстата — резервуар, насос і фильтр.

В правой нише передньої частини станины расположена насосная установка для змазки шлифовального шпинделя — резервуар, насос, фильтр і поплавковое реле.

В нишах задньої частини станины монтированы електроаппаратура і електропроводка верстата.

В нижней частини стола монтирован ходовой винт з механізмом коррекции шага шлифуемой різьби. Передвижная ходовая гайка расположена на станине.

В передньої частини стола (внутри его) монтирован шлицевый вал (гр. 380), передающий вращение от передньої бабки механізму затилочних.

В передньої нише станины расположен механізм поперечної подачі, затилочних і конического шлифования (гр. 300).

На вертикальной передньої стенке корпуса шлифовальной бабки укреплен поворотный узел шлифовального шпинделя (гр. 220). На поворотном сегменте, расположенном на заднем кінці корпуса бабки, установлен електродвигатель приводу шлифовального круга. В нише бабки, позади шлифовального круга, устанавливаются сменные пристроя для правки одно- і многониточного круга. Каждое из устройств закрепляется на салазках общего механізма подари правящих устройств. В нижней частини бабки расположен механізм компенсирующей подачі бабки. Под кожухом, навешанным слева на станину, на полу устанавливается електромашинный усилитель (електродвигатель і генератор постоянного тока, смонтированные в одном корпусе) для живлення током електродвигуна передньої бабки.

С правой стороны верстата расположена установка, состоящая из бака для охлаждающего масла, насоса охлаждения, магнитного сепаратора, фильтра і отсасывающего вентилятора.





Основні вузли резьбошлифовального верстата 5822

Передня бабка (гр. 400)

Передня бабка резьбошлифовального верстата 5822

Передня бабка резьбошлифовального верстата 5822

Передня бабка резьбошлифовального верстата 5822. Дивитись у збільшеному масштабі



В передньої бабке смонтированы червячная передача приводу шпинделя вироби і стола, шпиндель, звено увеличения шага шлифуемой різьби, компенсатор мертвых ходов для шлифования різьби в обе стороны, привід затилочних, диференціал і три гітари — налаштування шага різьби, налаштування числа канавок при затыловании і налаштування диференціала.

Цементированный і закаленный шпиндель вращается в двух биметаллических (бронза і сталь) разрезных підшипниках. Наружной конусной поверхностью підшипники посажены в стаканы корпуса бабки. В осевом направлении шпиндель фиксируется биметаллическим подпятником. К післяднему борт шпинделя прижимается пружинами, действующими через упорный шарикоподшипник.

Радиальные зазоры в переднем подшипнике регулируются винтом 1 (рис. 7), расположенным под съемной крышкой у фланца шпинделя. Зазоры в заднем подшипнике регулируются круглой гайкой 2, расположенной снаружи у заднего кінця шпинделя.

На шпиндель насажен вхолостую на точных роликопідшипниках блок шестерен 3. Вращение от блока передається шпинделю після того, как поводок блока упрется в один из двух поводков компенсатора мертвых ходов 4, заклиненного на шпинделе. Перестановка поводка на компенсаторе позволяет регулировать угол поворота блока шестерен вхолостую на шпинделе, достигая уравнивания мертвых ходов короткой кінематичної ланцюги приводу шпинделя і длинной кінематичної ланцюги приводу стола. Ведущий вал 5 гітари шага сцепляется з блоком шестерен шпинделя з передаточным отношением 1 : 1 или 4 : 1 посредством однозубой муфты 6. Рукоятка увімкнення муфты вынесена на переднюю плоскость бабки (позиция 7 на рис. 4), Среднее положение рукоятки і муфты, при котором ведущий вал отключен от шпинделя, предназначено для шлифования кольцевых канавок.

Ведущий вал 7 (см. рис. 7) гітари затилочних може быть расцеплен і сцеплен з червяком приводу вироби. Рукоятка увімкнення 6 (см. рис. 4) ведущего вала расположена на передньої плоскости бабки.

В описании кінематичної схеми верстата разделы «Привід шпинделя вироби і стола» і «Привід механізма затилочних і врезного шлифования» (стр. 16, 17) относятся к передньої бабке.

Ходовой винт, механізм коррекции шага (гр. 110) і механізм для ввода круга в нитку різьби (гр. 100).

Стальной закаленный і шлифованный ходовой винт вращается в двух бронзовых втулках. Осевые зусилля, действующие на винт, воспринимаются бортом гвинта і двумя бронзовыми подпятниками. Биметаллическая (состоящая из бронзы і стали) ходовая гайка своей наружной резьбой ввинчена в корпус 1 (рис. 8), связанный со станиной. На ходовой гайке укреплен рычаг 2, конец которого пружиной поджимается к коррекционной линейке 3. Последняя укреплена над ходовым винтом на столе. При движении стола, если коррекционная линейка повернута в положение, не параллельное оси ходового гвинта, рычаг 2, скользя по линейке, поворачивает ходовую гайку. Поворачиваясь относительно різьби ходового гвинта і нерухомого корпуса 1, гайка сообщает столу дополнительное перемещение, т. е. осуществляет коррекцию шага. Винты 10 (см. рис. 4) поворота коррекционной линейки вынесены на переднюю плоскость стола.

Перемещением корпуса 1 (см. рис. 8) з ходовой ганкой относительно станины осуществляется ввод шлифовального круга в нитку шлифуемой різьби. Винт 12 з лимбом (см. рис. 4) для переміщення корпуса расположен на передньої стороне станины.

Механізм поперечної подачі і затилочних (гр. 300)

Винт поперечної подачі имеет резьбу на обоих концах і две ходовые гайки. Передня гайка монтирована в станине, задня прикреплена к шлифовальной бабке. Винт удерживается от обертання, но може перемещаться в осевом направлении. Вращением передньої гайки, производимым через маховик подачі, осуществляется поперечная подача шлифовальной бабки. Вращением задньої гайки, связанной з механізмом подачі правящих устройств, производится компенсирующая подача бабки.

Осевым переміщенням передньої ходовой гайки з винтом подачі осуществляются быстрый подвод і отвод бабки, затыловочное движение, врезная автоматическая подача і поперечное перемещение бабки при шлифовании конических резьб.

В описании кінематичної схеми верстата разделы «Привід механізма затилочних і врезного шлифования» і «Привід механізма шлифования конической різьби» (стр. 17, 19) относятся к гр. 300.

Шлифовальный шпиндель (гр. 220)

Шлифовальный шпиндель резьбошлифовального верстата 5822

Шлифовальный шпиндель резьбошлифовального верстата 5822

Шлифовальный шпиндель резьбошлифовального верстата 5822. Дивитись у збільшеному масштабі



Азотированный шлифовальный шпиндель вращается в биметаллических (свинцовистая бронза і сталь) підшипниках ковзання з керосиновой смазкой (см. раздел «Смазка верстата»). Пологая конусная поверхность підшибників позволяет производить з помощью градуированных гаек тонкую регулировку весьма малых радиальных зазоров в підшипниках.

В осевом направлении шпиндель фиксируется бронзовым подпятником, к которому борт шпинделя прижимается пружинами, действующими через шарикоподшипник.

Механізм подачі правящих устройств (гр. 671)

Основними деталями механізма є нерухоме основа 1 (см. рис. 25) і подвижные салазки 2, на которых укрепляются сменные правящие пристроя. От електродвигуна, установленного на основании механізма, через червячную пару, кулисный і храповой механізмы вращение передається винту подачі салазок. Подача салазок является дозированной — конечный выключатель отключает електродвигатель після одного двойного ходу кулисы і одного робочого ходу собачки храповика. Величина подачі определяется числом зубьев храповика, захватываемых собачкой.

Маховичок 3 позволяет производить подачу вручную і возвращать правящее пристрій з бабкой в исходное положение назад.

Кинематика механізма описана на стр. 19 в разделе «Привід механізма подачі правящих устройств і компенсирующей подачі шлифовальной бабки».

Автоматическое правящее пристрій (гр. 661)

Основні данные:

  1. Пределы половины угла заправляемого профиля шлифовального круга - 0—30°
  2. Скорость переміщення алмазов при правке - 54,6; 27; 13,3 мм/мин
  3. Наибольший ход (качание) алмазов - 22 мм

Пристрій пускается нажимом кнопки на главном или вспомогательном пульті керування верстатом, і після выполнения одного цикла правки автоматически выключается микропереключателем, на который воздействует кулиса правящего пристроя. Цикл правки состоит из одного двойного ходу всех алмазов, причем за первую половину цикла алмазы правят круг, а за вторую половину — выхаживают.

Скорость переміщення алмазов (при постоянной длине их ходу) і длительность цикла правки регулируется сменными зубчатыми колесами в соответствии з табличкой, имеющейся на правящем устройстве.

Изменение длины ходу боковых алмазов з наибольшего до наименьшего понижает приведенные выше скорости переміщення алмазов приблизительно на 25%.

Кинематика правящего пристроя описана на стр. 19 в разделе «Привід переміщення алмазов автоматичного правящего пристроя».





Регулювання резьбошлифовального верстата 5822


Регулювання зазоров в підшипниках шлифовального шпинделя

Регулювання зазоров в підшипниках шпинделя до минимально необходимой величины произведено на заводе-изготовителе. Потребителю не следует самому регулировать зазоры без крайней необходимости в етом. На регулировочных гайках 3 з правой резьбой (см. рис. 15) нанесено 50 равных делений, а на фланце 4 (нерухомою гайке) — нулевая риска. Завинчивание гаек 3 на одно деление уменьшает зазор в підшипниках на 0,004 мм по диаметру. Для увеличения зазору гайки отвинчивают примерно на 1/4 оборота (чтобы выбрать зазоры в резьбе), а затем не довинчивают вперед на требуемое число делений. Правильность регулировки підшибників определяется по нагреву: температура их должна быть приблизительно не выше 50°С (не более, чем може выдержать рука).

Переднюю крышку корпуса шлифовального шпинделя следует ставить на бумажную прокладку, пропитав її нитроемалью № 924, нормаль ВТУ У-427—51 Министерства химической промышленности СССР.


Регулювання зазоров в підшипниках шпинделя вироби

Гайка 2 (см. рис. 7) для регулювання заднего підшипника і винт 1 регулювання переднего підшипника имеют правую резьбу. При правильной регулировке зазоров в підшипниках шпиндель проворачивается вручную за планшайбу з некоторым усилием, но не туго (для возможности проворота шпинделя вхолостую необходимо отодвинуть друг от друга упоры-поводки компенсатора зазоров при двухстороннем шлифовании різьби).

Зазоры в переднем подшипнике могут быть проверены по индикатору: мерительный штифт индикатора упирают сбоку в передний центр, затем включают вращение шпинделя в одном і другом направлениях; радиальное смещение переднего центра в момент реверса обертання шпинделя не должно превышать 0,005 мм.

Вказівки о регулировании електроприводу і системы змазки приведены в разделе «Вказівки по монтажу і обслуговування електроустаткування».


Особливості разборки і сборки верстата при ремонтi і технічна документація по ремонту

Разборка вузла шлифовального шпинделя і замена підшибників шпинделя (гр. 220)

Снимают шкив і фланец у правого кінця шпинделя. Съемником стягивают со шпинделя обойму з шарикоподшипником і вынимают шпиндель из корпуса.

Пригонку і регулировку новых підшибників і шпинделя следует производить в следующем порядке (см. рис. 15).


Съем стола со станины ремонт групп 110 і 380

Перед съемом стола необходимо вывернуть из него ходовой винт, вынуть шлицевый вал, снять електродвигатель, отжать рычаги коррекционной линейки і рычаги тормозного пристроя і отъединить смазочные трубки.

Ходовой винт вывертывают (левая резьба) в крайнем левом положении стола, предварительно сняв со стола фланец, фиксирующий винт в осевом направлении.

Со стола снимают длинную переднюю крышку и, получив доступ к шлицевому валу, снимают з него два кулачка керування врезным шлифованием.

Перед выниманием шлицевого вала накернивают один сопряженный шлиц у вала і втулки, з тем чтобы при сборке поставить их в прежнее положение (ето требуется для сохранения регулировки електрического керування врезным шлифованием).

Винты отжима рычагов коррекционной линейки расположены один спереди, под плоской направляющей, другой сзади, под призматической направляющей станины (над механізмом для ввода круга в нитку). После того как каждый винт при завинчивании коснется рычага, следует завернуть его еще на два оборота.

Винт отжима рычагов тормозного пристроя, расположенного на правом кінці станины, пропущен з гайкой сквозь оба рычага. Зажимают винт до упора.

В стол ввертывают рым-болты — один в правый торец і два з боков на левом кінці.

Центр тяжести стола лежит у фланца шпинделя. Вес его около 400 кг. Стол поднимают в крайнем левом положении относительно станины.

При ремонтi механізма ходового гвинта соблюдаются приведенные ниже условия.

Непараллельность оси переднего підшипника ходового гвинта направляющим стола в горизонтальной і вертикальной плоскости не более 0,005 мм на длине 100 мм (проверяется по консольной оправке, плотно вставленной в подшипник). Такие же условия выдерживаются для заднего підшипника ходового гвинта.

Несоосность переднего і заднего підшипника ходового гвинта не более 0,01 мм.

Несоосность переднего підшипника ходового гвинта і отверстия в чугунном корпусе ходовой гайки не более 0,01 мм (проверяется по консольным оправкам, плотно вставленным в подшипник і корпус ходовой гайки при установці стола на станину правее ходовой гайки, со свисанием стола з направляючих).

Радиальный зазор между підшипниками і шейками гвинта не более 0,008..0,013 мм.

Осевой зазор между бортом гвинта і подпятниками 0,01..0,02 мм.

Перед постановкой на станину роликовых направляючих стола необходимо удостовериться, что они катаются совершенно легко, без заедания окремих роликов в сепараторах.

Усилие переміщення стола по роликовым направляющим станины должно составлять 11..16 кг (без тормозного пристроя). Это усилие регулируется затяжкой пружины коррекционной линейки. Доступ к гайке пружины открывается через отверстие под задний винт отжима рычажков механізма коррекции.

Усилие переміщення стола з тормозным пристрійм должно составлять 32..34 кг. Усилие пружины тормоза регулируется гайками, завинченными в рычаги тормоза.

Непараллельность оси шлицевого вала направляющим стола в горизонтальной і вертикальной плоскости не более 0,015 мм на всей длине.

Несоосность шлицевой втулки, закрепленной з кронштейном на станине, і шлицевого вала не более 0,02 мм (проверяется на краску — краска, нанесенная на наружный і внутренний диаметр шлицевого вала, не должна сниматься шлицевой втулкой при движении стола).


Съем шлифовальной бабки со станины

Перед съемом шлифовальной бабки необходимо снять со станины кронштейн з упором, ограничивающим ход бабки назад, снять или отсоединить електродвигатель, снять правящее пристрій, механізм подачі правящих устройств (гр. 671) і пружины, оттягивающие бабку назад.

Вращая рукой шестерню механізма компенсирующей подачі (через окно в днище корпуса бабки), перемещают бабку назад, пока задня ходовая гайка не свернется з гвинта подачі. Затем бабку откатывают вручную назад дополнительно на 50..70 мм з тем, чтобы винт подачі вышел из центрирующей втулки, расположенной перед гайкой.

Бабку поднимают з помощью двух рым-болтов, ввертываемых в верхнюю плоскость корпуса. Вес бабки з електродвигуном і группой шлифовального шпинделя — около 600 кг.

Порядок монтажа бабки на станину следующий:


Съем і ремонт механізма поперечної подачі

После снятия со верстата шлифовальной бабки з гвинта подачі стягивают разрезной хомутик, удерживающий винт от проворачивания, і демонтируют механізм со станины.

Важнейшим условием точності швидкого подвода шлифовального круга является правильный радиальный зазор между наружным диаметром гвинта подачі і внутренним диаметром центрирующих втулок, установленных в гильзах впереди ходовых гаек. Этот зазор должен выдерживаться в пределах 0,01..0,02 мм.


При ремонтi основних групп верстата, определяющих точность его роботи (гр. 110, 100, 220, 300, 380, 400, 661), необходимо также руководствоваться нормами точності, включенными в акт приемки верстата, і рабочими чертежами деталей і вузлів верстата.

Ремонт верстата на заводе-потребителе должен осуществляться в соответствии з «Единой системой планово-предупредительного ремонта і експлуатации технологического оборудования машиностроительных предприятий», Машгиз, М , 1957).

Технічна документація по ремонту верстатів должна оформляться заводами-потребителями в соответствии з указанной единой системой ремонта.





5822 Верстат резьбошлифовальный напівавтомат. Відеоролик.


Технічні характеристики резьбошлифовального верстата 5822

Наименование параметра 5822 5822м 5к822в
Основні параметри верстата
Класс точності Н Н В
Наибольший диаметр устанавливаемого вироби, мм 200 200 200
Наибольшая длина устанавливаемого вироби, мм 500 500 500
Наибольший угол подъема винтовой линии шлифуемой різьби, мм ±30 ±30
Величина переміщення шлифовальной бабки от механізма швидкого відведення, мм 6 6
Наибольший диаметр кінця шлифовального шпинделя, мм 50 50
Конус отверстия в шпинделе передньої бабки і пиноли задньої бабки Морзе 4 Морзе 4
Наибольшая масса устанавливаемого вироби, кг 30 30
Пределы частот обертання шпинделя вироби - рабочих, 1/мин 0,3..55 0,3..55
Пределы частот обертання шпинделя вироби - ускоренных, 1/мин 28..100 28..100
Наибольшая частота обертання шпинделя вироби при затыловании, 1/мин 27 27
Расстояние между осью шлифовального круга і линией центров, мм 150..275 150..275 150..275
Основні параметри верстата при шлифовании наружной різьби
Наибольший диаметр шлифуемой різьби однониточным кругом, мм 2..150 3..150 3..150
Наибольший диаметр шлифуемой різьби многониточным кругом, мм 4..120 10..120 10..120
Наибольшая длина шлифуемой різьби однониточным кругом (Расстояние от вершины переднего центра до кінця зоны шлифования), мм 400 375 375
Наибольшая длина шлифуемой різьби многониточным кругом, мм 360 335
Шаг метрической остроугольной різьби, шлифуемой однониточным кругом, мм 0,25..24 0,25..24 0,25..24
Шаг дюймовой різьби, шлифуемой однониточным кругом, число ниток на дюйм 28..3 28..3 28..3
Шаг модульной різьби, шлифуемой однониточным кругом, модуль 0,3π..14π 0,3π..14π 0,3π..14π
Шаг трапециодальной різьби, шлифуемой однониточным кругом, мм 2..4
Шаг метрической різьби, шлифуемой многониточным кругом, мм 1..4 1..4 1..4
Шаг дюймовой різьби, шлифуемой многониточным кругом, число ниток на дюйм 24..6 24..6
Наибольшая высота профиля шлифуемой модульной різьби з углом а/2=20°, мм 18 18 18
Наибольший ход винтовой линии шлифуемой різьби, мм 20 44
Число заходов шлифуемой многозаходной різьби 1,2,3,4,6,8,12,24 1,2,3,4,6,8,12,24 1,2,3,4,6,8,12,24
Наибольшая конусность шлифуемой наружной конической різьби, конусность (град) 1:16 (1°47′24″) 1:16 (1°47′24″) 1:16 (1°47′24″)
Наибольшая длина шлифуемой наружной конической різьби, мм 60 60
Величина затилочного переміщення шлифовальной бабки, мм 0,03..4 0,02..2,5 0,02..2,5
Число затылуемых канавок вироби 2,3,4,6,8,9, 10,12,14,16 2,3,4,6,8,9, 10,12,14,16 2,3,4,6,8,9, 10,12,14,16
Шаг метрической остроугольной різьби на плоской плашке или зубчатой рейке, шлифуемой однониточным кругом, мм 0,5..6
Шаг метрической остроугольной різьби на плоской плашке или зубчатой рейке, шлифуемой многониточным кругом, мм 0,75..4
Шаг дюймовой різьби на плоской плашке или зубчатой рейке, шлифуемой однониточным кругом, число ниток на дюйм 6
Наибольшая ширина і длина плоской плашки или зубчатой рейки,мм 150 х 120
Половина угла профиля шлифуемой різьби, град 3..30 3..30
Окружная скорость шлифовального круга на диаметре 400 м/с (35;50)±5% (35;50)±5%
Частота обертання шлифовального круга при наружном шлифовании, 1/мин 1440, 1680, 2010, 2380 1440, 1680, 2010, 2380
Основні параметри верстата при шлифовании внутренней різьби
Наибольший диаметр устанавливаемого вироби, мм 160 160 160
Диаметр шлифуемой різьби, мм 25..125 25..125 30..125
Наибольшая длина шлифуемой різьби при наибольшем її диаметре однониточным кругом, мм 25..75 25..75 25..75
Наибольшая длина шлифуемой різьби при наибольшем її диаметре многониточным кругом, мм 55 55 45
Наибольший угол подъема винтовой линии шлифуемой різьби, град ±8 ±8
Шаг різьби, шлифуемой однониточным кругом - метрической, мм 0,5..6 0,5..6 0,5..6
Шаг різьби, шлифуемой - дюймовой, число ниток на дюйм 28..4 28..4
Шаг різьби, шлифуемой однониточным кругом - модульной, мм 0,2π..2π 0,2π..2π
Шаг метрической різьби, шлифуемой многониточным кругом, мм 1..3 1..3
Наибольшая конусность шлифуемой внутренней конической різьби 1:16 1:16 1:16
Наибольшая длина шлифуемой внутренней конической різьби, мм 45 60
Наибольшая высота профиля шлифуемой різьби, мм 18 18
Наибольший ход винтовой линии шлифуемой різьби, мм 20 44
Число заходов шлифуемой многозаходной різьби 2,3,4,6,8,12,24 2,3,4,6,8,12,24
Высота однониточного шлифовального круга, мм 6 6
Высота многониточного шлифовального круга, мм 20 20
Диаметр шлифовального круга, мм 20..100 20..100
Число ступеней частоти обертання шлифовального круга 2 2
Окружная скорость шлифовального круга, м/с 35 35
Частота обертання шлифовального круга при внутреннем шлифовании, 1/мин 5155, 9115, 11670 6000, 9000, 11800
Стол і бабки
Наибольшее продольное перемещение стола - от руки/ механически, мм 425/ 415
Наибольшее поперечное перемещение бабки - от руки/ механически, мм 125/ 50
Перемещение бабки на одно деление лимба/ один оборот лимба, мм 0,005/ 1
Перемещение бабки на одно микрометрическое деление лимба/ один оборот лимба, мм 0,0025/ 0,04
Наибольшее число двойных ходов шлифовальной бабки в минуту при наименьшем затыловочном перемещении 81 81
Высота однониточного шлифовального круга, мм 10 10
Высота многониточного шлифовального круга, мм 20, 40 20, 40
Наибольший угол поворота шлифовальной бабки в вертикальной плоскости, град ±15°
Наибольший диаметр шлифовального круга, мм 300..400 300..400 300..400
Ширина однониточного шлифовального круга, мм 10
Ширина многониточного шлифовального круга, мм 20..40
Предохранение механізма головного руху от перегрузки нет
Предохранение механізма подач от перегрузки нет
Число оборотів вироби в мин / ускорннное 0,3..45/ 100
Привід і електрообладнання верстата
Количество електродвигателей на станке 12
Електродвигун головного приводу - шлифовального шпинделя, кВт (об/мин) 4,5 (1440) 5,5 3;(5)
Електродвигун шпинделя вироби, кВт (об/мин) 0,45 (1500) 0,76 1,15
Електродвигун приводу електромашинного усилителя (встроенный), кВт (об/мин) 1,9 (2850) 3,23
Електродвигун приводу електромашинного усилителя, кВт (об/мин) 1,2 (2850)
Електродвигун змазки шлифовального шпинделя, кВт (об/мин) 0,08 (1390) 0,08
Електродвигун змазки верстата, кВт (об/мин) 0,08 (1390) 0,08
Електродвигун насоса охлаждения, кВт (об/мин) 0,75 (2850) 0,55 0,55
Електродвигун приводу вентилятора, кВт (об/мин) 0,6 (2800) 0,6
Електродвигун магнитного сепаратора, кВт (об/мин) 0,12 0,12
Електродвигун приспособления для шлифования центра, кВт (об/мин) 0,08 (2760) 0,08
Електродвигун подачі правильного прибора, кВт (об/мин) 0,05 (1390) 0,05
Електродвигун приводу правильного прибора, кВ (об/мин)т 0,05 (1390) 0,05
Електродвигун приводу редуктора накатки многониточного круга, кВт 0,25 (2800) 0,27
Суммарная мощность електродвигателей, кВт
Габаритные розміри і масса верстата
Габаритные розміри верстата (длина х ширина х высота), мм 2510 х 2025 х 1480 2560 х 2290 х 1450 2330 х 2490 х 1710
Масса верстата з електрообладнанням і охолодженням, кг 3850 5000 5090

    Список литературы:

  1. Петруха П.Г. Резание конструкционных материалов, режущие инструменты і верстати, 1974, стр.457
  2. Гальперин Е.И. Наладка зуборезных верстатів, 1960.
  3. Козлов Д.Н. Зуборезные роботи, 1971.
  4. Лоскутов В.В., Ничков А.Г. Зубообрабатывающие верстати, 1978.
  5. Малахов Я.А. Зубообрабатывающие і резьбофрезерные верстати і их наладка, 1972.
  6. Мильштейн М.З. Нарезание зубчатых колес, 1972.
  7. Овумян Г.Г., Адам А.И. Справочник зубореза, 1983.
  8. Птицин Г.А., Кокичев В.Н. Зуборезные верстати, 1957.
  9. Сильвестров Б.Н., Захаров И.Д. Конструкція і наладка зуборезных і резьбофрезерных верстатів, 1979.
  10. Шавлюга Н.И. Расчет і примеры наладок зубофрезерных і зубодолбежных верстатів, 1978.
  11. Руководящий материал для конструкторов, проектирующих технологическую оснастку. Основні данные і посадочные места металлорежущих верстатів. НИИМАШ, 1968.









Заказать

Кто владеет информацией - тот владеет миром.

Натан Ротшильд