metalinstryment.com
Довідник по металорізальних верстатів та пресовому обладнанні

5Д822В Верстат резьбошлифовальный універсальний
схеми, опис, характеристики

5Д822В Загальний вигляд  резьбошлифовального верстата







Відомості про виробника резьбошлифовального верстата 5Д822В

Производитель резьбошлифовального верстата 5Д822В Московский завод координатно-расточных верстатів «МЗКРС», основанный в 1942 году





Верстати, выпускаемые Московским заводом координатно-расточных верстатів МЗКРС


5Д822В Верстат резьбошлифовальный універсальний. Назначение і область применения

Резьбошлифовальный верстат 5К823В принят к производству в 1976 году.

Верстат 5К823В предназначен для шлифования однозаходных наружных цилиндрических різьб различного профиля на длинных виробих типа ходовых винтов, валов, шпинделей.

По особому заказу на станке возможно шлифование многозаходных різьб з ручным делением на число заходов различного рода червяков, кольцевых канавок на накатных роликах для испытания многониточных резьбошлифовальных кругов, внутренних резьб.

Принцип роботи і особливості конструкції верстата

Шлифование на станке производится однониточными і многониточными (по особому заказу) кругами.

Стол верстата з установленными на нем передньої і задньої бабками перемещается по направляющим качения. Механізм попадания в нитку позволяет перемещать стол на всей длине шлифования.

Привід вироби осуществляется от електродвигуна постоянного тока з бесступенчатым регулюванням частоти обертання. Ходовой винт верстата вращается на підшипниках качения.

Шпиндель шлифовального круга смонтирован на прецизионных гідродинамических підшипниках.

На станке применена конструкция шлифовальной бабки барабанного типа, позволяющая производить одновременно разворот на угол подъема різьби, шлифовального круга, правящих устройств і електродвигуна приводу шлифовального круга.

Верстат закрыт общим кожухом, предохраняющим распространение масляного тумана в цехе.

Выносное обладнання связано со верстатом готовой електропроводкой со штепсельными разъемами.

Класс точності верстата 5Д822В - В.

Шероховатость прошлифованной поверхности різьби Ra 0,63 мкм.

Корректированный уровень звуковой мощности LpA не должен превышать 93 дБА.

Верстат соответствует высшей категории качества.

Верстат принят к серийному производству в 1976 г.

Проектная организация — Московский завод координатно-расточных верстатів.


Шлифование різьби

Шлифование різьби

Шлифование різьби выполняют на специальных резьбошлифовальных верстатах. Шлифуют резьбу на термически обработанных деталях, имеющих большую твердость (более HRC 40), а также на виробих, требующих високою точності.

Шлифование ведется однониточным (фиг. 15, а) или многониточным кругом з поздовжньої подачей, а также многониточным широким кругом з поперечної (врезной) подачей при обработке коротких резьб.

При шлифовании однониточным кругом, его устанавливают на станке з наклоном оси круга к оси вироби, равным углу подъема різьби. Многониточные круги (фиг. 15, б), имеющие кольцевые канавки з профилем шлифуемой різьби, устанавливают параллельно оси обрабатываемой детали. Полная обработка різьби в данном случае Происходит за 1,3—1,4 оборота вироби.

Правка шлифовального круга совершается автоматически во время роботи резьбошлифовального верстата. Шлифование производят, как правило, мелкозернистыми електрокорундовыми кругами (ЭБ) на керамической или вулканитовой связке.


Розміри метрической різьби

Метрическая резьба


Класифікація резьб

Все різьби можно разделить на наступні группы:

Метрические різьби

Метрические різьби применяют головним образом в винтовых соединениях деталей.

Тугие метрические різьби применяются для посадки шпилек в корпусы изделий і в других подобных случаях, когда требуется устранить возможность вывинчивания шпильки при отвинчивании гайки или її самоотвинчивания без додаткових крепежных деталей.

Стандартами на метрические різьби предусматриваются елементы різьби диаметров до 1 мм (0,25—0,9 мм) і свыше 1 мм (1—600 мм).

Угол профиля метрических різьб составляет 60°.

Шаг метрических різьб измеряется в миллиметрах.

Вершина профиля гвинта і гайки выполняется плоско-срезанной, а впадина різьби гвинта і гайки — по радиусу.

Основні определения резьбообробки

Профиль різьби — след от сечения її витка плоскостью, проходящей через ось цилиндра, на котором образована резьба.

Угол профиля α — угол между боковыми сторонами профиля, измеряемый в осевой плоскости.

Шаг різьби s — расстояние между двумя одноименными сторонами профиля, измеренное вдоль оси різьби. Шаг різьби измеряется в миллиметрах или числом ниток (витков) на 1" (дюйм).

Ход різьби — длина переміщення гвинта вдоль его оси за один полный оборот. При многоходовой резьбе ход равен произведению шага на число заходов.

Наружный диаметр різьби d — диаметр цилиндра, описанного относительно вершин наружной різьби і впадин внутренней різьби.

Внутренний диаметр різьби d1 — диаметр цилиндра, описанного относительно впадин наружной різьби і вершин внутренней різьби.

Средний диаметр різьби d2 - диаметр цилиндра, пересекающего профиль різьби так, чтобы ширина впадин оказалась равной ширине выступов.

Длина свинчивания — длина сопряжения резьбовых поверхностей гвинта і гайки, измеренная вдоль оси різьби.

Высота профиля H — высота треугольника, полученного при продолжении боковых сторон профиля до их пересечения.

Рабочая высота витка h — наибольшая высота соприкосновения сторон профиля резьбовой пары, измеренная радиально.





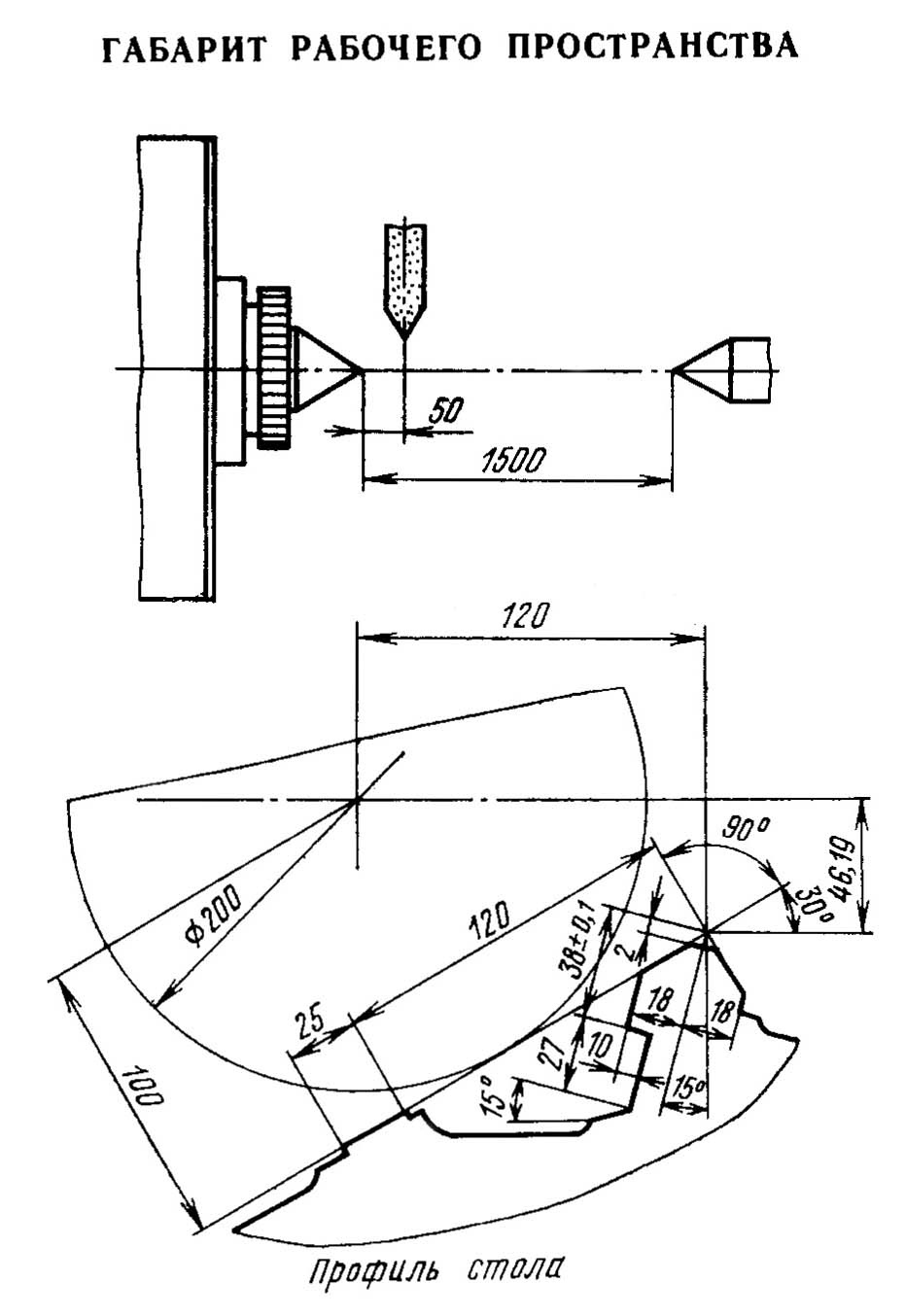
Габарит робочого простору резьбошлифовального верстата 5Д822В

5Д822В Габарит робочого простору резьбошлифовального верстата

Габарит робочого простору верстата 5Д822В

Габарит робочого простору верстата 5Д822В. Дивитись у збільшеному масштабі




Посадочные і присоединительные базы резьбошлифовального верстата 5Д822В

Посадочные і присоединительные базы резьбошлифовального верстата 5Д822В

Посадочные і присоединительные базы резьбошлифовального верстата 5Д822В

Посадочные і присоединительные базы резьбошлифовального верстата 5Д822В. Дивитись у збільшеному масштабі



Загальний вигляд резьбошлифовального верстата 5Д822В

Загальний вигляд  резьбошлифовального верстата 5Д822В

Загальний вигляд резьбошлифовального верстата 5Д822В

Загальний вигляд резьбошлифовального верстата 5Д822В. Дивитись у збільшеному масштабі



Настановне креслення резьбошлифовального верстата 5Д822В

Настановне креслення резьбошлифовального верстата 5Д822В

Настановне креслення резьбошлифовального верстата 5Д822В

Настановне креслення резьбошлифовального верстата 5Д822В. Дивитись у збільшеному масштабі






Технічні характеристики резьбошлифовального верстата 5Д822В

Технічні характеристики резьбошлифовального верстата 5Д822В

Технічні характеристики резьбошлифовального верстата 5Д822В

Технічні характеристики резьбошлифовального верстата 5Д822В. Дивитись у збільшеному масштабі



Наименование параметра 5К821В 5К822В 5К823В
Основні параметри верстата
Наибольший диаметр устанавливаемого вироби, мм 125 200 320
Наибольшая длина устанавливаемого вироби, мм 360 500 1000
Наибольший диаметр шлифовального круга, мм 400 400 500
Наибольший угол подъема винтовой линии шлифуемой різьби, мм ±30° ±30° ±45°
Величина переміщення шлифовальной бабки от механізма швидкого відведення, мм 6 6
Наибольший диаметр кінця шлифовального шпинделя, мм 50 50 65
Конус отверстия в шпинделе передньої бабки і пиноли задньої бабки Морзе 4 Морзе 4 Морзе 5
Наибольшая масса устанавливаемого вироби в центрах, кг 20 30 200
Пределы частот обертання шпинделя вироби - рабочих, об/мин 0,3..55 0,3..55
Пределы частот обертання шпинделя вироби - ускоренных, 1/мин 28..100 28..100
Наибольшая частота обертання шпинделя вироби при затыловании, 1/мин 27 27
Основні параметри верстата при шлифовании наружной різьби
Наибольший диаметр шлифуемой різьби однониточным кругом, мм 95 150 30..320
Наибольший диаметр шлифуемой різьби многониточным кругом, мм 65 120 30..320
Расстояние от вершины переднего центра до кінця зоны шлифования, мм 270 375
Шаг різьби, шлифуемой однониточным кругом - метрической, мм 0,25..12 0,25..24 1..75
Шаг різьби, шлифуемой однониточным кругом - дюймовой, число ниток на дюйм 28..4,5 28..3 24..3
Шаг різьби, шлифуемой однониточным кругом - модульной, мм 0,3π..4π 0,3π..8π 0,5π..25π
Шаг метрической різьби, шлифуемой многониточным кругом, мм 1..4 1..4 1..4
Наибольшая высота профиля шлифуемой різьби, мм 18 18 55
Наибольший ход винтовой линии шлифуемой різьби, мм 20 44 150
Число заходов шлифуемой многозаходной різьби 2,3,4,6,8,12,24 2,3,4,6,8,12,24 1,2,3,4,5,6,8,12
Наибольшая конусность шлифуемой наружной конической різьби 1:16 1:16 1:16
Наибольшая длина шлифуемой наружной конической різьби, мм 60 60
Величина затилочного переміщення шлифовальной бабки, мм 0,023..2,5 0,023..2,5
Число затылуемых зубьев 2,3,4,6,8,9,10,12 2,3,4,6,8,9,10,12
Наибольшее число двойных ходов шлифовальной бабки в минуту при наименьшем затыловочном перемещении 81 81
Высота однониточного шлифовального круга, мм 10 10
Высота многониточного шлифовального круга, мм 20, 40 20, 40
Половина угла профиля шлифуемой різьби, град 3..30 3..30
Окружная скорость шлифовального круга на диаметре 400 м/с (35;50)±5% (35;50)±5%
Число ступеней частоти обертання шлифовального круга 2 2 2
Основні параметри верстата при шлифовании внутренней різьби
Наибольший диаметр устанавливаемого вироби, мм 120 160 280
Диаметр шлифуемой різьби, мм 30..80 30..125 70..220
Наибольшая длина шлифуемой різьби при наибольшем її диаметре однониточным кругом, мм 45 75 80..100
Наибольшая длина шлифуемой різьби при наибольшем її диаметре многониточным кругом, мм 40 45
Наибольший угол подъема винтовой линии шлифуемой різьби, град ±6 ±6 ±10
Шаг різьби, шлифуемой однониточным кругом - метрической, мм 0,5..6 0,5..6 1..6
Шаг різьби, шлифуемой - дюймовой, число ниток на дюйм 28..4 28..4
Шаг різьби, шлифуемой однониточным кругом - модульной, мм 0,2π..2π 0,2π..2π
Шаг метрической різьби, шлифуемой многониточным кругом, мм 1..3 1..3
Наибольшая конусность шлифуемой внутренней конической різьби 1:16 1:16
Наибольшая длина шлифуемой внутренней конической різьби, мм 45 60
Наибольшая высота профиля шлифуемой різьби, мм 18 18
Наибольший ход винтовой линии шлифуемой різьби, мм 20 44
Число заходов шлифуемой многозаходной різьби 2,3,4,6,8,12,24 2,3,4,6,8,12,24
Высота однониточного шлифовального круга, мм 6 6
Высота многониточного шлифовального круга, мм 20 20
Диаметр шлифовального круга, мм 25..63 63..100 50..175
Число ступеней частоти обертання шлифовального круга 2 2
Окружная скорость шлифовального круга, м/с 35 35
Частота обертання шлифовального круга на диаметре более 65 мм, 1/мин 6270 6270 3720, 6370, 11450
Частота обертання шлифовального круга на диаметре менее 65 мм, 1/мин 10160 10160
Привід і електрообладнання верстата
Количество електродвигателей на станке
Електродвигун головного приводу - шлифовального шпинделя М1, кВт 3 3 5,5
Електродвигун змазки шлифовального шпинделя М2, кВт 0,18 0,18
Електродвигун змазки верстата М3, кВт 0,18 0,18
Електродвигун насоса охлаждения М4, кВт 0,55 0,55
Електродвигун магнитного сепаратора М5, кВт 0,12 0,12
Електродвигун приспособления М6, кВт 0,09 0,09
Електродвигун подачі правильного прибора М7, кВт 0,06 0,06
Електродвигун компенсации М8, кВт 0,09 0,09
Електродвигун накатки М9, кВт 0,25 0,25
Електродвигун разворота шлифовальной бабки М10, кВт 0,09 0,09
Електродвигун вироби М11 =110В, кВт 1,1 1,1
Електродвигун переміщення алмазов М12 =110В, кВт 0,055 0,055
Суммарная мощность електродвигателей, кВт
Габаритные розміри і масса верстата
Габаритные розміри верстата (длина х ширина х высота), мм 2100 х 2505 х 1710 2330 х 2490 х 1710 3782 х 2510 х 2000
Масса верстата з електрообладнанням і охолодженням, кг 4590 5090 8800

    Список литературы

  1. Колев Н.С. Металлорежущие верстати.
  2. Гальперин Е.И. Наладка зуборезных верстатів, 1960.
  3. Козлов Д.Н. Зуборезные роботи, 1971.
  4. Лоскутов В.В., Ничков А.Г. Зубообрабатывающие верстати, 1978.
  5. Малахов Я.А. Зубообрабатывающие і резьбофрезерные верстати і их наладка, 1972.
  6. Мильштейн М.З. Нарезание зубчатых колес, 1972.
  7. Овумян Г.Г., Адам А.И. Справочник зубореза, 1983.
  8. Птицин Г.А., Кокичев В.Н. Зуборезные верстати, 1957.
  9. Сильвестров Б.Н., Захаров И.Д. Конструкція і наладка зуборезных і резьбофрезерных верстатів, 1979.
  10. Шавлюга Н.И. Расчет і примеры наладок зубофрезерных і зубодолбежных верстатів, 1978.
  11. Руководящий материал для конструкторов, проектирующих технологическую оснастку. Основні данные і посадочные места металлорежущих верстатів. НИИМАШ, 1968.









Заказать

Кто владеет информацией - тот владеет миром.

Натан Ротшильд