metalinstryment.com
Довідник по металорізальних верстатів та пресовому обладнанні

5822М Верстат резьбошлифовальный універсальний
схеми, опис, характеристики

5822М Загальний вигляд  резьбошлифовального верстата







Відомості про виробника резьбошлифовального верстата 5822М

Производитель резьбошлифовального верстата 5822М Московский завод координатно-расточных верстатів «МЗКРС», основанный в 1942 году





Верстати, выпускаемые Московским заводом координатно-расточных верстатів МЗКРС


5822М Верстат резьбошлифовальный універсальний. Назначение і область применения

Верстат резьбошлифовальный 5822М снят з производства в 1976 году і заменен более совершенной моделью 5К822В

Резьбошлифовальный верстат 5822М предназначен для выполнения основних резьбошлифовальных операций: шлифования цилиндрических і конических резьбовых калибров-пробок і калибров-колец, точных винтов і червяков; затилочних метчиков, мелкомодульных червячных фрез і резьбофрез; шлифования роликов для накатывания многониточных резьбошлифовальных кругов, круглых резцов-гребенок, дисковых фасонных резцов, плоских плашек для резьбонарезных головок, плоских резьбонакатных плашек без заборной частини, точных зубчатых реек і т. л. Верстат применяется в инструментальных і производственных цехах машиностроительных заводов.

Верстат 5822М автоматизирован і шлифует одно- і многониточными кругами, что делает его пригодным для серийной роботи.

Конструктивные особливості верстата

Стол верстата 5822М з установленными на нем передньої і задньої бабками перемещается по направляющим качения. Шлифовальная бабка на станке барабанного типа. Поворот бабки на угол подъема різьби механизирован. Перемещение шлифовальной бабки происходит по направляющим качения. Шпиндель шлифовального круга смонтирован на прецизионных гідродинамических підшипниках. Привід вироби осуществляется от електродвигуна постоянного тока з бесступенчатым регулюванням частоти обертання. Механізм попадания в нитку позволяет перемещать стол независимо от приводу ланцюги шага на любую величину і во всем диапазоне длины шлифования, а также используется для осевой подачі стола. Для удобства попадания на вершину зуба затылуемого вироби в ланцюг диференціала встроен реверсивный електродвигатель, попадание происходит без остановки приводу вироби. Шлифование на станке може производиться тремя способами: з рабочим ходом стола в одну сторону, рабочим ходом стола в одну сторону і автоматическим ускоренным возвратом стола в исходное положение, рабочим ходом стола в обе стороны.

Выносное обладнання связано со верстатом 5822М готовой електропроводкой со штепсельными разъемами.

Число оборотів шпинделя вироби регулируется бесступенчато в широком диапазоне благодаря применению для приводу вироби електродвигуна постоянного тока.

Регулювання чисел оборотів шлифовального круга достигается посредством быстросъемных сменных ступенчатых шкивов.

Правка круга для шлифования різьб треугольного, трапецеидального і пилообразного профилей производится автоматическим или ручным правящим пристрійм. Автоматическое пристрій включается нажатием кнопки. Оно работает тремя алмазами, причем третий алмаз используется лишь для правки трапецеидального профиля.

Ручное правящее пристрій работает одним алмазом, поочередно правя каждую из трех сторон.

Профилирование широкого (многониточного) круга производится стальным роликом з помощью накатного пристроя, приводимого в действие от малого електродвигуна через редуктор при пониженном числе оборотів. Внутренние різьби шлифуются з помощью съемного приспособления з шлифовальной гильзой і сменными пристроями для правки і накатывания круга. Привід внутришлифовального приспособления осуществляется от електродвигуна шлифовальной бабки. Внутришлифовальное пристрій предназначается также для затилочних червячных і резьбовых фрез, у которых производить ету операцию большим кругом невозможно.

При затыловании на центрах малым (внутришлифовальным) кругом применяется специальная задня бабка, у которой опорный центр вынесен в сторону круга. Изделия з внутренней резьбой укрепляются в четырехкулачковом патроне. Для удобства ввода в нитку малых різьб со верстатом поставляется съемный резьбопрофильный микроскоп.

На станке 5822М возможно шлифование архимедовых і конволютных червяков. При шлифовании конволютных червяков правящее пристрій наклоняется на угол подъема витков червяка. Усунення искривлений профиля витка, неизбежных при шлифовании архимедовых і конволютных червяков з углом подъема винтовой линии более 4°, достигается коррекцией профиля круга. Для коррекции профиля круга используется специальное пристрій, которое устанавливают на центры верстата.

Шлифование на станке може выполняться тремя способами:

  1. одно- і многониточным кругом в одну сторону з автоматическим или ручным остановом стола в кінці ходу
  2. одно- і многониточным кругом в обе стороны з автоматическим или ручным реверсом стола в кінці каждого ходу
  3. многониточным кругом з врезной автоматичною подачей на полную или заданную глубину різьби автоматическим отводом круга от вироби і остановом

Верстат необходимо полностью изолировать от сотрясений і вибраций, создаваемых работающими верстатами і машинами, расположенными поблизости.


Класс точності верстата В.

Шероховатость прошлифованной поверхности різьби Ra < 0,63 мкм.

Корректированный уровень звуковой мощности LpA не должен превышать 93 дБА.

Верстат соответствует высшей категории качества.

Проектная организация — Московский завод координатно-расточных верстатів.


Шлифование різьби

Шлифование різьби

Шлифование різьби выполняют на специальных резьбошлифовальных верстатах. Шлифуют резьбу на термически обработанных деталях, имеющих большую твердость (более HRC 40), а также на виробих, требующих високою точності.

Шлифование ведется однониточным (фиг. 15, а) или многониточным кругом з поздовжньої подачей, а также многониточным широким кругом з поперечної (врезной) подачей при обработке коротких резьб.

При шлифовании однониточным кругом, его устанавливают на станке з наклоном оси круга к оси вироби, равным углу подъема різьби. Многониточные круги (фиг. 15, б), имеющие кольцевые канавки з профилем шлифуемой різьби, устанавливают параллельно оси обрабатываемой детали. Полная обработка різьби в данном случае Происходит за 1,3—1,4 оборота вироби.

Правка шлифовального круга совершается автоматически во время роботи резьбошлифовального верстата. Шлифование производят, как правило, мелкозернистыми електрокорундовыми кругами (ЭБ) на керамической или вулканитовой связке.


Розміри метрической різьби

Метрическая резьба


Класифікація резьб

Все різьби можно разделить на наступні группы:

Метрические різьби

Метрические різьби применяют головним образом в винтовых соединениях деталей.

Тугие метрические різьби применяются для посадки шпилек в корпусы изделий і в других подобных случаях, когда требуется устранить возможность вывинчивания шпильки при отвинчивании гайки или її самоотвинчивания без додаткових крепежных деталей.

Стандартами на метрические різьби предусматриваются елементы різьби диаметров до 1 мм (0,25—0,9 мм) і свыше 1 мм (1—600 мм).

Угол профиля метрических різьб составляет 60°.

Шаг метрических різьб измеряется в миллиметрах.

Вершина профиля гвинта і гайки выполняется плоско-срезанной, а впадина різьби гвинта і гайки — по радиусу.

Основні определения резьбообробки

Профиль різьби — след от сечения її витка плоскостью, проходящей через ось цилиндра, на котором образована резьба.

Угол профиля α — угол между боковыми сторонами профиля, измеряемый в осевой плоскости.

Шаг різьби s — расстояние между двумя одноименными сторонами профиля, измеренное вдоль оси різьби. Шаг різьби измеряется в миллиметрах или числом ниток (витков) на 1" (дюйм).

Ход різьби — длина переміщення гвинта вдоль его оси за один полный оборот. При многоходовой резьбе ход равен произведению шага на число заходов.

Наружный диаметр різьби d — диаметр цилиндра, описанного относительно вершин наружной різьби і впадин внутренней різьби.

Внутренний диаметр різьби d1 — диаметр цилиндра, описанного относительно впадин наружной різьби і вершин внутренней різьби.

Средний диаметр різьби d2 - диаметр цилиндра, пересекающего профиль різьби так, чтобы ширина впадин оказалась равной ширине выступов.

Длина свинчивания — длина сопряжения резьбовых поверхностей гвинта і гайки, измеренная вдоль оси різьби.

Высота профиля H — высота треугольника, полученного при продолжении боковых сторон профиля до их пересечения.

Рабочая высота витка h — наибольшая высота соприкосновения сторон профиля резьбовой пары, измеренная радиально.





Габарит робочого простору резьбошлифовального верстата 5822М

5822М Габарит робочого простору резьбошлифовального верстата

Габаритные розміри робочого простору верстата 5822м


Посадочные і присоединительные базы верстата 5822М. Четырехкулачковый патрон і поводковая планшайба. Передний конец шлифовального шпинделя

5822М Посадочные і присоединительные базы резьбошлифовального верстата. Четырехкулачковый патрон і поводковая планшайба

Посадочные і присоединительные базы верстата 5822м


Загальний вигляд і общее пристрій верстата 5822М

5822М універсальний резьбошлифовальный. Загальний вигляд

Фото резьбошлифовального верстата 5822м


5822М універсальний резьбошлифовальный. Загальний вигляд

Фото резьбошлифовального верстата 5822м





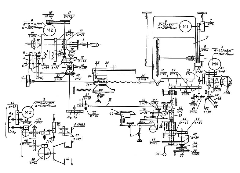
Схема кінематична резьбошлифовального верстата 5822М

Схема кінематична резьбошлифовального верстата 5822М

Кінематична схема резьбошлифовального верстата 5822м

Схема кінематична резьбошлифовального верстата 5822М. Дивитись у збільшеному масштабі


Основні вузли резьбошлифовального верстата 5822М


Основні переміщення в резьбошлифовальном станке 5822М

Для обертання шпинделя вироби применен бесступенчатый електродвигатель 9 постоянного тока, питаемый от електромашинного усилителя з широким диапазоном регулювання. Верстат имеет диференціал, з помощью которого можно затыловать детали со спиральными канавками.

Главное движение (вращение шлифовального круга) осуществляется от електродвигуна 6 через ременную передачу со сменными шкивами 7 і 8.

Круговая подача (вращение заготовки) производится електродвигуном 9 через ременную передачу со шкивами 10—11 і червячную пару 12—13.

Продольная подача стола з заготовкой осуществляется от шпинделя I через зубчасті колеса 14-15 или 16-17, муфту 1, сменные колеса гітари подач а — b, з — d і ходовой винт 34.

Передаточное отношение гітари подач подсчитывают, как і для винторезных ланцюгів, по формуле:

a/b·c/d = C·ktн/tв

где

Поперечное перемещение шлифовальной бабки 5 осуществляется вручную маховичком 37 через колеса 40-41 или 42—43 на ходовой винт 66 или механически от електродвигуна 3 через зубчасті колеса 52—53, червячную пару 54—55, колеса 62—63, храповой механізм 65-64 і колеса 60—61, 58—57—56 на ходовой винт 66.

Верстат снабжен специальным механізмом, позволяющим затыловать зубья инструмента з прямыми і винтовыми канавками. При затыловании инструмента з прямыми канавками настраивается только гітара затилочних (а2 — b2) , а при винтовых канавках настраиваются две гітари: диференціала (a1 — b1, c1 - d1) і затилочних (а2 — b2).

Ланцюг переміщення шлифовальной бабки при затыловании берет начало от шпинделя вироби і далее через червячную пару 13-12, зубчасті колеса 18—19, диференціал 20, сменные колеса а2 — b2 , зубчасті колеса 21—22, вал II, коническую пару 23—24, колеса 25—26, кулачок 27, рычаг 28 і винтовую пару 29—66 передает рух бабке 5 со шлифовальным кругом. Число зубьев сменных колес гітари затилочних подсчитывают по формуле:

a2/b2 = C3/zk

где:

Ланцюг дополнительного поворота при затыловании инструмента з винтовыми канавками идет от шпинделя изделий I через зубчасті колеса 14 — 15 или 16 — 17, сменные колеса гітари диференціала a1 — b1, c1 — d1, червячную пару 30 — 31 і далее по предыдущей ланцюги.

В етом случае передаточное отношение гітари диференціала подсчитывают по формуле:

a1/b1 · c1/d1 = Cдtн/s

где

Быстрый отвод шлифовальной бабки производится з помощью рукоятки 36. Передача 38—39 служит для микроподачі. В станке имеется корректирующее пристрій для компенсации погрешностей шага ходового гвинта 34. Пристрій имеет поворотную линейку 32, связанную через ролик 33 і рычаг 67 з гайкой 35 ходового гвинта. Линейка 44, установленная на станине 4, служит для шлифования конусов.

Механізм для правки шлифовального круга приводится в рух от електродвигуна 2 через зубчасті колеса 45—46, сменные колеса a3 - b3, червячные пары 47-48 і 49-50 і колеса 57.





5822 Верстат резьбошлифовальный напівавтомат. Відеоролик.


Настановне креслення резьбошлифовального верстата 5822М

Настановне креслення резьбошлифовального верстата 5822М

Настановне креслення резьбошлифовального верстата 5822м


Технічні характеристики резьбошлифовального верстата 5822М

Наименование параметра 5822 5822м 5к822в
Основні параметри верстата
Класс точності Н Н В
Наибольший диаметр устанавливаемого вироби, мм 200 200 200
Наибольшая длина устанавливаемого вироби, мм 500 500 500
Наибольший угол подъема винтовой линии шлифуемой різьби, мм ±30 ±30
Величина переміщення шлифовальной бабки от механізма швидкого відведення, мм 6 6
Наибольший диаметр кінця шлифовального шпинделя, мм 50 50
Конус отверстия в шпинделе передньої бабки і пиноли задньої бабки Морзе 4 Морзе 4
Наибольшая масса устанавливаемого вироби, кг 30 30
Пределы частот обертання шпинделя вироби - рабочих, 1/мин 0,3..55 0,3..55
Пределы частот обертання шпинделя вироби - ускоренных, 1/мин 28..100 28..100
Наибольшая частота обертання шпинделя вироби при затыловании, 1/мин 27 27
Расстояние между осью шлифовального круга і линией центров, мм 150..275 150..275 150..275
Основні параметри верстата при шлифовании наружной різьби
Наибольший диаметр шлифуемой різьби однониточным кругом, мм 2..150 3..150 3..150
Наибольший диаметр шлифуемой різьби многониточным кругом, мм 4..120 10..120 10..120
Наибольшая длина шлифуемой різьби однониточным кругом (Расстояние от вершины переднего центра до кінця зоны шлифования), мм 400 375 375
Наибольшая длина шлифуемой різьби многониточным кругом, мм 360 335
Шаг метрической остроугольной різьби, шлифуемой однониточным кругом, мм 0,25..24 0,25..24 0,25..24
Шаг дюймовой різьби, шлифуемой однониточным кругом, число ниток на дюйм 28..3 28..3 28..3
Шаг модульной різьби, шлифуемой однониточным кругом, модуль 0,3π..14π 0,3π..14π 0,3π..14π
Шаг трапециодальной різьби, шлифуемой однониточным кругом, мм 2..4
Шаг метрической різьби, шлифуемой многониточным кругом, мм 1..4 1..4 1..4
Шаг дюймовой різьби, шлифуемой многониточным кругом, число ниток на дюйм 24..6 24..6
Наибольшая высота профиля шлифуемой модульной різьби з углом а/2=20°, мм 18 18 18
Наибольший ход винтовой линии шлифуемой різьби, мм 20 44
Число заходов шлифуемой многозаходной різьби 1,2,3,4,6,8,12,24 1,2,3,4,6,8,12,24 1,2,3,4,6,8,12,24
Наибольшая конусность шлифуемой наружной конической різьби, конусность (град) 1:16 (1°47′24″) 1:16 (1°47′24″) 1:16 (1°47′24″)
Наибольшая длина шлифуемой наружной конической різьби, мм 60 60
Величина затилочного переміщення шлифовальной бабки, мм 0,03..4 0,02..2,5 0,02..2,5
Число затылуемых канавок вироби 2,3,4,6,8,9, 10,12,14,16 2,3,4,6,8,9, 10,12,14,16 2,3,4,6,8,9, 10,12,14,16
Шаг метрической остроугольной різьби на плоской плашке или зубчатой рейке, шлифуемой однониточным кругом, мм 0,5..6
Шаг метрической остроугольной різьби на плоской плашке или зубчатой рейке, шлифуемой многониточным кругом, мм 0,75..4
Шаг дюймовой різьби на плоской плашке или зубчатой рейке, шлифуемой однониточным кругом, число ниток на дюйм 6
Наибольшая ширина і длина плоской плашки или зубчатой рейки,мм 150 х 120
Половина угла профиля шлифуемой різьби, град 3..30 3..30
Окружная скорость шлифовального круга на диаметре 400 м/с (35;50)±5% (35;50)±5%
Частота обертання шлифовального круга при наружном шлифовании, 1/мин 1440, 1680, 2010, 2380 1440, 1680, 2010, 2380
Основні параметри верстата при шлифовании внутренней різьби
Наибольший диаметр устанавливаемого вироби, мм 160 160 160
Диаметр шлифуемой різьби, мм 25..125 25..125 30..125
Наибольшая длина шлифуемой різьби при наибольшем її диаметре однониточным кругом, мм 25..75 25..75 25..75
Наибольшая длина шлифуемой різьби при наибольшем її диаметре многониточным кругом, мм 55 55 45
Наибольший угол подъема винтовой линии шлифуемой різьби, град ±8 ±8
Шаг різьби, шлифуемой однониточным кругом - метрической, мм 0,5..6 0,5..6 0,5..6
Шаг різьби, шлифуемой - дюймовой, число ниток на дюйм 28..4 28..4
Шаг різьби, шлифуемой однониточным кругом - модульной, мм 0,2π..2π 0,2π..2π
Шаг метрической різьби, шлифуемой многониточным кругом, мм 1..3 1..3
Наибольшая конусность шлифуемой внутренней конической різьби 1:16 1:16 1:16
Наибольшая длина шлифуемой внутренней конической різьби, мм 45 60
Наибольшая высота профиля шлифуемой різьби, мм 18 18
Наибольший ход винтовой линии шлифуемой різьби, мм 20 44
Число заходов шлифуемой многозаходной різьби 2,3,4,6,8,12,24 2,3,4,6,8,12,24
Высота однониточного шлифовального круга, мм 6 6
Высота многониточного шлифовального круга, мм 20 20
Диаметр шлифовального круга, мм 20..100 20..100
Число ступеней частоти обертання шлифовального круга 2 2
Окружная скорость шлифовального круга, м/с 35 35
Частота обертання шлифовального круга при внутреннем шлифовании, 1/мин 5155, 9115, 11670 6000, 9000, 11800
Стол і бабки
Наибольшее продольное перемещение стола - от руки/ механически, мм 425/ 415
Наибольшее поперечное перемещение бабки - от руки/ механически, мм 125/ 50
Перемещение бабки на одно деление лимба/ один оборот лимба, мм 0,005/ 1
Перемещение бабки на одно микрометрическое деление лимба/ один оборот лимба, мм 0,0025/ 0,04
Наибольшее число двойных ходов шлифовальной бабки в минуту при наименьшем затыловочном перемещении 81 81
Высота однониточного шлифовального круга, мм 10 10
Высота многониточного шлифовального круга, мм 20, 40 20, 40
Наибольший угол поворота шлифовальной бабки в вертикальной плоскости, град ±15°
Наибольший диаметр шлифовального круга, мм 300..400 300..400 300..400
Ширина однониточного шлифовального круга, мм 10
Ширина многониточного шлифовального круга, мм 20..40
Предохранение механізма головного руху от перегрузки нет
Предохранение механізма подач от перегрузки нет
Число оборотів вироби в мин / ускорннное 0,3..45/ 100
Привід і електрообладнання верстата
Количество електродвигателей на станке 12
Електродвигун головного приводу - шлифовального шпинделя, кВт (об/мин) 4,5 (1440) 5,5 3;(5)
Електродвигун шпинделя вироби, кВт (об/мин) 0,45 (1500) 0,76 1,15
Електродвигун приводу електромашинного усилителя (встроенный), кВт (об/мин) 1,9 (2850) 3,23
Електродвигун приводу електромашинного усилителя, кВт (об/мин) 1,2 (2850)
Електродвигун змазки шлифовального шпинделя, кВт (об/мин) 0,08 (1390) 0,08
Електродвигун змазки верстата, кВт (об/мин) 0,08 (1390) 0,08
Електродвигун насоса охлаждения, кВт (об/мин) 0,75 (2850) 0,55 0,55
Електродвигун приводу вентилятора, кВт (об/мин) 0,6 (2800) 0,6
Електродвигун магнитного сепаратора, кВт (об/мин) 0,12 0,12
Електродвигун приспособления для шлифования центра, кВт (об/мин) 0,08 (2760) 0,08
Електродвигун подачі правильного прибора, кВт (об/мин) 0,05 (1390) 0,05
Електродвигун приводу правильного прибора, кВ (об/мин)т 0,05 (1390) 0,05
Електродвигун приводу редуктора накатки многониточного круга, кВт 0,25 (2800) 0,27
Суммарная мощность електродвигателей, кВт
Габаритные розміри і масса верстата
Габаритные розміри верстата (длина х ширина х высота), мм 2510 х 2025 х 1480 2560 х 2290 х 1450 2330 х 2490 х 1710
Масса верстата з електрообладнанням і охолодженням, кг 3850 5000 5090

    Список литературы:

  1. Петруха П.Г. Резание конструкционных материалов, режущие инструменты і верстати, 1974, стр.457
  2. Гальперин Е.И. Наладка зуборезных верстатів, 1960.
  3. Козлов Д.Н. Зуборезные роботи, 1971.
  4. Лоскутов В.В., Ничков А.Г. Зубообрабатывающие верстати, 1978.
  5. Малахов Я.А. Зубообрабатывающие і резьбофрезерные верстати і их наладка, 1972.
  6. Мильштейн М.З. Нарезание зубчатых колес, 1972.
  7. Овумян Г.Г., Адам А.И. Справочник зубореза, 1983.
  8. Птицин Г.А., Кокичев В.Н. Зуборезные верстати, 1957.
  9. Сильвестров Б.Н., Захаров И.Д. Конструкція і наладка зуборезных і резьбофрезерных верстатів, 1979.
  10. Шавлюга Н.И. Расчет і примеры наладок зубофрезерных і зубодолбежных верстатів, 1978.
  11. Руководящий материал для конструкторов, проектирующих технологическую оснастку. Основні данные і посадочные места металлорежущих верстатів. НИИМАШ, 1968.









Заказать

Кто владеет информацией - тот владеет миром.

Натан Ротшильд