Постачальником настільного токарно-гвинторізного верстата Корвет-401 є Енкор-Інструмент-Воронеж, ТОВ , засноване в 1992 році. Адреса сайту: http://www.enkor.ru/, сайт інтернет-магазину www.enkor24.ru.
Виробник – компанія Shanghai Joye Import & Export Co., Ltd. , Китай, м. Шанхай, заснована у липні 2003 року.
Токарний верстат металу Корвет 401 призначений для обробки заготовок з металу, деревини, всіх видів пластмаси методом точення.
Токарний верстат Корвет 401 є настільним універсальним токарно-гвинторізним верстатом і призначається для всіляких токарних робіт:
Традиційне наочне компонування верстата Корвет 401 у поєднанні з відпрацьованою кінематичною схемою дозволяє впевнено забезпечити токарну обробку з класом точності Н протягом тривалого терміну експлуатації.
У порівнянні з пропонованими на ринку малогабаритними верстатами - він простий в експлуатації, надійний та довговічний.
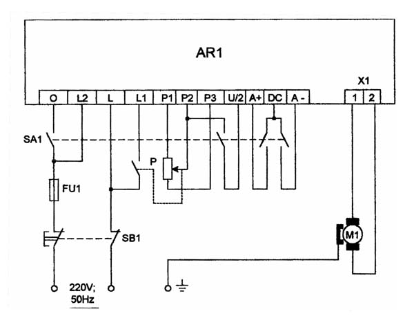
Токарний верстат Корвет 401 працює від однофазної мережі змінного струму напругою 220 В частотою 50 Гц.
Верстат Корвет 401 може експлуатуватися за таких умов:
Особливості конструкції токарного верстата по металу Корвет 401 :



Схема складання токарно-гвинторізного верстата Корвет-401. Дивитись у збільшеному масштабі
| № Код - Найменування - Кількість | № Код - Найменування - Кількість |
|---|---|
|
|

Верстат підключається до розетки мережі 220В. 50Гц за допомогою вилки із заземлюючим контактом. Перед підключенням необхідно перевірити надійність з'єднання верстата із заземлюючим контактом вилки.
Для включення верстата необхідно:
Зміна частоти обертання прямо пропорційно напрузі, що надходить від перетворювача AR1.
Вимкнути верстат можна трьома способами:
У будь-якому випадку, для відновлення роботи увімкнути обертання можна тільки так, як було описано вище. Тому для тимчасового вимкнення обертання користуйтеся регулятором, плавно зменшуючи частоту обертання. Використовуйте кнопку аварійного вимкнення за призначенням.
Від перевантажень та короткого замикання електроустаткування верстата захищене запобіжником FU1. У разі його перегорання встановіть аналогічний запобіжник або зверніться до центру обслуговування.
| Найменування параметру | Корвет-400 | Корвет-401 | Корвет-402 | Корвет-403 |
|---|---|---|---|---|
| Основні параметри верстата | ||||
| Найбільший діаметр заготовки над станиною, мм | 180 | 180 | 220 | 220 |
| Найбільший діаметр заготовки над супортом, мм | ||||
| Найбільша довжина заготовки у центрах (РМЦ), мм | 300 | 300 | 500 | 750 |
| Рекомендована глибина точення за один прохід, мм | 0,1 | 0,1 | 0,2 | 0,2 |
| Максимальна глибина точення за один прохід, мм | 0,2 | 0,2 | 0,3 | 0,3 |
| Максимальний розмір державки різця, мм | 8 х 8 | 10 х 10 | 13 х 13 | 13 х 13 |
| Шпиндель | ||||
| Діаметр наскрізного отвору в шпинделі, мм | 20 | 20 | 20 | 20 |
| Конус Морзе шпинделя | Морзе 3 | Морзе 3 | Морзе 3 | Морзе 3 |
| Число ступенів частот прямого обертання шпинделя | Б/с | Б/с | 6 | 6 |
| Частота прямого обертання шпинделя, об/хв | 0..1100, 0..2500 | 0..1100, 0..2500 | 100, 250, 350, 500, 900, 1800 | 100, 250, 350, 500, 900, 1800 |
| Число ступенів частот зворотного обертання шпинделя | Б/с | Б/с | 6 | 6 |
| Частота зворотного обертання шпинделя, об/хв | 0..1100, 0..2500 | 0..1100, 0..2500 | 100, 250, 350, 500, 900, 1800 | 100, 250, 350, 500, 900, 1800 |
| Диаметр токарного патрона, мм | 80 | 80 | 100 | 100 |
| Найбільше радіальне биття шпинделя, мм | 0,01 | 0,01 | 0,01 | 0,01 |
| Гальмування шпинделя | немає | немає | немає | немає |
| Блокування рукояток | немає | немає | немає | немає |
| Супорт. Подання | ||||
| Найбільше поздовжнє переміщення каретки супорта, мм | 405 | |||
| Переміщення супорта поздовжнє на один поділ лімба, мм | 0,025 | 0,025 | 0,025 | 0,025 |
| Найбільше поперечне переміщення супорта, мм | 65 | 65 | 110 | 110 |
| Переміщення супорта поперечне на один поділ лімба, мм | 0,025 | 0,025 | 0,025 | 0,025 |
| Найбільше переміщення верхніх (різцевих) санок (поворотного супорта), мм | 35 | 35 | 50 | 50 |
| Переміщення різцевих санок на один поділ лімба, мм | 0,25 | 0,025 | 0,025 | 0,025 |
| Кут повороту різцевих санчат, град | ±45° | ±45° | ±45° | ±45° |
| Число ступенів поздовжніх подач супорта | Б/с | Б/с | ||
| Межі поздовжніх робочих подач супорту, мм/про | Б/с | Б/с | 0,12..0,33 | 0,11..0,30 |
| Межі робочих поперечних подач супорта, мм/про | немає | немає | немає | немає |
| Кількість нарізних різьблень метричних | 9 | 9 | 12 | 12 |
| Межі кроків різьб метричних, що нарізаються, мм | 0,4..2,0 | 0,5..2,5 | 0,5..3,0 | 0,5..3,0 |
| Межі кроків різьблення дюймових | немає | немає | 8..56 | 8..56 |
| Межі кроків різьблення модульних | немає | немає | немає | немає |
| Межі кроків різьблення питних | немає | немає | немає | немає |
| Задня бабка | ||||
| Конус Морзе задньої бабки | №2 | №2 | №2 | №2 |
| Найбільше переміщення пінолі, мм | 40 | 40 | 40 | 40 |
| Електроустаткування | ||||
| Номінальна напруга живлення, | 220 в 50 Гц | 220 в 50 Гц | 220 в 50 Гц | 220 в 50 Гц |
| Електродвигун головного приводу, кВт | 0,4 колекторний | 0,5 колекторний | 0,75 | 0,75 |
| Габарити та маса верстата | ||||
| Габарити верстата (довжина ширина висота), мм | 770 х 330 х 330 | 850 х 305 х 320 | 1030 х 480 х 475 | 1250 х 480 х 475 |
| Маса верстата, кг | 37 | 38 | 105 | 120 |