Виробник заточувального верстата для дискових пилок 3Д692 - Вітебський завод заточувальних верстатів Візас , заснований у 1897 році.
З 1940 року підприємство спеціалізується на випуску заточувального обладнання та на сьогоднішній день є єдиним у СНД виробником верстатів для виготовлення та заточування будь-якого різального інструменту. Продукція заводу експлуатується більш як у шістдесяти країнах світу.
В кінці 80-х верстат 3Д692 був замінений на більш досконалу модель - 3Е692 .
Напівавтомат заточувальний для дискових пилок 3Д692 призначений для заточування круглих сегментних пилок для металу за ГОСТ 4047-82 і ГОСТ 18210-72 за профілем зуба і перехідними ріжучими кромками периферією абразивного кола, заправленого по радіусу.
Обробка уступу на передній грані під кутом 28° на прорізному зубі пил за ГОСТ 18210-72 на напівавтоматах не передбачається.
Напівавтомат 3Д692 може бути застосований у різних галузях промисловості:
Клас точності напівавтоматів – П за ГОСТ 8-82.

Основні розміри та посадкові місця заточувального верстата 3д692
де:

Фото заточувального верстата для дискових пилок 3д692

Фото заточувального верстата для дискових пилок 3д692

Фото заточувального верстата для дискових пилок 3д692

Ніша змінних кулаків верстата 3д692

Фото заточувального верстата для дискових пилок 3д692

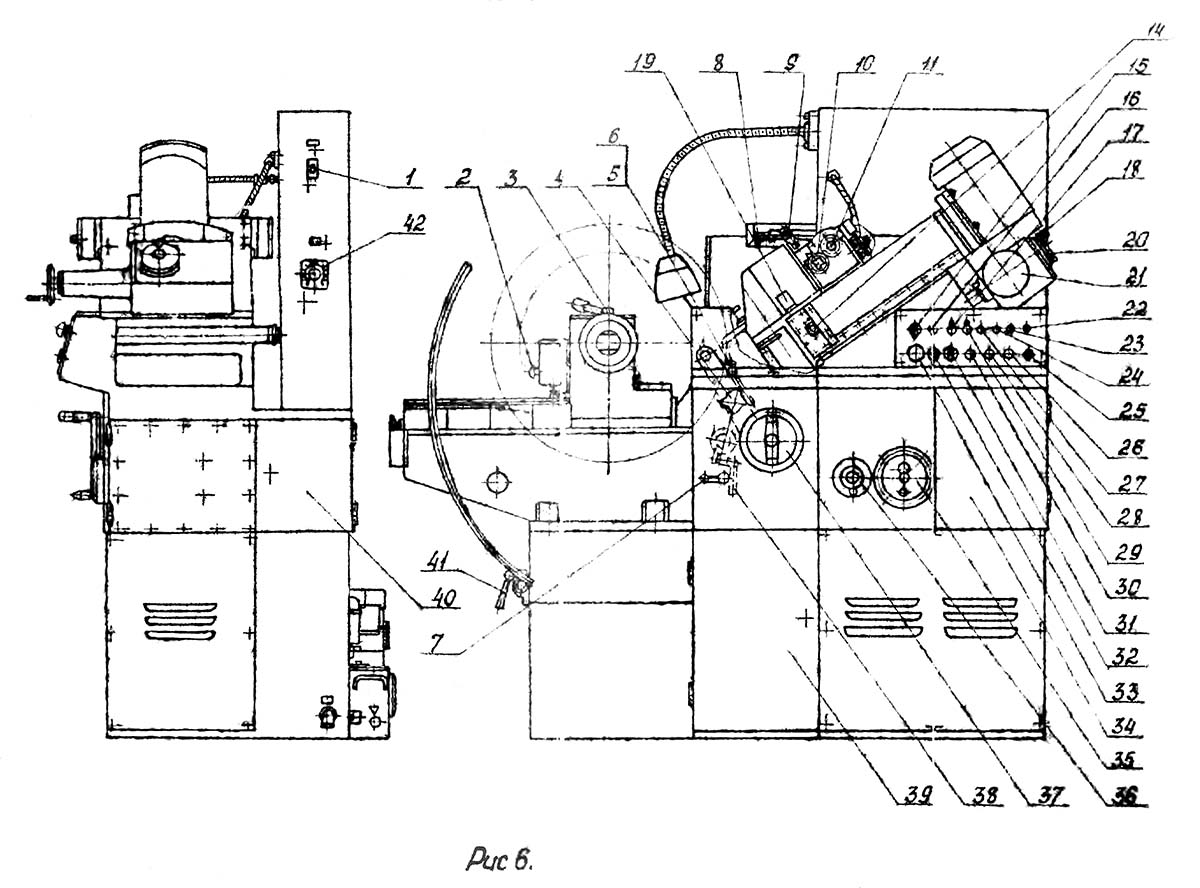
Розташування складових частинин заточувального верстата 3д692
Розташування складових частинин заточувального верстата 3д692. Завантажити у збільшеному масштабі
Комплект приладдя - 3Д692.90.000
Пристрій для контролю зубів пилок - 3Д692.95.000

Розташування органів керування заточувальним верстатом 3д692
Розташування органів керування заточувальним верстатом 3Д692. Завантажити у збільшеному масштабі

Кінематична схема заточного верстата 3д692
Схема кінематична заточного верстата 3Д692. Скачать в увеличенном масштабе

Схема схема розположення електроустаткування на 3д692
| Наименование параметра | 3Д692 | 3Е692 |
|---|---|---|
| Основні параметри | ||
| Класс точності по ГОСТ 8-82 | П | П |
| Наибольшие розміри затачиваемых пил, мм | 275..1430 | 250..1430 |
| Наибольшее количество зубьев затачиваемых пил | 56.288 | |
| Величина углов зубьев пил, (передний/ задний), град | 5/3, 10/5, 15/8 20/10, 25/15 |
5/3, 10/5, 15/3 20/8, 20/12, 25/15 |
| Шлифовальная бабка | ||
| Тип шлифовального круга ГОСТ 2424-83 | ПП | |
| Наибольший диаметр шлифовального круга, мм | 300 | 300 |
| Высота шлифовального круга, мм | 6..16 | 6..25 |
| Диаметр отверстия шлифовального круга (внутренний диаметр), мм | 127 | 76 |
| Частота обертання шпинделя шлифовального круга, об/мин | 1600, 1920 | |
| Наибольшая окружная скорость шлифовального круга, м/с | 30 | |
| Розміри кінця шпинделя шлифовальной бабки - диаметр х длина | 32 х 40 | 32 х 40 |
| Конус кінця шпинделя шлифовальной бабки | 1:5 | 1:5 |
| Частота двойных ходов шлифовальной головки для пил по ГОСТ 4047-82 | 20..130 | 20..130 |
| Частота двойных ходов шлифовальной головки для пил по ГОСТ 18210-72 | 20..40 | |
| Величина переміщення шлифовальной головки при заточке по ГОСТ 4047-82, мм | 4..20 | 4..20 |
| Величина переміщення шлифовальной головки при заточке по ГОСТ 18210-72, мм | 10..40 | |
| Величина установочного переміщення шлифовальной головки, мм | 70 | 70 |
| Величина автоматичною подачі шлифовального круга, мм | 0,03 | 0,025 |
| Интервал между подачами, число заточенных зубьев | 1..75 | 1..75 |
| Число оборотів пилы при выхаживании, оборот | 1..10 | 1..3 |
| Наибольшее перемещение шлифовального круга на врезание за цикл, мм | 5 | 5 |
| Бабка вироби | ||
| Диаметр посадочного кінця шпинделя бабки вироби, мм | 32h6 | 32h6 |
| Установочное перемещение бабки вироби, мм | 630 | 680 |
| Межі різниці висот двох сусідніх зубів, мм | 0..2 | |
| Електроустаткування та привід верстата | ||
| Кількість електродвигунів на верстаті | 5 | 6 |
| Електродвигун приводу шпинделя шліфувального круга, кВт (об/хв) | 2,2 (1420) | 2,2 (2850) |
| Електродвигун механізму редагування, кВт (об/хв) | 0,12 (1375) | 0,12 (1375) |
| Електродвигун допоміжних рухів, кВт (об/хв) | 2,2 (1500) | 2,2 (3150) |
| Електродвигун насоса охолодження, кВт (об/хв) | 0,12 (2800) | 0,12 (2710) |
| Електродвигун настановного переміщення пили, кВт (об/хв) | - | 0,37 (1400) |
| Електродвигун магнітного сепаратора, кВт (об/хв) | 0,09 (1370) | 0,12 (1375) |
| Сумарна потужність усіх електродвигунів, кВт | 4,73 | 5,13 |
| рід струму мережі живлення | 50Гц, 380/220 В | 50Гц, 380/220 В |
| Габарити та маса верстата | ||
| Розміри машини, мм | 1930 х 890 х 1890 | 2450 х 960 х 1910 |
| Маса верстата, кг | 2450 | 1860 рік |
Той, хто не дивиться вперед, виявляється позаду.
Г. Уеллс