Виробник універсального заточувального верстата ВЗ-319 - Вітебський завод заточувальних верстатів Візас , заснований у 1897 році.
З 1940 року підприємство спеціалізується на випуску заточувального обладнання та на сьогоднішній день є єдиним у СНД виробником верстатів для виготовлення та заточування будь-якого різального інструменту. Продукція заводу експлуатується більш як у шістдесяти країнах світу.
Заточувальний настільний верстат ВЗ-319 призначений для заточування різальних інструментів периферією та торцем абразивного, алмазного та ельборового шліфувального кола. Можливе виконання плоского шліфування. Оброблювані матеріали: інструментальна сталь, тверді метали, мінералокераміка.
Найбільший діаметр виробу, що встановлюється у центрових бабках – 100 мм. Найбільша довжина виробу, що встановлюється у центрових бабках – 200 мм.
Область застосування верстата ВЗ-319 : заточувальні, лекальні та слюсарні ділянки заводів різних галузей промисловості, пов'язаних з металообробкою, а також майстерні, кооперативи.
Верстат ВЗ-319 складається зі станини коробчастої форми, усередині якої є ніша з електроустаткуванням. На станині змонтовано колону та хрестовий стіл. Колона несе на собі шліфувальну бабку. На дзеркало хрестового столу встановлюється поворотний стіл або каретка з бабкою виробу. Наявність у станині паза для перевстановлення хрестового столу та його повороту дозволяє значно розширити робочу зону верстата за мінімальних габаритів.
Поворот шліфувального шпинделя щодо осей колони та осі двигуна також підвищує зручність використання верстатом ВЗ319.
Вид кліматичного виконання та категорія розміщення верстата УХЛ4.1, за ГОСТ 15150-R9
За рахунок ексцентричного розташування шпинделя положення шліфувального шпинделя може змінюватися в межах 195 мм.
В основний комплект поставки входить бабка виробу з наступною технічною характеристикою:
З верстатом за заявкою за окрему плату можуть поставлятися такі пристрої:

Базові та приєднувальні розміри верстата ВЗ-319
Базові та приєднувальні розміри верстата ВЗ-319. Дивитись у збільшеному масштабі
Базові та приєднувальні розміри верстата

Фото заточувального верстата ВЗ-319

Фото заточувального верстата ВЗ-319

Фото заточувального верстата ВЗ-319

Фото заточувального верстата ВЗ-319

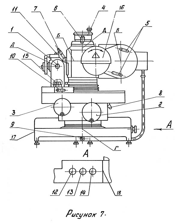
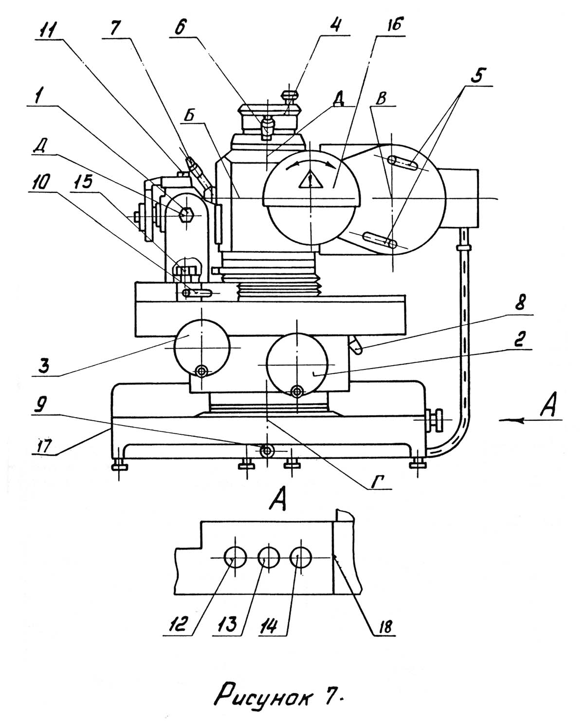
Розташування складових частинин заточувального верстата ВЗ-319
Розташування складових частинин заточувального верстата ВЗ-319. Дивитись у збільшеному масштабі

Розташування органів керування заточувальним верстатом ВЗ-319
Розташування органів керування заточувальним верстатом ВЗ-319. Дивитись у збільшеному масштабі

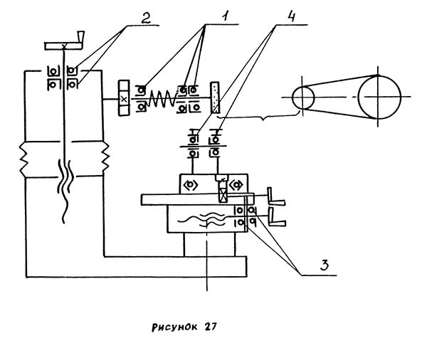
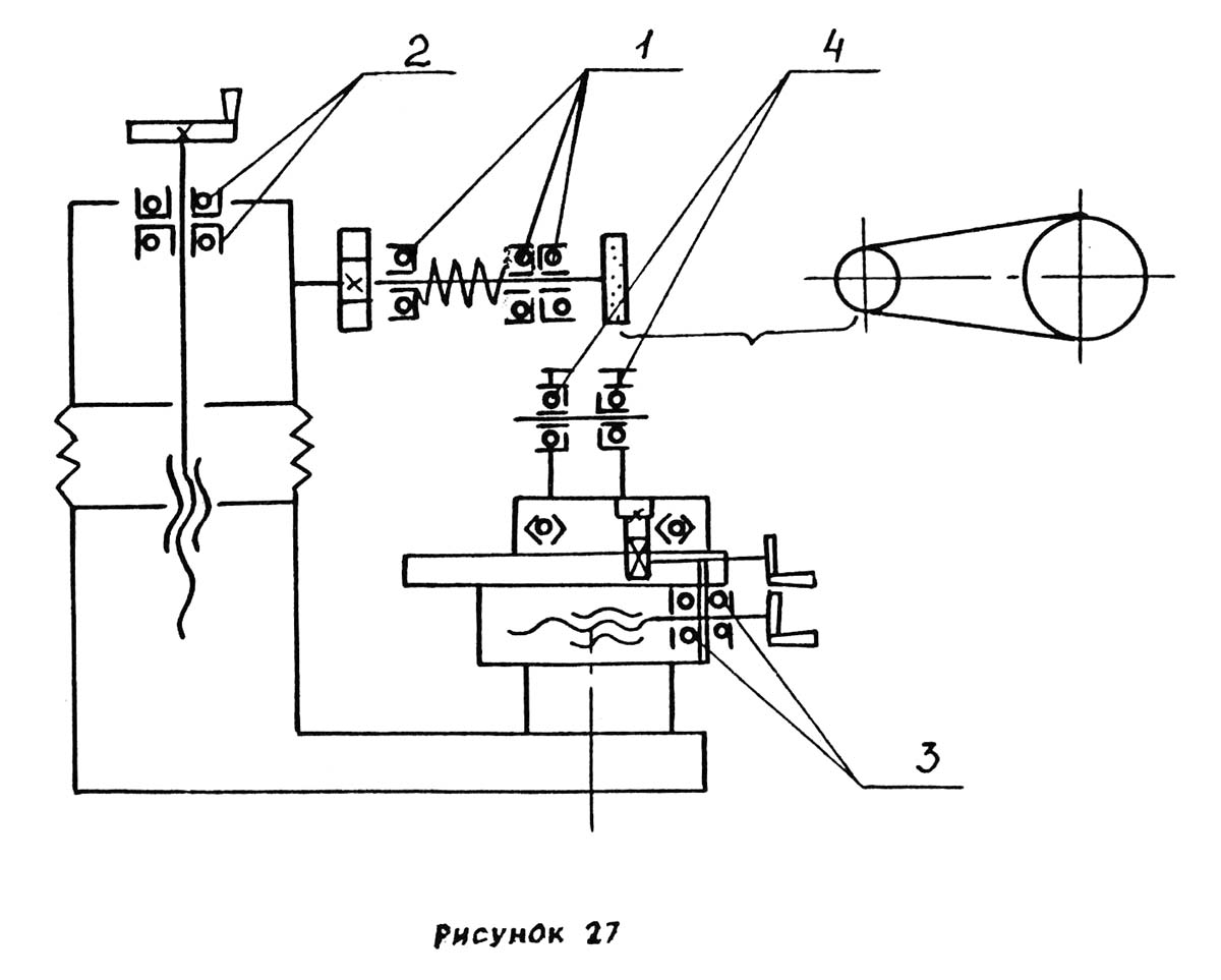
Кінематична схема заточувального верстата ВЗ-319
1. Схема кінематична заточувального верстата ВЗ-319. Дивитись у збільшеному масштабі
Кінематика верстата забезпечує наступні переміщення робочих органів:
Станіна являє собою корпус 1 коробчастої форми з горловиною для встановлення шліфувальної бабки з колоною. У нижній частинині горловини встановлений фланець 2, що несе гайку механізму 3 вертикального переміщення шліфувального круга. У задній частинині горловини встановлена шпонка 4, що забезпечує напрям вертикального переміщення колони шліфувальної бабки, і 5 пристрій затиску колони шліфувальної бабки.
У передній частинині станини є горизонтальна площина із пазом для встановлення хрестового столу.
У нижній частинині станини є ніша із встановленою в ній електроапаратурою.
На вертикальной плоскости корпуса 1 шлифовальной бабки установлен на оси поворотной кронштейн 2, несущий поворотный корпус 3 шлифовальной головки В гильзе 4 поворотного корпуса 3 шлифовальной головки на підшипниках установлен шпиндель 5 шлифовального круга, вращающийся от електродвигуна 6, закрепленного на поворотном кронштейне 2, через ременную зубчатую передачу 7. Наружная цилиндрическая поверхность гильзы 4 используется для установки на ней кожуха шлифовального круга і других приладдя. Крепление поворотного корпуса 3 шлифовальной головки осуществляется рукоятками 8 через Т-образные болты, установленные в круговом пазу поворотного кронштейна 2. Крепление поворотного кронштейна 2 в корпусе 1 осуществляется рукояткой 9 через тягу 10. Поворотный корпус 3 шлифовальной головки установлен на поворотном кронштейне 2 посредством оси - фланца 11, к которому поворотный корпус 3 прикреплен гвинтами
В гильзе 12 корпуса 1 на підшипниках установлен винт 13 вертикального переміщення шлифовальной бабки, взаимодействующий з гайкой станины. Вращение гвинта 13 осуществляется маховиком 14. Фиксация корпуса 1 на колонне осуществляется рукояткой 15.
Стол крестовый устанавливается на передньої горизонтальной плоскости і в пазу станины і состоит из поворотного основания 1, в поперечных направляючих которого установлены крестовые салазки 2 поперечного переміщення стола і верхнего стола 3, установленного в направляючих продольного переміщення крестовых салазок 2. Поперечное перемещение осуществляется передачей винт-гайка по направляющим ковзання . Продольное перемещение стола 3 осуществляется з помощью реечной передачи по направляющим качения.
На передньої стенке верхнего стола 3 на направляющей планке 4 устанавливаются регулируемые упоры 5 продольного переміщення, взаимодействующие з нерухомим упором крестовых салазок 2. Крепление основания 1 на станине осуществляется при помощи РУКОЯТКИ 6.
Съемник предназначен для съема оправок шлифовальных кругов со шпинделя шлифовальной бабки.
Каретка устанавливается на верхний стол крестового стола і предназначена для установки на нее различных приладдя (стол поворотный і др) і пристосувань.
Каретка состоит из корпуса 1, прижима 2 з рукояткой 3, оси 4 і лимба 5.
Устанавливаемые на каретку принадлежности і приспособления крепятся болтом 6 на оси 4
Комплект кожухов предназначен для ограждения шлифовальных кругов диаметром до 150 мм различных типов.
Кожух 1 закрепляется на гильзе шлифовальной головки з помощью хомута 2.
Стол поворотный предназначен для заточки инструмента, устанавливаемого в центровых бабках или в бабке вироби под различными углами в горизонтальной плоскости. Стол устанавливается на ось каретки (ВЗ-319.90.020) і крепится к ней.
Пылеотвод предназначен для очистки воздуха рабочей зоны от пыли і мелкой стружки.
В состав пылевідведення входит сопло 1 з закрепленным на нем ниппелем 2. С помощью хомута 3, стержней 4 і 5, клеммы 6 і хомута 7 пылеотвод устанавливается на гильзе поворотного корпуса шлифовальной головки у кожуха шлифовального круга.
Подсоединение пылевідведення к соответствующему пылесосу, или к другой вентиляционной системе може производиться з помощью рукавов і других переходных елементів з креплением их к ниппелю 2.
Бабка вироби состоит из кронштейна 1 і установленного на его оси 2 корпуса 3. В корпусе 3 на підшипниках качения установлены шпиндель 4 з делительным диском 5 і подпружиненный фиксатор 6, взаимодействующий з делительным диском 5. При работе без участиния делительного диска фиксатор 6 отводится в верхнее положение і фиксируется в етом положении винтом 7, который вводится в отверстие фиксатора.
Бабка вироби може быть установлена на вертикальной оси каретки (ВЗ-319.90.020) или на поворотном столе (ВЗ-319.93.000) з креплением на специальном кронштейне (ВЗ-319 90.030).
Бабка вироби предназначена для затачивания хвостового і насадного инструмента по задньої і передньої поверхности заточка инструмента може производиться з делением по делительному диску или по упорке. При делении по упорке фиксатор выводится из паза делительного диска. Крепление затачиваемого вироби или цангового зажиму производится шомполом.
Комплект оправок предназначен для крепления шлифовальных кругов диаметром от 100 до 150 мм различных профилей з диаметром посадочных отверстий 20 і 32 мм.
Оправки для кругов диаметром более 100 мм снабжены сухарями для балансировки (см рисунок 3)
Ключи ВЗ-318.90.010А і ВЗ-318.90.020А предназначены для гаек на оправках шлифовальных кругов.

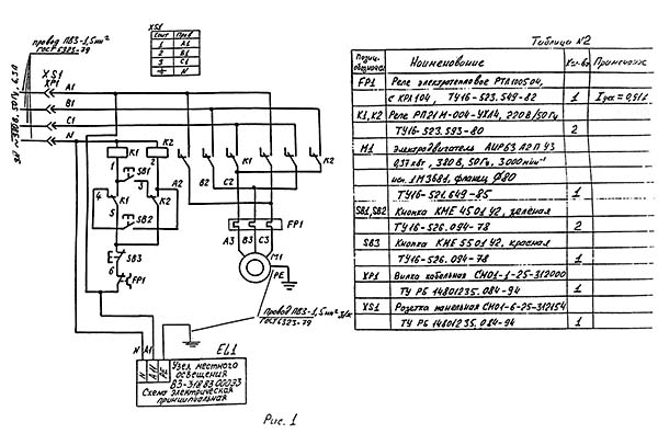
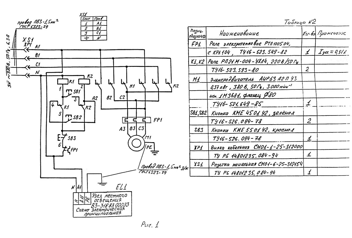
Електрична схема заточного верстата ВЗ-319
Схема електрична принципова заточного верстата ВЗ-319. Дивитись у збільшеному масштабі
| Наименование параметра | ВЗ-319 | ||
|---|---|---|---|
| Основні параметри | |||
| Класс точності по ГОСТ 8-82 | В | ||
| Наибольшие розміри обрабатываемых изделий в центрах (длина х диаметр), мм | Ø 100 х 200 | ||
| Высота центров над рабочим столом, мм | |||
| Рабочий стол верстата | |||
| Розміри рабочей поверхности стола (длина х ширина), мм | |||
| Наибольшее продольное перемещение стола, мм | 150 | ||
| Наибольшее поперечное перемещение стола, мм | 100 | ||
| Шлифовальная головка | |||
| Наибольшее вертикальное перемещение шлифовальной головки, мм | 40 | ||
| Наибольшее смещение оси шлифовального круга в горизонтальной плоскости за счет ексцентрической плиты, мм | 195 | ||
| Число оборотів заточного круга, об/мин | 4000 | ||
| Кінець шлифовального шпинделя | |||
| Наибольший диаметр устанавливаемого шлифовального круга (тип 1) (Ø наружный х посадочный х высота), мм | 150 х 32 х 40 | ||
| Електроустаткування і привід верстата | |||
| Електродвигун приводу шпинделя, кВт (об/мин) | 0,37 (3000) | ||
| род тока питающей сети | 50Гц, 380 В | ||
| Габарити і масса верстата | |||
| Габарит верстата, мм | 700 х 450 х 550 | ||
| Масса верстата, кг | 125 |
Той, хто не дивиться вперед, виявляється позаду.
Г. Уеллс