Виробник заточувального верстата для дискових пилок 3Е692 - Вітебський завод заточувальних верстатів Візас , заснований у 1897 році.
З 1940 року підприємство спеціалізується на випуску заточувального обладнання та на сьогоднішній день є єдиним у СНД виробником верстатів для виготовлення та заточування будь-якого різального інструменту. Продукція заводу експлуатується більш як у шістдесяти країнах світу.
Заточувальний верстат 3Е692 замінив застарілу модель 3Д692 .
Напівавтомат заточувальний для дискових пилок 3Е692 призначений для заточування круглих сегментних пилок для металу за ГОСТ 4047-82 і ГОСТ 18210-72 за профілем зуба і перехідним ріжучими кромками периферією абразивного кола, заправленого по радіусу.
Обробка уступу на передній грані під кутом 28° на прорізному зубі пил за ГОСТ 18210-72 на напівавтоматах не передбачається.
Напівавтомат 3Е692 може бути застосований у різних галузях промисловості:
Всі складальні одиниці та механізми напівавтомата 3Е692 встановлені на станині, яка являє собою коробку Т-подібної форми. Зверху до станини кріпляться коробка приводу верстата та бабка виробу. Зверху на коробці приводу у направляючих кочення під кутом 35° до горизонтальної площини змонтована шліфувальна головка.
Шліфувальна головка приводиться в зворотно-поступальний рух від кулака коробки приводу і в поєднанні з обертанням пили утворює геометрію зуба.
Механізм виправлення шліфувального кола кріпиться до верхньої платика кожуха. Бак охолодження встановлений на задній стінці верстата. Електрошафа закріплена на верхньому плашку коробки приводу. При обробці пилок великих діаметрів, що виходять за габарит бабка виробу, на напівавтоматі передбачено захисний кожух, закріплений на лівій стінці станини.
У напівавтоматі передбачені такі блокування:
Клас точності напівавтоматів – П за ГОСТ 8-82.

Базові та приєднувальні розміри заточувального верстата 3Е692
Базові та приєднувальні розміри заточувального верстата для дискових пилок.
Приєднувальні розміри кінця шпинделя шліфувального кола наведено на рис.4

Фото заточувального верстата для дискових пилок 3Е692

Фото заточувального верстата для дискових пилок 3Е692

Фото заточувального верстата для дискових пилок 3Е692

Фото заточувального верстата для дискових пилок 3Е692

Фото заточувального верстата для дискових пилок 3Е692

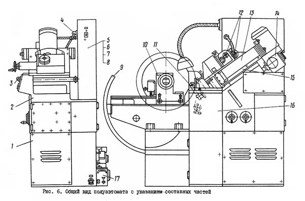
Розташування складових частинин заточувального верстата 3Е692
Розташування складових частинин заточувального верстата 3Е692. Завантажити у збільшеному масштабі
Пристрій для орієнтації шліфувального круга 3Е692.93.000
Пристосування для контролю зубів пилок по передньому до заднього кутів комплектно з оптичним зубовимірювальним приладом Л-110 3Е692.95.000

Розташування органів керування заточувальним верстатом 3Е692
Розташування органів керування заточувальним верстатом 3Е692. Завантажити у збільшеному масштабі

Кінематична схема заточного верстата 3Е692
1. Схема кінематична заточного верстата 3Е692. Скачать в увеличенном масштабе
2. Схема розположення підшибників заточного верстата 3Е692. Скачать в увеличенном масштабе
Кинематика напівавтомату обеспечивает наступні рабочие і установочные руху:
Вращение шпинделя шлифовального круга осуществляется от електродвигуна 42 (N = 2,2 кВт, n = 2850 об/мин) через клиноременную передачу 40, 41 на вал шпинделя XIII.
Это рух осуществляется следующим образом: от електродвигуна I через клиноременную передачу (шкивы) 2, 3, червячную передачу 4, 5 на распределительный вал II. На распределительном валу II находится кулак 6, который через двуплечий рычаг 45 приводит в возвратно-поступательное рух ползун 46, который через винт-гайку 50 соединен з механізмом автоматичною подачі шлифовальной головки.
Поочередный различный ход шлифовальной бабки на величину разности высоты между прорезным і зачистным зубьями обеспечивается кулаком 63, который получает вращение от распределительного вала II через зубчатую пару 64, 65 з передаточным отношением 2:1. Кулак 63 через двуплечий рычаг 66 з регулируемым соотношением плач, воздействует на штангу 67 з подвижной опорой, что приводит к изменению соотношения плеч рычага, приводящего в возвратно-поступательное рух шлифовальную головку от кулака 6 формообразования зуба пилы.
Конечными звеньями етой ланцюги, включающей гітару, настраиваемую в зависимости от количества зубьев пилы, является: шлифовальная бабка з абразивным кругом і шпиндель вироби з затачиваемой пилкою з передаточным отношением 1 : Z поворота заготовки на один двойной ход шлифовальной головки, где Z - число зубьев затачиваемой пилы.
Их связывает ланцюг: конические шестерни 7, 8; сменные зубчасті колеса a, b; цилиндрические шеcтерни 59, 58; цилиндрические колеса диференціала; цилиндрические колеса 16, 17, 18; червяк 19 і червячное колесо 20.
Для согласования руху шлифовальной головки з положением зуба пилы предусмотрен маховик 68, з помощью которого через диференціал сообщается дополнительное рух в делительную ланцюг.
Рух подачі шлифовальной бабки на величину снимаемого припуска осуществляется в процессе заточки пилы з помощью електромагнита 44, толкатель которого посредством собачки поворачивает храповое колесо 28, сидящее на одном валу з червяком 26. Червяк 26 поворачивает червячное колесо 27. Червячное колесо 27 жестко закреплено на винте 35, гайка 50 которого закреплена на ползуне 46. Величина подачі при повороте храпового колеса на один зуб:
S = 1/30·1/26·5 = 0,025 мм
Правка шлифовального круга осуществляется от реверсивного електродвигуна 43 через червячную передачу 29, 30, зубчасті колеса 56, 57 на алмазодержатель з алмазным карандашом 61.
Рух передається от вала ХV, на котором нерухомо закреплен кулачок 62, который через собачку поворачивает храповое колесо 31 на один зуб.
Рух передається от електродвигуна 60 через червячную передачу 32, 33 на винт 38, гайка 48 которого закреплена нерухомо в корпусе каретки.
Станина (рис.9) предназначена для монтажа на ней всех сборочных единиц і представляет собой сварной корпус коробчатой формы, в передньої частини которой расположен електродвигатель 2 приводу ланцюги формообразования і тумбочка I для сменных зубчатых колес, кулаков і инструмента, а в нише смонтирован електропривід ЭТО-2, Ниши станины закрыты крышками, а в инструментальной тумбочке предусмотрена дверка.
Сверху станина имеет обработанную поверхность для установки сборочных единиц коробки приводу і бабки вироби.
Коробка приводу (рис.10) установлена жестко на станине і обеспечивает возвратно-поступательное формообразующее зуб обрабатываемой пилы рух шлифовальной головки і непрерывное вращение пилы, кинематически связанные между собой. Возвратно-поступательное рух шлифовального вузла "Салазки привода" производится от сменного кулака 25. Дисковый сменный кулак і рычаг салазок приводу соединены через механізм автоматичною подачі з шлифовальной головкой.
Регулювання амплитуды колебания производится путем изменения соотношения плеч рычага при помощи подвижной опори 10, которая може быть смещена вдоль рычага маховиком, выведенным на переднюю стенку корпуса через коническую пару 5 в винт 4. Необходимая величина устанавливается по линейке на передньої поверхности корпуса 6.
Для обеспечения периодического изменения величины ходу шлифовальной головки при заточке прорезного і зачистного зубьев в одном рабочем цикле имеется механізм, представлявший собой кулачок 12, контактирующий посредством ролика на рычаг 15, который шарнирно соединен з ползуном 7. Качаясь вокруг опори 2, рычаг 15 перемещает ползун 7 і находящуюся на нем опору 10, вследствие чего изменяется соотношение плеч рычага сборочной единицы "Салазки привода".
Для согласования возвратно-поступательного руху шлифовального круга з контуром зуба пилы в ланцюг деления встроен диференціальный механізм 16, Рух диференціалу передається маховиком, вынесенным на переднюю стенку корпуса. Направление поворота пилы совпадает з направлением обертання маховика.
Для смены кулаков формообразования зубьев пил в передньої стенке корпуса предусмотрена дверка. С правой стороны в нише корпуса размещена гітара сменных зубчатых колес 21, 23 ланцюги деления, наша которой закрывается дверкой 22.
Верхня часть корпуса механізма приводу выполнена в виде наклонной плоскости под углом 35° к горизонту. К етой плоскости крепится корпус салазок привода. Коробка приводу снабжена централизованной системой змазки. Привід насоса 18 змазки осуществляется ексцентричной втулкой 31.
На верхней частини корпуса механізма приводу под углом 35° к горизонту смонтирован узел салазок привода. Салазки приводу (рис.11) состоят из корпуса I, в котором в нижней частини на направляючих качения 8, 9, 16, 17 установлены салазки 5 з двуплечим рычагом 7. На верхней частини в направляючих качения 12, 14 установлена шлифовальная головка. От кулака формообразования зубьев коробка приводу через двуплечий рычаг салазки получают возвратно-поступательное движение, которое через механізм автоматичною подачі передається шлифовальной головке.

Головка шлифовальная заточного верстата 3Е692
Головка шлифовальная заточного верстата 3Е692. Скачать в увеличенном масштабе
Головка шлифовальная (см.рис.1) установлена в наклонных направляючих качения сверху корпуса салазок приводу і включает в себя шлифовальный шпиндель 5 і корпус 8 шлифовальной головки з електродвигуном 12.
Шпиндель шлифовального круга смонтирован в высокоточных підшипниках качения і выполнен в вице отдельной шпиндельной головки, закрепленной в салазках 6. Ось шпинделя шлифовального круга расположена под углом 55° к горизонтальной плоскости. Салазки со шпинделем имеют возможность установочного переміщення по направляющим плиты 3 для заточки переходных режущих кромок.
Корпус шлифовальной головки выполнен в виде салазок і смонтирован на роликовых направляючих качения 7 под углом 35° к горизонтальной плоскости. По направляющим качения шлифовальная бабка совершает возвратно-поступательное формообразующее зуб рух от кулачкового механізма коробки привода, а также обеспечивается її подача в автоматическом режиме і ручное установочное перемещение. Шпиндель шлифовального круга получает вращение от електродвигуна 12 через клиноременную передачу 14. Для установки круга при обработке фасок на зубьях пилы в сборочной единице предусмотрена линейка 2. Направляющие шлифовальной бабки защищены гармошками 17.
Механізм автоматичною правки (рис.13) предназначен для правки шлифовального круга по радиусу.
Механізм правки вместе з кожухом шлифовального круга закреплен на салазках шлифовальной головки. Алмазный карандаш I, закрепленный на поворотном алмазодержателе 15, получает рух от реверсивного електродвигуна 16 через червячную пару 7, 8, зубчасті колеса 9, 12 на рычаг. Угол разворота рычага составляет 180°. В механізме предусмотрены перпендикулярные направляющие 18. Нижние - для смещения алмаза вдоль оси круга в зависимости от высоты шлифовального круга, а верхние - для переміщення алмаза на шлифовальный крут во время правки. Подача алмазного карандаша на шлифовальный круг осуществляется вручную от маховика при помощи гвинта 6 і гайки 5, а в автоматичною режиме от кулачка 20 при повороте алмазодержателя 15.
Период между правками шлифовального круга може быть выбран в пределах от 1 до 100 с, а число поворотов алмазодержателя можно установить 1, 2, 3. 6.7.6. Механізм автоматичною подачі Механізм автоматичною подачі (рис.14) установлен на плите, закрепленной на правом торце шлифовальной бабки.
Автоматическая подача шлифовального круга на изделие производится от електромагнита 8 через определенное заточенное число зубьев пилы, устанавливаемое заранее на счетчике. Величина подачі осуществляется при каждом импульсе електромагнита і составляет 0,025 мм.
Величина снимаемого припуска устанавливается предварительно на лимбе 7. Ручное установочное перемещение шлифовального круга осуществляется маховиком I через червячную пару 6,9 на винт 5, гайка 4 которого находится на подвижной каретке салазок коробки привода.
Бабка вироби (рис.15) установлена сверху на левой частини станины і предназначена для закрепления пилы і її переміщення. Бабка вироби состоит из салазок 7 і каретки 5. В каретке 5 смонтирован шпиндель 3 і червячная двухшаговая пара 1, 2. Перемещение каретки осуществляется от електродвигуна через червячный редуктор на винт 8 і гайку 9 по направляющим типа "ласточкин хвост". Вращение шпиндель вироби получает от коробки приводу через шлицевый вал II і червячную пару 1, 2.
Пила жестко закрепляется на шпинделе при помощи оправок (СМ.РИС.5), направляющие защищены телескопическими щитками і фиксируются рукояткой в требуемом положении.
Тормоз пилы (рис.16) предназначен для гашения вибрации диска пилы в процессе заточки, а также для ориентации її по торцу.
Наладочные операции следует производить в следующем порядке (см.рис.7):
ВНИМАНИЕ! ПОДВОД ПИЛЫ ВОЗМОЖЕН ТОЛЬКО ПРИ ИСХОДНОМ ПОЛОЖЕНИИ ШЛИФОВАЛЬНОГО КРУГА.
Если по каким-либо причинам шлифовальный круг не остановился в исходном положении, то необходимо включить переключатель "Вращение пилы включено-выключено", а затем выключить его і при етом шлифовальный круг останавливается в нижнем положении при осцилляции.
Следует мати ввиду, что припуск на лимбе устанавливается без учета износа круга. Чем мягче круг, тем больший нужен устанавливаемый припуск.
После снятия припуска автоматическая подача шлифовального крута отключается, включается лампа 55 "Выхаживание". По окончании выхаживания сигнальная лампа цикла і все приводу напівавтомату выключаются.
| Наименование параметра | 3Д692 | 3Е692 |
|---|---|---|
| Основні параметри | ||
| Класс точності по ГОСТ 8-82 | П | П |
| Наибольшие розміри затачиваемых пил, мм | 275..1430 | 250..1430 |
| Наибольшее количество зубьев затачиваемых пил | 56.288 | |
| Величина углов зубьев пил, (передний/ задний), град | 5/3, 10/5, 15/8 20/10, 25/15 |
5/3, 10/5, 15/3 20/8, 20/12, 25/15 |
| Шлифовальная бабка | ||
| Тип шлифовального круга ГОСТ 2424-83 | ПП | |
| Наибольший диаметр шлифовального круга, мм | 300 | 300 |
| Высота шлифовального круга, мм | 6..16 | 6..25 |
| Диаметр отверстия шлифовального круга (внутренний диаметр), мм | 127 | 76 |
| Частота обертання шпинделя шлифовального круга, об/мин | 1600, 1920 | |
| Наибольшая окружная скорость шлифовального круга, м/с | 30 | |
| Розміри кінця шпинделя шлифовальной бабки - диаметр х длина | 32 х 40 | 32 х 40 |
| Конус кінця шпинделя шлифовальной бабки | 1:5 | 1:5 |
| Частота двойных ходов шлифовальной головки для пил по ГОСТ 4047-82 | 20..130 | 20..130 |
| Частота двойных ходов шлифовальной головки для пил по ГОСТ 18210-72 | 20..40 | |
| Величина переміщення шлифовальной головки при заточке по ГОСТ 4047-82, мм | 4..20 | 4..20 |
| Величина переміщення шлифовальной головки при заточке по ГОСТ 18210-72, мм | 10..40 | |
| Величина установочного переміщення шлифовальной головки, мм | 70 | 70 |
| Величина автоматичною подачі шлифовального круга, мм | 0,03 | 0,025 |
| Интервал между подачами, число заточенных зубьев | 1..75 | 1..75 |
| Число оборотів пилы при выхаживании, оборот | 1..10 | 1..3 |
| Наибольшее перемещение шлифовального круга на врезание за цикл, мм | 5 | 5 |
| Бабка вироби | ||
| Диаметр посадочного кінця шпинделя бабки вироби, мм | 32h6 | 32h6 |
| Установочное перемещение бабки вироби, мм | 630 | 680 |
| Пределы разности высот двух соседних зубьев, мм | 0..2 | |
| Електроустаткування і привід верстата | ||
| Количество електродвигателей на станке | 5 | 6 |
| Електродвигун приводу шпинделя шліфувального круга, кВт (об/хв) | 2,2 (1420) | 2,2 (2850) |
| Електродвигун механізму редагування, кВт (об/хв) | 0,12 (1375) | 0,12 (1375) |
| Електродвигун допоміжних рухів, кВт (об/хв) | 2,2 (1500) | 2,2 (3150) |
| Електродвигун насоса охолодження, кВт (об/хв) | 0,12 (2800) | 0,12 (2710) |
| Електродвигун настановного переміщення пили, кВт (об/хв) | - | 0,37 (1400) |
| Електродвигун магнітного сепаратора, кВт (об/хв) | 0,09 (1370) | 0,12 (1375) |
| Сумарна потужність усіх електродвигунів, кВт | 4,73 | 5,13 |
| рід струму мережі живлення | 50Гц, 380/220 В | 50Гц, 380/220 В |
| Габарити та маса верстата | ||
| Розміри машини, мм | 1930 х 890 х 1890 | 2450 х 960 х 1910 |
| Маса верстата, кг | 2450 | 1860 рік |
Той, хто не дивиться вперед, виявляється позаду.
Г. Уеллс