Виробник універсального заточувального верстата 3А64Д - Вітебський завод заточувальних верстатів, Візас , заснований у 1897 році.
З 1940 року підприємство спеціалізується на випуску заточувального обладнання та на сьогоднішній день є єдиним у СНД виробником верстатів для виготовлення та заточування будь-якого різального інструменту. Продукція заводу експлуатується більш як у шістдесяти країнах світу.
Заточувальний верстат 3А64д випускався з 1965 року та замінив модель універсально-заточувального верстата 3А64М .
На верстаті 3А64д підвищена точність лімба поперечного переміщення столу з 0,02 до 0,01 мм та вбудований механізм струму подачі на 0,0025 мм.
Універсальні заточувальні верстати 3А64д призначені для заточування основних видів різального інструменту: різців, фрез, зенкерів тощо з інструментальної сталі, твердого сплаву, металокераміки абразивними, алмазними та ельборовими колами.
Універсально-заточними верстатами моделей 3А64д можна користуватися для заточування інструментів алмазними та звичайними шліфувальними колами з охолодженням та всуху. Для заточування твердосплавного інструменту застосовують шліфувальні круги з карбіду кремнію або алмазні тих самих розмірів та форми.
Універсально-заточувальний верстат 3А64д призначений для заточування як основних видів металорізальних інструментів з інструментальної сталі або з твердого сплаву, так і дереворізального інструменту - збірних і цільних, насадних і кінцевих фрез, свердлів, фрезерних ланцюжків, шипорізних ножових головок та ін. дереворізального інструменту необхідно застосовувати спеціальні пристрої.
Область використання універсально-заточувальних верстатів розширюється пристроями, що додаються до них:
Верстат пристосований для круглого (зовнішнього та внутрішнього) та плоского шліфування. Всі рухи при заточуванні інструменту та налаштуванні верстата виконуються вручну. Верстат виконаний з вертикальним переміщенням шліфувальної головки, поздовжнім та поперечним переміщенням столу.
Верстати універсально заточувальні 3А64д мають литу чавунну станину, це підвищує точність обробки і зменшує коливання, викликані при обробці деталі. Додатково на верстати можна поставити синусну плиту для закріплення заготовок, пристрій для заточування по радіусу різців і кінцевого багатолезового інструменту, пристрій для зовнішнього круглого шліфування, для внутрішнього шліфування, для заточування право- і ліворізальних зенкерів і т.д.
Верстати мають такі основні вузли: станину, колону, супорт, шліфувальну головку, механізм підйому шліфувальної головки, планетарний редуктор, систему охолодження.
Верстат складається із станини, супорта, що включає нижні та верхні санки з поворотним столом, і шліфувальної головки, встановленої на колонці механізму вертикальної подачі. Шпиндель шліфувальної головки виконаний двостороннім із двома конусними гніздами для встановлення змінних оправок із шліфувальними колами. Оправлення кріпляться в гнізді шпинделя і виштовхуються з нього накидною гайкою.
Для захисту від розбризкування охолоджувальної рідини та відведення її в бак використовують спеціальну огорожу.
Робоче місце залежно від характеру роботи може бути або попереду верстата, або зліва або праворуч, відповідно до чого розміщені органи керування.
Привід шпинделя шліфувальної головки здійснюється через клинопасовий редуктор і плоскочасну передачу від двошвидкісного електродвигуна, укріпленого на кронштейні. Кронштейн може переміщатися колонкою, що дозволяє регулювати натяг плоского ременя. Насаджений на вал електродвигуна двоступінчастиний шків забезпечує обертання шпинделя зі швидкістю 4500 і 6300 об/хв або 2240 і 3150 об/хв залежно від кількості обертів валу електродвигуна (2850 і 1420 об/хв). Обертання шпинделя шліфувальної головки повинно бути за годинниковою стрілкою з торця укороченої сторони шпинделя.
Заточування збірних фрез (ножових головок) та іншого насадного інструменту найчастіше виконують на оправці, укріпленій у центрах верстата. При заточуванні збірних фрез з ножами, що мають прямолінійну кромку ріжучу, в якості розподільного пристрою застосовують упор, розташований на столі верстата. При заточуванні ножів шипорізних ножових головок упор зміцнюють на колонці так, щоб передня грань ножа у леза ковзала по опорній поверхні упору (рис. 67). Такий спосіб заточування забезпечує сталість заднього кута та розташування ріжучих кромок ножів на колі різання одного діаметра. При цьому шліфувальну головку на колонці необхідно розгорнути на 1° для того, щоб шліфувальне коло стикалося із задньою гранню ножа тільки в одному місці.
На верстаті 3А64Д можна заточувати твердосплавний дереворізальний інструмент як шліфувальними колами з карбіду кремнію, так і алмазними колами.
Верстати 3А64 та 3А64М після модернізації також можуть бути використані для алмазного заточування дереворізального інструменту, оснащеного пластинками з твердого сплаву.
Модернізація (за проектом ЕНІМС та СКБ-13 м. Вітебська) полягає у заміні шліфувальної голівки нової більш точної та жорсткої, у виготовленні механізму тонкої поперечної подачі та пристрою підведення змащувально-охолоджуючої рідини в зону різання.
До верстата додаються:
Пристрої верстата, що не входять до комплекту:
Пристосування, що встановлюються на верхній площині поворотного столу, закріплюються за допомогою болтів із Т-подібними головками.
Як видно з переліку пристроїв, на верстатах можна проводити, крім заточувальних операцій, також зовнішнє, внутрішнє та плоске шліфування.
Кліматичне виконання та категорія розміщення верстатів, окремо розташованого обладнання та приладдя відповідає ГОСТ 15150-69 для поставки в райони:
з помірним кліматом – УХЛ4;
Клас точності верстата – П.
Заточувальні верстати служать для заточування інструменту та застосовуються в інструментальних цехах заводів та у заточних відділеннях механічних цехів. За способом заточування вони поділяються на дві групи:
Перша група має більшого поширення. Основний парк заточувальних верстатів складають верстати, що працюють абразивним інструментом. У промисловості набувають все більшого поширення алмазні круги для чистового заточування і доведення ріжучого інструменту, оснащеного твердосплавними пластинками. Застосування алмазних кіл замість звичайних шліфувальних значно підвищує продуктивність. Заточування інструменту алмазними колами на металевому зв'язуванні дозволяє у ряді випадків виключити операцію доведення інструменту.
До другої групи відносяться верстати для анодно-механічного заточування та для електроіскрового заточування та доведення інструменту.
За призначенням заточувальні верстати поділяються на:
Універсально-заточувальні верстати використовуються для заточування багатолезового інструменту з інструментальної сталі та твердих сплавів. Заточувальні верстати дозволяють працювати з циліндричними та конічними інструментами, зенкерами та розгортками. Також заточувальні верстати використовують для обробки фрез, долб'яків і мітчиків, різців, черв'ячних фрез, зуборізних головок і протяжок, з гвинтовими і прямими зубами та ін.
На верстатах цього типу можна виконувати також кругле (зовнішнє і внутрішнє) і плоске шліфування.

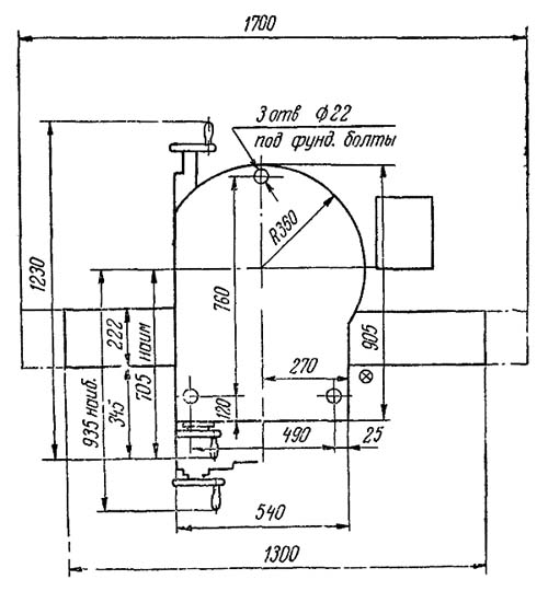
Габаритні розміри робочого простору верстата 3А64Д

Фото заточувального верстата 3А64Д

Розташування складових частинин заточувального верстата 3А64Д

Розташування органів керування заточным верстатом 3А64Д

Кінематична схема заточного верстата 3А64Д
Схема кінематична заточного верстата 3А64Д. Скачать в увеличенном масштабе
Кинематические ланцюги выполняют наступні рабочие і установочные руху:
1. Вращение шпинделя шлифовальной головки производится от двухскоростного електродвигуна. Насаженный на вал електродвигуна шкив имеет четыре попарно одинаковых ручья, каждая пара которых соответствует скоростям 4500 і 6300 об/мин, или 2240 і 3150 об мин. Вращение от електродвигуна к шпинделю шлифовальной головки передається через клиноременный редуктор.
2. Продольное перемещение стола осуществляется вручную. Ручное перемещение — вращением одного из трех маховичков, два из которых расположены з задньої стороны суппорта слева і справа: на осях етих маховичков сидят реечные шестерни 12 і 16, сцепляющиеся з рейкой 13, закрепленной на верхнем столе. Третий маховичок, расположенный спереди суппорта, служит для тонкого переміщення стола. В маховичок встроена планетарная передача 18, 19, 20, 21 з передаточным отношением 1:6,75. Переключення скорости переміщення стола производится кнопкой.
3. Поперечное перемещение суппорта осуществляется вращением маховичков, сидящих на винте 7 і перемещающихся вместе з суппортом относительно нерухомою самоустанавливающейся гайки 8, закрепленной в станине. Маховички на винте 7 расположены з обоих концов для удобства обслуживания. Тонкая поперечная подача получается поворотом кнопки на валу XII через винтовую пару 22, 23.
4. Вертикальное перемещение шлифовальной головки происходит от подъема колонки. Вращением маховичка приводится во вращение однозаходный левый червяк 14, передающий рух через червячное колесо 15 реечной шестерне 5, сидящей з ним на одном валу. Реечная шестерня 5 перемещает рейку 6, а вместе з ней і колонку з укрепленной на ней шлифовальной головкой.
5. Вращение шпинделя приводной бабки производится от укрепленного на ней електродвигуна при помощи клиноременной передачи. Число оборотів ведомого шкива (шпинделя приводной бабки) 215 в минуту.
Верстат выполнен з вертикальным переміщенням шлифовальной головки, з продольным і поперечным переміщенням стола і нижним расположением приводу шпинделя.
Все механізмы верстата смонтированы внутри і на верхней плоскости станины.
Верстат снабжен лампой местного освещения.
Рабочее место в зависимости от характера роботи може быть либо спереди верстата, либо слева или справа, в соответствии з чем размещены органы керування.

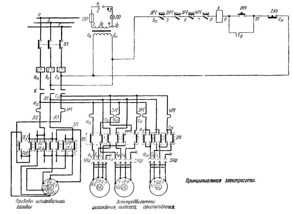
Електрична схема заточного верстата 3А64Д
Схема електрична заточного верстата 3А64Д. Скачать в увеличенном масштабе

Настановне креслення верстата 3А64Д
| Наименование параметра | 3А64 | 3А64м | 3А64д |
|---|---|---|---|
| Основні параметри | |||
| Класс точності по ГОСТ 8-82 | П | ||
| Наибольший диаметр устанавливаемого вироби, мм | 250 | 250 | 250 |
| Наибольшая длина вироби устанавливаемого в центрах, мм | 650 | 650 | 600 |
| Расстояние между осью шлифовального круга і линией центров в горизонтальной плоскости, мм | 70..300 | 70..300 | 70..300 |
| Расстояние между осью шлифовального круга і линией центров в вертикальной плоскости, мм | 55..150 | 55..150 | 55..150 |
| Высота центров, мм | 125 | ||
| Рабочий стол верстата | |||
| Розміри рабочей поверхности стола по ГОСТ 6569-75 (длина х ширина), мм | 134 х 920 | 134 х 920 | 140 х 900 |
| Наибольшее продольное/ поперечное ручное перемещение стола, мм | 400/ 230 | 400/ 230 | 400/ 230 |
| Перемещение поперечное стола на одно деление лимба, мм | 0,02 | 0,02 | 0,01 |
| Перемещение поперечное стола на один оборот лимба, мм | 2 | 2 | |
| Перемещение поперечное стола на одно деление тонкой подачі, мм | нет | нет | 0,0025 |
| Угол поворота стола в горизонтальной плоскости, град | ±45° | ±45° | ±45° |
| Бабка шлифовальная (колонна) | |||
| Наибольшее вертикальное перемещение бабки, мм | 205 | 205 | 205 |
| Цена деления лимба подачі вертикального переміщення, мм | 0,02 | 0,02 | 0,002 |
| Угол поворота бабки в горизонтальной плоскости, град | 270° | 270° | 350° |
| Шлифовальная головка | |||
| Число оборотів заточного круга при ступенчатом регулировании, об/мин | 3730, 5600 | 2000, 2800, 4020, 5820 | 2240, 3150, 4500, 6300 |
| Кінець шлифовального шпинделя | 1:20 20 мм | 1:20 20 мм | Морзе 3 |
| Наибольший диаметр устанавливаемого шлифовального круга, мм | 175 | 175 | 175 |
| Наибольшая ширина шлифовального круга, мм | 15 | 15 | |
| Наибольшая высота чашечного шлифовального круга, мм | 45 | 45 | |
| Електроустаткування і привід верстата | |||
| Количество електродвигателей на станке | 1 | 2 | 4 |
| Електродвигун приводу шпинделя шлифовальных кругов, кВт (об/мин) | 0,65 (2800) | 0,75; 1,0 | 0,75; 1,0 |
| Електродвигун приводу вироби, кВт | 0,25 | ||
| Електродвигун насоса охлаждения, кВт | 0,125 | ||
| Електродвигун пилососа, кВт | 0,6 | ||
| Загальна встановлена потужність усіх електродвигунів, кВт | |||
| рід струму мережі живлення | 50Гц, 380/220 В | 50Гц, 380/220 В | 50Гц, 380/220 В |
| Габарити та маса верстата | |||
| Розміри машини, мм | 1700 х 1460 х 1600 | 1700 х 1460 х 1605 | 1700 х 1460 х 1605 |
| Маса верстата, кг | 1000 | 1040 | 1100 |
Той, хто не дивиться вперед, виявляється позаду.
Г. Уеллс