Виробник заточувального верстата для зуборізних головок 3М666ВФ2 - Вітебський завод заточувальних верстатів Візас , заснований у 1897 році.
З 1940 року підприємство спеціалізується на випуску заточувального обладнання та на сьогоднішній день є єдиним у СНД виробником верстатів для виготовлення та заточування будь-якого різального інструменту. Продукція заводу експлуатується більш як у шістдесяти країнах світу.
Сучасне найменування заточувального верстата для зуборізних головок ВЗ-441Ф2 .
Напівавтомат 3М666ВФ2 заточувальний для зуборізних головок призначений для чорнового та чистового заточування різців зуборізних головок і протяжок, що нарізають конічні колеса з круговими та прямими зубцями, а так само гіпоїдних та напівобкатних передач за ГОСТ 11902-77, ГОСТ 17.
У процесі нарізування зубів колеса чи шестерні різці зуборізних головок зношуються, переважно, по задньої і передньої поверхням. Для відновлення ріжучих властивостей затилочні різці необхідно своєчасно заточувати по передній поверхні в зборі із зуборізною головкою на спеціальному устаткуванні для заточування зуборізних головок, не доводячи поверхню до сильного зношування, т.к. це значною мірою впливає на чистоту і шорсткість поверхні зуба, що нарізається, а також довговічність (ресурс) застосовуваного комплекту різців. Зазвичай зносом, що лімітує, впливає на точність нарізуваного колеса і шорсткість поверхні, є знос різця у вершини зуба по задній поверхні, величина якого визначає припуск при заточуванні інструменту по передній поверхні.
Передні грані різців заточуються під кутом, при цьому ріжучі кромки повинні бути перпендикулярно розташовані до торця корпусу різцевої головки.
Заточування різців зуборізної головки здійснюється торцем шліфувального кола по передній поверхні послідовно у кожного різця.
Для заточування зуборізних головок застосовується верстат 3М666ВФ2 з автоматичною подачею та правкою шліфувального кола.
Цикл роботи напівавтоматичний. Заточувана зуборізна головка встановлюється на шпинделі бабки виробу.
Рухи, необхідні для заточування, здійснюються шліфувальним колом.
Процес заточування зуборізних головок поділяється на дві операції: чорнову та чистову, причому всі однойменні різці заточуються спочатку начорно, а потім начисто з однієї установки головки перемиканням механізму подач.
Для заточування двосторонньої зуборізної головки необхідні дві установки: одна для внутрішніх, інша для зовнішніх різців.
Подача шліфувального кола на глибину шару металу, що знімається, відбувається автоматично і безперервно від чорнового, а потім чистового кулачків.
Виправлення шліфувального кола здійснюється перед кожним циклом заточування всіх однойменних різців зуборізної головки.
Розподіл на необхідну кількість різців головки, що заточуються, здійснюється механізмом поділу. Заточування ведеться при рясному охолодженні.

Кінець шпинделя виробу заточувального верстата 3М666ВФ2

Кінець шпинделя шліфувального кола заточувального верстата 3М666ВФ2

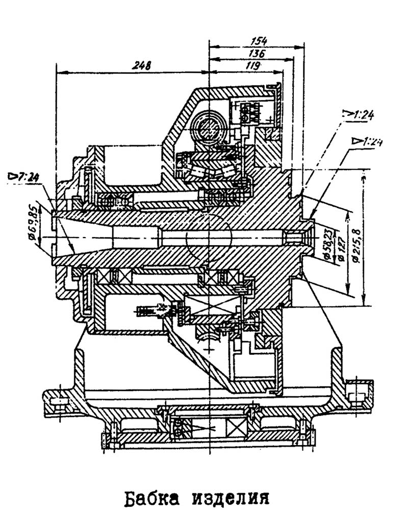
Бабка виробу заточувального верстата 3М666ВФ2

Перехідний фланець під зуборізну головку верстата 3М666ВФ2

Перехідний фланець під зуборізну головку верстата 3М666ВФ2

Перехідний фланець під зуборізну головку верстата 3М666ВФ2

Фото заточувального верстата для зуборізних головок 3М666ВФ2

Фото заточувального верстата для зуборізних головок 3М666ВФ2
Фото заточувального верстата для зуборізних головок 3М666ВФ2. Завантажити у збільшеному масштабі

Фото заточувального верстата для зуборізних головок 3М666ВФ2
Фото заточувального верстата для зуборізних головок 3М666ВФ2. Завантажити у збільшеному масштабі

Фото заточувального верстата для зуборізних головок 3М666ВФ2
Фото заточувального верстата для зуборізних головок 3М666ВФ2. Завантажити у збільшеному масштабі

Фото заточувального верстата для зуборізних головок ВЗ-441Ф2.

Фото зуборізного верстата
Фото зуборізного верстата. Завантажити у збільшеному масштабі

Установочне креслення заточувального верстата для зуборізних головок 3М666ВФ2

Технічні характеристики заточувального верстата 3М666ВФ2
Технічні характеристики заточувального верстата 3М666ВФ2. Завантажити у збільшеному масштабі

Технічні характеристики заточувального верстата 3М666ВФ2
Технічні характеристики заточувального верстата 3М666ВФ2. Завантажити у збільшеному масштабі

Технічні характеристики заточувального верстата 3М666ВФ2
Технічні характеристики заточувального верстата 3М666ВФ2. Завантажити у збільшеному масштабі
Той, хто не дивиться вперед, виявляється позаду.
Г. Уеллс