Виробник токарного верстата моделі 1615 – Середньоволзький верстатобудівний завод СВСЗ , заснований у 1876 році.
Виробництво металорізальних верстатів на Середньоволзькому верстатобудівному заводі вперше почалося наприкінці січня 1926 року. Першим випущеним верстатом на підприємстві був токарно-гвинторізний верстат зі східчастиним шківом моделі ТВ-155В.
У 1934 році на заводі було створено оригінальний токарно-гвинторізний верстат моделі СП-162 з числом швидкостей - 8, числом обертів шпинделя за хвилину - від 24 до 482. На верстаті вперше було встановлено індивідуальний електродвигун потужністю 1,5 кВт.
У роки війни завод освоїв випуск токарно-гвинторізного верстата 1615 року і незабаром модернізував його, довівши швидкість шпинделя до 1000 обертів на хвилину.
У 1949 році запущений у серійне виробництво верстат 1616 , у шістдесятих роках моделі - 1В616 та 1А616 , а з початку сімдесятих років почався випуск серії 16Б16 .
З 90-х років минулого століття підприємство СВСЗ випускає токарні верстати під торговою маркою SAMAT .
Токарний верстат 1615 замінив у виробництві верстат 162-ВУ і був замінений на більш досконалий 1616 .
Токарно-гвинторізний верстат 1615 призначений для токарної обробки порівняно невеликих деталей з різних матеріалів як швидкорізальними, так і твердосплавними інструментами в умовах індивідуального та серійного виробництва. На верстаті можна нарізати різцем метричні, дюймові, модульні та різьби.
Оброблювана деталь встановлюється у центрах чи патроні. Привід верстата 1615 здійснюється від одного електродвигуна через два клинопасових ременя і редуктор, розташований у лівій тумбі верстата.
Найбільший діаметр деталі типу Диск , що обробляється над станиною, становить 320 мм, а максимальний діаметр деталі типу Вал , що закріплюється в центрах над верхньою частининою супорта – 150 мм. Відстань між центрами 750 мм.
Найбільша довжина обточування деталі з механічною подачею супорта дорівнює 700 мм, тобто на 50 мм менше, ніж максимальна відстань між центрами.
Шпиндель верстата 1615 отримує 8 швидкостей обертання (26..492 об/хв) у прямому напрямку та 4 у зворотному (142..580) від коробки швидкостей через перебірні шестерні. Для керування перебором служать ручки на передній бабці.
Дві фрикційні муфти в коробці швидкостей керують пуском, зупинкою та реверсуванням шпинделя при увімкненому двигуні.
Передній кінець шпинделя верстата 1615 має різьблення М68х6 для кріплення проміжного фланця з патроном.
Коробка подач забезпечує нарізання метричної, дюймової та модульної різьби без застосування змінних шестерень. Для нарізування точного різьблення ходовий гвинт може бути прямо включений, минаючи коробку подач.
Механізм коробки подач дає можливість отримати через ходовий гвинт з кроком 6 мм наступні різьблення:
За допомогою механізму збільшення кроку можна збільшити кроки всіх різьблень у 4 та 16 разів.
Механізм коробки подач забезпечує через ходовий вал такі подачі:
Без додаткових змінних коліс на верстаті моделі 1615 можливе нарізування різьблення підвищеної точності .
Двигун для приводу швидкого ходу не передбачено.
У верстаті передбачена можливість встановлення гідрокопіювального пристрою та гідропневмоциліндрів для затиску виробів у патроні чи цангу.

Габарит робочого простору токарного верстата 1615

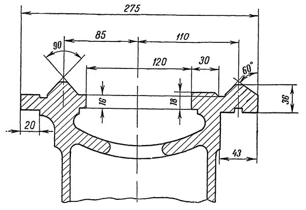
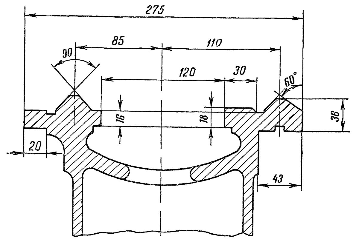
Станина токарно-гвинторізного верстата 1615
Станина токарно-гвинторізного верстата 1615. Дивитись у збільшеному масштабі

Фото токарного верстата 1615

Фото токарного верстата 1615

Фото токарного верстата 1615

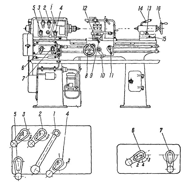
Розташування органів керування токарним верстатом 1615

Кінематична схема токарного верстата 1615
Схема кінематична токарно-гвинторізного верстата 1615. Дивитись у збільшеному масштабі
Обертання виробу, закріпленого в патроні або центрах, здійснюється від індивідуального електродвигуна.
Рух від електродвигуна передається через клинопасову передачу на приводний шків і потім через зубчасті колеса механізму коробки швидкостей - на шпиндель IV (фіг. 3).
Изменение числа оборотів шпинделя в минуту достигается передвижением блоков зубчатых колес 4—5, 7—8 і 12—13 по шлицевым валикам при помощи трех рукояток.
Восемь различных швидкостей шпинделя — от 26 до 492 оборотів в минуту — при прямом вращении осуществляются по следующим кинематическим цепям: от вала I, имеющего 430 об/мин., вращение передається на вал II при помощи зубчатых колес 1—4 или 2—5. Далее вращение передається валу III переключением блока зубчатых колес 7—8, соответственно сцепляющихся з зубчатыми, колесами 10—11, і далее, через зубчасті колеса 12—16 или 13-47, — шпинделю IV.
При обратном вращении шпинделя рух от вала I на вал II передається через зубчасті колеса 3, 6, 9 і далее, как описано выше. Таким образом, получаем четыре скорости шпинделя — от 142 до 580 оборотів в минуту.
Продольное і поперечное перемещение суппорта при обтачивании производится механически, при помощи ходового валика, через механізмы коробки подач і фартука либо при помощи ходового гвинта 41 і маточной гайки 42, через механізм коробки подач или от руки, через зубчасті колеса 36, 37, 39 механізма фартука і рейку 40 при помощи маховичка.
Коробка подач получает рух через зубчасті колеса 14, 18, 19, 20 (механізма коробки швидкостей) і сменные зубчасті колеса А, Б, В, Г, П (гітари). Механізм коробки подач дает возможность получить через ходовой винт 41 з шагом 6 мм наступні різьби.
Через ходовой валик супорт получает продольные подачі от 0,06 до 2,72 мм/об шпинделя (при зацеплении зубчатых колес 38 і 37 механізма фартука, реечного колеса 39 з рейкой 40) і поперечные подачі — от 0,025 до 1,1 мм/об (при включении зубчатого колеса 34, зацепляющегося з колесами 33 і 35).
Изменение направления руху суппорта достигается при помощи переключения зубчатого колеса 20, расположенного в коробке швидкостей.
Поперечное перемещение суппорта от руки осуществляется через винт 43 і гайку 44 при помощи рукоятки. Перемещение верхних салазок производится только от руки, через винт і гайку при помощи рукоятки.
Продольное перемещение пиноли задньої бабки осуществляется также от руки, через винт і гайку при помощи маховичка.

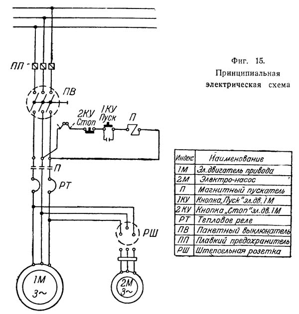
Електрична схема токарного верстата 1615
| Наименование параметра | 1А616 | 1615 | 162-ВУ | 162-СП |
|---|---|---|---|---|
| Основні параметри | ||||
| Класс точності по ГОСТ 8-82 | Н | Н | Н | Н |
| Наибольший диаметр заготовки, обрабатываемой над станиной, мм | 320 | 320 | 320 | 320 |
| Наибольший диаметр заготовки, обрабатываемой над суппортом, мм | 180 | 150 | 200 | 200 |
| Наибольшая длина заготовки (РМЦ), мм | 710 | 750 | 750 | 750 |
| Высота оси центров над плоскими направляющими станины (высота центров), мм | 155 | 150 | 150 | |
| Высота от опорной поверхности резца до линии центров, мм | 20 | 20 | 20 | |
| Наибольшее расстояние от оси центров до кромки резцедержателя, мм | 168 | |||
| Наибольшая длина обтачивания, мм | 660 | 700 | ||
| Шпиндель | ||||
| Диаметр сквозного отверстия в шпинделе, мм | 35 | 35 | 35 | 35 |
| Наибольший диаметр прутка, мм | 34 | 34 | 34 | 34 |
| Число ступеней частот прямого обертання шпинделя | 21 | 16 | 8 | 8 |
| Частота прямого обертання шпинделя, об/мин | 9..1800 | 26..492 | 24..482 | 24..482 |
| Число ступеней частот обратного обертання шпинделя | 21 | 4 | ||
| Частота обратного обертання шпинделя, об/мин | 9..1800 | 142..580 | ||
| Размер внутреннего конуса в шпинделе, М | Конус морзе 5 | Конус морзе 5 | Конус морзе 5 | Конус морзе 5 |
| Кінець шпинделя по ГОСТ 12593-72 | 6К | |||
| Розміри приводного шкива, мм | Ø 250 х 50 | Ø 250 х 50 | ||
| Число оборотів приводного шкива, об/мин | 430 | 430 | ||
| Суппорт. Подачи | ||||
| Наибольшее перемещение поздовжньої каретки суппорта от руки, мм | 670 | 760 | ||
| Наибольшее перемещение поздовжньої каретки суппорта механически, мм | 670 | 700 | ||
| Наибольшее перемещение поперечної каретки суппорта, мм, мм | 195 | 190 | ||
| Перемещение поздовжньої каретки суппорта на одно деление лимба, мм | ||||
| Перемещение поперечної каретки суппорта на одно деление лимба, мм, мм | 0,05 | |||
| Число ступеней продольных і поперечных подач | 90 | 152 | 42 | |
| Пределы продольных рабочих подач, мм/об | 0,065..0,91 | 0,06..2,72 | 0,056..2,5 | 0,06..2,12 |
| Пределы поперечных рабочих подач, мм/об | 0,065..0,91 | 0,025..1,1 | 0,023..1 | 0,024..0,836 |
| Скорость быстрых перемещений суппорта, продольных, м/мин | нет | нет | нет | |
| Скорость быстрых перемещений суппорта, поперечных, м/мин | нет | нет | нет | нет |
| Количество нарезаемых різьб метрических | 28 | 30 | 32 | |
| Пределы шагов нарезаемых різьб метрических, мм | 0,5..24 | 0,5..12 | 0,5..12 | 0,25..8 |
| Количество нарезаемых різьб дюймовых | 39 | 42 | 28 | |
| Пределы шагов нарезаемых різьб дюймовых | 56..1 | 60..1,75 | 60..1,75 | 60..2,25 |
| Количество нарезаемых різьб модульных | 19 | 16 | 8 | |
| Пределы шагов нарезаемых різьб модульных | 0,25..22 | 0,5..6 | 0,5..6 | 0,25..2 |
| Количество нарезаемых різьб питчевых | нет | нет | нет | |
| Пределы шагов нарезаемых різьб питчевых | 128...2 | нет | нет | нет |
| Наибольшие розміри державки резца (ширина х высота), мм | 25 х 20 | 20 х 20 | 20 х 20 | |
| Наибольшее усилие, допускаемое механізмом подач на резце - продольное, кг | 400 | |||
| Наибольшее усилие, допускаемое механізмом подач на резце - поперечное, кг | 475 | 500 | ||
| Шаг ходового продольного гвинта, мм | 6 | 4 на 1" | ||
| Шаг поперечного гвинта, мм | 4 | 4 | ||
| Резцовые салазки | ||||
| Наибольшее перемещение резцовых салазок, мм | 85 | |||
| Перемещение резцовых салазок на одно деление лимба, мм | 0,1 | |||
| Наибольший угол поворота резцовых салазок, град | ±90° | ±90° | ||
| Цена деления шкалы поворота резцовых салазок, град | 1° | 1° | ||
| Число резцов в резцовой головке | 4 | 4 | 4 | 4 |
| Задня бабка | ||||
| Диаметр пиноли задньої бабки, мм | ||||
| Конус отверстия в пиноли задньої бабки | Морзе 3 | Морзе 3 | Морзе 3 | |
| Наибольшее перемещение пиноли, мм | 85 | 110 | 110 | |
| Перемещение пиноли на одно деление лимба, мм | ||||
| Величина поперечного смещения корпуса бабки, мм | ±12 | |||
| Електроустаткування | ||||
| Количество електродвигателей на станке | 2 | 2 | ||
| Мощность електродвигуна головного привода, кВт | 4 | 1,5 | 1.5 | |
| Тип електродвигуна головного привода | А02-41-4 | |||
| Мощность електродвигуна насоса охлаждения, кВт | 0,125 | 0,125 | ||
| Габарити і масса верстата | ||||
| Габарити верстата (длина ширина высота), мм | 2135 х 1225 х 1220 | 1960 х 880 х 1235 | ||
| Масса верстата, кг | 1500 | 850 |
Приложение: В случае поставки верстата з выемкой в станине, конусной линейкой или гідросуппортом руководство дополняется соответствующими приложениями.