Виробником токарно-гвинторізних універсальних верстатів 1616 року є Середньоволзький верстатобудівний завод СВСЗ , заснований в 1876 році.
Виробництво металорізальних верстатів на Середньоволзькому верстатобудівному заводі вперше почалося наприкінці січня 1926 року. Першим випущеним верстатом на підприємстві був токарно-гвинторізний верстат зі східчастиним шківом моделі ТВ-155В.
У роки війни завод освоїв випуск токарно-гвинторізного верстата 1615 року і незабаром модернізував його, довівши швидкість шпинделя до 1000 обертів на хвилину.
У 1949 році запущений у серійне виробництво верстат 1616 , у шістдесятих роках моделі - 1В616 та 1А616 , а з початку сімдесятих років почався випуск серії 16Б16 .
З 90-х років минулого століття підприємство СВСЗ випускає токарні верстати під торговою маркою SAMAT .
Універсальний токарно-гвинторізний верстат 1616 замінив у виробництві застарілу модель 1615 і був замінений на більш досконалу модель цієї серії 1А616 .
З 1949 року Середньоволзький верстатобудівний завод почав випускати токарно-гвинторізний верстат 1616 у двох виконаннях: нормальної точності (модель 1616) та підвищеної точності (модель 1616П).
Токарно-гвинторізний верстат 1616 призначений для токарної обробки порівняно невеликих деталей з різних матеріалів як швидкорізальними, так і твердосплавними інструментами в умовах індивідуального та серійного виробництва. На верстаті можна нарізати різцем метричні, дюймові та модульні різьблення.
Токарний верстат моделі 1616 має достатню швидкохідність для свого часу (найбільше оборотів шпинделя за хвилину 1415) і електродвигун потужністю 2,8 кВт. Надалі верстат 1616 був удосконалений: потужність двигуна збільшилася до 4,5 кВт, швидкість шпинделя зросла до 44..1980 об/хв, поздовжні - 0,06..3,6 мм/об.
Найбільший діаметр деталі типу Диск , що обробляється над станиною, становить 320 мм, а максимальний діаметр деталі типу Вал , що закріплюється в центрах над верхньою частининою супорта – 175 мм. Відстань між центрами 750 мм.
Найбільша довжина обточування деталі з механічною подачею супорта дорівнює 700 мм, тобто на 50 мм менше, ніж максимальна відстань між центрами.
Шпиндель верстата 1616 отримує 24 швидкості обертання (19..1415 об/хв) у прямому та зворотному напрямку (142..580) від коробки швидкостей через перебірні шестерні. Для керування перебором служать ручки на передній бабці.
Дві фрикційні муфти в коробці швидкостей керують пуском, зупинкою та реверсуванням шпинделя при увімкненому двигуні.
Передній кінець шпинделя верстата 1616 має зовнішній конус, шпонку та гайку М115х4 для кріплення проміжного фланця з патроном.
Коробка подач забезпечує нарізання метричної, дюймової та модульної різьби без застосування змінних шестерень. Для нарізування точного різьблення ходовий гвинт може бути прямо включений, минаючи коробку подач.
Механізм коробки подач дає можливість отримати через гвинт наступні різьблення:
Від шпинделя рух передається на гітару і від неї на вхідний вал коробки подач.
Оброблювана деталь встановлюється у центрах чи патроні. Привід верстата здійснюється від одного електродвигуна через два клинопасових ременя і редуктор, розташований у лівій тумбі верстата.
Наявність клинопасової передачі оберігає механізми коробки швидкостей та шпиндельної бабки від динамічних ударів при пуску, реверсуванні та гальмуванні.
Коробка подач забезпечує нарізання метричної, дюймової та модульної різьби без застосування змінних шестерень. Для нарізування точного різьблення ходовий гвинт може бути прямо включений, минаючи коробку подач.
Двигун для приводу швидкого ходу не передбачено.
У верстаті передбачена можливість встановлення гідрокопіювального пристрою та гідропневмоциліндрів для затиску виробів у патроні чи цангу.
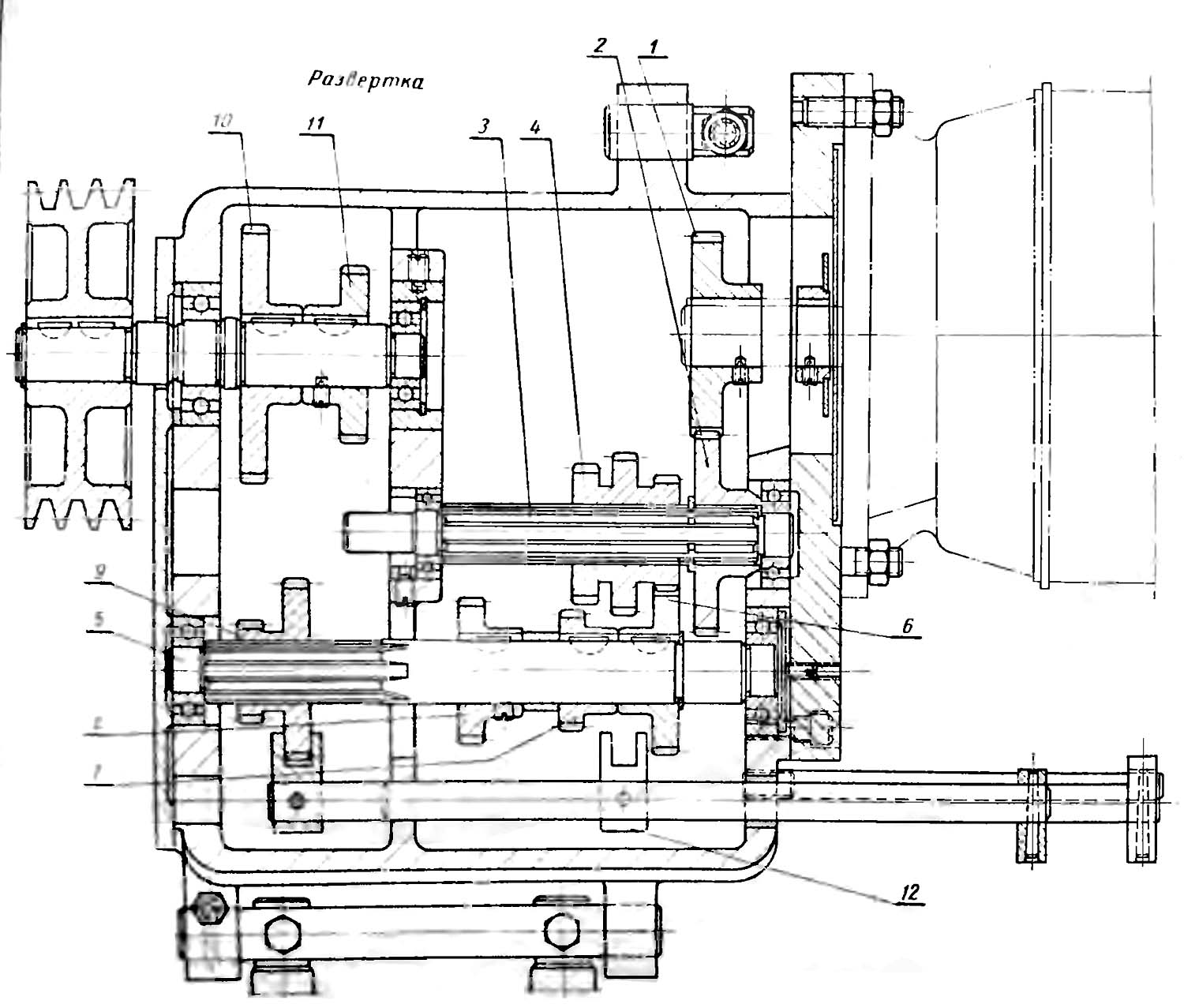
Станина жорсткої конструкції встановлена на спільній масивній тумбі. Привід верстата розділений. Коробка швидкостей змонтована у лівій частинині тумби.
Коробка подач закритого типу має зручне керування. До верстата додаються копірна лінійка та механізм чотирипозиційних поздовжніх упорів. Верстат 1616 має централізовану циркуляційну систему мастила та систему охолодження з окремим приводом.

Габарит робочого простору верстата 1616

Шпиндель токарно-гвинторізного верстата 1616

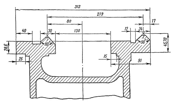
Станина токарно-гвинторізного верстата 1616
Станина токарно-гвинторізного верстата 1616. Дивитись у збільшеному масштабі

Фото токарно-гвинторізного верстата 1616

Фото токарно-гвинторізного верстата 1616

Розміщення органів керування токарним верстатом 1616

Кінематична схема токарного верстата 1616
1. Схема кінематична токарно-гвинторізного верстата 1616. Дивитись у збільшеному масштабі
2. Схема кінематична токарно-гвинторізного верстата 1616. Дивитись у збільшеному масштабі

Коробка швидкостей (редуктор) токарного верстата 1616
Коробка швидкостей (редуктор) токарного верстата 1616. Дивитись у збільшеному масштабі
Основанием верстата 1616 является сплошная тумба. В левой частини основания смонтирован на подвеске редуктор з фланцевым електродвигуном; в средине тумбы установлены масляный резервуар і маслонасос, а слева расположены бак і привід для системы охлаждения.
В корпусе редуктора на радиальных шариковых підшипниках смонтированы три валика. На первом шлицевом валике перемещается тройной блок шестерен, а на втором - двойной блок шестерен. Керування обоими блоками осуществляется от одной рукоятки і може производиться на ходу верстата 1616. Пристрій для переключения скорости редуктора показано на фиг. 206. При оттягивании рычага 1 на себя в направлении стрелки а барабан 5 перемещается вправо і размыкает посредством диска 2 контакты микропереключателя 7, выключая тем самым приводной електродвигатель.
При поворачивании рычага верстата 1616 з барабаном по часовий стрелке (в) или против часовий стрелки (г) относительно оси 6 производится выбор нужного числа оборотів, которые указываются стрелкой 4, закрепленной на барабане 5. Числа оборотів нанесены на табличке, установленной на нерухомому кронштейне 3. При подаче рычага 1 от токаря по стрелке б сначала производится переключение скорости, затем - увімкнення електродвигуна. Принципиальная схема механізма переключения швидкостей показана на фиг. 207-Переключающии диск 5, связанный з барабаном 8, имеет расположенные по окружности в определенной закономерности отверстия.
Каждой скорости редуктора соответствует свое расположение отверстий. Как уже указывалось выше, при повороте диска з барабаном происходит выбор нужной скорости, при етом против круглых реек 10 і 11 на диске располагается необходимая для данной скорости комбинация отверстий При перемещении переключающего диска в направлении стрелки б вдоль вала 6 он упирается в конец рейки 10 или 11 і перемещает ее. поворачивая при етом зацепляющуюся з нею шестерню 9. Одновременно з шестерней 9 получает вращение сидящая з ней на одной оси шестерня 7, вызывая перемещение рейки 3 з переключающей вилкой 4, Вилка входит в кольцевой паз блока шестерен 2 і при своем движении перемещает блок вдоль вала 1, производя переключение скорости.

Передня бабка токарного верстата 1616
Передня бабка токарного верстата 1616. Дивитись у збільшеному масштабі

Схема змазки токарного верстата 1616
Схема змазки токарного верстата 1616. Дивитись у збільшеному масштабі
Питание ланцюгів електроустаткування осуществляется следующими напряжениями:
Електроустаткування верстата предназначено для подключения к трехфазной сети переменного тока з глухозаземленным или изолированным нейтральным проводом.
На станке установлены два трехфазных короткозамкнутых асинхронных електродвигуна:

Електрична схема токарного верстата 1616
На станке установлены два трехфазных електродвигуна;
Електродвигун ДГ приводу головного руху типа A02-41-4 мощностью 4,0 кВт, 1430 об/мин, 220/380 В.
Электронасос ДО для подачі охлаждающей жидкости к резцу - типа ПА-22 мощностью 0,12 кВт, 2800 об/мин, 220/880 в.
Верстати изготавливаются з електрообладнанням, рассчитанным для роботи при напряжении 380 В, как в силових цепях, так і в цепях керування.
Лампа местного освещения питается напряжением 36 в от понижающего трансформатора Т
Согласно условиям заказа верстати могут быть изготовлены з рабочим напряжением 220 или 500 В.
| Наименование параметра | 1616 | 1А616 | 16Б16 |
|---|---|---|---|
| Основні параметри | |||
| Класс точності по ГОСТ 8-82 | Н | Н | Н |
| Наибольший диаметр заготовки, обрабатываемой над станиной, мм | 320 | 320 | 320 |
| Наибольший диаметр заготовки, обрабатываемой над суппортом, мм | 175 | 180 | 180 |
| Наибольшая длина заготовки, обрабатываемой в центрах (РМЦ), мм | 750 | 710 | 500,750,1000 |
| Наибольшая длина обтачивания, мм | 700 | 660 | 960 |
| Высота от опорной поверхности резца до линии центров, мм | 20 | 25 | |
| Наибольшее расстояние от оси центров до кромки резцедержателя, мм | 185 | 170 | |
| Высота оси центров над плоскими направляющими станины (высота центров), мм | 160 | 165 | |
| Наибольшая масса заготовки, обрабатываемой в патроне, кг | |||
| Наибольшая масса заготовки, обрабатываемой в центрах, кг | |||
| Шпиндель | |||
| Диаметр сквозного отверстия в шпинделе, мм | 30 | 35 | 45 |
| Наибольший диаметр прутка, проходящий через отверстие в шпинделе, мм | 29 | 34 | 44 |
| Частота прямого обертання шпинделя, об/мин | 19..1415 | 9..1800 | 25..2500 |
| Число ступеней частот прямого обертання шпинделя | 24 | 21 | 21 |
| Частота обратного обертання шпинделя, об/мин | 19..1415 | 9...1800 | 25...1250 |
| Число ступеней частот обратного обертання шпинделя | 24 | 21 | 18 |
| Размер внутреннего конуса в шпинделе, М | Морзе 5 | Морзе 5 | Морзе 6 |
| Кінець шпинделя | М115х4 | 6К ГОСТ 12593-72 | 6К ГОСТ 12593-72 |
| Торможение шпинделя | нет | есть | есть |
| Блокировка рукояток | нет | есть | есть |
| Суппорт. Подачи | |||
| Наибольшее перемещение поздовжньої каретки суппорта от руки, по валику, по винту, мм | 850/ 750/ 750 | 670 | 500,750, |
| Наибольшее перемещение поперечної каретки суппорта от руки, по винту, мм | 210/ 90/ нет | 195 | 220 |
| Цена деления лимба продольного переміщення суппорта, мм | 1 | 1 | |
| Цена деления лимба поперечного переміщення суппорта, мм | 0,02 | 0,05 | |
| Число ступеней продольных подач | 140 | ||
| Пределы продольных рабочих подач, мм/об | 0,07..1,67 | 0,065..0,91 | 0,05..2,8 |
| Пределы поперечных рабочих подач, мм/об | 0,02..1,24 | 0,065..0,91 | 0,025..1,4 |
| Скорость быстрых перемещений суппорта, продольных, м/мин | нет | нет | 4 |
| Скорость быстрых перемещений суппорта, поперечных, м/мин | нет | нет | 2 |
| Количество нарезаемых різьб метрических | |||
| Пределы шагов нарезаемых різьб метрических, мм | 0,5..9 | 0,5...24 | 0,25...56 |
| Количество нарезаемых різьб дюймовых | |||
| Пределы шагов нарезаемых різьб дюймовых | 38..2 | 56..1 | 112..0,5 |
| Количество нарезаемых різьб модульных | |||
| Пределы шагов нарезаемых різьб модульных | 0,5..9 | 0,25..22 | 0,25..56 |
| Количество нарезаемых різьб питчевых | |||
| Пределы шагов нарезаемых різьб питчевых | нет | 128...2 | 112...0,5 |
| Резцовые салазки | |||
| Наибольшее перемещение резцовых салазок, мм | 105 | 120 | |
| Перемещение резцовых салазок на одно деление лимба, мм | 0,02 | 0,05 | 0,05 |
| Наибольший угол поворота резцовых салазок, град | ±45° | ±90° | ±90° |
| Цена деления шкалы поворота резцовых салазок, град | 1° | 1° | 1° |
| Наибольшее сечение державки резца, мм | 20 х 30 | 20 х 25 | |
| Высота от опорной поверхности резца до оси центров (высота резца), мм | 20 | 25 | 25 |
| Число резцов в резцовой головке | 4 | 4 | 4 |
| Задня бабка | |||
| Диаметр пиноли задньої бабки, мм | |||
| Конус отверстия в пиноли задньої бабки по ГОСТ 2847-67 | Морзе 4 | Морзе 4 | |
| Наибольшее перемещение пиноли, мм | 95 | 120 | |
| Перемещение пиноли на одно деление лимба, мм | 1 | 1 | |
| Величина поперечного смещения корпуса бабки, мм | ±10 | ±10 | ±10 |
| Електроустаткування | |||
| Количество електродвигателей на станке | 3 | 2 | 4 |
| Мощность електродвигуна головного привода, кВт | 2,8/ 1420 | 4 | 4,2; 7,1 |
| Тип електродвигуна головного привода | АОЛ42-4 | А02-41-4 | 4А132М8/4У3 |
| Мощность електродвигуна маслонасоса, кВт | 0,1 | ||
| Мощность електродвигуна насоса охлаждения, кВт | 0,1 | 0,125 | 0,125 |
| Насос охлаждения (помпа) | ПА-22 | ПА-22 | ПА-22 |
| Габарити і масса верстата | |||
| Габарити верстата (длина ширина высота), мм | 2355 х 852 х 1275 | 2135 х 1225 х 1220 | 2025 х 1110 х 2270 |
| Масса верстата, кг | 1850 | 1500 | 1900 |