Виробником токарно-гвинторізних універсальних верстатів 1А616К є Середньоволзький верстатобудівний завод СВСЗ , заснований у 1876 році.
Виробництво металорізальних верстатів на Середньоволзькому верстатобудівному заводі вперше почалося наприкінці січня 1926 року. Першим випущеним верстатом на підприємстві був токарно-гвинторізний верстат зі східчастиним шківом моделі ТВ-155В .
У роки війни завод освоїв випуск токарно-гвинторізного верстата 1615 року і незабаром модернізував його, довівши швидкість шпинделя до 1000 обертів на хвилину.
У 1949 році запущений у серійне виробництво верстат 1616 , у шістдесятих роках моделі - 1В616 та 1А616 , а з початку сімдесятих років почався випуск серії 16Б16 .
З 90-х років минулого століття підприємство СВСЗ випускає токарні верстати під торговою маркою SAMAT .
Верстат 1А616К сконструйований на основі базової моделі 1А616 з високим ступенем уніфікації функціональних вузлів та деталей.
Верстат призначений для токарної обробки порівняно невеликих деталей з різних матеріалів як швидкорізальними, так і твердосплавними інструментами в умовах індивідуального та серійного виробництва. На верстаті можна нарізати різцем метричні, дюймові, модульні та різьби.
Передній кінець шпинделя виконаний за ГОСТ 12593 (DIN 55027, ISO 702-3-75) під поворотну шайбу, з коротким центруючого конусом. (До 1959 року токарний верстат 1А616К випускався з різьбовим кінцем шпинделя (М76 х 6):
Оброблювана деталь встановлюється у центрах чи патроні. Привід верстата 1А616К здійснюється від одного електродвигуна через два клинопасових ременя і редуктор, розташований у лівій тумбі верстата.
Наявність клинопасової передачі оберігає механізми коробки швидкостей та шпиндельної бабки від динамічних ударів при пуску, реверсуванні та гальмуванні.
Гальмування електродвигуна приводу проводиться постійним струмом, що дає плавний і швидкий зупинку шпинделя без нагрівання електродвигуна.
Коробка подач верстата 1А616К забезпечує нарізування метричної, дюймової та модульної різьби без застосування змінних шестерень. Для нарізування точного різьблення ходовий гвинт може бути прямо включений, минаючи коробку подач.
Двигун для приводу швидкого ходу не передбачено.
У верстаті передбачена можливість встановлення гідрокопіювального пристрою та гідропневмоциліндрів для затиску виробів у патроні чи цангу.
Коробка подач забезпечує нарізання метричної, дюймової та модульної різьби без застосування змінних шестерень. Для нарізування точного різьблення ходовий гвинт може бути прямо включений, минаючи коробку подач.
Для нарізування різьблення з кроком до 6 мм рух, як і при подачі супорта, запозичується від верстата шпинделя. Різьблення з більшим кроком нарізаються при включеному переборі з використанням ланки збільшення кроку.
У токарномуу верстаті 1А616К передбачена можливість нарізання особливо точних різьблень шляхом виключення кінематичних ланцюгів коробки подач та застосування спеціальних прецизійних змінних зубчастиних коліс.

Габарит робочого простору верстата 1А616К. Ескіз супорта

Шпиндель токарно-гвинторізного верстата 1А616К

Станина токарно-гвинторізного верстата 1А616К
Станина токарно-гвинторізного верстата 1А616К. Дивитись у збільшеному масштабі

Фото токарного верстата 1А616К
Загальний вигляд токарно-гвинторізного верстата 1А616К. Дивитись у збільшеному масштабі

Фото токарного верстата 1А616К
Загальний вигляд токарно-гвинторізного верстата 1А616К. Дивитись у збільшеному масштабі

Фото токарного верстата 1А616К

Розташування основних вузлів та органів керування токарним верстатом 1А616К

Кінематична схема токарного верстата моделі 1А616К
1. Схема кінематична токарно-гвинторізного верстата 1А616К. Дивитись у збільшеному масштабі
Обрабатываемая деталь устанавливается в центрах или закрепляется в патроне. В резцедержателе суппорта могут быть закреплены четыре резца. Инструменты для обробки отверстий вставляются в конус пиноли задньої бабки. Сочетанием вращательного руху детали з поступательным переміщенням резца на станке можно обрабатывать цилиндрические, конические, винтовые і торцовые поверхности.
Конструктивные особливості. В станке моделі 1А616К применен разделенный привід руху різання.
Приводной шкив установлен на шпинделе между его опорами, однако конструкция задньої опори шпинделя допускает замену клиновых ремней без демонтажу шпинделя.
Торможение приводу верстата достигается подключением постоянного тока в обмотку статора електродвигуна.
Рух різання — вращение шпинделя з обрабатываемой деталью. Рух подач — прямолинейное поступательное перемещение суппорта з резцом в продольном і поперечном направлениях от ходового валика.
Рух образования винтовой поверхности — прямолинейное поступательное перемещение суппорта з резьбовым резцом в продольном направлении от ходового гвинта.
Вспомогательные руху — ручні установочные переміщення суппорта, корпуса і пиноли задньої бабки і поворот четырехпозиционного резцедержателя.
Привід руху різання у верстата моделі 1А616К является разделенным. Он состоит из двух клиноременных передач, девятиступенчатой коробки швидкостей і переборного пристроя в шпиндельной бабке.
Двухскоростной електродвигатель связан з входым валом автоматичною коробки швидкостей клиноременной передачей.
Трехваловая автоматическая коробка швидкостей (АКС-109) позволяет получить 9 швидкостей на выходном валу.
Таким образм, вращение з выходного вала АКС посредством клиноременной передачи поступает на входной вал шпинельной бабки: всего 9 х 2 = 18 швидкостей обертання.
Перебор 1:1 і 1:8 в шпиндельной бабке позволяет передать шпинделю 36 швидкостей обертання, но 15 ступеней совпадают (35,5..900), вследствие чего из 36 швидкостей шпиндель имеет только 15 + 6 = 21 различную скорость обертання.
Движения подач суппорта заимствуется от шпинделя. Вал X получает вращение через шестерни 34—44—22—34. Подвижная шестерня 34 на валу X служит для изменения направления подач суппорта. При смещении шестерни влево вал X получает вращение от блока шестерен Б4, минуя паразитную шестерню 222.
Для подачі суппорта сменные блоки шестерен С1 і С2 устанавливаются так, как показано на схеме, і вал XII приводится в рух от вала X через шестерни 30—66—36. Теоретически коробка подач може обеспечить 48 швидкостей. Однако вследствие близкого совпадения ряда швидкостей практически коробка подач дает только 22 различные величины подачі.
Промежуточный вал XIX і связанный з ним предохранительной муфтой Мn ходовой валик XXI получают вращение от выходного вала XVII коробки подач через колеса 23—55. Ходовой валик XXI передает вращение посредством червячной передачи 2—35 валу XXII. Последний связан з валом XXIII колесами 31—53.
Мелкозубая муфта М6 служит для увімкнення поздовжньої подачі суппорта. Рух от вала XXIII передається суппорту через муфту Мб, колеса 27—53, вал XXIV і реечную передачу 14 — рейка m = 2 мм. Поперечная подача осуществляется ходовым винтом XXVII (при включенной муфте M5), который получает вращение от вала XXII через зубчасті передачи 50—35 і 47—13.
Рух образования винтовой поверхности. Для нарізання різьби з шагом до 6 мм движение, как і при подаче суппорта, заимствуется от шпинделя верстата. Резьбы з более крупным шагом нарезаются при включенном переборе з использованием звена увеличения шага. Для етого блок шестерен Б4 смещают вправо, пока его левая шестерня 44 не пойдет в зацепление з шестерней 34, закрепленной на полом валу V. В етом случае перемещение суппорта будет осуществляться от вала V.
Для нарізання метрической і дюймовой різьби сменные блоки шестерен С1 і С2 устанавливаются так же, как і при подаче 30—66—36. Для нарізання модульной і питчевой різьби сменные блоки переставляют так, чтобы рух валу XII передавалось шестернями 36—66—55.
Для некоторых шагов різьб применяются і другие варіанти установки сменных блоков, при которых рух передається шестернями 25—66—55 или 36—66—30.
Когда нарезаются дюймовые і питчевые різьби (как показано на схеме), кулачковая муфта М2 выключена. Колесо 51 зацеплено з шестерней 30 вала XII, а шестерня 39 на валу XV введена в зацепление з шестерней 39 двойного блока 22, 39, свободно сидящего на валу XIV. Для нарізання метрических і модульных різьб включается муфта М2, колесо 51 выводится из зацепления, а шестерня 39 перемещается по валу XV вправо до зацепления з колесом 39, жестко закрепленным на валу XIV.
Суппорт получает рух от коробки подач через кулачковую муфту М4, промежуточный валик XVIII і ходовой винт XX.
Лимб Л поздовжньої подачі суппорта получает вращение от вала XXIV через шестерни 53—17 і передачу 30-30—30—117 з внутренним зацеплением.
Автоматическая коробка швидкостей - покупной узел АКС-109 6,3 12м, изготовленный Псковским заводом зубчатых колес.
Коробка швидкостей на 9 ступеней крепится торцом на внутренней стенке тумбы і може перемещаться в вертикальной плоскости для натяжения ремней.
Керування АКС осуществляется рукояткой 26 на передньої стенке шпиндельной бабки електрическими сигналами постоянного тока 24 В.

Автоматическая коробка швидкостей токарного верстата 1А616К
Автоматическая коробка швидкостей токарного верстата 1А616К. Дивитись у збільшеному масштабі

Автоматическая коробка швидкостей токарного верстата 1А616К
Автоматическая коробка швидкостей токарного верстата 1А616К. Дивитись у збільшеному масштабі

Кінематична схема АКС 109 токарного верстата 1А616К
Кінематична схема АКС 109 токарного верстата 1А616К. Дивитись у збільшеному масштабі

Електрична схема АКС 109 токарного верстата 1А616К
Електрична схема АКС 109 токарного верстата 1А616К. Дивитись у збільшеному масштабі
Унифицированные автоматические коробки швидкостей серии АКС климатического исполнения О, категории розміщення. 4.1 по ГОСТ 15150-69 применяются в главном приводе верстатів токарной, сверлильной і фрезерной групп. Коробки можно использовать в универсальных верстатах, автоматах і напівавтоматух, в верстатах з программным керуванням.
АКС позволяет сосредоточить в механической передаче все операции керування головним приводом - пуск, торможение, регулювання скорости; кроме того, АКС обеспечивает высокую скорость переходных процессов, защиту деталей головного приводу от перегрузок і удобство роботи.
АКС обеспечивает ступенчатое регулювання скорости шпинделя на холостом ходу или в процесса різання в широком диапазоне з постоянной мощностью.
Привід АКС осуществляется от нерегулируемого или регулируемого електродвигуна.
Корпуса АКС имеют форму прямоугольного параллелепипеда з тремя расточками для валов, расположенными в одной плоскости.
АКС 109-6,3-12М — закрытого исполнения з автономной системой змазки і фланцевым креплением к верстату. Входной і выходной валы расположены з одной стороны в одной плоскости.
На входном валу АКС располагаются електромагнітні муфты:
На выходном валу АКС располагаются електромагнітні муфты:
Для змазки АКС следует применять масло марки Т-22 или ИГП-18. Тонкость очистки масла должна быть не более 25 мкм.
АКС з индивидуальной системой змазки имеют реверсивные встроенные насосы шиберного типа С12-43.

Фото передньої бабки токарно-гвинторізного верстата 1А616К

Передня бабка токарно-гвинторізного верстата 1А616К
На рисунке показана коробка швидкостей токарного верстата 1А616К. Здесь шкив клинорёменной передачи вращается в самостоятельных підшипниках, не связанных з головними. Поетому вибрации, возникающие в редукторе, не оказывают заметного влияния. Рух на шпинделе происходит через перебор (как на рисунке) либо на прямую при включении зубчатой муфты з z = 34 (13).
Шпиндель 18 (рис. 14, а) смонтирован на высокоточных підшипниках качения класса А. В передньої опоре шпинделя установлен спеціальний регулируемый двухрядный роликовый подшипник 17 серии 3182116А, имеющий у внутреннего кольца коническую посадочную поверхность. Регулювання радиального зазору в передньої опоре шпинделя осуществляется гайкой 16. При подтягивании гайки внутреннее коническое кольцо підшипника перемещается вперед по конусной шейке шпинделя. Вследствие етого за счет упругих деформаций внутреннего кольца диаметр беговых канавок увеличивается, благодаря чему уменьшается или устраняется зазор между роликами і кольцами.
Задня опора шпинделя состоит из радиально-упорного шарикопідшипника 6 серии 46211А і шарикового упорного підшипника 7 серии 8211А. Регулювання задньої опори производится гайкой 2.
Приводной шкив 9 закреплен на полом валу 10, который смонтирован на независимых от шпинделя шарикопідшипниках 8. Такой монтаж приводного пристроя разгружает шпиндель от изгибающих усилий со стороны клиноременной передачи і ведущей шестерни г перебора, которая изготовлена за одно целое з полым валом 10. Конструкція задньої опори шпинделя позволяет устанавливать і заменять приводные ремни без демонтажу шпинделя. Для етого снимают защитный кожух 3, отворачивают гайку 2, отвинчивают фланец 4 і з помощью отжимных болтов выпрессовывают буксу 5 из корпуса 1 бабки. В образовавшееся отверстие заводят клиновые ремни для их монтажа или смены.
По шлицам переборного валика 11 перемещаются колесо 12 і шестерня 15. Они постоянно связаны друг з другом зубчатой муфтой М. На шпинделе жестко закреплена шестерня 14, которая охватывается зубчатой муфтой 13. При смещении муфты 13 влево її зубья зацепляются з шестерней Z, соединяя шпиндель з полым валом 10.
Шестерни 20 і 25 звена увеличения шага соединены в единый блок і могут перемещаться по шлицам вала 19.
Широкая паразитная шестерня 22 реверсивного механізма смонтирована на оси 21 на шарикопідшипниках. Подвижная шестерня 24 реверса і насос 23 установлены на валу 26.

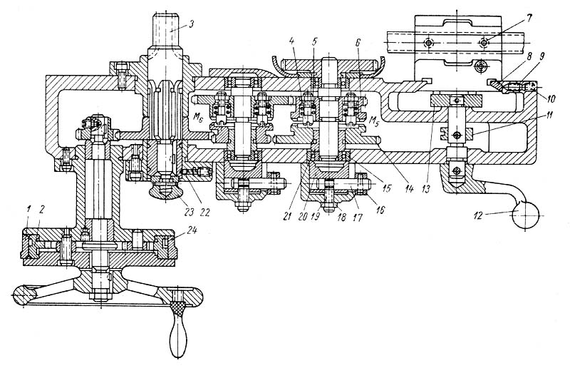
Коробка подач токарно-гвинторізного верстата 1А616К
На кінематичної схеме верстата кулачковые муфты М2, М3 і М4 коробки подач для удобства чтения схеми і большей наглядности показаны как муфты з торцовыми кулачками. В действительности, как видно из рисунка, у етих муфт одна из полумуфт представляет собой шестерню з наружным зацеплением, а другая — зубчатое колесо з внутренним зацеплением. Такая конструкция кулачковых муфт более технологична, надежна в работе і долговечна.
Все шестерни коробки подач изготовлены из стали 45 і закалены ТВЧ до твердости HRC 50. Большинство шестерен і блоков шестерен, как подвижных, так і неподвижных, установлены на валах на шлицевых соединениях і только зубчатое колесо 4 і блок шестерен 5 по конструктивным соображениям закреплены на валах посредством сегментных шпонок, а шестерня 25 изготовлена за одно целое з валом. Все валы коробки подач смонтированы на шариковых підшипниках. Вал 11, который посредством жесткой муфты 13 связан з ходовым винтом 14, кроме двух радиальных шариковых підшибників имеет также два упорных прецизионных шариковых підшипника 8 і 10 класса А серии 8105, благодаря чему особое биение ходового гвинта не превышает 4 мкм. Степень предварительного натяга етих упорных шариковых підшибників регулируется гайками 12. Увімкнення ходового гвинта или ходового валика производится кнопкой 9 при помощи тяги 7 і вилки 6.
Промежуточный вал 21 соединен з ходовым валиком 17 посредством предохранительной муфты, состоящей из закаленного диска 20 з отверстиями, корпуса 19, шариков 15, пружин 16 і регулировочной гайки 18. Диск 20 жестко закреплен на валу 21, а корпус 19 — на ходовом валике 17. В отверстия корпуса 19 муфты заложены шарики 15, которые посредством пружин 16 і гайки 18 поджаты к отверстиям диска 20.
До тех пор пока крутящий момент, передаваемый ходовому валику, не превышает допустимой величины, все елементы предохранительной муфты работают как одно целое і вращаются совместно. Однако как только крутящий момент превысит допустимую величину, шарики 15, преодолевая сопротивление пружин 16, отойдут вправо і диск 20 начнет проскакивать относительно корпуса 19, который совместно з ходовым валиком 17 прекратит свое вращение. Регулювання величины допустимого крутящего момента производится гайкой 18.
Смазка механізмов коробки подач осуществляется под давлением маслом из резервуара, расположенного в верхней частини корпуса 3 і прикрытого крышкой 1. Масло подается в резервуар насосом 22, который приводится во вращение валиком 23, связанным з шлицевым валом 24. Из резервуара масло подается к точкам змазки по трубкам 2. Заливка масла в резервуар коробки подач производится по маслоуказа-телю У2 після снятия крышки 1.

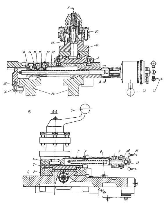
Суппорт токарно-гвинторізного верстата 1А616К

Верхний супорт токарно-гвинторізного верстата 1А616К
Суппорт (рис. 14, в) состоит из продольных салазок 1, поперечных салазок 2, средней поворотной частини 3, верхней частини суппорта 4 і четырехпозиционного резцедержателя 21.
Продольные салазки 1 перемещаются по внешним направляющим станины 24. Для предохранения от опрокидывания і для обеспечения более плавного ходу продольные салазки з задньої стороны снабжены двумя планками 25 з регулируемыми упорами 26. Закрепление продольных салазок на направляючих станины производится стяжным болтом 8.
Ручное установочное перемещение поперечных салазок 2 производится рукояткой 22 посредством ходового гвинта 18. Для обеспечения возможности устранения зазору между ходовым винтом і гайкой післядняя состоит из двух частин — нерухомою 13 і регулируемой 16. Между обеими частинами гайки размещен клин 14. Если вследствие износа резьбового соединения возникнет мертвый ход поперечных салазок, освобождают винт 17 і посредством гвинта 15 подтягивают клин 14. После устранения зазору гайка 16 надежно закрепляется винтом 17.
Быстрый отвод і подвод суппорта в пределах до 8 мм, необходимый при нарезании різьби і ряде других операций, производится рукояткой 23.
Перемещение верхней частини суппорта осуществляется рукояткой 11, закрепленной на ходовом винте 6. Гайка 7 жестко связана со средней поворотной частью 3. Величина переміщення верхней частини суппорта отсчитывается по лимбовому кольцу 9, которое удерживается в нужном положении пластинчатой пружинкой 10. Гайки 12 служат для устранения зазору между винтом 6 і корпусом верхней частини суппорта. Рукоятка 5 з помощью храповика 20 і кулачка 19 обеспечивает освобождение, поворот, фиксацию і закрепление резцедержателя 21.

Фартук токарно-гвинторізного верстата 1А616К
В станке моделі 1А616К применен фартук закрытого типа упрощенной конструкції, так как в нем нет дополнительного механізма для реверсирования подач. Увімкнення поперечных і продольных подач суппорта производится соответственно мелкозубчатыми кулачковыми муфтами М5 і М6.
Муфта М5 поперечної подачі суппорта управляется рукояткой 16, закрепленной на ексцентриковом валике 17. Последний установлен в отверстии стакана 20 і своей ексцентричной шейкой упирается в болт 19. При повороте рукоятки 16 совместно з ексцентриковым валиком 17 они одновременно вместе со стаканом 20 двигаются вдоль оси вала і через шарикоподшипник 15 і втулку 21 перемещают в осевом направлении шестерню-полумуфту 14. Последняя, упираясь в штыри 4 і преодолевая сопротивление пружин 5, входит в торцовое зацепление з шестерней полумуфтой 6, включая поперечную подачу.
При повороте рукоятки 16 в первоначальное положение пружины 5 через штыри 4 расцепляют полумуфты 14 і 6, выключая рух подачі. Регулювання правильности увімкнення і виключення муфты М5 производится болтом 19, который після регулировки законтривается гайкой 18. Керування муфтой М6 происходит аналогичным образом.
Увімкнення маточной гайки 7 осуществляется рукояткой 12 посредством фасонного диска 13. Обе половинки маточной гайки 7 перемещаются по направляющим типа «ласточкин хвост», которые регулируются клином 8 і гвинтами 9. Последние контрятся стопорами 10.
Диск 11 служит для блокировки одновременного увімкнення подачі от ходового валика і переміщення фартука от ходового гвинта. При нарезании різьби от ходового гвинта реечная шестерня-валик 3 може быть выведена из зацепления з рейкой путем переміщення її вдоль оси за кнопку 23. Положение шестерни-валика 3 фиксируется шариком 22.
Для отсчета продольных перемещений суппорта на фартуке установлен лимб 1, связанный з приводным диском-шестерней 2 посредством пружинной пластинки 24. Такая фрикционная связь позволяет быстро устанавливать лимб 1 в удобное для отсчета положение.
Заливка масла (индустриальное 20) производится через пробку, расположенную на продольных салазках суппорта. Слив масла осуществляется через пробку, находящуюся в днище корпуса фартука. Уровень масла можно наблюдать по указателю У3.
Для змазки червячной передачи фартука предусмотрена специальная масляная ванна. Смазка мелкозубчатых муфт поздовжньої і поперечної подачі, а также підшибників ковзання осуществляется маслом из резервуара, расположенного в верхней частини фартука, через маслоподводящие трубки.

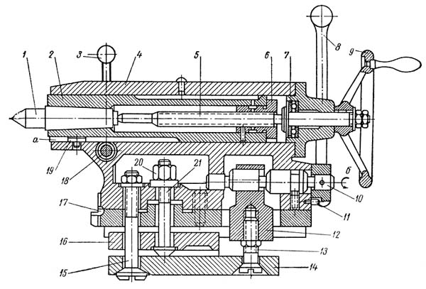
Задня бабка токарно-гвинторізного верстата 1А616К
Основними частинами задньої бабки є корпус 4 (рис. 14, б), основа 17 і пиноль 2. Последняя совместно з центром може перемещаться вдоль своей оси в корпусе 4. От проворачивания пиноль удерживается шпонкой 19, которая входит в паз а пиноли.
Осевое перемещение пиноли производится вручную маховичком 9, закрепленным на ходовом винте 5. Последний входит в маточную гайку 6, жестко связанную з пинолью 2. Осевые зусилля, действующие на пиноль, воспринимаются упорным шарикоподшипником 7. В кінці ходу пиноли назад выжимается задний центр 1. Закрепление пиноли в корпусе бабки производится рукояткой 3 посредством втулочно-винтового зажиму 18.
Рычаг 8 служит для закрепления задньої бабки на направляючих станины верстата. При повороте рычага 8 по стрелке б ексцентрик оси 10 перемещает вверх стяжку 12 з винтом 13. Последний приподнимает правый конец рычажной планки 14, которая, будучи связана болтом 15 з корпусом бабки, нажимает через сферическую головку болта 21 на прижим 16. Прижим 16, опираясь на нижние плоскости направляючих станины (на рисунке не показаны), надежно закрепляет бабку. Упор 11 служит для ограничения ходу рычага 8 і соответственно поворота ексцентрика оси 10. Для производства особо тяжелых работ задня бабка може быть дополнительно закреплена гайкой 20.
| Наименование параметра | 1616 | 1А616 1971г |
1А616п 1961г |
1А616к |
|---|---|---|---|---|
| Основні параметри | ||||
| Класс точності по ГОСТ 8-82 | Н | Н | П | Н |
| Наибольший диаметр заготовки, обрабатываемой над станиной, мм | 320 | 320 | 320 | 320 |
| Наибольший диаметр заготовки, обрабатываемой над суппортом, мм | 175 | 180 | 180 | 180 |
| Наибольшая длина заготовки, обрабатываемой в центрах (РМЦ), мм | 750 | 710 | 710 | 710 |
| Наибольшая длина обтачивания, мм | 700 | 660 | 660 | 660 |
| Высота от опорной поверхности резца до линии центров, мм | 20 | 25 | 25 | 25 |
| Наибольшее расстояние от оси центров до кромки резцедержателя, мм | 185 | 170 | 170 | 170 |
| Высота оси центров над плоскими направляющими станины (высота центров), мм | 160 | 165 | 165 | 165 |
| Наибольшая масса заготовки, обрабатываемой в патроне, кг | ||||
| Наибольшая масса заготовки, обрабатываемой в центрах, кг | ||||
| Шпиндель | ||||
| Диаметр сквозного отверстия в шпинделе, мм | 30 | 35 | 35 | 35 |
| Наибольший диаметр прутка, проходящий через отверстие в шпинделе, мм | 29 | 34 | 34 | 34 |
| Частота прямого обертання шпинделя, об/мин | 19..1415 | 9..1800 | 11,2..2240 | 18..1800 |
| Число ступеней частот прямого обертання шпинделя | 24 | 21 | 21 | 21 |
| Частота обратного обертання шпинделя, об/мин (число ступеней) | 19..1415 | 9...1800 | 11,2..2240 | 18..1800 (21) |
| Число ступеней частот обратного обертання шпинделя | 24 | 21 | 21 | 21 |
| Размер внутреннего конуса в шпинделе, М | Морзе 5 | Морзе 5 | Морзе 5 | Морзе 5 |
| Кінець шпинделя по ГОСТ 12593-72 | 6К | 6К | 6К | |
| Торможение шпинделя | нет | есть | есть | есть |
| Блокировка рукояток | нет | есть | есть | есть |
| Точность, тип і размер підшипника в передньої опоре | АВ 3182115 75х115-30 | А 3182116 80х125-34 | А 3182116 80х125-35 | А 3182116 80х125-34 |
| Суппорт. Подачи | ||||
| Наибольшее перемещение поздовжньої каретки суппорта от руки, по валику, по винту, мм | 850/ 750/ 750 | 670/ 670/ 670 | 670/ 670/ 670 | 670/ 670/ 670 |
| Наибольшее перемещение поперечної каретки суппорта от руки, по валику, по винту, мм | 210/ 90/ нет | 195/ - /195 | 195/ - /195 | 195/ - /195 |
| Цена деления лимба продольного переміщення суппорта, мм | 1 | 1 | 1 | 1 |
| Цена деления лимба поперечного переміщення суппорта, мм | 0,02 | 0,05 | 0,05 | 0,05 |
| Продольное перемещение на один оборот лимба, мм | 110 | 110 | 110 | |
| Поперечное перемещение на один оборот лимба, мм | 5 | 5 | 5 | |
| Число ступеней продольных подач | 140 | |||
| Пределы продольных рабочих подач, мм/об | 0,07..1,67 | 0,065..0,91 | 0,05..2,5 | 0,065..0,91 |
| Пределы поперечных рабочих подач, мм/об | 0,02..1,24 | 0,065..0,91 | 0,05..1,5 | 0,065..0,91 |
| Скорость быстрых перемещений суппорта, продольных, м/мин | нет | нет | нет | |
| Скорость быстрых перемещений суппорта, поперечных, м/мин | нет | нет | нет | |
| Количество нарезаемых різьб метрических | ||||
| Пределы шагов нарезаемых різьб метрических, мм | 0,5..9 | 0,5..24 | 0,5..6 | 0,5..24 |
| Количество нарезаемых різьб дюймовых | ||||
| Пределы шагов нарезаемых різьб дюймовых | 38..2 | 56..1 | 48..2,5 | 56..1 |
| Количество нарезаемых різьб модульных | ||||
| Пределы шагов нарезаемых різьб модульных | 0,5..9 | 0,25..22 | 0,25..5 | 0,25..5,5 |
| Количество нарезаемых різьб питчевых | ||||
| Пределы шагов нарезаемых різьб питчевых | нет | 128...2 | 128..1,25 | 128...2 |
| Резцовые салазки | ||||
| Наибольшее перемещение резцовых салазок, мм | 105 | 120 | 120 | 120 |
| Перемещение резцовых салазок на одно деление лимба, мм | 0,02 | 0,05 | 0,05 | 0,05 |
| Перемещение резцовых салазок на один оборот лимба, мм | 3 | |||
| Наибольший угол поворота резцовых салазок, град | ±45° | ±90° | ±90° | ±90° |
| Цена деления шкалы поворота резцовых салазок, град | 1° | 1° | 1° | 1° |
| Наибольшее сечение державки резца, мм | 20 х 30 | 20 х 25 | 20 х 25 | 20 х 25 |
| Высота от опорной поверхности резца до оси центров (высота резца), мм | 20 | 25 | 25 | 25 |
| Число резцов в резцовой головке | 4 | 4 | 4 | 4 |
| Задня бабка | ||||
| Диаметр пиноли задньої бабки, мм | ||||
| Конус отверстия в пиноли задньої бабки по ГОСТ 2847-67 | Морзе 4 | Морзе 4 | Морзе 4 | Морзе 4 |
| Наибольшее перемещение пиноли, мм | 95 | 120 | 120 | 120 |
| Перемещение пиноли на одно деление лимба, мм | 1 | 1 | 1 | 1 |
| Величина поперечного смещения корпуса бабки, мм | ±10 | ±10 | ±10 | ±10 |
| Електроустаткування | ||||
| Количество електродвигателей на станке | 3 | 2 | 2 | 2 |
| Привід головного руху, кВт (об/мин) | 2,8/ 1420 | 4 | 4,5 | 2,8; 4,6 (750/ 1500) |
| Тип електродвигуна головного приводу | AOL42-4 | АО2-41-4 | А51-4-Ш2-К1 | |
| Привід маслонасоса в станції мастила С48-14М, кВт | 0,1 | - | - | - |
| Привід насоса охолодження, кВт (про/хв) | 0,1 | 0,125 (2800) | 0,125 (2800) | 0,125 (2800) |
| Насос охолодження (помпа) | ПА-22 | ПА-22 | ПА-22 | ПА-22 |
| Габарити та маса верстата | ||||
| Габарити верстата (довжина ширина висота), мм | 2355 х 852 х 1275 | 2135 х 1225 х 1220 | 2135 х 1225 х 1220 | 2135 х 1225 х 1420 |
| Маса верстата, кг | 1850 рік | 1500 | 1500 | 1600 |
Додаток: У разі постачання верстата з виїмкою в станині, конусною лінійкою або гідросупортом керівництво доповнюється відповідними додатками.