metalinstryment.com
Довідник по металорізальних верстатів та пресовому обладнанні

5К324А Верстат зубофрезерный вертикальний напівавтомат
схеми, опис, характеристики

5К324А Загальний вигляд  зубофрезерного верстата







Відомості про виробника вертикального зубофрезерного напівавтомату 5К324А

Производитель вертикального зубофрезерного напівавтомату 5К324А Егорьевский станкостроительный завод Комсомолец, основанный в 1930 году.

Завод за время своего существования выпустил свыше 60 моделей: зубофрезерных, зубодолбежных, зубошлифовальных, зубозакругляющих і других зубообрабатывающих верстатів.





Продукция Егорьевского станкостроительного завода Комсомолец, СЗК


5К324А Верстат зубофрезерный вертикальний напівавтомат. Назначение і область применения

Верстат напівавтомат 5К324А зубофрезерный універсальний предназначен для фрезерування цилиндрических зубчатых колес, а также червячных колес радиальным методом в условиях среднесерийного і крупносерийного производства.

Нарезание зубчатых колес производится по способу обкатки червячной фрезы і обрабатываемой заготовки методами как «попутного» так і «встречного» зубофрезерування з диагональной і обычной подачами.

При зубофрезеровании з диагональной подачей фреза перемещается вдоль нарезаемого зуба і одновременно вдоль собственной оси, что значительно повышает її стойкость.

Ввиду отсутствия протяжной подачі в конструкції верстата 5К324А червячные колеса нарезаются только методом радиального врізання.

Верстат 5К324А работает по напівавтоматическому циклу.

При обработке прямозубых колес в станке 5К324А должны осуществляться наступні руху:

При автоматических циклах, кроме того, совершаются радиальная подача і установочные переміщення стола. При обработке косозубых колес необходимо еще дополнительное вращение стола для обробки зубьев, расположенных по винтовой линии.

При обработке червячных колес методом радиальной подачі в станке совершаются:

Из зоны обробки стружка отделяется транспортером в специальную тележку.

Полуавтоматы в автоматическую линию не встраиваются.

Класс точності верстата Н.

Шероховатость обработанной поверхности V6.

Верстат 5К324А выполнен в соответствии з нормами точності по ГОСТ 659—67.


Конструкція зубофрезерного напівавтомату 5К324А

5К324А Верстат зубофрезерный. Габарити робочого простору

Виды нарезаемых колес на зубофрезерном станке 5К324А. Рис. 32.


На верстатах 5К324А можно нарезать:

При методе радиальной подачі заготовка може подаваться на фрезу или наоборот. По методу обкатки можно также фрезеровать шлицевые валы, многогранники, нарезать зубья на цепных звездочках, храповых колесах і т. д. Для всех видов указанных специальных зацеплений применяют червячные фрезы соответствующих профилей.

Нарезание цилиндрических прямо- і косозубых колес, а также червячных колес методом радиальной подачі — ето основні виды работ, к которым верстат наиболее приспособлен.


5К324А Верстат зубофрезерный. Габарити робочого простору

Методы роботи на зубофрезерном станке 5К324А. Рис. 33.

Нарезание колес може осуществляться как встречным методом, при котором вертикальная подача фрезы происходит сверху вниз (рис. 33, а), так і попутным методом, при котором вертикальная подача фрезы происходит знизу вверх (рис. 33, б). При попутном зубофрезеровании допускается увеличение скорости різання на 20—25% по сравнению со встречным методом при одновременном уменьшении шероховатости поверхности зуба.

На етом станке можно нарезать цилиндрические колеса диаметром до 800 мм (при модуле до 10 мм і вертикальном перемещении фрезы — 360 мм). Наибольший диаметр червячной фрезы, устанавливаемой во фрезерном суппорте, 180 мм при длине 175 мм. Степень точності обробки соответствует 7-му классу по ГОСТ 1643—72.

В конструкції верстата предусмотрены механізмы, обеспечивающие прогрессивные методы зубофрезерування: радиальное врезание инструмента в заготовку, диагональную подачу, встречное і попутное фрезерование, возможность применения фрез большого диаметра, длины і т. п. Повышенные частота обертання фрезы і подача, значительное увеличение мощности головного приводу в сочетании з високою жесткостью верстата допускают работу на повышенных режимах різання і позволяют применять острозаточенные і твердосплавные червячные фрезы.

Вертикальное расположение оси нарезаемого колеса при нерухомою суппортной стойке і подвижном столе обеспечивает необходимую жесткость і устойчивость в работе. Массивная задня стойка, жестко соединенная со столом, обеспечивает надежную работу верстата без дополнительного крепления к суппортной стойке верхней траверсой. Цикл роботи верстата автоматизирован. Все рабочие і вспомогательные руху: быстрый подвод заготовки к инструменту, зубонарезание, быстрый отвод колеса і инструмента в исходное положение і остановка верстата — осуществляются автоматически. Уборка стружки осуществляется шнековым транспортером, расположенным внутри станины. Для зажиму заготовки верстат можно снабжать гідромеханическим пристрійм, монтируемым в столе.


Основні характеристики зубофрезерного верстата напівавтомату 5К324А

Производитель: Егорьевский станкостроительный завод.


Зубофрезерные верстати серии К

Універсальный зубофрезерный верстат 5К324А является базовым верстатом серии К на основе которого выполняют универсальные верстати упрощённой конструкції, верстати підвищеної точності; верстати з многозаходными делительными парами; специализированные і специальные верстати.

Зубофрезерные верстати серии К:

Эти верстати по своим техническим характеристикам і по механізмам, обеспечивающим прогрессивные методы зубофрезерування, отвечают мировым стандартам. Зубофрезерные верстати базовых мод. 5К324, 5К32, 5К328 предназначены для использования в условиях единичного, мелкосерийного і серийного производства.

В верстатах 5К324, 5К32, снабженных шестеренными коробками з електромагнитными муфтами, для изменения частоти обертання фрезы і величины подачі используют ползунковые переключатели на пульті керування, которые осуществляют увімкнення електромагнітних муфт. Это дает возможность осуществить автоматический двухпроходный цикл зубофрезерування з автоматическим переключением швидкостей і подач перед вторым рабочим ходом, что сокращает вспомогательное время.

Для условий серийного производства верстати 5К324 і 5К32 изготовляют з коробками швидкостей і подач, настраиваемых з помощью сменных колес. В станке мод. 5К328 для изменения швидкостей і подач служат скользящие блоки зубчатых колес.

Зубофрезерные верстати універсального типа 5К324А і 5К32А упрощены; в них вместо, непрерывного осьового переміщення фрезы предусмотрено автоматическое периодическое перемещение в кінці каждого цикла нарізання. Верстати предназначены для роботи в условиях серийного і массового производства.

Зубофрезерные верстати підвищеної точності 5К324П і 5К32П предназначаются для нарізання колес високою степени точності. Высокая точность зубонарізання достигается при увеличении в 2 раза передаточного отношения делительной червячной пары стола і более точного изготовления деталей і вузлів верстата, точность которых влияет на точность нарезаемых колес. Эти верстати используют для чистовых операций.





5К324А Габарити робочого простору зубофрезерного верстата

5К324А Верстат зубофрезерный. Габарити робочого простору

Габарити робочого простору верстата 5К324А


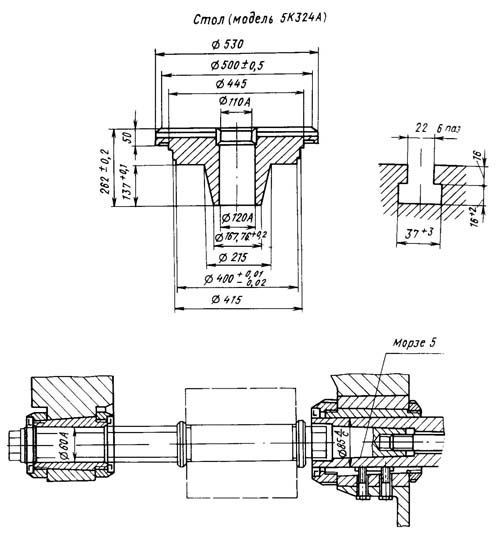
5К324А Посадочные і присоединительные базы верстата напівавтомату

5К324А Посадочные і присоединительные базы зубофрезерного напівавтомату 5К324А

Посадочные і присоединительные базы напівавтомату 5к324а


5К324А Загальний вигляд і общее пристрій верстата напівавтомату

5Фото зубофрезерного верстата 5К324А

Фото зубофрезерного верстата 5К324А


5К324А Розташування складових частин напівавтомату

5К324А Розташування складових частин зубофрезерного верстата напівавтомату

Розташування складових частин зубофрезерного верстата 5К324А

5К324А Розташування складових частин напівавтомату. Дивитись у збільшеному масштабі



Верстат служит для фрезерування зубьев цилиндрических прямозубых і косозубых, а также червячных колес методом обкатки зубьев червячной фрезы і обрабатываемой заготовки. Верстат также може быть использован для фрезерування шлицев.

Загальний вигляд і компоновка верстата показаны на рис. 66.

Основні вузли верстата: станина 2, суппортная стойка 9, каретка 10, супорт 11, контрподдержка 14, панель керування 4, коробка распределения движений 3, коробка подач 19, гідропривід 1 і електрошкаф.





Конструкція і характеристика роботи основних вузлів напівавтомату 5К324А

Станина 2 (рис. 66) является основанием верстата. На ней нерухомо закреплена суппортная стойка 9 і имеются горизонтальные призматические направляющие, служащие для переміщення стола 18 в радиальном направлении.

Стол 18 состоит из корпуса і вращающейся частини. Корпус стола перемещается по направляющим станины 2 і служит для подачі обрабатываемых заготовок в радиальном направлении. Вращающаяся часть 16 предназначена для установки обрабатываемых заготовок і сообщения им вращательного руху. Кулачок 22, воздействуя на переключатель 23, отключает ход стола влево, если не сработал переключатель 24. Аналогично, кулачок 29 воздействует на переключатель 27, отключая ход стола вправо, если не сработал переключатель 26.

Контрподдержка 14 состоит из корпуса, салазок і откидного кронштейна. Корпус жестко соединен з корпусом стола 18. Салазки 13 з помощью гідроцилиндра поднимают і опускают откидной кронштейн 12, который центром (или люнетной втулкой) поддерживает верхний конец оправки і установленные на ней заготовки

Суппорт 11 предназначен для установки фрезы і поворота її оси под нужным углом φ к обрабатываемой заготовке.

Каретка 10 служит для переміщення суппорта 11 в вертикальном направлении.

Суппортная стойка 9 имеет направляющие для переміщення каретки 10. На стойке расположены панель керування 4, коробка 3 распределения движений, коробка подач 19 і електрошкаф 15.

Гідропривід 1 состоит из лопастного насоса, напорного золотника, реле давления, манометра, двух цилиндров і гідромотора.

Один из цилиндров, управляемый краном 17, служит для подъема і опускания салазок 13 і откидного кронштейна 12. Второй цилиндр, расположенный в стойке 9, предназначен для догрузки фрезерного суппорта з целью устранения зазоров в винтовой паре, осуществляющей вертикальную подачу каретки 10. Это необходимо для повышения точності переміщення каретки, что особенно важно при «попутном» фрезеровании.

Работа верстата в автоматическом цикле. На станке може осуществляться либо «попутный», либо «встречный» метод зубофрезерування.

«Попутный» метод зубофрезерування. При включении електродвигуна М2 і муфты Мф1 (рис. 67, а) совершается ускоренный подвод стола і заготовки к фрезе. По окончании подвода стола кулачок 24 (рис. 66) нажимает на переключатель 25, отключается електродвигатель М2 (рис. 67, а) і одновременно включается електродвигатель M1 і муфта Мф4. Совершается радиальная подача стола (врезание фрезы в заготовку). После врізання винт XXVII, дойдя до упора а на станине, останавливает стол, і находящийся в коробке подач переключатель отключает муфты Мф1 і Мф4. Радиальная подача прекращается. Одновременно включаются електромагнітні муфты Мф2, Мф4 і совершается вертикальная подача суппорта вверх для обробки зубьев колеса з «попутной» подачей.

После окончания обробки зубьев кулачок 5 (рис. 66) нажимает на переключатель 6, который отключает електродвигатель М1 (рис. 67, а) і муфты Мф2, Мф4, прекращается вертикальная подача суппорта. Включаются електромагнитная муфта Мф1 і електродвигатель М2; совершается ускоренный отвод стола вправо до положения, при котором кулачок 28 (рис. 66) нажмет на переключатель 26. Переключатель 26 отключает муфту Мф1 (рис. 67, а) і електродвигатель М2. Ускоренный отвод стола прекращается. Одновременно включаются муфта Мф2 і двигатель М2. Совершается ускоренное перемещение суппорта вниз, при котором кулачок 8 (рис. 66) нажмет на переключатель 7. Переключатель отключит електродвигатель М2 (рис. 67, а) і муфту Мф2. В одном случае на етом цикл обробки заканчивается.

В другом случае при нижнем положении суппорта (рис. 66) под действием кулачка 8 переключатель 7 включает реле часу і електродвигатель МЗ (рис. 67, а). Совершается перемещение фрезы со скоростью 12 мм/мин. Величину переміщення устанавливают з помощью реле часу, регулируя его в пределах от 0,4 до 180 с. По окончании переміщення фрезы реле отключает електродвигатель МЗ. Цикл движений заканчивается.

«Встречный» метод зубофрезерування. При етом методе переключение движений в станке аналогично методу «попутного» фрезерування, только вертикальная подача суппорта совершается сверху вниз, а ускоренное перемещение — знизу вверх. Соответственно изменяется назначение кулачков і переключателей.

Радиальное врезание. При етом методе роботи ускоренный подвод стола, радиальная подача і її відключення под действием гвинта XXVII (рис. 67, а) осуществляются так же, как і при «попутном» фрезеровании, з той лишь разницей, что після отключения радиальной подачі вертикальная подача не выключается, а фреза продолжает фрезеровать зубья по всей окружности червячного колеса.

После окончания фрезерування отключают електродвигатель M1 і все руху в станке.

Вертикальная подача. При цикле фрезерування только з одной вертикальной подачей включают електродвигатель M1 і муфту Мф2. Одновременно при «попутном» фрезеровании включается муфта Мф4 і супорт подается вверх. При «встречном» фрезеровании вместо муфты Мф4 включается муфта МфЗ і супорт подается вниз.

По окончании фрезерування кулачок 5 (рис. 66), нажимая на переключатель 6 (или кулачок 8 на переключатель 7), отключает електродвигатель M1 (рис. 67, а) і муфты Мф2, Мф4 (или МфЗ). Подача суппорта отключается.


5К324А Схема кінематична зубофрезерного верстата

Схема кінематична зубофрезерного верстата 5К324А

Кінематична схема зубофрезерного верстата 5К324А

5К324А Схема кінематична зубофрезерного верстата. Дивитись у збільшеному масштабі



Движения в станке. Главное рух — вращение фрезы 2 (рис. 67, а). Подачи: вертикальная — суппорта 3, радиальная — стола 5. Делительное вращение стола і заготовок. Ускоренные переміщення: суппорта, стола, перерух фрезы, вращение стола 4.

При обработке прямозубых колес в станке должны осуществляться наступні руху: главное движение, вертикальная подача суппорта, вращение стола і установочные переміщення суппорта. При автоматических циклах, кроме того, совершаются радиальная подача і установочные переміщення стола. При обработке косозубых колес необходимо еще дополнительное вращение стола для обробки зубьев, расположенных по винтовой линии.

При обработке червячных колес методом радиальной подачі в станке совершаются: главное движение, радиальная подача і установочные переміщення стола.




Налаштування зубофрезерного верстата напівавтомату 5К324А





Технічні характеристики зубофрезерного верстата 5К324А

Технічні характеристики зубофрезерного верстата 5К324А

Технічні характеристики зубофрезерного верстата 5К324А

Технічні характеристики зубофрезерного верстата 5К324А. Дивитись у збільшеному масштабі



Наименование параметра 5К32А 5К324А
Основні параметри верстата
Наибольший модуль нарезаемого колеса, мм 10 8
Наибольший диаметр нарезаемых цилиндрических прямозубых колес (0°), мм 800 500
Наибольший диаметр нарезаемых цилиндрических косозубых колес (30°), мм 500 400
Наибольший диаметр нарезаемых цилиндрических косозубых колес (45°), мм 350 300
Наибольший диаметр нарезаемых цилиндрических косозубых колес (60°), мм 120...250 120...250
Наибольший диаметр червячных нарезаемых колес, мм 800 500
Наибольшая длина венца нарезаемых цилиндрических прямозубых колес (0°), мм 350 300
Наибольшая длина венца нарезаемых цилиндрических косозубых колес (30°), мм 200 200
Наибольшая длина венца нарезаемых цилиндрических косозубых колес (45°), мм 150 150
Наибольшая длина венца нарезаемых цилиндрических косозубых колес (60°), мм 130 130
Наименьшее число нарезаемых зубьев 12 12
Стол
Диаметр стола, мм 630 500
Расстояние между осями стола і фрезы, мм 80...500 60...350
Расстояние от плоскости стола і оси фрезы, мм 210...590 210...570
Ускоренное перемещение стола, мм/мин 170 170
Ручное перемещение стола за один оборот лимба, мм 0,5 0,5
Суппорт
Наибольшее перемещение суппорта, мм 380 360
Ускоренное перемещение каретки суппорта, мм/мин 550 550
Наибольший диаметр режущего инструмента, мм 200 180
Наименьшая длина режущего инструмента, мм 200 200
Диаметры фрезерных оправок, мм 32; 40 32; 40
Ускоренное перемещение шпинделя вдоль оси, мм/мин 130 130
Расстояние от оси шпинделя до направляючих суппорта, мм 319 319
Скорость переміщення шпинделя вдоль оси, мм/мин 12 12
Наибольший угол наклона зубьев нарезаемого колеса, град ±60 ±60
Поворот суппорта на одно деление шкалы линейки, град
Поворот суппорта на одно деление шкалы нониуса, мин 1` 1`
Конусное отверстие шпинделя Морзе 5 Морзе 5
Наибольшее осевое перемещение фрезы, мм 80 80
Механіка верстата
Пределы оборотів фрезы, об/мин 50..310 50..310
Число ступеней оборотів фрезы 9 9
Пределы продольных подач, мм/об 0,8...5,0 0,8...5,0
Пределы радиальных подач, мм/об 0,27..1,67 0,27..1,67
Пределы тангенциальных подач, мм/об 0,17...3,7 0,17...3,7
Число ступеней подач 7 7
Наибольшее усилие, допускаемое механізмом поздовжньої подачі, кгс 2000 2000
Наибольшее усилие, допускаемое механізмом поперечної подачі, кгс 4000 4000
Привід і електрообладнання верстата Количество електродвигателей на станке, кВт Електродвигун головного привода, кВт/ об/мин 7,5/ 1460 7,5/ 1460 Електродвигун осьового руху фрезы, кВт/ об/мин 0,4/ 1400 0,4/ 1400 Електродвигун ускоренных перемещений, кВт/ об/мин 3/ 1430 3/ 1430 Електродвигун приводу гідронасоса, кВт/ об/мин 1,1/ 930 1,1/ 930 Електродвигун насоса охлаждения, кВт/ об/мин 0,15/ 2840 0,15/ 2840 Габаритные розміри і масса верстата Габаритные розміри верстата (длина х ширина х высота), мм 2650 х 1510 х 2000 2500 х 1400 х 2000 Масса верстата з електрообладнанням і охолодженням, кг 7400 6400

    Список литературы по зубообработке

  1. Універсальные зубофрезерные верстати 5К324П, 5К32П, 5К324А, 5К32А. Инструкция по експлуатации, 1974

  2. Ачеркан Н.С. Металлорежущие верстати, Том 1, 1965.
  3. Гальперин Е.И. Наладка зуборезных верстатів, 1960.
  4. Козлов Д.Н. Зуборезные роботи, 1971.
  5. Кучер А.М., Киватицкий М.М., Покровский А.А., Металлорежущие верстати (Альбом общих видов, кинематических схем і вузлів), 1972.
  6. Лоскутов В.В., Ничков А.Г. Зубообрабатывающие верстати, 1978.
  7. Малахов Я.А. Зубообрабатывающие і резьбофрезерные верстати і их наладка, 1972.
  8. Мильштейн М.З. Нарезание зубчатых колес, 1972.
  9. Овумян Г.Г., Адам А.И. Справочник зубореза, 1983.
  10. Птицин Г.А., Кокичев В.Н. Зуборезные верстати, 1957.
  11. Шавлюга Н.И. Расчет і примеры наладок зубофрезерных і зубодолбежных верстатів, 1978.
  12. Руководящий материал для конструкторов, проектирующих технологическую оснастку. Основні данные і посадочные места металлорежущих верстатів. НИИМАШ, 1968.








Заказать

Не бойтесь делать то, чего не умеете. Помните, что "Ковчег" был построен дилетантом. Профессионалы построили "Титаник"....