Виробник радіально-свердлильного верстата моделі 2Е52 - Гомельський завод верстатних вузлів ДЗСУ , заснований у 1961 році.
Випуск радіально – свердлильних верстатів моделі 2Е52 освоєно на підприємстві Гомельський завод верстатних вузлів у 1972 році.
Розробник верстата 2Е52 — Одеське спеціальне конструкторське бюро алмазно-розточувальних та радіально-свердлильних верстатів .
Верстат моделі 2Е52 вироблявся, також, на підприємстві Октемберянський верстатобудівний завод .
Радіально-свердлильний переносний верстат моделі 2Е52 призначений для обробки отворів у середніх та великих деталях у одиничному, дрібносерійному та серійному виробництві.
На верстаті 2Е52 можна виконувати: свердління, розсвердлювання, зенкерування, розгортання, нарізування різьблення та розточування отворів. Найбільш ефективно верстат може бути використаний при обробці отворів, розташованих під кутами в різних площинах великогабаритних деталей, інструментальних, ремонтних, експериментальних, складальних і виробничих цехах.
Переносний радіально-свердлильний верстат моделі 2Е52 включає такі вузли:
Станіна є жорсткою чавунною плитою з поздовжніми і поперечними ребрами, на якій встановлена колона. Гвинт 3 призначений для переміщення коробки швидкостей.
Коробку швидкостей змонтовано на колоні. Керування швидкостями здійснюється за допомогою рукояток 4 та 3 (див. рис.3). Рукоятка 4 призначена для:
Траверса встановлюється в циліндричному отворі коробки швидкостей за допомогою цапфи I. По направляючих траверси переміщається каретка 2 зі шпиндельною головкою.
Шпиндельна головка із механізмом подач розміщується в одному корпусі.
Механічна подача шпинделя відбувається при повороті рукоятки 2 "Від себе".
Тонка подача вручну здійснюється при вимкненому положенні перевантажувальної муфти обертанням маховичка 1.
Приставні ніжки застосовуються, коли верстат використовується як переносний. Вони підвищують стійкість верстата. При використанні верстата як стаціонарного (на фундаменті) ніжки знімаються.
Стіл кутовий служить для кріплення пристроїв та деталей.
Клас точності верстата Н згідно з ГОСТ 8-77.
Шорсткість оброблених поверхонь залежно від виконуваних робіт R = 80-20 мкм.
Синоніми: radial drilling machine.
Переміщення по площині столу великогабаритних та важких деталей викликає великі незручності та втрату часу. Тому при обробці великої кількості отворів у таких деталях застосовують радіально-свердлувальні верстати. При роботі на них деталь залишається нерухомою, а шпиндель зі свердлом переміщається щодо деталі та встановлюється у потрібне положення.
Свердлильні верстати призначені для свердління, зенкування, зенкерування, розгортання отворів, для підрізання торців виробів та нарізування різьблення мітчиками. Застосовуються вони в основному в одиничному та дрібносерійному виробництві, а деякі модифікації цих верстатів – в умовах масового та великосерійного виробництва.
Основними формоутворюючими рухами при свердлильних операціях є:
Кінематичні ланцюги, що здійснюють ці рухи, мають самостійні органи налаштування i v і i s за допомогою яких встановлюється необхідна швидкість обертання інструменту і його подача.
До допоміжних рухів відносяться:
Основними вузлами радіально-свердлильних верстатів є:
Основними параметрами верстата є найбільший діаметр свердління отвору сталі, виліт і максимальний хід шпинделя.

Загальний вигляд переносного радіально-свердлувального верстата 2е52

Розташування органів керування радіально-свердлильним верстатом 2е52

Шпиндельна головка радіально-свердлувального верстата 2е52

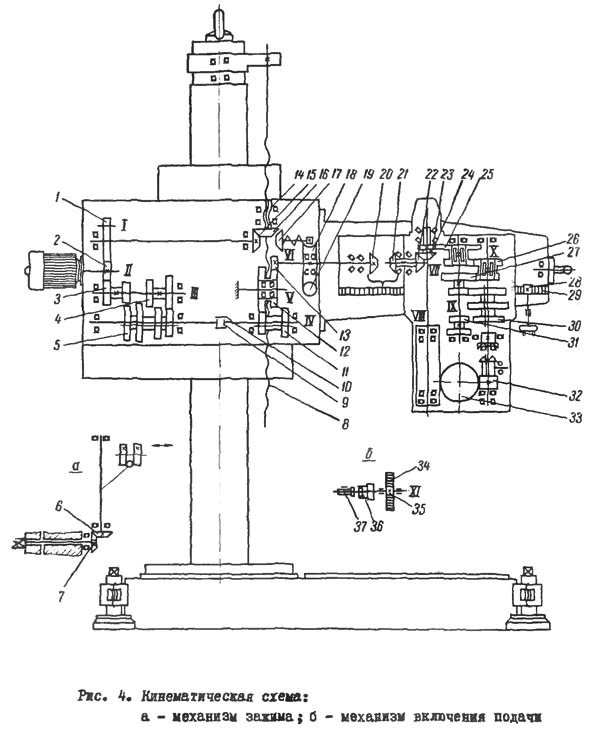
Кінематична схема радіально-свердлувального верстата 2е52
Кінематична схема складається із трьох ланцюгів:
Обертання від електродвигуна через коробку швидкостей і приводний вал траверси передається шпинделю, який отримує 8 різних швидкостей при прямому і зворотному обертанні при наступних значеннях чисел обертів за хвилину: 56, 90, 150, 224, 355, 560, 900, 140.
Ланцюг механического переміщення рукава начинается от електродвигуна і через зубчасті колеса 2, 1, 15 і 16 рух передається гайке 14 гвинта 8. Подъем или опускание осуществляется реверсированием електродвигуна.
В ланцюги подач рух от шпинделя передається через червячную передачу 32 і 33 к валику-шестерне 35 і пиноли 34 со шпинделем, получающим три скорости подач. Кроме етого, конструкция верстата обеспечивает быструю подачу шпинделя вручную рукояткой гвинта 8 і тонную подачу маховичком 9 (см. рис.3}.
| Наименование параметра | 2К52-1 | 2Е52 |
|---|---|---|
| Основні параметри верстата | ||
| Класс точності верстата | Н | Н |
| Наибольший условный диаметр сверления в стали 45, мм | 25 | 25 |
| Диапазон нарезаемой різьби в стали 45, мм | М16 | М16 |
| Расстояние от оси шпинделя до направляющей колонны (вылет шпинделя), мм | 300..800 | 325..800 |
| Наибольшее горизонтальное перемещение сверлильной головки по рукаву, мм | 410...900 | |
| Наименьшее і наибольшее расстояние от торца шпинделя до плиты, мм | 125..1000 | 58..900 |
| Наибольшее вертикальное перемещение рукава по колонне (установочное), мм | 625 | 390..1230 |
| Наибольшее осевое перемещение пиноли шпинделя (ход шпинделя), мм | 250 | 132 |
| Угол поворота рукава вокруг колонны, град | 360 | 360 |
| Диаметр колонны, мм | 180 | 180 |
| Рамер поверхности плиты (ширина длина), мм | 800 х 630 | |
| Шпиндель | ||
| Частота прямого обертання шпинделя, об/мин | 63..1600 | 56..1400 |
| Количество швидкостей шпинделя прямого обертання | 8 | 8 |
| Пределы рабочих подач на один оборот шпинделя, мм/об | 0,125; 0,2; 0,315 | 0,1..0,2 |
| Число ступеней рабочих подач | 3 | 3 |
| Наибольший допустимый крутящий момент, Н-м | 90 | |
| Наибольшее усилие подачі, кН | 5 | 5 |
| Конус шпинделя | Морзе 3 | |
| Зажим обертання колонны | Ручной/ ел.мех | Ручной |
| Зажим рукава на колонне | Ручной | Ручной |
| Зажим сверлильной головки на рукаве | Ручной | Ручной |
| Електроустаткування. Привод | ||
| Количество електродвигателей на станке | 2/ 3 | 1 |
| Електродвигун приводу головного руху М2, кВт | 1,5 | 2,2 |
| Електродвигун зажиму колонны М3, кВт | нет | |
| Електродвигун насоса охлаждающей жидкости М1, кВт | 0,125 | |
| Суммарная мощность установленных електродвигателей, кВт | 2,2 | |
| Габарити і масса верстата | ||
| Габарити верстата (длина ширина высота), мм | 1760 х 915 х 1970 | 1750 х 750 х 1900 |
| Масса верстата, кг | 1250 | 1030 |