Виробником свердлильного верстата моделі 2Т140 є Гомельський завод верстатних вузлів ДЗСУ , заснований у 1961 році.
Завод вже понад 50 років випускає верстати токарні з ЧПУ; верстати токарно-гвинторізні; верстати свердлильні; вузли верстатів.
У 1970 році завод приступив до виготовлення вузлів до токарно-гвинторізних верстатів: коробки подач та фартухи.
З 1976-1991 роки завод входив до складу Московського виробничого об'єднання "Червоний Пролетар".
Верстат 2Т140 призначений для свердління отворів, розгортання, зенкування, нарізування різьблення у дрібних та середніх деталях з чавуну, сталі, кольорових сплавів та неметалічних матеріалів в умовах промислових підприємств, ремонтних майстерень та побутових майстерень.
Простота конструкції забезпечує легкість керування, надійність та довговічність верстатів.
Свердління на вертикальному верстаті 2Т140 здійснюється подачею шпинделя вручну або механічно. Механічна подача шпинделя автоматично вимикається при досягненні заданої глибини отвору. Ручна подача контролюється за шкалою лінійки, яка встановлена на корпусі шпиндельної бабки.
На верстаті 2Т140 можливо також нарізання різьблення як з ручним включенням реверсування шпинделя, так і з автоматичним включенням ревагування на заданій глибині різьблення.
Шпиндельна бабка (свердлильна головка) верстата може переміщатися по колоні в межах 240 мм. Шпиндель переміщається на 160 мм
Деталі можуть закріплюватись як на робочому столі, так і на фундаментній плиті. Робочий стіл кріпиться на колоні та регулюється по висоті в межах 500 мм. Стіл може також обертатися навколо колони і повертатися навколо своєї осі, що дозволяє обробляти похилі отвори.
Вертикально-свердлильний верстат 2Т140 є аналогом верстата TCA-40 іспанської фірми ERLO TALADROS Y ROSCADORAS, SLU (ERLO, ТОВ свердлильні та різьбонарізні верстати). Має відмінні ергономічні, естетичні, технічні якості, простий в обслуговуванні та експлуатації.
Відлік глибини свердління провадиться за плоскою шкалою або упором.
Верстати 2Т140 дозволяють виконувати такі операції:
Конструктивні особливості верстата 2Т140:
Постачається на вимогу замовника за окрему платню:

Фото вертикально-свердлильного верстата 2т140

Фото вертикально-свердлильного верстата 2т140

Фото вертикально-свердлильного верстата 2т140

Розташування основних вузлів вертикально-свердлувального верстата 2т140

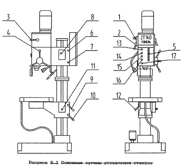
Розташування органів керування свердлильним верстатом 2Т140
Розташування органів керування свердлильним верстатом 2Т140. Дивитись у збільшеному масштабі

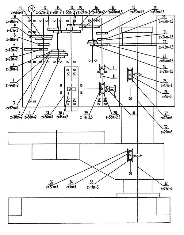
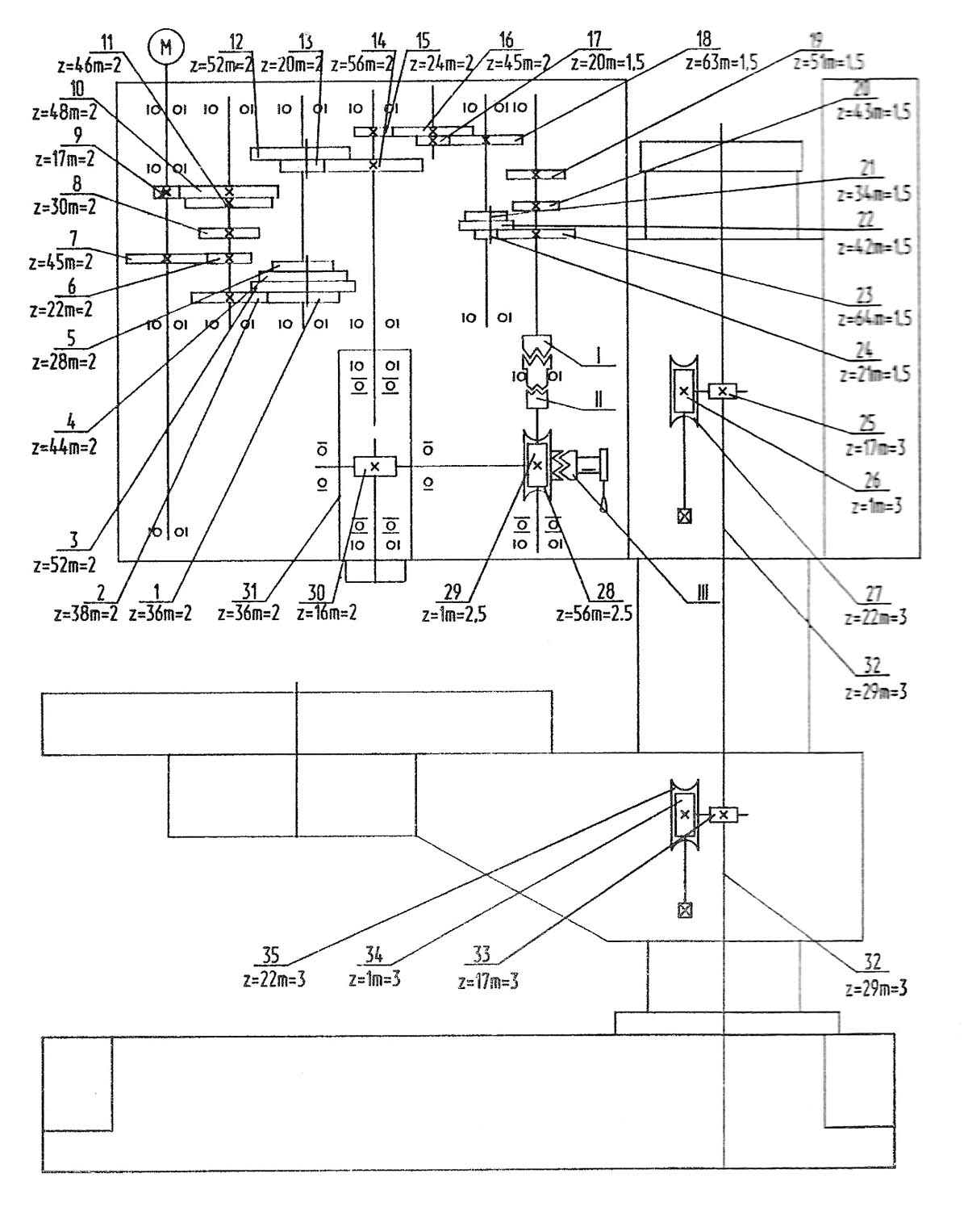
Кінематична схема свердлильного верстата 2т140
1. Кінематична схема свердлильного верстата 2Т140. Дивитись у збільшеному масштабі

Коробка швидкостей вертикально-свердлувального верстата 2т140
Коробка швидкостей вертикально-свердлувального верстата 2Т140. Дивитись у збільшеному масштабі

Механізм подачі шпинделя вертикально-свердлильного верстата 2т140
Механізм подачі шпинделя вертикально-свердлувального верстата 2Т140. Дивитись у збільшеному масштабі

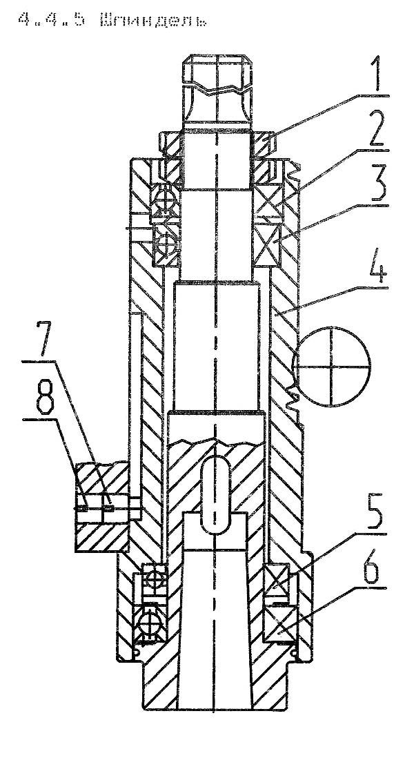
Шпиндель вертикально-свердлувального верстата 2т140
Шпиндель вертикально-свердлувального верстата 2Т140. Дивитись у збільшеному масштабі

Настановне креслення вертикально-свердлувального верстата 2т140
Настановне креслення вертикально-свердлильного верстата 2Т140. Дивитись у збільшеному масштабі
| Найменування параметру | 2T118 | 2Т125 | 2Т140 | 2Т150 |
|---|---|---|---|---|
| Основні параметри верстата | ||||
| Найбільший діаметр свердління сталі 45, мм | 18 | 25 | 40 | 50 |
| Найбільший діаметр свердління у чавуні СЧ20, мм | 32 | 45 | 60 | |
| Найбільший діаметр різьби, що нарізається, в сталі 45, мм | M4..M16 | М20 | M24 | M42 |
| Найменша та найбільша відстань від торця шпинделя до столу | - | 0..620 | 0..700 | 210..750 |
| Найменша та найбільша відстань від торця шпинделя до плити | 100..500 | 740..900 | 910..1100 | 1200 |
| Відстань від осі вертикального шпинделя до колони, що утворює (виліт), мм | 195 | 260 | 300 | 360 |
| Точність отворів після розгортання | H9 | |||
| Робочий стіл | ||||
| Розмір робочої поверхні плити, мм | 250 х 250 | 500 x 525 | 560 x 560 | 615 x 630 |
| Розмір робочої поверхні столу, мм | - | 400 х 500 | 500 х 500 | 610 x 605 |
| Сумарний кут повороту столу навколо колони, град | - | 180° | 180° | 180° |
| Сумарний кут повороту столу навколо власної осі, град | - | - | 300° | - |
| Переміщення столу найбільше, мм | - | 590 | 500 | 540 |
| Діаметр колони, мм | 120 | 145 | 180 | |
| Свердлильна головка. Шпіндель | ||||
| Найбільше переміщення шпиндельної головки (бабки) колоною, мм | 300 | - | 240 | - |
| Хід гільзи шпинделя, мм | 110 | 160 | 160 | 260 |
| Частота обертання шпинделя, об/хв | 200, 320, 560, 800, 1200, 2100 | 80..2000 | 75..1800 | 40..1730 |
| Кількість швидкостей шпинделя | 6 | 8 | 8 | 12 |
| Кількість подач шпинделя | 2 | 3 | 3 | 9 |
| Величина подач шпинделя | 0,1; 1,2 | 0,1; 0,2; 0,3 | 0,1; 0,2; 0,3 | 0,06..1,5 |
| Конус шпинделя | Морзе 2 | Морзе 3 | Морзе 4 | Морзе 5 АТ6 |
| Вимкнення подачі при досягненні заданої глибини свердління | Ручне, автоматичне | Ручне, автоматичне | Ручне, автоматичне | Ручне, автоматичне |
| Реверсування шпинделя на заданій глибині різьблення | Ручне, автоматичне | Ручне, автоматичне | Ручне, автоматичне | Ручне, автоматичне |
| Найбільший крутний момент на шпинделі, Нм | 70 | 150 | 400 | |
| Найбільше зусилля подачі шпинделя, Н | 6000 | 11 400 | 15 000 | |
| Електроустаткування. Привід | ||||
| Електродвигун приводу головного руху Потужність, кВт | 0,75 | 1,5 | 2,2 | 4 |
| Електродвигун приводу насоса охолодження, кВт | - | 0,18 | 0,18 | 0,18 |
| Габарит та маса верстата | ||||
| Габарити верстата (довжина ширина висота), мм | 665 х 465 х 1285 | 950 х 560 х 2200 | 770 х 540 х 2140 | 960 х 630 х 2590 |
| Маса верстата (нетто), кг | 150 | 430 | 575 | 850 |
Робота заповнює час, відпущений неї.
Перший закон Паркінсона