Виробником свердлильно-фрезерного верстата моделі ГС-520 є Гомельський завод верстатних вузлів ДЗСУ , заснований у 1961 році.
Завод вже понад 50 років випускає верстати токарні з ЧПУ; верстати токарно-гвинторізні; верстати свердлильні; вузли верстатів.
У 1970 році завод приступив до виготовлення вузлів до токарно-гвинторізних верстатів: коробки подач та фартухи.
З 1976-1991 роки завод входив до складу Московського виробничого об'єднання "Червоний Пролетар".
У 1972 році освоєно випуск радіально - свердлильних верстатів моделі 2Е52.
В даний час ВАТ «Гомельський завод верстатних вузлів» виробляє металорізальні верстати та комплектуючі до них.
Свердлильно-фрезерний верстат ГС520 призначений для фрезерування, свердління отворів та нарізування різьблення в дрібних деталях з чавуну, сталі, кольорових сплавів та неметалічних матеріалів в умовах промислових підприємств, ремонтних майстерень та побутових майстерень.
Простота конструкції забезпечує легкість керування, надійність та довговічність верстатів ГС520 .
Відлік глибини свердління провадиться за плоскою шкалою або упором.
Свердлильно-фрезерний верстат ГС520 дозволяє виконувати такі операції:
Конструктивні особливості верстата ГС520 :
Постачається на вимогу замовника за окрему платню:

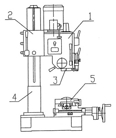
Фото свердлильно-фрезерного верстата ГС-520

Розташування складових частинин верстата ГС-520

Розташування органів керування верстатом ГС-520
Корпус предназначен для крепления, переміщення сверлильно-фрезерной головки по колонне і поворота її вокруг колонны. Крепление головки к корпусу осуществляется тремя болтами, вставленными в корпус головки в кольцевой Т-образный паз. Сверлильно-фрезерна головка поворачивается вокруг горизонтальной оси вручную при отжатых болтах.
В корпусе расположены: механізм переміщення головки по колонне, механізм зажиму корпуса на колонне, механізм фиксации положения сверлильно-фрезерной головки относительно колонны.

Механізм зажиму корпуса на колонне
Механізм зажиму (рис.4) предназначен для зажиму корпуса на колонне. Зажим-разжим корпуса производится поворотом рукоятки 3 в одну или другую сторону. Рукоятка з помощью гвинта поз.4 стягивает втулки поз.1 і 2.
Механізм фиксации сверлильно-фрезерной головки (рис.4) предназначен для фиксации одного положения головки относительно колонны. Фиксация производится вводом фиксатора поз.5 в имеющийся на колонне паз.

Механізм переміщення сверлильной головки по колонне
Механізм переміщення (рис.5) предназначен для ручного подъема і опускания сверлильно-фрезерной головки по колонне. Привід осуществляется от маховика поз.1 на коническую пару 2-3. Коническое зубчатое колесо связано з гайкой 4, которая вращаясь по нерухомомуу винту поз.5 осуществляет вертикальное перемещение корпуса по колонне осуществляется за счет ковзання.
Сверлильно-фрезерна головка состоит из корпуса 042.0000.009, шпинделя, коробки швидкостей з механізмом переключения, механізма реверса обертання шпинделя, механізма зажиму обоймы шпинделя.

Коробка швидкостей сверлильно-фрезерного верстата ГС520
Вращение от електродвигуна 1 (рис.6) через зубчасті колеса 2,3 передається на вал 5. С вала 5 через зубчасті колеса 6,7 і 8 передається на вал 9. Далее через двухвенцовый блок 9 вращение передається на полый вал 10, внутри которого проходит шлицевой хвостовик шпинделя. Установка необходимой частоти обертання шпинделя производится двумя рукоятками, расположенными на лицевой стороне коробки швидкостей.

Механізм подач сверлильно-фрезерного верстата ГС-520
Механізм тонкой подачі (рис.7) состоит из червяка поз.1, получающего ручное вращение от рукоятки тонкой подачі поз.3 Червяк входит в зацепление з червячным колесом поз.5 вала штурвального пристроя. При етом надо замкнуть зубчатую муфту поз.8 (рис.8) при помощи грибка поз.9.

Штурвальное пристрій сверлильно-фрезерного верстата ГС-520
Пристрій (рис.8) представляет собой вал-шестерню поз.1, получающего вращение от рукоятки поз.2. Вал-шестерня поз.1 входит в зацепление з рейкой, нарезанной на гильзе шпинделя. Кроме того, на етом же валу находится спиральная пружина поз.3 уравновешивающая шпиндель і предотвращающая его от самопроизвольного опускания.
Подача шпинделя осуществляется рукояткой поз.2 при отключенной зубчатой муфте поз.8.

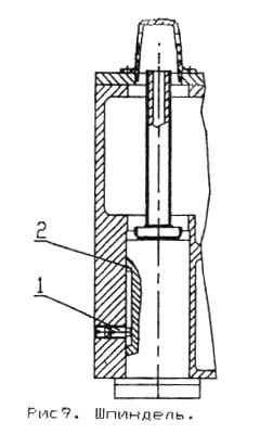
Шпиндель сверлильно-фрезерного верстата ГС-520
Шпиндель представляет собой полый вал (рис.9) і предназначен для передачи обертання инструменту, установленному в его конусе. При работе фрезами, снимается колпак поз.4 і в отверстие шпинделя вставляется штревель, который вкручивается в резьбовое отверстие инструмента. Шпиндель монтируется на підшипниках высокого класса точності. Штырь поз.1 является жестким упором, ограничивающим ход шпинделя в его крайних положениях. Зубчатая рейка гильзы поз.2 шпинделя находится в постоянном зацеплении з реечным зубчатым колесом вала штурвального пристроя. Выбивку инструмента производят при выдвинутом шпинделе і совмещении пазов в гильзе шпинделя і самом шпинделе.

Механізм реверса шпинделя
Механізм (рис.10) предназначен для увімкнення і остановки шпинделя, а также для изменения направления обертання. Изменение обертання осуществляется з помощью двух микропереключателей 1 і кулачка 2, приводимого в рух рукояткой 3.

Стол сверлильно-фрезерного верстата ГС-520
На столе (рис.11) имеются три Т-образных паза для закрепления станочных пристосувань на столе. Продольная і поперечная подачі осуществляются вручную вращением маховиков. Размер стола 500x220. Ход стола: продольный 320мм, поперечний 200мм.

Кінематична схема сверлильно-фрезерного верстата ГС-520

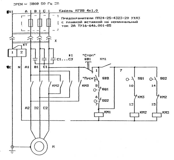
Електрична схема сверлильно-фрезерного верстата ГС-520
На станке ГС-520 установлен один асинхронный електродвигатель мощностью 0,75 кВт для приводу шпинделя.
В станке применяются наступні величины напряжений переменного тока ~380 ± 10% В, 50 ± 2% Гц.
При нажатии кнопки ЗБ2 "ПУСК" (кнопка расположена на пульті керування верстата), через нормально замкнутые контакты конечных выключателей SQ1 і SQ2 механізма реверса, включается пускатель КН1, который становится на самоблокировку і своим контактом подает напряжение на ланцюг управлений шпинделем. ВНИМАНИЕ. При включении верстата, рукоятка механізма реверса должна находится в нейтральном
При повороте рукоятки механізма реверса в одно из крайних положений, включается пускатель КМ2 или КМЗ через нормально разомкнутые контакты конечных выключателей SQ1 или 3Q2.
Пускачі КМ1 і КМ2 запускають електродвигун головного приводу М за годинниковою або проти годинникової стрілки відповідно. Зупинка обертання шпинделя відбувається при поверненні рукоятки в нейтральне положення.
Для зупинки верстата слід натиснути на червоний штовхач кнопки "СТОП".
| Найменування параметру | 2M112 | GS2112 | GS520 |
|---|---|---|---|
| Основні параметри верстата | |||
| Найбільший діаметр свердління сталі 45, мм | 12 | 12 | 16 |
| Найбільший діаметр різьби, що нарізається, в сталі 45, мм | М16 | ||
| Найбільший умовний діаметр торцевого фрезерування сталі 45, мм | 40 | ||
| Найменша та найбільша відстань від торця шпинделя до столу | 0..400 | 50..400 | 0..400 |
| Відстань від осі вертикального шпинделя до направляючих стійки (виліт), мм | 190 | 190 | 227 |
| Робочий стіл | |||
| Ширина робочої поверхні столу, мм | 250 | 250 | 200 х 500 |
| Число Т-подібних пазів Розміри Т-подібних пазів | 3 | 3 | 3 |
| Поздовжнє та поперечне переміщення столу | - | - | 320 х 200 |
| Свердлильно-фрезерна головка. Шпіндель | |||
| Найбільше переміщення шпиндельної головки (бабки), мм | 250 | 320 | |
| Кут повороту шпиндельної головки (бабки) навколо горизонтальної осі, град | - | - | ±90 |
| Кут повороту шпиндельної головки (бабки) навколо колони, град | - | - | ±180 |
| Хід гільзи шпинделя, мм | 100 | 100 | 60 |
| Ціна поділу лімба тонкої подачі, мм | - | - | 0,05 |
| Частота обертання шпинделя, об/хв | 450..4500 | 450..4500 | 100, 180, 315, 560, 1000, 1800 |
| Кількість швидкостей шпинделя | 5 | 5 | 6 |
| Конус шпинделя | Морзе В18 | Морзе 2 | |
| Привід | |||
| Електродвигун приводу головного руху Потужність, кВт | 0,55 | 0,55 | 0,75 |
| Габарит та маса верстата | |||
| Габарити верстата (довжина ширина висота), мм | 795 х 370 х 950 | 340 х 690 х 960 | 690 х 690 х 1280 |
| Маса верстата, кг | 120 | 100 | 260 |
Робота заповнює час, відпущений неї.
Перший закон Паркінсона