Виробником настільно-свердлильного верстата моделі ГС2116К є Гомельський завод верстатних вузлів ДЗСУ , заснований у 1961 році.
Завод вже понад 50 років випускає верстати токарні з ЧПУ; верстати токарно-гвинторізні; верстати свердлильні; вузли верстатів.
У 1970 році завод приступив до виготовлення вузлів до токарно-гвинторізних верстатів: коробки подач та фартухи.
З 1976-1991 роки завод входив до складу Московського виробничого об'єднання "Червоний Пролетар".
У 1972 році освоєно випуск радіально - свердлильних верстатів моделі 2Е52.
Свердлильний верстат ГС2116К призначений для свердління отворів та нарізування різьблення в дрібних деталях із чавуну, сталі, кольорових сплавів та неметалічних матеріалів в умовах промислових підприємств, ремонтних майстерень та побутових майстерень.
Простота конструкції забезпечує легкість керування, надійність та довговічність верстатів.
Відлік глибини свердління провадиться за плоскою шкалою або упором.
Увімкнення, відключення обертання шпинделя та його реверс забезпечується рукояткою реверсу шпинделя.
Верстати ГС2116К дозволяють виконувати такі операції:
Шпиндель призначений передачі обертання інструменту, закріпленому в патроні, який встановлюється на кінці шпинделя. Шпиндель монтується у гільзі на підшипниках кочення. Зубчаста рейка гільзи знаходиться у постійному зачепленні із зубчастиним колесом штурвального пристрою.
Для запобігання мимовільному опусканню шпинделя на валу штурвального пристрою закріплена спіральна пружина.

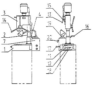
Розташування складових частинин верстата ГС2116К
На позначення верстата після найменування моделі "ГС2116К" наводяться літери:
Приклади позначення верстата:
Примітка: 1*. Для верстатів із внутрішнім конусом шпинделя.
2. Дозволяється заміна приладдя, включеного до цієї таблиці, на приладдя аналогічного призначення.

Фото свердлильного верстата гс2116к

Фото свердлильного верстата гс2116к

Кінематична схема свердлильного верстата ГС2116К
Кінематична схема верстата містить три кінематичні ланцюги: обертання шпинделя, ручної подачі та переміщення шпиндельної бабки по колоні.
Свердлильна головка є литий корпус, в якому розташовані коробка швидкостей і механізм подачі шпинделя, механізм перемикання швидкостей і механізм затиску корпусу на колоні.
Обертання електродвигуна М передається через муфту та коробку швидкостей на вал шпинделя.
Коробка швидкостей має три вали із закріпленими на них зубчастиними колесами.
На двох валах встановлені рухомі 2-х і 3-х вінцеві блоки зубчастиних коліс на третьому проміжному валу встановлені чотири нерухомі зубчасті колеса.
Шпиндель змонтований у пінолі на 3-х радіальних підшипниках високого класу точності.

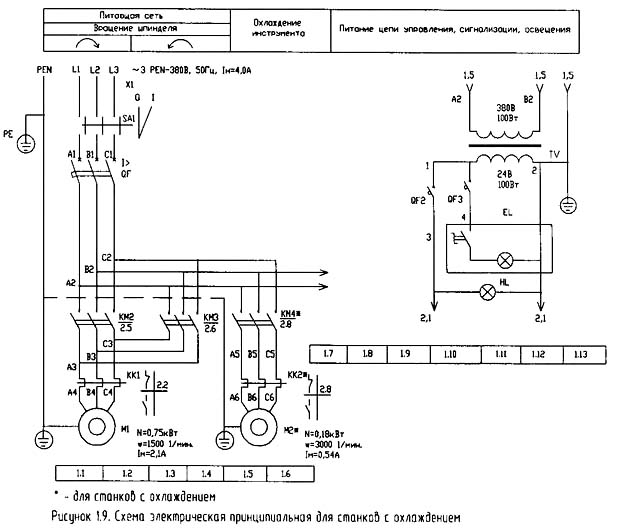
Електрична схема свердлильного верстата ГС2116К
На верстаті ГС2116К встановлений один асинхронний електродвигун потужністю 0,75 кВт для шпинделя приводу.
У верстаті застосовуються такі величини напруги змінного струму:
За класом захисту від ураження електричним струмом, електроустаткування відноситься до I класу за ГОСТ 12.2.007.0-75.
| Найменування параметру | GS2112 | GS2116K |
|---|---|---|
| Основні параметри верстата | ||
| Найбільший умовний діаметр свердління, мм | 12 | 18 |
| Найбільший діаметр свердління сталі 45, мм | 12 | 18 |
| Найбільший діаметр свердління у чавуні СЧ20, мм | 20 | |
| Нарізання різьблення сталі 45, мм | - | М16 |
| Найменша та найбільша відстань від торця шпинделя до столу | 100..450 | 100..400 |
| Відстань від осі вертикального шпинделя до направляючих стійки (виліт), мм | 190 | 190 |
| Діапазон різьби, що нарізається | - | M4..M12 |
| Робочий стіл | ||
| Розмір робочої поверхні столу, мм | 250 х 250 | 250 х 250 |
| Число Т-подібних пазів Розміри Т-подібних пазів | 3 | 3 |
| Шпиндель | ||
| Найбільше переміщення свердлильної (шпиндельної) головки (бабки), мм | 250 | 200 |
| Хід гільзи шпинделя, мм | 100 | 100 |
| Частота обертання шпинделя, об/хв | 450, 800, 1400, 2500, 4500 | 200, 320, 560, 800, 1200, 2100 |
| Кількість швидкостей шпинделя | 5 | 6 |
| Конус шпинделя зовнішній за ГОСТ 9953-82 | Морзе В18 | Морзе В18* |
| Конус шпинделя внутрішній за ГОСТ 25557-82 | - | Морзе 2 |
| Найбільший крутний момент на шпинделі, Нм | 30 | |
| Найбільша осьова сила різання, Н | 4000 | |
| Привід | ||
| Електродвигун приводу головного руху, кВт | 0,55 | 0,75 |
| Електродвигун насоса СОЖ, кВт | - | 0,18* |
| Габарит та маса верстата | ||
| Габарити верстата (довжина ширина висота), мм | 780 х 420 х 952 | 640 х 460 х 1260 |
| Маса верстата, кг | 135 | 175 |
Досвід – це те, що ми отримуємо замість того, що нам хотілося б!